CN211799102U - 一种用于化工生产的环保型废液回收装置 - Google Patents
一种用于化工生产的环保型废液回收装置 Download PDFInfo
- Publication number
- CN211799102U CN211799102U CN202020332982.5U CN202020332982U CN211799102U CN 211799102 U CN211799102 U CN 211799102U CN 202020332982 U CN202020332982 U CN 202020332982U CN 211799102 U CN211799102 U CN 211799102U
- Authority
- CN
- China
- Prior art keywords
- pipe
- waste liquid
- fixedly connected
- intercommunication
- base
- Prior art date
- Legal status (The legal status is an assumption and is not a legal conclusion. Google has not performed a legal analysis and makes no representation as to the accuracy of the status listed.)
- Active
Links
- 239000007788 liquid Substances 0.000 title claims abstract description 53
- 239000002699 waste material Substances 0.000 title claims abstract description 42
- 238000012824 chemical production Methods 0.000 title claims abstract description 21
- 238000011084 recovery Methods 0.000 title claims abstract description 20
- XLYOFNOQVPJJNP-UHFFFAOYSA-N water Substances O XLYOFNOQVPJJNP-UHFFFAOYSA-N 0.000 claims abstract description 79
- 238000004321 preservation Methods 0.000 claims abstract description 24
- 229910002804 graphite Inorganic materials 0.000 claims abstract description 12
- 239000010439 graphite Substances 0.000 claims abstract description 12
- -1 graphite alkene Chemical class 0.000 claims abstract description 12
- 239000003381 stabilizer Substances 0.000 claims abstract description 4
- 238000012546 transfer Methods 0.000 claims description 28
- 238000009434 installation Methods 0.000 claims description 20
- 238000001802 infusion Methods 0.000 claims description 15
- 241000220317 Rosa Species 0.000 claims description 11
- 230000005389 magnetism Effects 0.000 claims description 9
- 238000010926 purge Methods 0.000 claims 2
- 238000010276 construction Methods 0.000 abstract description 4
- 230000007613 environmental effect Effects 0.000 abstract description 3
- 230000008859 change Effects 0.000 abstract description 2
- 238000010438 heat treatment Methods 0.000 abstract description 2
- OKTJSMMVPCPJKN-UHFFFAOYSA-N Carbon Chemical compound [C] OKTJSMMVPCPJKN-UHFFFAOYSA-N 0.000 description 7
- 229910021389 graphene Inorganic materials 0.000 description 7
- 238000000034 method Methods 0.000 description 5
- 230000009471 action Effects 0.000 description 3
- 239000012535 impurity Substances 0.000 description 3
- 239000000126 substance Substances 0.000 description 3
- 230000000694 effects Effects 0.000 description 2
- 238000009413 insulation Methods 0.000 description 2
- 230000008569 process Effects 0.000 description 2
- 238000004064 recycling Methods 0.000 description 2
- 230000006978 adaptation Effects 0.000 description 1
- 230000004075 alteration Effects 0.000 description 1
- 230000009286 beneficial effect Effects 0.000 description 1
- 238000004140 cleaning Methods 0.000 description 1
- 238000011161 development Methods 0.000 description 1
- 238000007599 discharging Methods 0.000 description 1
- 238000009776 industrial production Methods 0.000 description 1
- 239000012774 insulation material Substances 0.000 description 1
- 230000007774 longterm Effects 0.000 description 1
- 238000004519 manufacturing process Methods 0.000 description 1
- 238000005065 mining Methods 0.000 description 1
- 238000012986 modification Methods 0.000 description 1
- 230000004048 modification Effects 0.000 description 1
- 238000000746 purification Methods 0.000 description 1
- 238000011160 research Methods 0.000 description 1
- 238000006467 substitution reaction Methods 0.000 description 1
Images
Landscapes
- Water Treatment By Electricity Or Magnetism (AREA)
Abstract
本实用新型公开了一种用于化工生产的环保型废液回收装置,包括底座和回收箱,回收箱的地步与底座的顶部固定连接,底座顶部的左侧通过支脚固定连接有保温水箱,保温水箱的左侧连通有进液管,进液管延伸至保温水箱的一端连通有盘管,保温水箱的右侧连通有出液管,盘管远离进液管的一端与出液管的一端连通,本实用新型涉及化工生产技术领域。该用于化工生产的环保型废液回收装置,通过设置弧形石墨烯导热板,利用石墨烯的强导热性,使得保温水箱中的冷水温度升高,实现对冷水的加热,降低了废液温度,避免设备的损坏的同时,还能对热量进行回收利用,符合环保的理念,通过安装螺栓的设置便与对弧形石墨烯导热板进行拆卸更换。
Description
技术领域
本实用新型涉及化工生产技术领域,具体为一种用于化工生产的环保型废液回收装置。
背景技术
随着我国化工产业的迅速发展,各种工矿、企业、科研院所和实验室的数目大幅增加、规模成倍扩大,排放的废液日益增多在现代化工工业生产中,未经处理的废液若随意排放,不仅对环境产生不良的影响,甚至会破坏生态而且也造成资源的浪费,如何有效的进行化工工业废液的回收已逐渐地得到越来越多的工业生产企业的重视。
现有的化工生产中产生的废液温度较高,一般废液是直接进行净化处理的,废液中的热量也随之挥发,热能不能得到回收利用,造成能量的损失,不符合环保的理念,且对高热量的废液直接处理时,容易造成设备的损坏。
实用新型内容
针对现有技术的不足,本实用新型提供了一种用于化工生产的环保型废液回收装置,解决了废液中热能不能得到回收利用,造成能量的损失,且对高热量的废液直接处理时,容易造成设备的损坏的问题。
为实现以上目的,本实用新型通过以下技术方案予以实现:一种用于化工生产的环保型废液回收装置,包括底座和回收箱,所述回收箱的地步与底座的顶部固定连接,所述底座顶部的左侧通过支脚固定连接有保温水箱,所述保温水箱的左侧连通有进液管,所述进液管延伸至保温水箱的一端连通有盘管,所述保温水箱的右侧连通有出液管,所述盘管远离进液管的一端与出液管的一端连通,所述盘管的表面通过安装螺栓固定连接有弧形石墨烯导热板,所述弧形石墨烯导热板的表面贯穿开设有导热孔,所述保温水箱的内壁固定连接有隔热层。
优选的,所述保温水箱的底部连通有放水管,所述放水管的表面固定连接有放水阀,所述保温水箱的背面连通有进水管,所述进水管的表面固定连接有进水阀。
优选的,所述底座的顶部且位于保温水箱的右侧固定连接有第一输液泵,所述出液管远离保温水箱的一端与第一输液泵的进液口连通,所述底座的顶部且位于第一输液泵的右侧固定连接有过滤箱,所述过滤箱的顶部连通有安装圆筒。
优选的,所述第一输液泵的出液口连通有折管,所述折管远离第一输液泵的一端位于安装圆筒的上方,所述安装圆筒的内壁活动连接有滤网,所述滤网的表面的两侧均固定连接有磁性卡块。
优选的,所述安装圆筒内壁的两侧均开设有与两个磁性卡块相适配的卡槽,所述安装圆筒内壁的两侧均开设有与两个卡槽相连通的弧形槽,两个所述弧形槽的内壁均设置有磁性区域。
优选的,所述底座的顶部且位于过滤箱的右侧固定连接有第二输液泵,所述第二输液泵通过第一连管与过滤箱连通,所述底座的顶部且位于第二输液泵的右侧固定连接有净化箱,所述第二输液泵通过第二连管与净化箱连通。
优选的,所述底座的顶部且位于净化箱的右侧固定连接有第三输液泵,所述第三输液泵通过第一导管与净化箱连通,所述第三输液泵通过第二导管与回收箱连通。
有益效果
本实用新型提供了一种用于化工生产的环保型废液回收装置。与现有技术相比具备以下有益效果:
(1)、该用于化工生产的环保型废液回收装置,通过在底座顶部的左侧通过支脚固定连接有保温水箱,保温水箱的左侧连通有进液管,进液管延伸至保温水箱的一端连通有盘管,保温水箱的右侧连通有出液管,盘管远离进液管的一端与出液管的一端连通,盘管的表面通过安装螺栓固定连接有弧形石墨烯导热板,弧形石墨烯导热板的表面贯穿开设有导热孔,保温水箱的内壁固定连接有隔热层,通过盘管的设置可延长废液在保温水箱中停留的时间,通过设置弧形石墨烯导热板,利用石墨烯的强导热性,将盘管表面的热量快速传递过来然后传递到保温水箱中的冷水中,进一步通过导热孔的设置增加了弧形石墨烯导热板的表面积进一步加快了弧形石墨烯导热板的导热性,使得保温水箱中的冷水温度升高,实现对冷水的加热,降低了废液温度,避免设备的损坏的同时,还能对热量进行回收利用,符合环保的理念,通过安装螺栓的设置便与对弧形石墨烯导热板进行拆卸更换。
(2)、该用于化工生产的环保型废液回收装置,通过在过滤箱的顶部连通有安装圆筒,安装圆筒的内壁活动连接有滤网,滤网的表面的两侧均固定连接有磁性卡块,安装圆筒内壁的两侧均开设有与两个磁性卡块相适配的卡槽,安装圆筒内壁的两侧均开设有与两个卡槽相连通的弧形槽,两个弧形槽的内壁均设置有磁性区域,滤网可对废液中的杂质进行过滤,通过磁性区域与磁性卡块的配合能实现对滤网的稳固,通过弧形槽、卡槽以及磁性卡块的设置,方便对滤网进行安装和拆卸,工作效率较高。
附图说明
图1为本实用新型结构的立体图;
图2为本实用新型保温水箱结构的主剖视图;
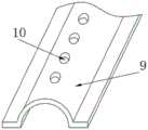
图3为本实用新型弧形石墨烯导热板结构的俯视图;
图4为本实用新型弧形石墨烯导热板局部结构的立体图;
图5为本实用新型保温水箱局部结构的侧视图;
图6为本实用新型图1中A处的局部放大图;
图7为本实用新型安装圆筒结构的俯剖视图。
图中:1-底座、2-回收箱、3-支脚、4-保温水箱、5-进液管、6-盘管、7-出液管、8-安装螺栓、9-弧形石墨烯导热板、10-导热孔、11-隔热层、12-放水管、13-放水阀、14-进水管、15-进水阀、16-第一输液泵、17-过滤箱、18-安装圆筒、19-折管、20-滤网、21-磁性卡块、22-卡槽、23-弧形槽、24-磁性区域、25-第二输液泵、26-第一连管、27-净化箱、28-第二连管、29-第三输液泵、30-第一导管、31-第二导管。
具体实施方式
下面将结合本实用新型实施例中的附图,对本实用新型实施例中的技术方案进行清楚、完整地描述,显然,所描述的实施例仅仅是本实用新型一部分实施例,而不是全部的实施例。基于本实用新型中的实施例,本领域普通技术人员在没有做出创造性劳动前提下所获得的所有其他实施例,都属于本实用新型保护的范围。
请参阅图1-7,本实用新型提供一种技术方案:一种用于化工生产的环保型废液回收装置,包括底座1和回收箱2,回收箱2的地步与底座1的顶部固定连接,底座1顶部的左侧通过支脚3固定连接有保温水箱4,保温水箱4的左侧连通有进液管5,进液管5延伸至保温水箱4的一端连通有盘管6,盘管6的设置可延长废液在保温水箱4中停留的时间,能对废液进行充分冷却,保温水箱4的右侧连通有出液管7,盘管6远离进液管5的一端与出液管7的一端连通,盘管6的表面通过安装螺栓8固定连接有弧形石墨烯导热板9,安装螺栓8能实现对弧形石墨烯导热板9的拆卸,方便更换弧形石墨烯导热板9,利用石墨烯的强导热性,可快速将盘管6的表面的热量传递给保温水箱4中的水,弧形石墨烯导热板9的表面贯穿开设有导热孔10,增大弧形石墨烯导热板9的表面积,使得导热效率更快,保温水箱4的内壁固定连接有隔热层11,隔热层11采用隔热材料制成,具有保温作用,保温水箱4的底部连通有放水管12,便于热水的放出,放水管12的表面固定连接有放水阀13,保温水箱4的背面连通有进水管14,便于冷水的进入,进水管14的表面固定连接有进水阀15,底座1的顶部且位于保温水箱4的右侧固定连接有第一输液泵16,与外部电源电性连接并通过控制开关进行控制,出液管7远离保温水箱4的一端与第一输液泵16的进液口连通,底座1的顶部且位于第一输液泵16的右侧固定连接有过滤箱17,过滤箱17的顶部连通有安装圆筒18,第一输液泵16的出液口连通有折管19,折管19远离第一输液泵16的一端位于安装圆筒18的上方,安装圆筒18的内壁活动连接有滤网20,便于对废液中的杂质进行过滤,滤网20的表面的两侧均固定连接有磁性卡块21,具有磁性,配合磁性区域24能对滤网20进行定位,安装圆筒18内壁的两侧均开设有与两个磁性卡块21相适配的卡槽22,便于磁性卡块21进入弧形槽23,安装圆筒18内壁的两侧均开设有与两个卡槽22相连通的弧形槽23,便于磁性卡块21转动,进入磁性区域24,两个弧形槽23的内壁均设置有磁性区域24,底座1的顶部且位于过滤箱17的右侧固定连接有第二输液泵25,与外部电源电性连接并通过控制开关进行控制,第二输液泵25通过第一连管26与过滤箱17连通,底座1的顶部且位于第二输液泵25的右侧固定连接有净化箱27,内部设置有净化系统,能对废液进行净化,第二输液泵25通过第二连管28与净化箱27连通,底座1的顶部且位于净化箱27的右侧固定连接有第三输液泵29,与外部电源电性连接并通过控制开关进行控制,第三输液泵29通过第一导管30与净化箱27连通,第三输液泵29通过第二导管31与回收箱2连通。
工作时,启动第一输液泵16,废液通过进液管5进入盘管6中,废液中的热量由盘管6传递给弧形石墨烯导热板9,并配合导热孔10,将热量传递给保温水箱4中的水,保温水箱4中水温升高,同时废液的温度降低,温度降低后的废液依次通过出液管7、第一输液泵16、折管19、滤网20进入过滤箱17中,过滤后的废液进一步通过第一连管26、第二输液泵25、第二连管28进入净化箱27中,经过净化后废液由第一导管30、第三输液泵29、第二导管31进入回收箱2中,时间使用久之后,绿网0表面杂质较多,需进行拆卸清理时,转动滤网20,使得磁性卡块21脱离磁性区域24,磁性卡块21在弧形槽23中滑动,进入卡槽22,然后向上提起滤网20即可完成对滤网20的拆卸,需要对滤网20进行安装时,与上述步骤反向操作即可。
需要说明的是,在本文中,诸如第一和第二等之类的关系术语仅仅用来将一个实体或者操作与另一个实体或操作区分开来,而不一定要求或者暗示这些实体或操作之间存在任何这种实际的关系或者顺序。而且,术语“包括”、“包含”或者其任何其他变体意在涵盖非排他性的包含,从而使得包括一系列要素的过程、方法、物品或者设备不仅包括那些要素,而且还包括没有明确列出的其他要素,或者是还包括为这种过程、方法、物品或者设备所固有的要素。
尽管已经示出和描述了本实用新型的实施例,对于本领域的普通技术人员而言,可以理解在不脱离本实用新型的原理和精神的情况下可以对这些实施例进行多种变化、修改、替换和变型,本实用新型的范围由所附权利要求及其等同物限定。
Claims (7)
1.一种用于化工生产的环保型废液回收装置,包括底座(1)和回收箱(2),所述回收箱(2)的地步与底座(1)的顶部固定连接,其特征在于:所述底座(1)顶部的左侧通过支脚(3)固定连接有保温水箱(4),所述保温水箱(4)的左侧连通有进液管(5),所述进液管(5)延伸至保温水箱(4)的一端连通有盘管(6),所述保温水箱(4)的右侧连通有出液管(7),所述盘管(6)远离进液管(5)的一端与出液管(7)的一端连通,所述盘管(6)的表面通过安装螺栓(8)固定连接有弧形石墨烯导热板(9),所述弧形石墨烯导热板(9)的表面贯穿开设有导热孔(10),所述保温水箱(4)的内壁固定连接有隔热层(11)。
2.根据权利要求1所述的一种用于化工生产的环保型废液回收装置,其特征在于:所述保温水箱(4)的底部连通有放水管(12),所述放水管(12)的表面固定连接有放水阀(13),所述保温水箱(4)的背面连通有进水管(14),所述进水管(14)的表面固定连接有进水阀(15)。
3.根据权利要求1所述的一种用于化工生产的环保型废液回收装置,其特征在于:所述底座(1)的顶部且位于保温水箱(4)的右侧固定连接有第一输液泵(16),所述出液管(7)远离保温水箱(4)的一端与第一输液泵(16)的进液口连通,所述底座(1)的顶部且位于第一输液泵(16)的右侧固定连接有过滤箱(17),所述过滤箱(17)的顶部连通有安装圆筒(18)。
4.根据权利要求3所述的一种用于化工生产的环保型废液回收装置,其特征在于:所述第一输液泵(16)的出液口连通有折管(19),所述折管(19)远离第一输液泵(16)的一端位于安装圆筒(18)的上方,所述安装圆筒(18)的内壁活动连接有滤网(20),所述滤网(20)的表面的两侧均固定连接有磁性卡块(21)。
5.根据权利要求3所述的一种用于化工生产的环保型废液回收装置,其特征在于:所述安装圆筒(18)内壁的两侧均开设有与两个磁性卡块(21)相适配的卡槽(22),所述安装圆筒(18)内壁的两侧均开设有与两个卡槽(22)相连通的弧形槽(23),两个所述弧形槽(23)的内壁均设置有磁性区域(24)。
6.根据权利要求1所述的一种用于化工生产的环保型废液回收装置,其特征在于:所述底座(1)的顶部且位于过滤箱(17)的右侧固定连接有第二输液泵(25),所述第二输液泵(25)通过第一连管(26)与过滤箱(17)连通,所述底座(1)的顶部且位于第二输液泵(25)的右侧固定连接有净化箱(27),所述第二输液泵(25)通过第二连管(28)与净化箱(27)连通。
7.根据权利要求1所述的一种用于化工生产的环保型废液回收装置,其特征在于:所述底座(1)的顶部且位于净化箱(27)的右侧固定连接有第三输液泵(29),所述第三输液泵(29)通过第一导管(30)与净化箱(27)连通,所述第三输液泵(29)通过第二导管(31)与回收箱(2)连通。
Priority Applications (1)
| Application Number | Priority Date | Filing Date | Title |
|---|---|---|---|
| CN202020332982.5U CN211799102U (zh) | 2020-03-17 | 2020-03-17 | 一种用于化工生产的环保型废液回收装置 |
Applications Claiming Priority (1)
| Application Number | Priority Date | Filing Date | Title |
|---|---|---|---|
| CN202020332982.5U CN211799102U (zh) | 2020-03-17 | 2020-03-17 | 一种用于化工生产的环保型废液回收装置 |
Publications (1)
| Publication Number | Publication Date |
|---|---|
| CN211799102U true CN211799102U (zh) | 2020-10-30 |
Family
ID=73011716
Family Applications (1)
| Application Number | Title | Priority Date | Filing Date |
|---|---|---|---|
| CN202020332982.5U Active CN211799102U (zh) | 2020-03-17 | 2020-03-17 | 一种用于化工生产的环保型废液回收装置 |
Country Status (1)
| Country | Link |
|---|---|
| CN (1) | CN211799102U (zh) |
Cited By (1)
| Publication number | Priority date | Publication date | Assignee | Title |
|---|---|---|---|---|
| CN115090021A (zh) * | 2022-07-18 | 2022-09-23 | 南通佳景健康科技股份有限公司 | 一种水疗用frp调浆机的全过滤装置 |
-
2020
- 2020-03-17 CN CN202020332982.5U patent/CN211799102U/zh active Active
Cited By (1)
| Publication number | Priority date | Publication date | Assignee | Title |
|---|---|---|---|---|
| CN115090021A (zh) * | 2022-07-18 | 2022-09-23 | 南通佳景健康科技股份有限公司 | 一种水疗用frp调浆机的全过滤装置 |
Similar Documents
| Publication | Publication Date | Title |
|---|---|---|
| CN211799102U (zh) | 一种用于化工生产的环保型废液回收装置 | |
| CN216482152U (zh) | 蒸汽冷凝水回用系统 | |
| CN213012253U (zh) | 一种炭黑尾气发电锅炉余热废水回收利用装置 | |
| WO2024255703A1 (zh) | 一种电解槽余热回收装置及电解槽 | |
| CN219341778U (zh) | 钾钠分离氯化钾结晶工艺设备 | |
| CN221217559U (zh) | 一种锅炉冷凝水循环利用装置 | |
| CN222187997U (zh) | 一种涂布生产线余热蒸汽收集再利用装置 | |
| CN213725443U (zh) | 一种带有余热回收利用的节能型工业废气处理装置 | |
| CN214032109U (zh) | 一种工业废酸水处理装置 | |
| CN215114123U (zh) | 一种便于热量多次利用的热换器 | |
| CN221558002U (zh) | 一种高效率的零部件加工用烘干机 | |
| CN217431082U (zh) | 一种工业废盐提纯设备 | |
| CN212320520U (zh) | 一种矿用变频器换热器 | |
| CN213112526U (zh) | 一种溴素提纯装置 | |
| CN219334232U (zh) | 一种阳床进酸装置 | |
| CN222286425U (zh) | 混合溶液提纯处理装置 | |
| CN221145551U (zh) | 一种油气回收膜分离单元自动排凝管路 | |
| CN223192144U (zh) | 一种精对苯二甲酸精制废水排放装置 | |
| CN212504458U (zh) | 一种生猪屠宰用污水处理装置 | |
| CN209934257U (zh) | 一种便捷式变压器油处理装置 | |
| CN213680346U (zh) | 一种热相分离装置 | |
| CN222138774U (zh) | 一种工业废盐热脱附处理设备 | |
| CN223522396U (zh) | 含铁废盐酸与污泥资源化利用生产三氯化铁净水剂系统 | |
| CN210683471U (zh) | 一种低聚木糖生产冷凝水高效回收再生装置 | |
| CN218345388U (zh) | 一种废矿物油用脱水散热装置 |
Legal Events
| Date | Code | Title | Description |
|---|---|---|---|
| GR01 | Patent grant | ||
| GR01 | Patent grant |