CN211794749U - Multifunctional cosmetic storage box - Google Patents
Multifunctional cosmetic storage box Download PDFInfo
- Publication number
- CN211794749U CN211794749U CN202020436516.1U CN202020436516U CN211794749U CN 211794749 U CN211794749 U CN 211794749U CN 202020436516 U CN202020436516 U CN 202020436516U CN 211794749 U CN211794749 U CN 211794749U
- Authority
- CN
- China
- Prior art keywords
- box body
- flip cover
- cosmetic storage
- tissue
- storage part
- Prior art date
- Legal status (The legal status is an assumption and is not a legal conclusion. Google has not performed a legal analysis and makes no representation as to the accuracy of the status listed.)
- Expired - Fee Related
Links
- 239000002537 cosmetic Substances 0.000 title claims abstract description 51
- 238000009434 installation Methods 0.000 claims description 8
- 230000003749 cleanliness Effects 0.000 abstract description 3
- 238000010586 diagram Methods 0.000 description 2
- 239000000463 material Substances 0.000 description 2
- 235000017166 Bambusa arundinacea Nutrition 0.000 description 1
- 235000017491 Bambusa tulda Nutrition 0.000 description 1
- 241001330002 Bambuseae Species 0.000 description 1
- 235000015334 Phyllostachys viridis Nutrition 0.000 description 1
- 239000011425 bamboo Substances 0.000 description 1
- 230000009286 beneficial effect Effects 0.000 description 1
- 238000000034 method Methods 0.000 description 1
Images
Landscapes
- Details Of Rigid Or Semi-Rigid Containers (AREA)
Abstract
本实用新型涉及收纳盒技术领域,尤其是一种多功能化妆品收纳盒,其包括盒体,盒体的其中一半部为化妆品收纳部,另一半部为纸巾收纳部,还包括翻盖,翻盖一端部通过铰链与盒体的一端部相连接,翻盖的内表面设置有镜子,化妆品收纳部用于化妆品的放置,纸巾收纳部用于纸巾的放置;未化妆时,翻盖盖在盒体上,翻盖能够对盒体中的物品进行保护,也能提高整个化妆品收纳盒的整体清洁性;化妆时,只需将翻盖打开,就能对着翻盖上的镜子进行化妆,需要化妆品时,将化妆品从化妆品收纳部中拿出,需要纸巾时,将纸巾从纸巾收纳部中拿出,从而方便进行化妆,提高了化妆的效率。可见,本实用新型的多功能化妆品收纳盒结构简单,功能较多,方便使用。
The utility model relates to the technical field of storage boxes, in particular to a multifunctional cosmetic storage box, which comprises a box body, one half of the box body is a cosmetic storage part, the other half is a tissue storage part, and further comprises a flip cover, one end of the flip cover is It is connected with one end of the box body through a hinge, the inner surface of the flip cover is provided with a mirror, the cosmetic storage part is used for the placement of cosmetics, and the tissue storage part is used for the placement of tissue; Protecting the items in the box body can also improve the overall cleanliness of the entire cosmetic storage box; when applying makeup, just open the flip cover to apply makeup to the mirror on the flip cover, and when cosmetics are needed, store the cosmetics from the cosmetics When the tissue is needed, the tissue can be taken out from the tissue storage part, so as to facilitate makeup and improve the efficiency of makeup. It can be seen that the multifunctional cosmetic storage box of the present invention is simple in structure, has many functions, and is convenient to use.
Description
技术领域technical field
本实用新型涉及收纳盒技术领域,尤其是一种多功能化妆品收纳盒。The utility model relates to the technical field of storage boxes, in particular to a multifunctional cosmetic storage box.
背景技术Background technique
目前,化妆者常常使用的一种化妆品收纳盒只能用于各种化妆品的收纳,但化妆者进行化妆时,除了使用化妆品,还需要其他辅助用品,比如镜子和纸巾,由于现有的化妆品收纳盒功能比较单一,造成化妆者不方便进行化妆,影响化妆的效率。At present, a cosmetic storage box often used by makeup artists can only be used for the storage of various cosmetics, but when applying makeup, in addition to using cosmetics, they also need other auxiliary supplies, such as mirrors and tissues, due to the existing cosmetic storage. The function of the box is relatively simple, which makes it inconvenient for the makeup user to perform makeup, and affects the efficiency of makeup.
实用新型内容Utility model content
本实用新型解决的技术问题是提供一种功能较多、方便化妆的多功能化妆品收纳盒。The technical problem solved by the utility model is to provide a multifunctional cosmetic storage box with more functions and convenient makeup.
本实用新型解决其技术问题所采用的技术方案是:多功能化妆品收纳盒,包括盒体,盒体的其中一半部为化妆品收纳部,另一半部为纸巾收纳部,还包括翻盖,翻盖一端部通过铰链与盒体的一端部相连接,翻盖的内表面设置有镜子。The technical solution adopted by the utility model to solve the technical problem is as follows: a multifunctional cosmetic storage box includes a box body, half of the box body is a cosmetic storage part, the other half is a tissue storage part, and also includes a flip cover, one end of the flip cover is It is connected with one end of the box body through a hinge, and the inner surface of the flip cover is provided with a mirror.
进一步的是,盒体的左半部为化妆品收纳部,右半部为纸巾收纳部。Further, the left half of the box body is a cosmetic storage part, and the right half is a tissue storage part.
进一步的是,纸巾收纳部包括上盖,上盖的中间设置有取纸巾出口。Further, the paper towel storage part includes an upper cover, and the middle of the upper cover is provided with an outlet for taking out the paper towel.
进一步的是,翻盖内表面设置有安装凹槽,镜子可拆卸设置在安装凹槽中。Further, an installation groove is provided on the inner surface of the flip cover, and the mirror is detachably arranged in the installation groove.
进一步的是,翻盖与盒体之间设置有多个撑杆。Further, a plurality of struts are arranged between the flip cover and the box body.
进一步的是,撑杆为液压撑杆。Further, the strut is a hydraulic strut.
进一步的是,还包括支撑垫块,盒体设置在支撑垫块上。Further, it also includes a support block, and the box body is arranged on the support block.
进一步的是,支撑垫块中设置有收纳抽屉。Further, a storage drawer is provided in the support block.
进一步的是,支撑垫块的下部设置有防滑垫。Further, the lower part of the support block is provided with a non-slip pad.
本实用新型的有益效果是:本实用新型将盒体的其中一半部为化妆品收纳部,另一半部为纸巾收纳部,还设置有翻盖,翻盖一端部通过铰链与盒体的一端部相连接,翻盖的内表面设置有镜子,化妆品收纳部用于化妆品的放置,纸巾收纳部用于纸巾的放置;未化妆时,翻盖盖在盒体上,翻盖能够对盒体中的物品进行保护,也能提高整个化妆品收纳盒的整体清洁性;化妆时,只需将翻盖打开,就能对着翻盖上的镜子进行化妆,需要化妆品时,将化妆品从化妆品收纳部中拿出,需要纸巾时,将纸巾从纸巾收纳部中拿出,从而方便进行化妆,提高了化妆的效率。可见,本实用新型的多功能化妆品收纳盒结构简单,功能较多,方便使用,利于推广。The beneficial effects of the present utility model are as follows: the utility model uses one half of the box body as a cosmetic storage portion, and the other half as a tissue storage portion, and is also provided with a flip cover, and one end of the flip cover is connected with one end of the box body through a hinge, The inner surface of the flip cover is provided with a mirror, the cosmetic storage part is used for the placement of cosmetics, and the tissue storage part is used for the placement of paper towels; when no makeup is applied, the flip cover is placed on the box body, and the flip cover can protect the items in the box body. Improve the overall cleanliness of the entire cosmetic storage box; when applying makeup, just open the flip cover, you can apply makeup to the mirror on the flip cover, when you need cosmetics, take the cosmetics out of the cosmetic storage section, and when you need a tissue, remove the tissue Taking it out from the tissue storage part, it is convenient to do makeup, and the efficiency of makeup is improved. It can be seen that the multifunctional cosmetic storage box of the present invention is simple in structure, has many functions, is convenient to use, and facilitates popularization.
附图说明Description of drawings
图1是本实用新型打开后的主视示意图;Fig. 1 is the front schematic diagram after the utility model is opened;
图2是本实用新型打开后的侧视示意图;Fig. 2 is the side view schematic diagram after the utility model is opened;
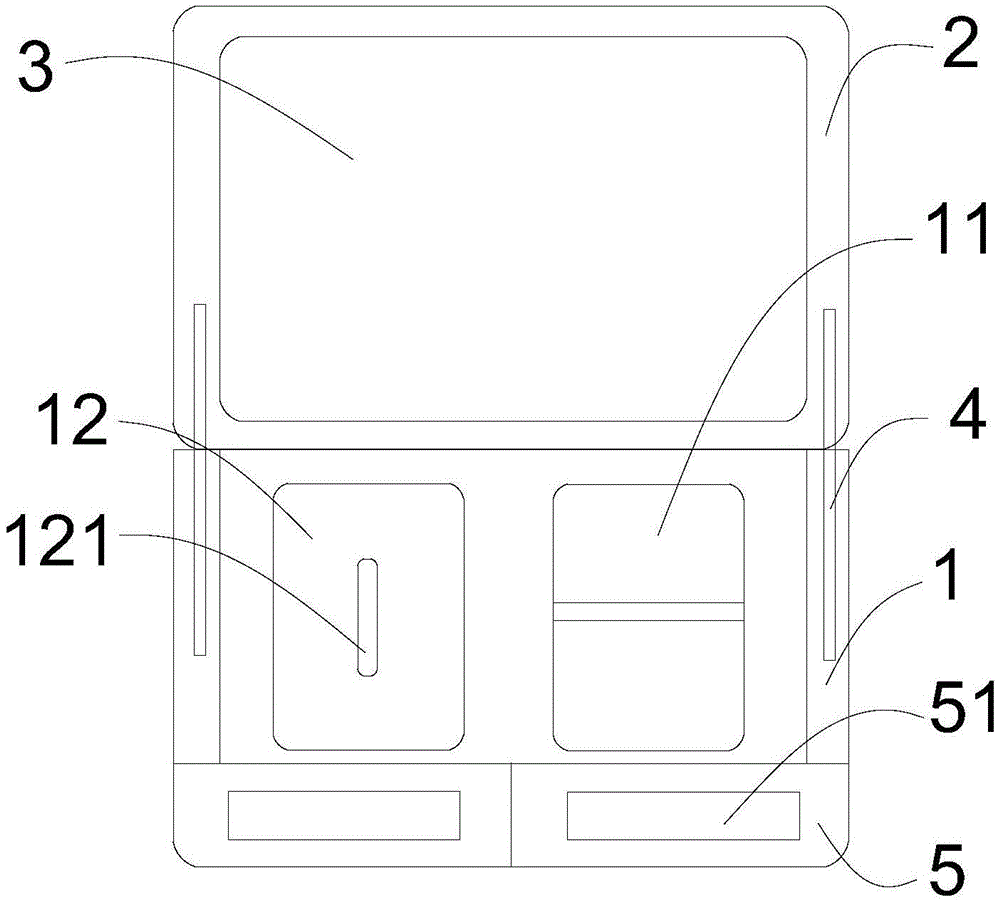
图中标记为:盒体1、化妆品收纳部11、纸巾收纳部12、取纸巾出口121、镜子3、撑杆4、支撑垫块5。The figures are marked as:
具体实施方式Detailed ways
下面结合附图和具体实施方式对本实用新型进一步说明。The present utility model will be further described below with reference to the accompanying drawings and specific embodiments.
如图1、图2所示,本实用新型多功能化妆品收纳盒,包括盒体1,盒体1的材质优选为藏竹,盒体1的其中一半部为化妆品收纳部11,另一半部为纸巾收纳部12,还包括翻盖2,翻盖2一端部通过铰链与盒体1的一端部相连接,翻盖2的内表面设置有镜子3。As shown in Figures 1 and 2, the multifunctional cosmetic storage box of the present invention includes a
化妆品收纳部11用于化妆品的放置,纸巾收纳部12用于纸巾的放置;未化妆时,翻盖2盖在盒体上,翻盖2能够对盒体1中的物品进行保护,也能提高整个化妆品收纳盒的整体清洁性;化妆时,只需将翻盖打开,就能对着翻盖上的镜子进行化妆,需要化妆品时,将化妆品从化妆品收纳部11中拿出,需要纸巾时,将纸巾从纸巾收纳部12中拿出,从而方便进行化妆,提高了化妆的效率。可见,本实用新型的多功能化妆品收纳盒结构简单,功能较多,方便使用,利于推广。The
具体的,为了方便使用,符合大多数人的使用习惯,优选盒体1的左半部为化妆品收纳部11,右半部为纸巾收纳部12。化妆时,使用的纸巾多为抽纸,为了抽纸纸巾的使用,纸巾收纳部12包括上盖,上盖的中间设置有取纸巾出口121。Specifically, for the convenience of use and conforming to the usage habits of most people, it is preferable that the left half of the
为了便于镜子3的安装,提高镜子3的安装牢固性和使用安全性,翻盖2内表面设置有安装凹槽,镜子3可拆卸设置在安装凹槽中,镜子3可拆卸设置方便其损坏时能够进行更换。为了更进一步便于化妆者进行化妆,镜子3最好能够与化妆者成不同的角度,本实用新型在翻盖2与盒体1之间设置有多个撑杆4,也即是撑杆4一端与盒体1相连接,另一端与翻盖2相连接,撑杆4优选为液压撑杆,在液压撑杆的作用下,翻盖2与盒体1能够成不同的角度,从而实现化妆者与镜子3成不同的角度。In order to facilitate the installation of the
为了提高盒体1的使用时间,还设置有支撑垫块5,盒体1设置在支撑垫块5上。为了防止化妆品收纳盒在使用时出现打滑的情况,支撑垫块5的下部设置有防滑垫,防滑垫的材质优选为橡胶。为了再进一步提高整个化妆品收纳盒的物品收纳空间,支撑垫块5中设置有收纳抽屉51。In order to improve the use time of the
Claims (9)
Priority Applications (1)
| Application Number | Priority Date | Filing Date | Title |
|---|---|---|---|
| CN202020436516.1U CN211794749U (en) | 2020-03-30 | 2020-03-30 | Multifunctional cosmetic storage box |
Applications Claiming Priority (1)
| Application Number | Priority Date | Filing Date | Title |
|---|---|---|---|
| CN202020436516.1U CN211794749U (en) | 2020-03-30 | 2020-03-30 | Multifunctional cosmetic storage box |
Publications (1)
| Publication Number | Publication Date |
|---|---|
| CN211794749U true CN211794749U (en) | 2020-10-30 |
Family
ID=73148437
Family Applications (1)
| Application Number | Title | Priority Date | Filing Date |
|---|---|---|---|
| CN202020436516.1U Expired - Fee Related CN211794749U (en) | 2020-03-30 | 2020-03-30 | Multifunctional cosmetic storage box |
Country Status (1)
| Country | Link |
|---|---|
| CN (1) | CN211794749U (en) |
-
2020
- 2020-03-30 CN CN202020436516.1U patent/CN211794749U/en not_active Expired - Fee Related
Similar Documents
| Publication | Publication Date | Title |
|---|---|---|
| US10477936B2 (en) | Integrated, manicure-pedicure station apparatus and method | |
| CN211794749U (en) | Multifunctional cosmetic storage box | |
| KR200446791Y1 (en) | Mascara containers | |
| KR101496838B1 (en) | Conical hat type makeup cotton, case retrieval device equipped thereof and tools for using the same | |
| CN201640845U (en) | Portable comb | |
| CN211862047U (en) | Nail file is used in nursing | |
| CN208301213U (en) | Cosmetic box with double doors | |
| CN209750895U (en) | Wet piece of cloth mouth of taking out structure | |
| KR20210002291A (en) | Clean Use Powder Container | |
| CN222443780U (en) | Curve multiple-grid storage box | |
| CN205649114U (en) | Makeup box of conveniently taking | |
| CN213188492U (en) | Portable multifunctional cosmetic box | |
| CN202458131U (en) | Back rubbing cotton | |
| CN216316389U (en) | Novel wardrobe structure convenient to adjust and fix | |
| CN209711867U (en) | A kind of portable daily necessity holder | |
| CN215621089U (en) | Portable multifunctional pen container | |
| CN211431572U (en) | Multifunctional integrated dining table | |
| CN218303810U (en) | Multifunctional nail polish bottle | |
| CN201657943U (en) | Lip cream | |
| CN211673220U (en) | Cosmetics storage device | |
| CN211048601U (en) | Cosmetic bag | |
| CN208499104U (en) | A kind of multi-functional Portable oil-absorbing sheet holding box | |
| CN208080723U (en) | A kind of new cosmetic packet | |
| CN208725012U (en) | A kind of storage box for placing cosmetics | |
| CN206390536U (en) | A kind of shopping bag handle |
Legal Events
| Date | Code | Title | Description |
|---|---|---|---|
| GR01 | Patent grant | ||
| GR01 | Patent grant | ||
| CF01 | Termination of patent right due to non-payment of annual fee |
Granted publication date: 20201030 |
|
| CF01 | Termination of patent right due to non-payment of annual fee |
