CN211789921U - 数据线外膜切剥装置 - Google Patents

数据线外膜切剥装置 Download PDF

Info

Publication number
CN211789921U
CN211789921U CN202020538738.4U CN202020538738U CN211789921U CN 211789921 U CN211789921 U CN 211789921U CN 202020538738 U CN202020538738 U CN 202020538738U CN 211789921 U CN211789921 U CN 211789921U
Authority
CN
China
Prior art keywords
cutter
terminal
frame
outer film
data cable
Prior art date
Legal status (The legal status is an assumption and is not a legal conclusion. Google has not performed a legal analysis and makes no representation as to the accuracy of the status listed.)
Active
Application number
CN202020538738.4U
Other languages
English (en)
Inventor
黄晖
傅华良
贾晓波
Current Assignee (The listed assignees may be inaccurate. Google has not performed a legal analysis and makes no representation or warranty as to the accuracy of the list.)
Dongguan Kailai Electronics Co ltd
Original Assignee
Dongguan Kailai Electronics Co ltd
Dongguan Yingtong Wire Co Ltd
Priority date (The priority date is an assumption and is not a legal conclusion. Google has not performed a legal analysis and makes no representation as to the accuracy of the date listed.)
Filing date
Publication date
Application filed by Dongguan Kailai Electronics Co ltd, Dongguan Yingtong Wire Co Ltd filed Critical Dongguan Kailai Electronics Co ltd
Priority to CN202020538738.4U priority Critical patent/CN211789921U/zh
Application granted granted Critical
Publication of CN211789921U publication Critical patent/CN211789921U/zh
Active legal-status Critical Current
Anticipated expiration legal-status Critical

Links

Images

Landscapes

  • Shearing Machines (AREA)

Abstract

本实用新型提供一种数据线外膜切剥装置,包括机架、安装于所述机架的驱动元件、安装于所述机架并与所述驱动元件相连的切刀组件、及用于放置被切工件的工作台;所述切刀组件包括滑动安装于所述机架的切刀固定架、安装于所述切刀固定架的弹性预压块和分体切刀,所述切刀固定架与所述驱动元件的输出端相连,所述弹性预压块位于所述分体切刀一侧、且其底端超出所述分体切刀底端的预设长度,所述分体切刀包括端子纵向切刀、端子横向切刀和导线切刀,所述端子横向切刀位于所述端子纵向切刀和所述导线切刀之间;本实用新型使用驱动元件带动切刀组件对工作台上的工件进行切剥,加快了数据线的返修速率,避免了人工在手动切剥数据线外膜时受到的损伤。

Description

数据线外膜切剥装置
技术领域
本实用新型涉及数据线领域,特别是涉及一种数据线外膜切剥装置。
背景技术
数据线(data cable),是来连接移动设备和电脑,来达到数据传递或通信目的。通俗点说,就是连接电脑与移动设备用来传送视频、铃声、图片等文件的通路工具,其也可以连接充电器来给移动设备充电。随着电子行业日新月异的发展,数据线已经成为了我们生活中不可或缺的部分。而数据线在生产的过程中难免会出现不良品,而目前数据线外观不良品占生产总量的10%-20%之间,相对而言不良品还是较多的,如果不返修的话,对于企业的利润会造成一定的影响,所以基本上厂家都会对不良品进行返修,而返修时必须要将数据线端部的外膜体拆掉才能返修,目前市场上大都是人工手动来将外膜切剥掉的,不仅效率低,同时也容易伤到工作人员。
实用新型内容
为解决上述问题,本实用新型提供一种高效便捷的数据线外膜切剥装置。
本实用新型采用的技术方案是:一种数据线外膜切剥装置,包括机架、安装于所述机架的驱动元件、安装于所述机架并与所述驱动元件相连的切刀组件、及用于放置被切工件的工作台;所述切刀组件包括滑动安装于所述机架的切刀固定架、安装于所述切刀固定架的弹性预压块和分体切刀,所述切刀固定架与所述驱动元件的输出端相连,所述弹性预压块位于所述分体切刀一侧、且其底端超出所述分体切刀底端的预设长度,所述分体切刀包括端子纵向切刀、端子横向切刀和导线切刀,所述端子横向切刀位于所述端子纵向切刀和所述导线切刀之间。
对上述技术方案的进一步改进为,所述端子横向切刀分别与所述端子纵向切刀和所述导线切刀垂直设置,所述端子纵向切刀和所述导线切刀平行设置。
对上述技术方案的进一步改进为,所述端子横向切刀一侧紧贴所述端子纵向切刀、其另一侧紧贴所述导线切刀;所述端子纵向切刀、端子横向切刀和导线切刀的长度均相同。
对上述技术方案的进一步改进为,所述端子纵向切刀和端子横向切刀的长度相同,所述导线切刀的底端低于所述端子横向切刀的底端。
对上述技术方案的进一步改进为,所述端子纵向切刀、端子横向切刀和导线切刀底端均开设有斜面,所述端子纵向切刀、端子横向切刀和导线切刀的开设斜面端为刀刃端,所述端子纵向切刀、端子横向切刀和导线切刀的刀刃端均对应于所述工作台放置工件的一端。
对上述技术方案的进一步改进为,所述弹性预压块设置于所述切刀固定架靠近端子纵向切刀处,所述弹性预压块位于所述切刀固定架远离所述端子横向切刀处,所述切刀固定架设有预压槽,弹性预压块可伸缩的安装于预压槽并伸出于预压槽一部分。
对上述技术方案的进一步改进为,所述机架设有滑轨,所述切刀固定架滑动安装于所述滑轨。
对上述技术方案的进一步改进为,所述驱动元件包括安装于所述机架的下压气缸和安装于所述下压气缸一端的气缸连接块,所述气缸连接块呈T型设置,所述切刀固定架设有用于供气缸连接块卡入固定的T型槽,所述气缸连接块安装于所述T型槽中。
对上述技术方案的进一步改进为,所述机架包括底座、安装于所述底座的背板和支撑板、安装于所述支撑板顶部的顶板、安装于所述背板的压力阀和电磁阀、及安装于所述底座的防护板;所述驱动元件安装于所述顶板,所述压力阀和所述电磁阀均安装于所述背板,所述电磁阀分别与所述下压气缸和所述压力阀相连,所述滑轨安装于所述背板背离所述压力阀一侧。
对上述技术方案的进一步改进为,所述工作台包括安装于所述机架的限位座、安装于所述限位座的限位挡板和限压条,所述限位座设有限位槽,所述限压条安装于所述限位槽的正上方,所述限位挡板形成有限位凸起,所述限位凸起用于限位工件防止工件的位置发生移动。
本实用新型的有益效果如下:当有需要返修的工件时,将需要返修的工件放置在工作台上固定住,然后利用驱动元件带动切刀组件下压对工件进行切剥,切剥后的工件,操作人员很容易将外膜从数据线上取下,进而再进行返修,由于是机器操作切剥的数据线外膜,不仅加快了返修的效率,同时也能避免操作人员手动切剥时带来的损伤。
附图说明
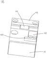
图1为本实用新型数据线外膜切剥装置的立体结构示意图;
图2为图1数据线外膜切剥装置去掉防护板后的结构示意图;
图3为图2数据线外膜切剥装置中圆圈A处的放大示意图;
图4为图1数据线外膜切剥装置的爆炸结构示意图;
图5为图4数据线外膜切剥装置另一个角度的结构示意图;
图6为图5数据线外膜切剥装置中圆圈B处的放大示意图;
图7为图1数据线外膜切剥装置的切刀组件的结构示意图;
图8为图7数据线外膜切剥装置的分体切刀的结构示意图;
图9为图1数据线外膜切剥装置的工作台的结构示意图。
附图标记说明:10-机架,11-底座,12-背板,13-支撑板,14-顶板,15-滑轨,16-压力阀,17-电磁阀,18-防护板,20-驱动元件,21-下压气缸,22-气缸连接块,30-切刀组件,31-切刀固定架,312-T型槽,32-预压块,33-分体切刀,334-端子纵向切刀,335-端子横向切刀,336-导线切刀,40-工作台,41-限位座,42-限位挡板,421-限位凸起,43-限压条。
具体实施方式
下面将结合附图对本实用新型作进一步的说明。
如图1-图9所示,本实用新型提供一种数据线外膜切剥装置,包括机架10、安装于机架10的驱动元件20、安装于机架10并与驱动元件20相连的切刀组件30、及用于放置被切工件的工作台40,驱动元件20可以带动切刀组件30对工作台40上固定的工件进行切剥,相比于人工的切剥,更高效,也能避免操作人员受伤。
如图1至图5所示,机架10包括底座11、安装于底座11的背板12和支撑板13、安装于支撑板13顶部的顶板14、安装于背板12的压力阀16和电磁阀17、及安装于底座11的防护板18;底座11、背板12、支撑板13及顶板14围成一个半包围的工作腔;顶板14用于安装驱动元件20,压力阀16和电磁阀17均安装于背板12,电磁阀17分别与驱动元件20和压力阀16相连;机架10内侧还包括安装于背板12背离压力阀16的滑轨15;具体的背板12的背离压力阀16一侧设有安装槽(图未示),滑轨15固定于安装槽;防护板18罩设与工作腔外围用于保护工人的安全。
驱动元件20包括安装于顶板14的下压气缸21和安装于下压气缸21一端的气缸连接块22;在本实施例中,气缸连接块22呈T型设置。
如图1-图8所示,切刀组件30包括滑动安装于机架10的切刀固定架31、安装于切刀固定架31的弹性预压块32和分体切刀33;切刀固定架31与驱动元件20的输出端相连,切刀固定架31滑动安装于滑轨15,切刀固定架31的顶部设有T型槽312,T型槽312用于供气缸连接块22卡入固定;通过T型的气缸连接块22安装于T型槽312中,安装稳固,不易松动。
弹性预压块32与切刀固定架31连接;在本实施例中,弹性预压块32包括弹性元件(图未示),该弹性元件为弹簧;切刀固定架312设有预压槽(图未示),弹性预压块32可伸缩的安装于预压槽并伸出于预压槽一部分;自然状态下,弹性预压块32的底端超出分体切刀33底端预设的长度,当下压气缸21带动切刀组件30下压时,弹性预压块32先接触工件,此时由于下压气缸21继续下压,则使得弹性元件收缩,弹性预压块32压紧工件,当工件切剥完后,下压气缸21带动切刀组件30上升,弹性元件回弹,弹性预压块32复位。
分体切刀33包括端子纵向切刀334、端子横向切刀335和导线切刀336,在本实施例中,端子横向切刀335位于端子纵向切刀334和导线切刀336之间;端子横向切刀335分别与端子纵向切刀334和导线切刀336垂直设置,端子纵向切刀334和导线切刀336平行设置。端子横向切刀335一侧紧贴端子纵向切刀334、其另一侧紧贴导线切刀336;端子纵向切刀334、端子横向切刀335和导线切刀336的长度均相同。端子纵向切刀334、端子横向切刀335和导线切刀336底端均开设有斜面,端子纵向切刀334、端子横向切刀335和导线切刀336的开设斜面端为刀刃端,端子纵向切刀334、端子横向切刀335和导线切刀336的刀刃端均对应于工作台40放置工件的一端。在另一实施例中,端子纵向切刀334和端子横向切刀335的长度相同,导线切刀336的底端低于端子横向切刀335的底端。
弹性预压块32设置于切刀固定架31靠近端子纵向切刀334处,弹性预压块位于切刀固定架31远离端子横向切刀335处。
如图9所示,工作台40包括安装于底座11的限位座41、安装于限位座41的限位挡板42和限压条43,限位座41设有限位槽44,限压条43安装于限位槽44的正上方,限位挡板42形成有限位凸起421,限位凸起421用于限位工件防止工件位置发生移动;限位槽44和限压条43可以限制工件在X方向和Z方向上的自由度,限位凸起421可以限制工件在Y方向上的自由度,这样就是的工件被完全固定。
本实用新型的工作原理为:当有需要返修的工件时,将所需返修的工件,放置于工作台40,工作台40上的限压条43、限位槽44和限位凸起421组合使得工件稳固在工作台40上,此时再电磁阀17驱动下压气缸21带动切刀组件30朝工作台40方向运动,由于弹性预压块32的长度大于分体切刀33的长度,弹性预压块32先接触到工件并对工件进行进一步的固定,分体切刀33随着弹性预压块32压紧工件后开始对工件进行切剥,切剥完成后,电磁阀17驱动下压气缸21背离工作台40方向运动,进而带动切刀组件30远离工作台40,随着切刀组件30的远离,弹性预压块32随着弹簧的回弹力进而复位,当切刀组件30远离到一定程度时,可将切剥后的工件取走,再将未切剥的待返修工件放置到工作台40上进行以上的往复运动,而设置的压力阀16可以监控下压气缸20的压力,进而根据情况来调整下压气缸20的压力,使得切剥有条不絮的进行;通过本实用新型切剥后的工件,操作人员很容易将工件上的外膜取下,加快了返修效率,避免了操作人员手动切剥所带来的损伤。
以上所述实施例仅表达了本实用新型的几种实施方式,其描述较为具体和详细,但并不能因此而理解为对本实用新型专利范围的限制。应当指出的是,对于本领域的普通技术人员来说,在不脱离本实用新型构思的前提下,还可以做出若干变形和改进,这些都属于本实用新型的保护范围。因此,本实用新型专利的保护范围应以所附权利要求为准。

Claims (10)

1.一种数据线外膜切剥装置,其特征在于,包括机架、安装于所述机架的驱动元件、安装于所述机架并与所述驱动元件相连的切刀组件、及用于放置被切工件的工作台;所述切刀组件包括滑动安装于所述机架的切刀固定架、安装于所述切刀固定架的弹性预压块和分体切刀,所述切刀固定架与所述驱动元件的输出端相连,所述弹性预压块位于所述分体切刀一侧、且其底端超出所述分体切刀底端的预设长度,所述分体切刀包括端子纵向切刀、端子横向切刀和导线切刀,所述端子横向切刀位于所述端子纵向切刀和所述导线切刀之间。
2.根据权利要求1所述的数据线外膜切剥装置,其特征在于,所述端子横向切刀分别与所述端子纵向切刀和所述导线切刀垂直设置,所述端子纵向切刀和所述导线切刀平行设置。
3.根据权利要求1所述的数据线外膜切剥装置,其特征在于,所述端子横向切刀一侧紧贴所述端子纵向切刀、其另一侧紧贴所述导线切刀;所述端子纵向切刀、端子横向切刀和导线切刀的长度均相同。
4.根据权利要求1所述的数据线外膜切剥装置,其特征在于,所述端子纵向切刀和端子横向切刀的长度相同,所述导线切刀的底端低于所述端子横向切刀的底端。
5.根据权利要求1所述的数据线外膜切剥装置,其特征在于,所述端子纵向切刀、端子横向切刀和导线切刀底端均开设有斜面,所述端子纵向切刀、端子横向切刀和导线切刀的开设斜面端为刀刃端,所述端子纵向切刀、端子横向切刀和导线切刀的刀刃端均对应于所述工作台放置工件的一端。
6.根据权利要求1所述的数据线外膜切剥装置,其特征在于,所述弹性预压块设置于所述切刀固定架靠近端子纵向切刀处,所述弹性预压块位于所述切刀固定架远离所述端子横向切刀处,所述切刀固定架设有预压槽,弹性预压块可伸缩的安装于预压槽并伸出于预压槽一部分。
7.根据权利要求1所述的数据线外膜切剥装置,其特征在于,所述机架设有滑轨,所述切刀固定架滑动安装于所述滑轨。
8.根据权利要求7所述的数据线外膜切剥装置,其特征在于,所述驱动元件包括安装于所述机架的下压气缸和安装于所述下压气缸一端的气缸连接块,所述气缸连接块呈T型设置,所述切刀固定架设有用于供气缸连接块卡入固定的T型槽,所述气缸连接块安装于所述T型槽中。
9.根据权利要求8所述的数据线外膜切剥装置,其特征在于,所述机架包括底座、安装于所述底座的背板和支撑板、安装于所述支撑板顶部的顶板、安装于所述背板的压力阀和电磁阀、及安装于所述底座的防护板;所述驱动元件安装于所述顶板,所述压力阀和所述电磁阀均安装于所述背板,所述电磁阀分别与所述下压气缸和所述压力阀相连,所述滑轨安装于所述背板背离所述压力阀一侧。
10.根据权利要求1所述的数据线外膜切剥装置,其特征在于,所述工作台包括安装于所述机架的限位座、安装于所述限位座的限位挡板和限压条,所述限位座设有限位槽,所述限压条安装于所述限位槽的正上方,所述限位挡板形成有限位凸起,所述限位凸起用于限位工件防止工件的位置发生移动。
CN202020538738.4U 2020-04-13 2020-04-13 数据线外膜切剥装置 Active CN211789921U (zh)

Priority Applications (1)

Application Number Priority Date Filing Date Title
CN202020538738.4U CN211789921U (zh) 2020-04-13 2020-04-13 数据线外膜切剥装置

Applications Claiming Priority (1)

Application Number Priority Date Filing Date Title
CN202020538738.4U CN211789921U (zh) 2020-04-13 2020-04-13 数据线外膜切剥装置

Publications (1)

Publication Number Publication Date
CN211789921U true CN211789921U (zh) 2020-10-27

Family

ID=72959814

Family Applications (1)

Application Number Title Priority Date Filing Date
CN202020538738.4U Active CN211789921U (zh) 2020-04-13 2020-04-13 数据线外膜切剥装置

Country Status (1)

Country Link
CN (1) CN211789921U (zh)

Cited By (1)

* Cited by examiner, † Cited by third party
Publication number Priority date Publication date Assignee Title
CN111478232A (zh) * 2020-04-13 2020-07-31 东莞市开来电子有限公司 数据线外膜切剥装置

Cited By (2)

* Cited by examiner, † Cited by third party
Publication number Priority date Publication date Assignee Title
CN111478232A (zh) * 2020-04-13 2020-07-31 东莞市开来电子有限公司 数据线外膜切剥装置
CN111478232B (zh) * 2020-04-13 2021-09-07 东莞市开来电子有限公司 数据线外膜切剥装置

Similar Documents

Publication Publication Date Title
CN204089063U (zh) 一种新型电缆剥皮刀
CN107984013B (zh) 一种用于对工件划线的铣刀
CN211789921U (zh) 数据线外膜切剥装置
CN108274058A (zh) 一种汇流条高效裁切机的裁切机构
CN111478232A (zh) 数据线外膜切剥装置
CN201392979Y (zh) 一种剥皮打端机
CN216502092U (zh) 一种半导体引线框架的裁剪机构
CN201979549U (zh) 一种汇流带引出端开口机
CN212822078U (zh) 一种用于通讯设备机壳的切边校正模
CN216176215U (zh) 一种无线快充电路板引脚剪切装置
CN109217189B (zh) 剥皮机构
CN107081395B (zh) 双芯电源线分叉及长短头剥皮切断模具
CN204760916U (zh) 一种电气式剥线机
CN117324428A (zh) 发动机罩的铰链安装板整形工装
CN211638021U (zh) 一种六角螺栓的冲压模具
CN209737773U (zh) 一种工件定位裁切模具
CN210233860U (zh) 一种服务器硬盘抽拉架浇口剪切机
CN220086830U (zh) 一种线束切线剥皮机
CN210710005U (zh) 自动切割保护膜设备
CN208125950U (zh) 一种光缆剥线机及剥线头
CN220161528U (zh) 一种电池盖帽生产切割装置
CN221818723U (zh) 一种橡皮加工用的裁剪装置
CN222867327U (zh) 线束加工工装
CN219188480U (zh) 一种连接线加工用的快速截断装置
CN110935800A (zh) 一种六角螺栓的冲压模具

Legal Events

Date Code Title Description
GR01 Patent grant
GR01 Patent grant
TR01 Transfer of patent right

Effective date of registration: 20241216

Address after: No. 333 Jingjiu Road, Changping Town, Dongguan City, Guangdong Province 523000

Patentee after: DONGGUAN KAILAI ELECTRONICS Co.,Ltd.

Country or region after: China

Address before: 523000 No. 36 Industrial Trunk Road, No. 2 District (Shahukou) Changping Park, Dongguan East Industrial Park, Guangdong Province (Factory Building I)

Patentee before: DONGGUAN KAILAI ELECTRONICS Co.,Ltd.

Country or region before: China

Patentee before: DONGGUAN YINGTONG WIRE Ltd.

TR01 Transfer of patent right