CN211786821U - Multifunctional temperature and humidity control equipment - Google Patents
Multifunctional temperature and humidity control equipment Download PDFInfo
- Publication number
- CN211786821U CN211786821U CN202020675433.8U CN202020675433U CN211786821U CN 211786821 U CN211786821 U CN 211786821U CN 202020675433 U CN202020675433 U CN 202020675433U CN 211786821 U CN211786821 U CN 211786821U
- Authority
- CN
- China
- Prior art keywords
- control box
- temperature
- humidity
- control device
- collision block
- Prior art date
- Legal status (The legal status is an assumption and is not a legal conclusion. Google has not performed a legal analysis and makes no representation as to the accuracy of the status listed.)
- Active
Links
- 230000001681 protective effect Effects 0.000 claims abstract description 20
- 239000000872 buffer Substances 0.000 claims abstract description 10
- 239000000523 sample Substances 0.000 claims abstract description 9
- 229910001220 stainless steel Inorganic materials 0.000 claims description 3
- 239000010935 stainless steel Substances 0.000 claims description 3
- 238000003466 welding Methods 0.000 claims description 3
- 239000000463 material Substances 0.000 claims description 2
- 230000009471 action Effects 0.000 abstract description 7
- 238000000034 method Methods 0.000 abstract description 4
- 230000008569 process Effects 0.000 abstract description 3
- 238000005299 abrasion Methods 0.000 abstract 1
- 238000005259 measurement Methods 0.000 description 5
- 230000035939 shock Effects 0.000 description 3
- 239000006173 Good's buffer Substances 0.000 description 2
- 230000002222 downregulating effect Effects 0.000 description 2
- 230000004075 alteration Effects 0.000 description 1
- 230000004888 barrier function Effects 0.000 description 1
- 230000009286 beneficial effect Effects 0.000 description 1
- 230000033228 biological regulation Effects 0.000 description 1
- 230000007547 defect Effects 0.000 description 1
- 230000003828 downregulation Effects 0.000 description 1
- 230000000694 effects Effects 0.000 description 1
- 239000004973 liquid crystal related substance Substances 0.000 description 1
- 238000004519 manufacturing process Methods 0.000 description 1
- 238000012986 modification Methods 0.000 description 1
- 230000004048 modification Effects 0.000 description 1
- 238000006467 substitution reaction Methods 0.000 description 1
Images
Landscapes
- Air Conditioning Control Device (AREA)
Abstract
The utility model discloses a multifunctional temperature and humidity control device, which comprises an anti-collision block and a control box, wherein the anti-collision block is arranged at the four corners of the control box, a temperature and humidity probe is arranged above the control box, the utility model relates to a multifunctional temperature and humidity control device which is additionally provided with a protective net and an anti-collision block on the basis of the prior temperature and humidity control device, wherein a buffer seam is arranged between the anti-collision block and the control box, the anti-collision block is fixedly connected with the control box through a spring, the spring is positioned in the buffer seam, and the anti-collision block and the spring have good elastic property by the action of the spring, so that the anti-collision block and the spring greatly impact the counteracting force when the temperature and humidity control device drops or impacts, the temperature and humidity control device is protected by utilizing the action of the protective net, the abrasion to the display screen in the daily wiring or using process is avoided.
Description
Technical Field
The utility model belongs to the technical field of the controlgear is relevant, concretely relates to multi-functional atmospheric control equipment.
Background
The temperature and humidity control device takes an advanced single chip as a control core, adopts an imported high-performance temperature and humidity sensor, can simultaneously measure and control temperature and humidity signals, realizes liquid crystal digital display, and can also respectively set and display the upper limit and the lower limit of the temperature and the humidity through keys, so that the instrument can automatically start a fan or a heater according to the field condition to automatically adjust the actual temperature and the actual humidity of the measured environment.
The prior temperature and humidity control equipment technology has the following problems: the existing temperature and humidity control equipment has certain defects in the application of actual life and work, and the temperature and humidity control equipment belongs to a compact instrument and has high requirements on shock resistance, the existing temperature and humidity control equipment has poor shock resistance, when the temperature and humidity control equipment collides or drops, a display screen on the temperature and humidity control equipment is easily damaged, and in daily use, when the temperature and humidity control equipment is connected in a wiring mode, the display screen of the temperature and humidity control equipment is easily abraded, and the protection function is low.
Disclosure of Invention
An object of the utility model is to provide a multi-functional temperature and humidity control equipment, because temperature and humidity control equipment belongs to inseparable instrument to proposing in solving above-mentioned background art, have very high requirement to the shock resistance, and current temperature and humidity control equipment antidetonation effect is relatively poor, when temperature and humidity control equipment bumps or drops, make the display screen on the temperature and humidity control equipment cause the damage very easily, and, in daily use, when working of working a telephone switchboard to temperature and humidity control equipment, temperature and humidity control equipment's display screen easily receives wearing and tearing, the lower problem of safeguard function.
In order to achieve the above object, the utility model provides a following technical scheme: a multifunctional temperature and humidity control device comprises an anti-collision block and a control box, wherein the anti-collision block is installed at the four corners of the control box, a temperature and humidity probe is arranged above the control box, the temperature and humidity probe and the control box are fixedly connected through a connecting wire, a display screen is arranged on the outer wall of the front end of the control box, an actually measured humidity value is arranged on the display screen, an actually measured temperature value is arranged on the upper side of the actually measured humidity value, a humidity output indicator lamp is arranged on the left side of the actually measured humidity value, a temperature output indicator lamp is arranged on the left side of the actually measured humidity value, a down-regulating key is arranged on the outer wall of the front end of the display screen close to the right side, an up-regulating key is arranged on the upper side of the down-regulating key, a setting key is arranged on the upper side of the up-regulating key, through inserted column fixed connection between protection network and the control box, the protection network leans on the inside regulation frame that is provided with of front end on right side, the inside hanging hole that is provided with of rear end of control box, the control box is provided with the connection box on leaning on the rear end outer wall of downside, the inside of connection box is provided with the line hole, the control box passes through electric wire and external power source electric connection.
Preferably, jacks are arranged in the outer wall of the front end of the control box close to the four corners, and the protective net is fixedly connected with the control box through the inserting columns and the jacks.
Preferably, the adjusting frame is rectangular and is positioned in front of the down-adjusting key, the up-adjusting key and the setting key.
Preferably, the protective net is made of stainless steel, and the protective net and the inserting columns are fixedly connected in a welding mode.
Preferably, a buffer seam is arranged between the anti-collision block and the control box, the anti-collision block and the control box are fixedly connected through a spring, and the spring is located inside the buffer seam.
Preferably, the connection frame and the control box are fixedly connected through fastening screws.
Compared with the prior temperature and humidity control equipment technology, the utility model provides a multifunctional temperature and humidity control equipment possesses following beneficial effect:
the utility model relates to a multifunctional temperature and humidity control device which is improved and innovated on the basis of the prior temperature and humidity control device, so that the temperature and humidity control device has good practical performance in the application of actual life and work, the utility model discloses a multifunctional temperature and humidity control device which is additionally provided with a protective net and an anti-collision block on the basis of the prior temperature and humidity control device, wherein, a buffer seam is arranged between the anti-collision block and the control box, the anti-collision block is fixedly connected with the control box through a spring, the spring is positioned in the buffer seam, and the anti-collision block and the spring greatly collide to offset force to protect the temperature and humidity control device by the good elastic performance of the spring when the temperature and humidity control device drops or collides, can protect the display screen, avoid at daily wiring or the in-process that uses, cause wearing and tearing to the display screen, the utility model relates to a multi-functional temperature and humidity control equipment simple structure, convenient to use has fine practicality and barrier propterty.
Drawings
The accompanying drawings are included to provide a further understanding of the invention, and are incorporated in and constitute a part of this specification, illustrate embodiments of the invention, and together with the description, do not constitute a limitation of the invention, in which:
fig. 1 is a schematic view of a three-dimensional structure of a multifunctional temperature and humidity control device provided by the present invention;
fig. 2 is a schematic view of an assembly structure of the multifunctional temperature and humidity control device provided by the present invention;
fig. 3 is a schematic view of a back side three-dimensional structure of the multifunctional temperature and humidity control device provided by the present invention;
fig. 4 is a schematic view of the internal structure of the back of the multifunctional temperature and humidity control device provided by the present invention;
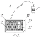
in the figure: 1. a temperature and humidity probe; 2. a connecting wire; 3. a jack; 4. a temperature output indicator light; 5. a humidity output indicator light; 6. an electric wire; 7. actually measuring a humidity value; 8. a display screen; 9. a down-regulation bond; 10. an up key; 11. setting a key; 12. an anti-collision block; 13. a control box; 14. actually measuring a temperature value; 15. inserting a column; 16. a protective net; 17. an adjusting frame; 18. hanging holes; 19. a connecting frame; 20. and a wire connecting hole.
Detailed Description
The technical solutions in the embodiments of the present invention will be described clearly and completely with reference to the accompanying drawings in the embodiments of the present invention, and it is obvious that the described embodiments are only some embodiments of the present invention, not all embodiments. Based on the embodiments in the present invention, all other embodiments obtained by a person skilled in the art without creative work belong to the protection scope of the present invention.
Referring to fig. 1-4, the present invention provides a technical solution: a multifunctional temperature and humidity control device comprises an anti-collision block 12 and a control box 13, wherein the anti-collision block 12 is installed at the four corners of the control box 13, a buffer seam is arranged between the anti-collision block 12 and the control box 13, the anti-collision block 12 and the control box 13 are fixedly connected through a spring, the spring is positioned inside the buffer seam, the anti-collision block 12 and the control box 13 have good buffer performance by utilizing good elastic performance of the spring under the action of the spring, jacks 3 are arranged inside the outer wall of the front end of the control box 13 close to the four corners, a protective net 16 and the control box 13 are fixedly connected through plug posts 15 and the jacks 3, the protective net 16 can be fixed right in front of a display screen 8 under the combined action of the plug posts 15 and the jacks 3 to protect the display screen 8, a temperature and humidity probe 1 is arranged above the control box 13, and the temperature and humidity probe 1 and the control box 13 are fixedly connected through a connecting wire 2, be provided with display screen 8 on the front end outer wall of control box 13, be provided with actual measurement humidity value 7 on the display screen 8, the upside of actual measurement humidity value 7 is provided with actual measurement temperature value 14, the left side of actual measurement humidity value 7 is provided with humidity output pilot lamp 5, the left side of actual measurement humidity value 7 is provided with temperature output pilot lamp 4, display screen 8 is provided with down key 9 on leaning on the front end outer wall on right side, the upside of down key 9 is provided with up key 10, the upside of up key 10 is provided with set key 11, be provided with electric wire 6 on the lower extreme outer wall of control box 13.
A multifunctional temperature and humidity control device is characterized in that a protective net 16 is arranged right in front of a control box 13, the protective net 16 is made of stainless steel materials, the protective net 16 and an inserting column 15 are fixedly connected in a welding mode, so that stable and firm connection between the protective net 16 and the inserting column 15 is ensured, the protective net 16 is supported by the inserting column 15, the protective net 16 and the control box 13 are fixedly connected through the inserting column 15, an adjusting frame 17 is arranged inside the front end of the protective net 16 close to the right side, the adjusting frame 17 is rectangular, the adjusting frame 17 is simultaneously positioned in front of a down adjusting key 9, an up adjusting key 10 and a setting key 11, so that the down adjusting key 9, the up adjusting key 10 and the setting key 11 can be adjusted through the adjusting frame 17, a hanging hole 18 is arranged inside the rear end of the control box 13, a connecting frame 19 is arranged on the outer wall of the rear end of the lower side of the control box 13, and the connecting frame 19, therefore, the connection stability and firmness between the connection frame 19 and the control box 13 are ensured, the connection wire holes 20 are formed in the connection frame 19, and the control box 13 is electrically connected with an external power supply through the electric wires 6.
The utility model discloses a theory of operation and use flow: after the utility model is installed, when the multifunctional temperature and humidity control device is used for working, firstly, the protective net 16 is fixed right in front of the display screen 8 through the combined action of the inserting column 15 and the inserting hole 3, then, the wiring work is carried out on the wiring hole 20 inside the control box 13, after the wiring is finished, the control box 13 is installed through the hanging hole 18 arranged inside the rear end of the control box 13, in the process, if the temperature and humidity control device drops or is impacted, the anti-impact block 12 has good buffer capacity under the action of the spring, the impact force is counteracted, thereby protecting the temperature and humidity control device, in the wiring process, the display screen 8 can avoid contact friction through the action of the protective net 16, the temperature and humidity control device starts working after being powered on, the temperature and humidity value of the temperature and humidity control device is set through the adjusting frame 17, after the settlement is completed, when humiture probe 1 senses the humiture production deviation in the operational environment, the temperature and humidity control equipment can carry out work through devices such as control electric fan and humidifier, is used for adjusting the humiture of operational environment, the utility model relates to a multi-functional temperature and humidity control equipment has very high use value.
Although embodiments of the present invention have been shown and described, it will be appreciated by those skilled in the art that changes, modifications, substitutions and alterations can be made in these embodiments without departing from the principles and spirit of the invention, the scope of which is defined in the appended claims and their equivalents.
Claims (6)
1. The utility model provides a multi-functional atmospheric control equipment, includes anticollision piece (12) and control box (13), its characterized in that: the anti-collision block (12) is installed at four corners of a control box (13), a temperature and humidity probe (1) is arranged above the control box (13), the temperature and humidity probe (1) is fixedly connected with the control box (13) through a connecting line (2), a display screen (8) is arranged on the outer wall of the front end of the control box (13), an actually measured humidity value (7) is arranged on the display screen (8), an actually measured temperature value (14) is arranged on the upper side of the actually measured humidity value (7), a humidity output indicator lamp (5) is arranged on the left side of the actually measured humidity value (7), a temperature output indicator lamp (4) is arranged on the left side of the actually measured humidity value (7), a down adjusting key (9) is arranged on the outer wall of the front end of the display screen (8) close to the right side, an up adjusting key (10) is arranged on the upper side of the down adjusting key (9), a setting key (11) is arranged on, be provided with electric wire (6) on the lower extreme outer wall of control box (13), the dead ahead of control box (13) is provided with protection network (16), through inserting post (15) fixed connection between protection network (16) and control box (13), protection network (16) are by inside adjusting frame (17) that is provided with of front end on right side, the inside hanging hole (18) that is provided with of rear end of control box (13), control box (13) are by being provided with on the rear end outer wall of downside connecting frame (19), the inside of connecting frame (19) is provided with line hole (20), control box (13) are through electric wire (6) and external power source electric connection.
2. The multifunctional temperature and humidity control device of claim 1, wherein: the control box (13) is close to the inside jack (3) that is provided with of front end outer wall of four corners department, through inserting post (15) and jack (3) fixed connection between protection network (16) and the control box (13).
3. The multifunctional temperature and humidity control device of claim 1, wherein: the adjusting frame (17) is rectangular, and the adjusting frame (17) is simultaneously positioned in front of the down-adjusting key (9), the up-adjusting key (10) and the setting key (11).
4. The multifunctional temperature and humidity control device of claim 1, wherein: the protective net (16) is made of stainless steel materials, and the protective net (16) and the inserting columns (15) are fixedly connected in a welding mode.
5. The multifunctional temperature and humidity control device of claim 1, wherein: a buffer seam is arranged between the anti-collision block (12) and the control box (13), the anti-collision block (12) and the control box (13) are fixedly connected through a spring, and the spring is located in the buffer seam.
6. The multifunctional temperature and humidity control device of claim 1, wherein: the connecting frame (19) is fixedly connected with the control box (13) through fastening screws.
Priority Applications (1)
| Application Number | Priority Date | Filing Date | Title |
|---|---|---|---|
| CN202020675433.8U CN211786821U (en) | 2020-04-28 | 2020-04-28 | Multifunctional temperature and humidity control equipment |
Applications Claiming Priority (1)
| Application Number | Priority Date | Filing Date | Title |
|---|---|---|---|
| CN202020675433.8U CN211786821U (en) | 2020-04-28 | 2020-04-28 | Multifunctional temperature and humidity control equipment |
Publications (1)
| Publication Number | Publication Date |
|---|---|
| CN211786821U true CN211786821U (en) | 2020-10-27 |
Family
ID=72957873
Family Applications (1)
| Application Number | Title | Priority Date | Filing Date |
|---|---|---|---|
| CN202020675433.8U Active CN211786821U (en) | 2020-04-28 | 2020-04-28 | Multifunctional temperature and humidity control equipment |
Country Status (1)
| Country | Link |
|---|---|
| CN (1) | CN211786821U (en) |
-
2020
- 2020-04-28 CN CN202020675433.8U patent/CN211786821U/en active Active
Similar Documents
| Publication | Publication Date | Title |
|---|---|---|
| CN211786821U (en) | Multifunctional temperature and humidity control equipment | |
| CN211826303U (en) | An equipment detection device used in a substation | |
| CN209416524U (en) | A cable connector temperature measuring device | |
| CN207817047U (en) | A kind of lightning protection device on-Line Monitor Device | |
| CN219105145U (en) | Withstand voltage testing arrangement of portable electric energy meter | |
| CN214703955U (en) | Three-phase electric energy meter calibrator with protection function | |
| CN209764967U (en) | An intelligent detection device for electric power equipment | |
| CN116222365A (en) | A monitoring communication device for plant growth data | |
| CN208188263U (en) | A kind of Portable insulation material pressure test platform | |
| CN108759930A (en) | The grain feelings of more power supplies and communication mode are supported to detect extension set | |
| CN210574330U (en) | A parking lot warning device for intelligent building | |
| CN208026858U (en) | A power consumption test module of an electric energy meter | |
| CN209471168U (en) | A kind of remote measuring device for direct current of power line | |
| CN221686498U (en) | 3D sheet resistance imaging system for photovoltaic cell design | |
| CN221281558U (en) | Join in marriage net inspection device | |
| CN208013252U (en) | A kind of testing jig of the LCD display of adjustment height | |
| CN200950058Y (en) | Acoustooptic indication level gauge | |
| CN219178551U (en) | A tilt measuring device | |
| CN215986251U (en) | Water meter power consumption analysis device | |
| CN206450628U (en) | A kind of experimental teaching acidometer | |
| CN207540654U (en) | Adjustable cash scale | |
| CN215930864U (en) | Power line wire height measurement glasses | |
| CN211453732U (en) | Embedded installed direct current electric energy meter | |
| CN221302509U (en) | Impact sensor with high accuracy | |
| CN208140085U (en) | A kind of multi-functional building level measuring device |
Legal Events
| Date | Code | Title | Description |
|---|---|---|---|
| GR01 | Patent grant | ||
| GR01 | Patent grant |