CN211782583U - Drying equipment is used in calcium carbonate production - Google Patents
Drying equipment is used in calcium carbonate production Download PDFInfo
- Publication number
- CN211782583U CN211782583U CN202020336983.7U CN202020336983U CN211782583U CN 211782583 U CN211782583 U CN 211782583U CN 202020336983 U CN202020336983 U CN 202020336983U CN 211782583 U CN211782583 U CN 211782583U
- Authority
- CN
- China
- Prior art keywords
- drying
- calcium carbonate
- box
- feeding
- cavity
- Prior art date
- Legal status (The legal status is an assumption and is not a legal conclusion. Google has not performed a legal analysis and makes no representation as to the accuracy of the status listed.)
- Expired - Fee Related
Links
- VTYYLEPIZMXCLO-UHFFFAOYSA-L Calcium carbonate Chemical compound [Ca+2].[O-]C([O-])=O VTYYLEPIZMXCLO-UHFFFAOYSA-L 0.000 title claims abstract description 174
- 238000001035 drying Methods 0.000 title claims abstract description 136
- 229910000019 calcium carbonate Inorganic materials 0.000 title claims abstract description 87
- 238000004519 manufacturing process Methods 0.000 title claims abstract description 14
- 238000010438 heat treatment Methods 0.000 claims abstract description 48
- 239000000463 material Substances 0.000 claims abstract description 7
- 238000003756 stirring Methods 0.000 claims description 30
- 238000004140 cleaning Methods 0.000 claims description 16
- 230000000712 assembly Effects 0.000 claims description 7
- 238000000429 assembly Methods 0.000 claims description 7
- 238000007599 discharging Methods 0.000 claims description 6
- 238000012546 transfer Methods 0.000 claims description 5
- 238000000034 method Methods 0.000 claims description 3
- 239000006185 dispersion Substances 0.000 claims 2
- 230000000694 effects Effects 0.000 abstract description 9
- 230000009286 beneficial effect Effects 0.000 description 13
- 230000005540 biological transmission Effects 0.000 description 6
- 238000004891 communication Methods 0.000 description 4
- 238000001816 cooling Methods 0.000 description 4
- 238000009434 installation Methods 0.000 description 3
- 238000009423 ventilation Methods 0.000 description 3
- 239000002245 particle Substances 0.000 description 2
- 238000012545 processing Methods 0.000 description 2
- 235000019738 Limestone Nutrition 0.000 description 1
- 238000013475 authorization Methods 0.000 description 1
- 239000004566 building material Substances 0.000 description 1
- 230000007547 defect Effects 0.000 description 1
- 230000007812 deficiency Effects 0.000 description 1
- 238000010586 diagram Methods 0.000 description 1
- 238000005485 electric heating Methods 0.000 description 1
- 238000007602 hot air drying Methods 0.000 description 1
- 150000002484 inorganic compounds Chemical class 0.000 description 1
- 229910010272 inorganic material Inorganic materials 0.000 description 1
- 239000006028 limestone Substances 0.000 description 1
- 239000004579 marble Substances 0.000 description 1
- 230000002093 peripheral effect Effects 0.000 description 1
- 239000000843 powder Substances 0.000 description 1
- 239000004575 stone Substances 0.000 description 1
Images
Landscapes
- Drying Of Solid Materials (AREA)
Abstract
本实用新型涉及一种碳酸钙生产用干燥设备,属于干燥设备的技术领域;其技术要点包括:内设干燥腔的干燥箱,所述干燥箱的顶部设有与所述干燥腔相连通的进料口、底部设有出料口;该干燥设备还包括设于所述干燥箱顶部的供热结构,所述供热结构包括设于所述干燥箱顶部且与所述干燥腔相连通的供热箱、设于所述供热箱内的加热源以及设于所述供热箱靠近所述干燥箱一侧的散热件。本实用新型可解决碳酸钙干燥效果不佳的问题。
The utility model relates to a drying equipment for calcium carbonate production, belonging to the technical field of drying equipment; the technical points of the utility model include: a drying box with a drying cavity inside, the top of the drying box is provided with an inlet communicating with the drying cavity The material outlet and the bottom are provided with a material outlet; the drying equipment also includes a heating structure arranged on the top of the drying box, and the heating structure includes a heating supply arranged on the top of the drying box and communicated with the drying cavity. A heating box, a heating source arranged in the heating box, and a heat sink arranged on the side of the heating box close to the drying box. The utility model can solve the problem of poor drying effect of calcium carbonate.
Description
技术领域technical field
本实用新型涉及干燥设备的技术领域,尤其是涉及一种碳酸钙生产用干燥设备。The utility model relates to the technical field of drying equipment, in particular to a drying equipment for calcium carbonate production.
背景技术Background technique
碳酸钙是一种无机化合物,俗称:石灰石、石粉或大理石等,是重要的建筑材料。其中,碳酸钙在加工时需要将其烘干,以方便后续的加工。Calcium carbonate is an inorganic compound, commonly known as limestone, stone powder or marble, etc. It is an important building material. Among them, calcium carbonate needs to be dried during processing to facilitate subsequent processing.
现有的,授权公告号为CN207132675U的中国实用新型公开了一种碳酸钙干燥烘干机,包括设有内腔的箱体,箱体的顶部固定连接有电机,电机的输出轴固定连接有主动轮,主动轮啮合有从动轮,从动轮的中心轴处固定连接有搅拌桨,搅拌桨远离从动轮的一端固定连接有固定块,固定块的内部设有加热盘,且固定块开设有供热风进入箱体内腔的通风孔;其中,箱体的顶部设有进料口,底部设有出料口。Existing, the Chinese utility model with the authorization announcement number CN207132675U discloses a calcium carbonate drying and drying machine, which includes a box body provided with an inner cavity, a motor is fixedly connected to the top of the box body, and an output shaft of the motor is fixedly connected to an active motor. The driving wheel is meshed with the driven wheel, the central axis of the driven wheel is fixedly connected with a stirring paddle, and the end of the stirring paddle away from the driven wheel is fixedly connected with a fixed block, the interior of the fixed block is provided with a heating plate, and the fixed block is provided with a heating supply. The air enters the ventilation holes in the inner cavity of the box; wherein, the top of the box is provided with a feeding port, and the bottom is provided with a discharging port.
上述中的现有技术方案存在以下缺陷:进入箱体内腔中的碳酸钙容易将固定块上的通风孔堵住,导致加热盘内的热量无法及时从通风孔处进入箱体的内腔,从而导致碳酸钙的干燥效果不佳。The above-mentioned prior art scheme has the following defects: the calcium carbonate entering the inner cavity of the box is easy to block the ventilation holes on the fixing block, resulting in that the heat in the heating plate cannot enter the inner cavity of the box body from the ventilation holes in time, thereby Lead to poor drying effect of calcium carbonate.
实用新型内容Utility model content
针对现有技术存在的不足,本实用新型的目的是提供一种碳酸钙生产用干燥设备,解决碳酸钙干燥效果不佳的问题。In view of the deficiencies in the prior art, the purpose of this utility model is to provide a drying device for calcium carbonate production, which solves the problem of poor drying effect of calcium carbonate.
本实用新型的上述实用新型目的是通过以下技术方案得以实现的:The above-mentioned utility model purpose of the present utility model is achieved through the following technical solutions:
一种碳酸钙生产用干燥设备,包括内设干燥腔的干燥箱,所述干燥箱的顶部设有与所述干燥腔相连通的进料口、底部设有出料口;还包括设于所述干燥箱顶部的供热结构,所述供热结构包括设于所述干燥箱顶部且与所述干燥腔相连通的供热箱、设于所述供热箱内的加热源以及设于所述供热箱靠近所述干燥箱一侧的散热件。A drying device for calcium carbonate production, comprising a drying box with a drying cavity inside, the top of the drying box is provided with a feeding port that communicates with the drying cavity, and the bottom is provided with a discharging port; The heating structure on the top of the drying box, the heating structure includes a heating box arranged on the top of the drying box and communicated with the drying cavity, a heating source arranged in the heating box, and a heating source arranged in the heating box. The heating box is close to the heat sink on one side of the drying box.
通过采用上述技术方案,供热结构安装在干燥箱的顶部,碳酸钙从进料口进入干燥腔内后,碳酸钙不会堵在干燥腔的进风口,从而不会出现供热箱内的热量无法及时传递到干燥腔中的问题;另外,在供热箱靠近干燥箱的一侧设散热件,散热件可加速供热箱内的热空气进入干燥箱内,有利于加速碳酸钙的干燥效率,提高碳酸钙的干燥效果。By adopting the above technical solution, the heating structure is installed on the top of the drying box, and after the calcium carbonate enters the drying cavity from the feed inlet, the calcium carbonate will not block the air inlet of the drying cavity, so that the heat in the heating box will not appear. The problem that cannot be transmitted to the drying chamber in time; in addition, a heat sink is installed on the side of the heating box close to the drying box, which can accelerate the hot air in the heating box to enter the drying box, which is beneficial to accelerate the drying efficiency of calcium carbonate , to improve the drying effect of calcium carbonate.
本实用新型在一较佳示例中可以进一步配置为:所述进料箱内设有对碳酸钙进行分散的分散结构,所述分散结构包括设于所述干燥腔内的多个传送组件,相邻两个所述传送组件的传送方向相反,且靠近所述进料口设置的传送组件的进料端位于所述进料口的下方,相邻所述传送组件的进料端位于上一所述传送组件的出料端的下方。In a preferred example of the present invention, a dispersing structure for dispersing calcium carbonate is arranged in the feeding box, and the dispersing structure includes a plurality of conveying components arranged in the drying chamber. The conveying directions of the two adjacent conveying assemblies are opposite, and the feeding end of the conveying assembly disposed close to the feeding port is located below the feeding port, and the feeding end of the adjacent conveying assembly is located in the upper one. below the discharge end of the conveying assembly.
通过采用上述技术方案,当碳酸钙进入干燥腔内后,碳酸钙可顺着多个传送组件传送,有利于将进入干燥腔内的碳酸钙分散开来,使位于传送带上的碳酸钙充分与干燥腔内的热空气接触,从而提高碳酸钙的干燥效率,提高碳酸钙的干燥效果。By adopting the above technical solution, after the calcium carbonate enters the drying chamber, the calcium carbonate can be transported along a plurality of conveying components, which is beneficial to disperse the calcium carbonate entering the drying chamber, so that the calcium carbonate on the conveyor belt can be fully dried and dried. The hot air in the cavity is in contact, thereby improving the drying efficiency of calcium carbonate and improving the drying effect of calcium carbonate.
本实用新型在一较佳示例中可以进一步配置为:所述传送组件包括安装于所述干燥箱内侧壁的支撑架,所述支撑架的进料端和出料端分别转动安装有传送辊,两所述传送辊上套设有传送带,其中,所述支撑架的出料端的一侧固定安装有传送电机,所述传送电机的输出轴与靠近所述传送带出料端设置的传送辊固定连接。In a preferred example of the present invention, it can be further configured as follows: the conveying assembly includes a support frame installed on the inner side wall of the drying box, and conveying rollers are respectively rotatably installed at the feed end and the discharge end of the support frame, A conveyor belt is sleeved on the two conveying rollers, wherein a conveying motor is fixedly installed on one side of the discharge end of the support frame, and the output shaft of the conveying motor is fixedly connected with the conveying roller arranged near the discharge end of the conveying belt. .
通过采用上述技术方案,传送电机安装在支撑架的出料端的位置上,具有便于驱动传送带进行传送的功能。By adopting the above technical solution, the conveying motor is installed at the position of the discharge end of the support frame, and has the function of facilitating the conveying by driving the conveying belt.
本实用新型在一较佳示例中可以进一步配置为:所述支撑架的出料端固定安装有清洁件,所述清洁件位于所述传送带的下方,且所述清洁件与所述传送带的承载面相抵。In a preferred example of the present invention, it can be further configured as follows: a cleaning member is fixedly installed at the discharge end of the support frame, the cleaning member is located under the conveyor belt, and the cleaning member and the conveyor belt are carried by the cleaning member. face to face.
通过采用上述技术方案,清洁件与传送带的承载面相抵,有利于将残留在传送带承载面上的碳酸钙清扫至下一传送组件的传送带上。By adopting the above technical solution, the cleaning member is in contact with the carrying surface of the conveyor belt, which is beneficial to cleaning the calcium carbonate remaining on the carrying surface of the conveyor belt to the conveyor belt of the next conveyor assembly.
本实用新型在一较佳示例中可以进一步配置为:所述进料口处设有进料箱,所述进料箱位于所述干燥箱的顶部,且所述进料箱内设有搅拌组件;所述搅拌组件包括设于所述进料箱内的搅拌桨,所述进料箱的外侧壁固定安装有驱动所述搅拌桨转动的搅拌电机。In a preferred example of the present invention, it can be further configured as follows: a feeding box is provided at the feeding port, the feeding box is located on the top of the drying box, and a stirring assembly is arranged in the feeding box The stirring assembly includes a stirring paddle arranged in the feeding box, and a stirring motor that drives the stirring paddle to rotate is fixedly installed on the outer side wall of the feeding box.
通过采用上述技术方案,当待干燥的碳酸钙从进料箱中进入干燥腔内时,先开启搅拌电机,使搅拌电机带动搅拌桨对碳酸钙进行搅碎,搅碎后的碳酸钙通过进料口进入干燥腔内,有利于提高碳酸钙的干燥效率。By adopting the above technical solution, when the calcium carbonate to be dried enters the drying cavity from the feeding box, the stirring motor is turned on first, so that the stirring motor drives the stirring paddle to crush the calcium carbonate, and the crushed calcium carbonate passes through the feed The mouth enters the drying cavity, which is beneficial to improve the drying efficiency of calcium carbonate.
本实用新型在一较佳示例中可以进一步配置为:所述进料口处设有筛板,所述筛板上设有若干筛孔。In a preferred example of the present invention, it can be further configured as follows: a sieve plate is arranged at the feed port, and a plurality of sieve holes are arranged on the sieve plate.
通过采用上述技术方案,筛板可允许体积比较小的碳酸钙颗粒经过,体积比较大的碳酸钙被拦截在筛板上,由搅拌组件搅碎后再通过筛孔进入干燥腔内。By adopting the above technical scheme, the sieve plate can allow the calcium carbonate particles with relatively small volume to pass through, and the calcium carbonate with relatively large volume is intercepted on the sieve plate, crushed by the stirring component, and then enters the drying cavity through the sieve hole.
本实用新型在一较佳示例中可以进一步配置为:所述干燥箱的底部设有集料腔,所述集料腔与所述干燥腔通过连通口连通,且所述集料腔内设有下料结构。In a preferred example of the present invention, it can be further configured as follows: the bottom of the drying box is provided with a collection cavity, the collection cavity is communicated with the drying cavity through a communication port, and the collection cavity is provided with a collection cavity. Blanking structure.
通过采用上述技术方案,在干燥箱的底部设集料腔,干燥后的碳酸钙可通过连通口进入集料腔内,且下料结构可将干燥后的碳酸钙送出集料腔,有利于持续干燥碳酸钙。By adopting the above technical solution, an aggregate cavity is set at the bottom of the drying box, the dried calcium carbonate can enter the aggregate cavity through the communication port, and the unloading structure can send the dried calcium carbonate out of the aggregate cavity, which is conducive to continuous Dry calcium carbonate.
本实用新型在一较佳示例中可以进一步配置为:所述下料结构包括安装于所述干燥箱外侧壁的下料电机,所述下料电机的输出轴固定连接有螺旋桨,所述螺旋桨位于所述集料腔内,且所述出料口与所述螺旋桨相对设置。In a preferred example of the present invention, it can be further configured as follows: the feeding structure includes a feeding motor installed on the outer side wall of the drying box, the output shaft of the feeding motor is fixedly connected with a propeller, and the propeller is located in in the aggregate cavity, and the discharge port is arranged opposite to the propeller.
通过采用上述技术方案,启动下料电机,下料电机带动螺旋桨转动,螺旋桨带动位于集料腔内的经干燥后的碳酸钙往靠近出料口的一侧运动,从而将干燥后的碳酸钙推出集料腔。By adopting the above technical solution, the feeding motor is started, the feeding motor drives the propeller to rotate, and the propeller drives the dried calcium carbonate located in the aggregate cavity to move to the side close to the discharge port, thereby pushing the dried calcium carbonate out Aggregate cavity.
综上所述,本实用新型包括以下至少一种有益技术效果:To sum up, the present utility model includes at least one of the following beneficial technical effects:
1.供热结构安装在干燥箱的顶部,碳酸钙从进料口进入干燥腔内后,碳酸钙不会堵在干燥腔的进风口,从而不会出现供热箱内的热量无法及时传递到干燥腔中的问题;另外,在供热箱靠近干燥箱的一侧设散热件,散热件可加速供热箱内的热空气进入干燥箱内,有利于加速碳酸钙的干燥效率,提高碳酸钙的干燥效果;1. The heating structure is installed on the top of the drying box. After the calcium carbonate enters the drying chamber from the feed inlet, the calcium carbonate will not block the air inlet of the drying chamber, so that the heat in the heating box cannot be transferred to the drying chamber in time. Problems in the drying chamber; in addition, a heat sink is provided on the side of the heating box close to the drying box, which can accelerate the hot air in the heating box to enter the drying box, which is beneficial to accelerate the drying efficiency of calcium carbonate and improve calcium carbonate. drying effect;
2.当碳酸钙进入干燥腔内后,碳酸钙可顺着多个传送组件传送,有利于将进入干燥腔内的碳酸钙分散开来,使位于传送带上的碳酸钙充分与干燥腔内的热空气接触,从而提高碳酸钙的干燥效率,提高碳酸钙的干燥效果;2. When the calcium carbonate enters the drying chamber, the calcium carbonate can be transported along multiple conveying components, which is beneficial to disperse the calcium carbonate entering the drying chamber, so that the calcium carbonate on the conveyor belt can fully meet the heat in the drying chamber. Air contact, thereby improving the drying efficiency of calcium carbonate and improving the drying effect of calcium carbonate;
3.清洁件与传送带的承载面相抵,有利于将残留在传送带承载面上的碳酸钙清扫至下一传送组件的传送带上。3. The cleaning element is in contact with the carrying surface of the conveyor belt, which is beneficial to cleaning the calcium carbonate remaining on the carrying surface of the conveyor belt to the conveyor belt of the next conveyor assembly.
附图说明Description of drawings
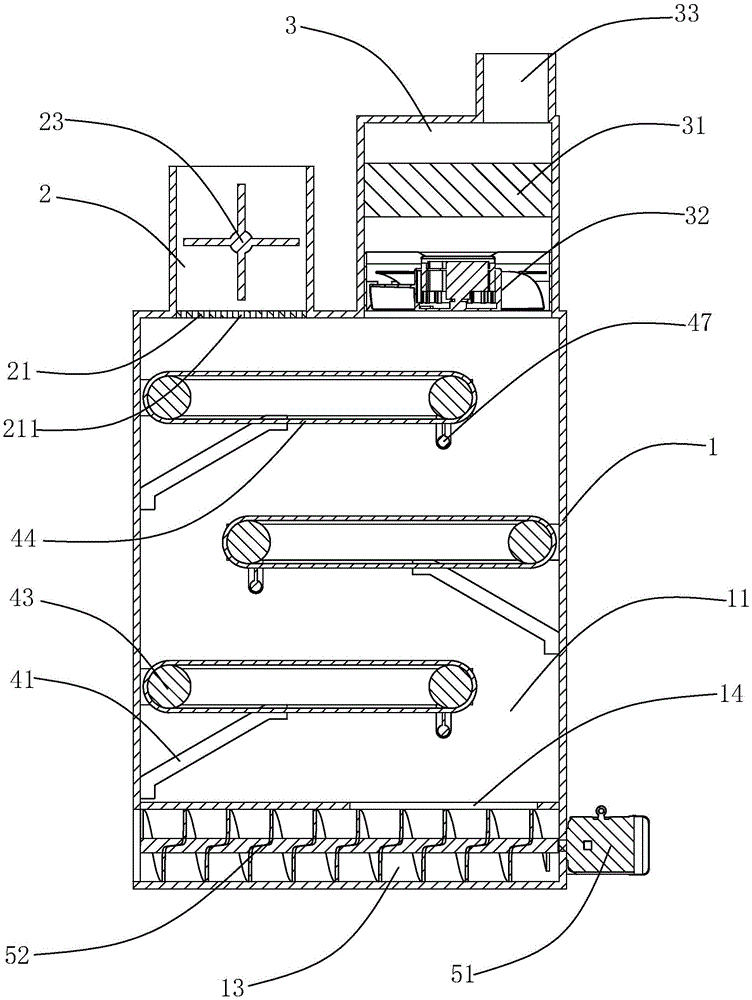
图1是本实施例干燥设备的整体结构示意图;Fig. 1 is the overall structure schematic diagram of the drying equipment of the present embodiment;
图2是本实施例干燥设备的剖视图;Fig. 2 is the sectional view of the drying equipment of the present embodiment;
图3是本实施例干燥设备的局部剖视图。Fig. 3 is a partial cross-sectional view of the drying apparatus of this embodiment.
图中,1、干燥箱;11、干燥腔;12、出料口;13、集料腔;14、连通口;2、进料箱;21、筛板;211、筛孔;22、搅拌电机;23、搅拌桨;3、供热箱;31、加热源;32、散热风扇;33、进风口;41、安装杆;42、支撑架;43、传送辊;44、传送带;45、传送电机;46、连接杆;47、清洁刷;51、下料电机;52、螺旋桨。In the figure, 1, drying box; 11, drying cavity; 12, discharge port; 13, aggregate cavity; 14, communication port; 2, feed box; 21, sieve plate; 211, sieve hole; 22, stirring motor ; 23, stirring paddle; 3, heating box; 31, heating source; 32, cooling fan; 33, air inlet; 41, installation rod; 42, support frame; 43, conveying roller; 44, conveying belt; 45, conveying motor ; 46, connecting rod; 47, cleaning brush; 51, feeding motor; 52, propeller.
具体实施方式Detailed ways
以下结合附图对本实用新型作进一步详细说明。The present utility model will be described in further detail below in conjunction with the accompanying drawings.
本实施例:参照图1和图2,为本实用新型公开的一种碳酸钙生产用干燥设备,包括干燥箱1,干燥箱1内设干燥腔11和集料腔13,集料腔13位于干燥腔11的下方,且集料腔13与干燥腔11之间通过连通口14连通。其中,干燥箱1的顶部设有进料口,进料口处设有进料结构,且进料口与干燥腔11相通,从而待干燥的碳酸钙可通过进料口进入干燥腔 11内;干燥箱1的顶部设有供热结构,供热结构可往干燥腔11内提供高温空气,从而对进入干燥腔11内的碳酸钙进行干燥;干燥箱1的一侧设有出料口12,出料口12靠近干燥箱1 的底部设置,且出料口12与集料腔13相连通,集料腔13内设有将经干燥后的碳酸钙往出料口12的方向输送的下料结构,从而位于集料腔13内的已干燥的碳酸钙可通过出料口12 进行下料。The present embodiment: referring to Fig. 1 and Fig. 2, it is a drying equipment for calcium carbonate production disclosed by the utility model, including a drying box 1, a
参照图1和图2,进料结构包括进料箱2,进料箱2围设在进料口的外周侧,且进料箱2位于干燥箱1的顶部。其中,进料口中设有搅拌组件,搅拌组件包括安装在进料箱2外侧壁上的搅拌电机22,搅拌电机22的输出轴固定连接有搅拌桨23,搅拌桨23与进料箱2 相对的两个侧壁转动连接。当待干燥的碳酸钙从进料箱2中进入干燥腔11内时,先开启搅拌组件,使搅拌组件将碳酸钙搅碎,搅碎后的碳酸钙通过进料口进入干燥腔11内,有利于提高碳酸钙的干燥效率。Referring to FIGS. 1 and 2 , the feeding structure includes a
参照图2,为预防出现体积比较大的碳酸钙直接掉进干燥腔11内的问题,本实施例在进料口处设有筛板21,筛板21上均布设有若干直径大小相等的筛孔211,可允许体积比较小的碳酸钙颗粒经过,体积比较大的碳酸钙被拦截在筛板21上,由搅拌组件搅碎后再通过筛孔211进入干燥腔11内。Referring to FIG. 2, in order to prevent the problem that calcium carbonate with a relatively large volume directly falls into the
参照图2,供热结构包括供热箱3,供热箱3与干燥腔11相连通,且供热箱3内设有加热源31,加热源31为电加热源。通过对加热源31进行通电,加热源31即可对供热箱3 内的空气进行加热。其中,为增强供热结构的供热效果,本实施例中,供热箱3的顶部开设有进风口33,且供热箱3与干燥腔11的连通处设有散热风扇32,散热风扇32可将供热箱 3内的热空气吹至干燥腔11内,热空气将其温度传给温度较低的碳酸钙,从而达到对碳酸钙进行干燥的目的。2 , the heating structure includes a
参照图2,干燥腔11内设有分散结构,分散结构可将进入干燥腔11内的碳酸钙分散开来,从而提高碳酸钙的干燥效率。其中,分散结构包括多个平行设置在干燥腔11内的传送组件,多个传动组件沿干燥箱1的高度方向均布设置。另外,靠近进料口设置的传送组件位于进料口的正下方,且每一传动组件的出料端均位于下一传动组件的进料端的上方,即相邻两个传送组件的传送方向相反。Referring to FIG. 2 , the drying
参照图2和图3,具体地,传送组件包括通过安装杆41固定安装在干燥箱1内侧壁上的支撑架42,其中,安装杆41设有两条,两条安装杆41相对设置。其中,安装杆31的一端固定安装在支撑架42朝向干燥箱1底部一侧、另一端固定安装在干燥箱1的侧壁上,且安装杆41、支撑架42以及干燥箱1的内侧壁组成直角三角形的形状,有利于提高支撑架 42的稳定性。另外,支撑架42的进料端与出料端分别通过轴承安装有传送辊43,两个传送辊43上套设有传动带,且靠近支撑架42的出料端设置的传送辊43上连接有驱动该传送辊43转动的传送电机45,传送电机45固定安装在支撑架42上,且传动电机驱动传送辊43带动传送带44由进料端往出料端传送。2 and 3 , specifically, the transmission assembly includes a
多个传送组件的设置,使得碳酸钙进入干燥腔11内后可顺着多个传送组件传送,有利于将进入干燥腔11内的碳酸钙分散开来,使位于传送带44上的碳酸钙充分与干燥腔11内的热空气接触,从而提高碳酸钙的干燥效率。The arrangement of multiple conveying assemblies enables calcium carbonate to be conveyed along the multiple conveying assemblies after entering the drying
另外,参照图3,为预防碳酸钙积聚在传送带44的承载面上,本实施例中,支撑架42的出料端通过连接杆46固定安装有清洁刷47,清洁刷47位于传送带44的下方,且清洁刷47与传送带44的承载面相抵接,有利于将残留在传送带44承载面上的碳酸钙清扫至下一传送组件的传送带44上。In addition, referring to FIG. 3 , in order to prevent calcium carbonate from accumulating on the bearing surface of the
参照图2和图3,下料结构包括下料电机51,下料电机51安装在干燥箱1的外侧壁,且下料电机51位于干燥箱1远离出料口12的一侧。下料电机51的输出轴贯穿干燥箱 1的侧壁进入集料腔13内,且下料电机51的输出轴固定连接有螺旋桨52,螺旋桨52往出料口12的一侧延伸,且螺旋桨52位于集料腔13内,出料口12的位置与螺旋桨52远离下料电机51的一端正相对。2 and 3 , the feeding structure includes a feeding
本实施例的实施原理为:工作时,启动搅拌电机22以及传送电机45,同时对加热源31进行加热,开启散热风扇32将供热箱3内的热空气吹至干燥腔11内;然后将待干燥的碳酸钙从进料箱2的顶部进入进料箱2内,体积比较小的碳酸钙直接透过筛孔211下落至传送组件上,而体积比较大的碳酸钙被截留在筛板21上,且体积较大的碳酸钙随着搅拌桨23 的搅拌逐渐变小,最后经搅拌破碎后的碳酸钙透过筛孔211进入传送组件上;传送组件在传送碳酸钙的过程中,热空气对分散在传送待上的碳酸钙进行干燥,有利于提高碳酸钙的干燥效率;最后,干燥完成后的碳酸钙进入集料腔13内,由集料腔13中的下料组件对碳酸钙进行下料。The implementation principle of this embodiment is: when working, start the stirring
本具体实施方式的实施例均为本实用新型的较佳实施例,并非依此限制本实用新型的保护范围,故:凡依本实用新型的结构、形状、原理所做的等效变化,均应涵盖于本实用新型的保护范围之内。The embodiments of this specific embodiment are all preferred embodiments of the present invention, and are not intended to limit the protection scope of the present invention, therefore: all equivalent changes made according to the structure, shape and principle of the present invention are It should be covered within the protection scope of the present invention.
Claims (8)
Priority Applications (1)
| Application Number | Priority Date | Filing Date | Title |
|---|---|---|---|
| CN202020336983.7U CN211782583U (en) | 2020-03-17 | 2020-03-17 | Drying equipment is used in calcium carbonate production |
Applications Claiming Priority (1)
| Application Number | Priority Date | Filing Date | Title |
|---|---|---|---|
| CN202020336983.7U CN211782583U (en) | 2020-03-17 | 2020-03-17 | Drying equipment is used in calcium carbonate production |
Publications (1)
| Publication Number | Publication Date |
|---|---|
| CN211782583U true CN211782583U (en) | 2020-10-27 |
Family
ID=72931173
Family Applications (1)
| Application Number | Title | Priority Date | Filing Date |
|---|---|---|---|
| CN202020336983.7U Expired - Fee Related CN211782583U (en) | 2020-03-17 | 2020-03-17 | Drying equipment is used in calcium carbonate production |
Country Status (1)
| Country | Link |
|---|---|
| CN (1) | CN211782583U (en) |
Cited By (1)
| Publication number | Priority date | Publication date | Assignee | Title |
|---|---|---|---|---|
| CN115597350A (en) * | 2022-10-05 | 2023-01-13 | 湖南康洁食品科技发展有限公司(Cn) | A durable dust removal device for rice flour production |
-
2020
- 2020-03-17 CN CN202020336983.7U patent/CN211782583U/en not_active Expired - Fee Related
Cited By (1)
| Publication number | Priority date | Publication date | Assignee | Title |
|---|---|---|---|---|
| CN115597350A (en) * | 2022-10-05 | 2023-01-13 | 湖南康洁食品科技发展有限公司(Cn) | A durable dust removal device for rice flour production |
Similar Documents
| Publication | Publication Date | Title |
|---|---|---|
| CN113979754B (en) | Ceramic powder making technology for energy saving and emission reduction | |
| CN107549857A (en) | A kind of regenerative chicken feces feed dries pulverizing all-in-one | |
| CN211782583U (en) | Drying equipment is used in calcium carbonate production | |
| CN114198983A (en) | Cottonseed protein peptide preparation does not have fish meal fodder drying equipment | |
| CN205495772U (en) | Screening subassembly of surplus fruit vegetables rubbish in kitchen | |
| CN118089373B (en) | Fodder stoving case of stoving uniformity | |
| CN205269568U (en) | Ceramic powder granulation processing equipment | |
| CN219083545U (en) | Drying device for blast furnace slag powder production equipment | |
| CN216869037U (en) | A dehumidifier for rice production | |
| CN214148750U (en) | Drying cylinder for refined salt preparation | |
| CN118935960A (en) | Rotary quartz sand drying device | |
| CN217663741U (en) | Corn crusher with inlet drying structure | |
| CN213631426U (en) | Biomass briquette fuel stoving section of thick bamboo waste heat utilization equipment | |
| CN212681135U (en) | Chopping device of dry sludge | |
| CN212109437U (en) | A high-efficiency drying device for soybean protein powder production | |
| CN116182531A (en) | A kind of drying device of 2,5-dichloronitrobenzene | |
| CN220229883U (en) | Pesticide preparation desiccator | |
| CN218627630U (en) | Drying device for calcium carbonate processing | |
| CN220793747U (en) | Cyclone drying equipment | |
| CN223442599U (en) | Regenerated polyester chip drying equipment assembly | |
| CN222697285U (en) | Energy-saving efficient filtering and slicing device | |
| CN214426404U (en) | Microwave and steam combined drying equipment | |
| CN221944824U (en) | Rice processing equipment with drying function | |
| CN213454782U (en) | Fodder drying-machine | |
| CN217797376U (en) | Selenium-enriched brown rice conveying device with rapid drying and dust removing functions |
Legal Events
| Date | Code | Title | Description |
|---|---|---|---|
| GR01 | Patent grant | ||
| GR01 | Patent grant | ||
| CF01 | Termination of patent right due to non-payment of annual fee |
Granted publication date: 20201027 |
|
| CF01 | Termination of patent right due to non-payment of annual fee |
