CN211768056U - Automatic tray warehouse - Google Patents
Automatic tray warehouse Download PDFInfo
- Publication number
- CN211768056U CN211768056U CN201922499265.1U CN201922499265U CN211768056U CN 211768056 U CN211768056 U CN 211768056U CN 201922499265 U CN201922499265 U CN 201922499265U CN 211768056 U CN211768056 U CN 211768056U
- Authority
- CN
- China
- Prior art keywords
- block
- fixed
- guide columns
- sliding block
- moving block
- Prior art date
- Legal status (The legal status is an assumption and is not a legal conclusion. Google has not performed a legal analysis and makes no representation as to the accuracy of the status listed.)
- Active
Links
- 230000007246 mechanism Effects 0.000 claims abstract description 58
- 239000003638 chemical reducing agent Substances 0.000 claims description 12
- 230000000630 rising effect Effects 0.000 abstract 1
- 230000008602 contraction Effects 0.000 description 2
- 238000000034 method Methods 0.000 description 2
- 230000009471 action Effects 0.000 description 1
- 230000009286 beneficial effect Effects 0.000 description 1
- 238000010586 diagram Methods 0.000 description 1
- 230000000694 effects Effects 0.000 description 1
- 230000008569 process Effects 0.000 description 1
Images
Landscapes
- Warehouses Or Storage Devices (AREA)
Abstract
本实用新型公开了一种自动化托盘库,属于托盘存储和自动输出技术领域。它包括箱体、移动块和第一固定块,所述箱体的内部分别固定连接有四个第一导向柱,多个所述第一导向柱上共同滑动套接有滑动块,所述滑动块上设有用于驱动滑动块在其中一个导向柱上滑动的第一驱动机构。本实用新型主要在移动块、滑动块和固定块,以及第一驱动机构,第二驱动机构、第三驱动机构和推送机构的配合下,使得托盘能够进入移动块,并随移动块的上升而上升,然后进入箱体上的滑动块,随着滑动块的移动从而使得托盘储存在箱体内部,从而代替了人工对托盘进行输送和存放的方式,提高了工作效率,降低了工作强度。
The utility model discloses an automatic pallet warehouse, which belongs to the technical field of pallet storage and automatic output. It includes a box body, a moving block and a first fixing block. Four first guide columns are fixedly connected to the inside of the box body, and a sliding block is slidably sleeved on the plurality of first guide columns. The block is provided with a first driving mechanism for driving the sliding block to slide on one of the guide columns. The utility model mainly cooperates with the moving block, the sliding block and the fixed block, as well as the first driving mechanism, the second driving mechanism, the third driving mechanism and the pushing mechanism, so that the tray can enter the moving block, and the tray can enter the moving block and move with the rising of the moving block. It rises, and then enters the sliding block on the box body. With the movement of the sliding block, the pallet is stored inside the box body, thereby replacing the manual transportation and storage of the pallet, improving the work efficiency and reducing the work intensity.
Description
技术领域technical field
本实用新型涉及一种自动化托盘库,属于托盘存储和自动输出技术领域。The utility model relates to an automatic pallet warehouse, which belongs to the technical field of pallet storage and automatic output.
背景技术Background technique
工厂里经常需要用到托盘来承载货物,因此托盘的使用量比较高,继而托盘的数量也是非常多的,为此需要对托盘进行存放,但是目前主要通过人工进行输送、存放,但是人工输送托盘存在劳动强度大、速度慢、效率低等缺点。Pallets are often used in factories to carry goods, so the usage of pallets is relatively high, and the number of pallets is also very large. For this reason, pallets need to be stored, but at present, they are mainly conveyed and stored manually, but pallets are conveyed manually. There are disadvantages such as high labor intensity, slow speed and low efficiency.
发明内容SUMMARY OF THE INVENTION
本实用新型所要解决的技术问题在于:提供一种自动化托盘库,它解决了针对上述背景技术中所提的,利用人工进行输送、存放,存在着劳动强度大、速度慢和效率低的问题。The technical problem to be solved by the present utility model is: to provide an automatic pallet warehouse, which solves the problems of high labor intensity, slow speed and low efficiency of manual transportation and storage mentioned in the above-mentioned background technology.
本实用新型所要解决的技术问题采取以下技术方案来实现:The technical problem to be solved by the utility model adopts the following technical solutions to realize:
一种自动化托盘库,包括箱体、移动块和第一固定块,所述箱体的内部分别固定连接有四个第一导向柱,多个所述第一导向柱上共同滑动套接有滑动块,所述滑动块上设有用于驱动滑动块在其中一个导向柱上滑动的第一驱动机构,所述第一固定块固定在箱体的一侧,且所述第一固定块和箱体之间共同设有四个第二导向柱,所述移动块的两侧端部分别与四个第二导向柱滑动连接,且四个所述第二导向柱上设有用于驱动移动块在四个第二导向柱上滑动的第二驱动机构,所述移动块的内部和滑动块的内部均为空心结构,所述移动块上分别通过第三驱动机构固定安装有推送机构,所述滑动块上也固定安装安装有推送机构。An automated pallet library includes a box body, a moving block and a first fixing block, the inside of the box body is respectively fixedly connected with four first guide columns, and a plurality of the first guide columns are slidably sleeved together with sliding The sliding block is provided with a first driving mechanism for driving the sliding block to slide on one of the guide columns, the first fixing block is fixed on one side of the box body, and the first fixing block and the box body are There are four second guide columns in common between them, the two side ends of the moving block are respectively slidably connected with the four second guide columns, and the four second guide columns are provided with a drive for driving the moving block in the four second guide columns. A second driving mechanism sliding on a second guide column, the interior of the moving block and the interior of the sliding block are both hollow structures, and a pushing mechanism is fixedly installed on the moving block through a third driving mechanism, and the sliding block A push mechanism is also fixedly installed on the top.
作为优选实例,所述滑动块上开设有多个导向孔,所述滑动块分别通过多个导向孔与多个所述第一导向柱滑动连接。As a preferred example, the sliding block is provided with a plurality of guide holes, and the sliding block is slidably connected to the plurality of the first guide columns through the plurality of guide holes respectively.
作为优选实例,所述第一驱动机构包括减速机、齿轮,其中一个所述第一导向柱上固定安装有齿条,所述减速机固定套接在滑动块上,且所述减速机输出端与齿轮相固定,所述齿轮伸入滑动块的内部并与齿条相啮合。As a preferred example, the first driving mechanism includes a reducer and a gear, wherein a rack is fixedly installed on one of the first guide columns, the reducer is fixedly sleeved on the sliding block, and the output end of the reducer It is fixed with a gear, which extends into the interior of the sliding block and engages with the rack.
作为优选实例,所述第二驱动机构包括从动滚辊、主滚辊、电机和钢丝绳,所述从动滚辊的两端分别转动连接在其中两个相邻的第二导向柱上,所述主滚辊也分别转动连接在另外两个相邻的第二导向柱上,且所述电机固定安装在其中一个第二导向柱上,且所述电机输出端与主滚辊相固定,所述钢丝绳的一端固定在移动块上,所述钢丝绳另一端分别绕接在从动滚辊和主动滚辊上。As a preferred example, the second driving mechanism includes a driven roller, a main roller, a motor and a wire rope, and two ends of the driven roller are respectively connected to two adjacent second guide columns in rotation, so The main roller is also rotatably connected to the other two adjacent second guide columns, the motor is fixedly installed on one of the second guide columns, and the output end of the motor is fixed with the main roller, so One end of the wire rope is fixed on the moving block, and the other end of the wire rope is respectively wound on the driven roller and the driving roller.
作为优选实例,所述第三驱动机构包括包括第一气缸和第二固定块,且所述第一气缸的个数和第二固定块的个数均为两个,所述移动块的顶部分别开设有两个开口,且每个所述开口规格大于第二固定块规格,每个所述第一气缸固定端固定在移动块内底部,每个所述第二固定块固定在第一气缸活动端上,位于移动块上的推送机构设在两个第二固定块上。As a preferred example, the third driving mechanism includes a first cylinder and a second fixed block, and the number of the first cylinder and the number of the second fixed block are both two, and the tops of the moving blocks are respectively There are two openings, and the size of each of the openings is larger than the size of the second fixed block, the fixed end of each of the first cylinders is fixed on the inner bottom of the moving block, and each of the second fixed blocks is fixed on the movable block of the first cylinder. On the end, the push mechanism on the moving block is provided on the two second fixed blocks.
作为优选实例,所述推送机构的个数为三个,且两个所述推送机构分别设在移动块上,且位于移动块上的两个推送机构相对应,另一个所述推送机构设在滑动块上,每个所述推送机构包括第三固定块、第二气缸和插块,所述第三固定块分别固定在滑动块和/或第二固定块上,所述第二气缸固定端固定安装在第三固定块上,所述插块分别固定安装在第二气缸活动端上。As a preferred example, the number of the pushing mechanisms is three, and two of the pushing mechanisms are respectively provided on the moving block, and the two pushing mechanisms located on the moving block are corresponding, and the other pushing mechanism is provided on the moving block. On the sliding block, each of the pushing mechanisms includes a third fixed block, a second cylinder and an insert block, the third fixed block is respectively fixed on the sliding block and/or the second fixed block, and the second cylinder is fixed at the end It is fixedly installed on the third fixed block, and the insert blocks are respectively fixedly installed on the movable end of the second cylinder.
作为优选实例,当所述移动块移动到四个第二导向柱的顶部时,此时所述移动块顶部与滑动块移动到四个第一导向柱顶部的位置相平行,当所述移动块移动到四个所述第二导向柱的底部时,此时所述移动块顶部与第一固定块顶部相平行。As a preferred example, when the moving block moves to the top of the four second guide columns, the top of the moving block is parallel to the position where the sliding block moves to the top of the four first guide columns. When moving to the bottom of the four second guide columns, the top of the moving block is parallel to the top of the first fixed block.
本实用新型的有益效果是:本实用新型主要在移动块、滑动块和固定块,以及第一驱动机构,第二驱动机构、第三驱动机构和推送机构的配合下,使得托盘能够进入移动块,并随移动块的上升而上升,然后进入箱体上的滑动块,随着滑动块的移动从而使得托盘储存在箱体内部,从而代替了人工对托盘进行输送和存放的方式,提高了工作效率,降低了工作强度。The beneficial effects of the utility model are: the utility model mainly enables the tray to enter the moving block under the cooperation of the moving block, the sliding block and the fixed block, as well as the first driving mechanism, the second driving mechanism, the third driving mechanism and the pushing mechanism. , and rises with the rise of the moving block, and then enters the sliding block on the box body. With the movement of the sliding block, the pallet is stored inside the box body, thereby replacing the manual transportation and storage of the pallet and improving the work efficiency. efficiency, reducing work intensity.
附图说明Description of drawings
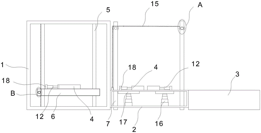
图1为本实用新型的结构示意图;Fig. 1 is the structural representation of the utility model;
图2为图1的A-A向截面图;Fig. 2 is the A-A direction sectional view of Fig. 1;
图3为图1中A部分的结构示意图;Fig. 3 is the structural representation of part A in Fig. 1;
图4为图1中B部分的结构示意图。FIG. 4 is a schematic structural diagram of part B in FIG. 1 .
图中:箱体1、移动块2、第一固定块3、插块4、第一导向柱5、滑动块6、第二导向柱7、减速机8、齿轮9、齿条10、导向孔11、第二气缸12、主滚辊13、电机14、钢丝绳15、第一气缸16、第二固定块17、第三固定块18。In the figure:
具体实施方式Detailed ways
为了对本实用新型的技术手段、创作特征、达成目的与功效易于明白了解,下面结合具体图示,进一步阐述本实用新型。In order to easily understand the technical means, creation features, achievement goals and effects of the present utility model, the present utility model is further described below with reference to the specific figures.
如图1-4所示,一种自动化托盘库,包括箱体1、移动块2和第一固定块3,箱体1的内部分别固定连接有四个第一导向柱5,四个第一导向柱5上共同滑动套接有滑动块6,滑动块6上设有用于驱动滑动块6在其中一个导向柱5上滑动的第一驱动机构,第一固定块3固定在箱体1的一侧,且第一固定块3和箱体1之间共同设有四个第二导向柱7,移动块2的两侧端部分别与四个第二导向柱7滑动连接,且四个第二导向柱7上设有用于驱动移动块2在四个第二导向柱7上滑动的第二驱动机构,移动块2的内部和滑动块6的内部均为空心结构,移动块2上分别通过第三驱动机构固定安装有推送机构,滑动块6上也固定安装安装有推送机构。As shown in Figures 1-4, an automated pallet library includes a
滑动块6上开设有多个导向孔11,滑动块6分别通过多个导向孔11与四个第一导向柱5滑动连接。The sliding
第一驱动机构包括减速机8、齿轮9,其中一个第一导向柱5上固定安装有齿条10,减速机8固定套接在滑动块6上,且减速机8输出端与齿轮9相固定,齿轮9伸入滑动块6的内部并与齿条10相啮合。The first drive mechanism includes a
第二驱动机构包括从动滚辊、主滚辊13、电机14和钢丝绳15,从动滚辊的两端分别转动连接在其中两个相邻的第二导向柱7上,主滚辊13也分别转动连接在另外两个相邻的第二导向柱7上,且电机14固定安装在其中一个第二导向柱7上,且电机14输出端与主滚辊13相固定,钢丝绳15的一端固定在移动块2上,钢丝绳15另一端分别绕接在从动滚辊和主动滚辊13上。The second driving mechanism includes a driven roller, a
第三驱动机构包括包括第一气缸16和第二固定块17,且第一气缸16的个数和第二固定块17的个数均为两个,移动块2的顶部分别开设有两个开口,且每个开口规格大于第二固定块17规格,每个第一气缸16固定端固定在移动块2内底部,每个第二固定块17固定在第一气缸16活动端上,位于移动块2上的推送机构设在两个第二固定块17上。The third driving mechanism includes a
推送机构的个数为三个,且两个推送机构分别设在移动块2上,且位于移动块2上的两个推送机构相对应,另一个推送机构设在滑动块6上,每个推送机构包括第三固定块18、第二气缸12和插块4,第三固定块8分别固定在滑动块6和/或第二固定块17上,第二气缸12固定端固定安装在第三固定块8上,插块4分别固定安装在第二气缸12活动端上。The number of pushing mechanisms is three, and the two pushing mechanisms are respectively arranged on the moving
当移动块2移动到四个第二导向柱7的顶部时,此时移动块2顶部与滑动块6移动到四个第一导向柱5顶部的位置相平行,当移动块2移动到四个第二导向柱7的底部时,此时移动块2顶部与第一固定块3顶部相平行。When the moving
工作原理:working principle:
托盘存放在本装置和从本装置上取托盘是一个反过程,本工作原理按照托盘存放在本装置上进行说明,具体如下:It is an inverse process to store the tray in the device and take the tray from the device. The working principle is explained as the tray is stored in the device, as follows:
Ⅰ、利用叉车将托盘放置在第一固定块33上,然后启动第三驱动机构中且靠近第一固定块3的第一气缸16,第一气缸16开始收缩,从而带动该第一气缸16所连接的第二固定块17的收缩,从而带动靠近第一固定块3的推板机构进入移动块2的内部,然后启动远离第一固定块3的第二气缸12,该第二气缸12的伸长带动插块4朝着第一固定块3上的托盘移动,直到该插块4将托盘插接后,然后驱动该第二气缸12收缩,使插块4所插接的托盘进入移动块2为止;1. Use a forklift to place the pallet on the first fixed block 33, then start the
Ⅱ、当托盘进入移动块2后,然后启动电机14,电机14带动主滚辊13的转动,继而在钢丝绳的作用下,带动从滚辊的转动,继而带动钢丝绳的转动,继而带动移动块2在四个第二导向柱7上滑动;Ⅱ. After the tray enters the moving
Ⅲ、在进行Ⅱ的同时,启动减速机8,从而带动齿轮9在齿条10上行走,继而带动滑动块6相对于四个第一导向柱5上向上滑动;III. While carrying out II, start the
Ⅳ、在分别进行Ⅱ、Ⅲ时,直到移动块2的顶部与滑动块6的顶部相平行时,此时松掉原来插接托盘的插块4,然后启动第三驱动机构中且靠近箱体1的第一气缸16,第一气缸16开始收缩,从而带动该第一气缸16所连接的第二固定块17的收缩,从而带动靠近箱体1的推板机构进入移动块2的内部,接着启动在Ⅰ条件下,处于第三驱动机构中且收缩状态的第一气缸16,该第一气缸16开始伸长,从而带动该第一气缸16所连接的第二固定块17的伸长,从而带动在Ⅰ条件下处于移动块2内部的推送机构伸出移动块2的外部,然后启动伸出移动块2外部的推送机构上的第二气缸12,该第二气缸12的伸长带动插块4朝着托盘移动,直到该插块4将托盘插接后,然后驱动该第二气缸12继续伸长,与此同时也启动位于滑动块6上的第二气缸12,在两个第二气缸12的伸长下,使得由位于移动块2上的插块4所插接的托盘进入滑动块6上插块4中为止;IV. When carrying out II and III respectively, until the top of the moving
Ⅴ、当滑动块上的插块4夹到托盘后,然后使得位于滑动块6上的第二气缸12开始收缩,从而使得插块4所插接的托盘进入箱体1中,接着启动减速机8,带动齿轮9在齿条10上行走,最终使得托盘随着滑动块进入箱体中为止即可。Ⅴ. After the
以上显示和描述了本实用新型的基本原理和主要特征和本实用新型的优点。本行业的技术人员应该了解,本实用新型不受上述实施例的限制,在不脱离本实用新型精神和范围的前提下,本实用新型还会有各种变化和改进,这些变化和改进都落入要求保护的本实用新型范围内。本实用新型要求保护范围由所附的权利要求书及其等效物界定。The basic principles and main features of the present invention and the advantages of the present invention are shown and described above. It should be understood by those skilled in the art that the present invention is not limited by the above-mentioned embodiments, and without departing from the spirit and scope of the present invention, the present invention will also have various changes and improvements, and these changes and improvements are within the scope of the claimed invention. The claimed scope of the present invention is defined by the appended claims and their equivalents.
Claims (7)
Priority Applications (1)
| Application Number | Priority Date | Filing Date | Title |
|---|---|---|---|
| CN201922499265.1U CN211768056U (en) | 2019-12-31 | 2019-12-31 | Automatic tray warehouse |
Applications Claiming Priority (1)
| Application Number | Priority Date | Filing Date | Title |
|---|---|---|---|
| CN201922499265.1U CN211768056U (en) | 2019-12-31 | 2019-12-31 | Automatic tray warehouse |
Publications (1)
| Publication Number | Publication Date |
|---|---|
| CN211768056U true CN211768056U (en) | 2020-10-27 |
Family
ID=72890058
Family Applications (1)
| Application Number | Title | Priority Date | Filing Date |
|---|---|---|---|
| CN201922499265.1U Active CN211768056U (en) | 2019-12-31 | 2019-12-31 | Automatic tray warehouse |
Country Status (1)
| Country | Link |
|---|---|
| CN (1) | CN211768056U (en) |
Cited By (1)
| Publication number | Priority date | Publication date | Assignee | Title |
|---|---|---|---|---|
| CN113511495A (en) * | 2021-09-14 | 2021-10-19 | 佛山市冠屹自动化设备有限公司 | Automatic disc replacing mechanism |
-
2019
- 2019-12-31 CN CN201922499265.1U patent/CN211768056U/en active Active
Cited By (2)
| Publication number | Priority date | Publication date | Assignee | Title |
|---|---|---|---|---|
| CN113511495A (en) * | 2021-09-14 | 2021-10-19 | 佛山市冠屹自动化设备有限公司 | Automatic disc replacing mechanism |
| CN113511495B (en) * | 2021-09-14 | 2022-02-15 | 佛山市冠屹自动化设备有限公司 | Automatic disc replacing mechanism |
Similar Documents
| Publication | Publication Date | Title |
|---|---|---|
| CN106347914A (en) | Three-dimensional warehouse cargo storage and taking device | |
| CN211569024U (en) | Automatic telescopic cargo carrying platform for stacking machine | |
| CN108568840A (en) | Material sorting elevating mechanism and material Prospect of Robot Sorting System | |
| CN211768056U (en) | Automatic tray warehouse | |
| CN203709559U (en) | Teaching aid displaying type multi-functional platform | |
| CN117484535B (en) | Industrial robot is with transport anchor clamps | |
| CN214450406U (en) | Battery swapping robot and battery swapping system | |
| CN210855166U (en) | Heavy-load bidirectional telescopic fork of mold transfer trolley | |
| CN110963447A (en) | Double-deep-position fork | |
| KR20100097967A (en) | Keeping rack device lifting vertically | |
| CN106927208A (en) | Great-leap-forward translation mechanism | |
| CN117208446B (en) | An automated telescopic shelf | |
| CN209974239U (en) | A steel plate transport device for steel processing | |
| CN114148494A (en) | An underwater outboard release device | |
| CN212245654U (en) | I-wheel automatic loading and unloading device for single-axis wire take-up | |
| CN111301251B (en) | Material box discharging device of transport vehicle | |
| CN211115048U (en) | Double parking space energy-saving car stacker | |
| CN221114873U (en) | Auto-parts equipment of depositing of being convenient for | |
| CN223674252U (en) | A clamp ejector for cargo handling | |
| CN219095084U (en) | Temporary storage mechanism for elevator sheet metal part production | |
| CN222494332U (en) | A multifunctional fixture for palletizing manipulator | |
| CN117506443B (en) | Automatic assembly production line for elevator door panels | |
| CN112777162A (en) | Container for transporting coiled steel | |
| CN213412022U (en) | A two-stage amplifying mechanism and a bidirectional stroke amplifying grabbing device with the amplifying mechanism | |
| CN219709039U (en) | Two-stage telescopic fork device |
Legal Events
| Date | Code | Title | Description |
|---|---|---|---|
| GR01 | Patent grant | ||
| GR01 | Patent grant | ||
| TR01 | Transfer of patent right | ||
| TR01 | Transfer of patent right |
Effective date of registration: 20240726 Address after: Room 1301, Building 29, Zhongbang City Garden, No. 2008, the Taihu Lake East Avenue, Xinwu District, Wuxi City, Jiangsu Province, 214000 Patentee after: Wang Hui Country or region after: China Patentee after: Meng Degui Address before: 201502 No. 253, xingtasi village, Xingta Town, Jinshan District, Shanghai Patentee before: SHANGHAI FENGYE PACKING MACHINE CO.,LTD. Country or region before: China |
|
| TR01 | Transfer of patent right | ||
| TR01 | Transfer of patent right |
Effective date of registration: 20241113 Address after: Building 5, No. 10 Shuofang Huayou 2nd Road, Xinwu District, Wuxi City, Jiangsu Province, China 214000 Patentee after: Jiangsu Antusheng Supply Chain Management Group Co.,Ltd. Country or region after: China Address before: Room 1301, Building 29, Zhongbang City Garden, No. 2008, the Taihu Lake East Avenue, Xinwu District, Wuxi City, Jiangsu Province, 214000 Patentee before: Wang Hui Country or region before: China Patentee before: Meng Degui |
