CN211749788U - Mammary gland operation fixing device - Google Patents
Mammary gland operation fixing device Download PDFInfo
- Publication number
- CN211749788U CN211749788U CN201922165063.3U CN201922165063U CN211749788U CN 211749788 U CN211749788 U CN 211749788U CN 201922165063 U CN201922165063 U CN 201922165063U CN 211749788 U CN211749788 U CN 211749788U
- Authority
- CN
- China
- Prior art keywords
- rod
- buckle groove
- support rod
- arc
- buckle
- Prior art date
- Legal status (The legal status is an assumption and is not a legal conclusion. Google has not performed a legal analysis and makes no representation as to the accuracy of the status listed.)
- Expired - Fee Related
Links
- 210000005075 mammary gland Anatomy 0.000 title description 3
- 238000001356 surgical procedure Methods 0.000 claims abstract description 19
- 210000000481 breast Anatomy 0.000 claims abstract description 18
- VYPSYNLAJGMNEJ-UHFFFAOYSA-N Silicium dioxide Chemical compound O=[Si]=O VYPSYNLAJGMNEJ-UHFFFAOYSA-N 0.000 claims description 3
- 239000000741 silica gel Substances 0.000 claims description 3
- 229910002027 silica gel Inorganic materials 0.000 claims description 3
- 206010052428 Wound Diseases 0.000 description 3
- 208000027418 Wounds and injury Diseases 0.000 description 3
- 210000003205 muscle Anatomy 0.000 description 3
- 229920001296 polysiloxane Polymers 0.000 description 2
- 206010006187 Breast cancer Diseases 0.000 description 1
- 208000026310 Breast neoplasm Diseases 0.000 description 1
- 206010011732 Cyst Diseases 0.000 description 1
- 208000002847 Surgical Wound Diseases 0.000 description 1
- 208000030270 breast disease Diseases 0.000 description 1
- 208000031513 cyst Diseases 0.000 description 1
- 230000007547 defect Effects 0.000 description 1
- 238000010586 diagram Methods 0.000 description 1
- 206010016629 fibroma Diseases 0.000 description 1
- 206010020718 hyperplasia Diseases 0.000 description 1
- 230000003902 lesion Effects 0.000 description 1
- 208000004396 mastitis Diseases 0.000 description 1
- 238000000034 method Methods 0.000 description 1
- 239000007779 soft material Substances 0.000 description 1
Images
Landscapes
- Surgical Instruments (AREA)
Abstract
本实用新型公开了一种乳腺手术固定装置,包括主支杆、套块、横板、轴承、控制把、蜗杆、内螺纹杆、扣槽一、套杆、连接块、弧形杆一、弧形杆二和滑槽,所述滑槽内插接有T形的滑块,所述滑块另一侧延伸至滑槽外侧设有支杆一,所述弧形杆一和弧形杆二在远离扣槽一和连接块的一端均设有U形的扣槽二,所述扣槽二内分别插接有滑杆一和滑杆二,所述滑杆一和滑杆二远离扣槽二的一端相反的一侧设有支杆二,所述滑杆一和滑杆二上均设有上下相通的长通孔,所述扣槽二和长通孔上插接有蝶形螺栓,所述扣槽二底面设有螺母,所述支杆一和支杆二下端设有抬板。本实用新型与现有技术相比的优点在于:固定牢靠、固定角度可调和不影响医生正常手术。
The utility model discloses a breast surgery fixing device, comprising a main support rod, a sleeve block, a horizontal plate, a bearing, a control handle, a worm, an internal thread rod, a buckle groove, a sleeve rod, a connecting block, an arc rod, an arc rod A second-shaped rod and a chute, a T-shaped slider is inserted into the chute, and the other side of the slider extends to the outside of the chute with a support rod 1, the arc-shaped rod 1 and the arc-shaped rod 2 A U-shaped buckle groove 2 is provided at one end away from the buckle groove 1 and the connecting block. A sliding rod 1 and a sliding rod 2 are respectively inserted into the buckle groove 2. The sliding rod 1 and the sliding rod 2 are far away from the buckle groove. Two supporting rods are provided on the opposite side of one end of the two, the sliding rod 1 and the sliding rod 2 are provided with long through holes that communicate with each other up and down, and butterfly bolts are inserted into the second buckle grooves and the long through holes. The bottom surface of the second buckle groove is provided with a nut, and the lower ends of the first support rod and the second support rod are provided with lift plates. Compared with the prior art, the utility model has the advantages that the fixing is firm, the fixing angle is adjustable, and the normal operation of the doctor is not affected.
Description
技术领域technical field
本实用新型涉及医疗器械技术领域,具体是指一种乳腺手术固定装置。The utility model relates to the technical field of medical instruments, in particular to a breast surgery fixing device.
背景技术Background technique
乳腺炎、乳腺增生、乳腺纤维瘤、乳腺囊肿和乳腺癌这五大类均是乳腺方面较为重大的疾病,进行手术时需要将患处的肌肉向周边拉出使病灶显露出来,使医生具有一个广阔的术野。目前对于手术拉伸,现有的固定拉伸装置不完善,基本通过人工牵拉后进行固定来实现肌肉的拉伸工作。此外,现有技术的固定装置在固定时会影响到医生的正常工作,并且存在固定不牢靠、固定角度定死等问题。Mastitis, mammary gland hyperplasia, mammary fibroma, mammary gland cyst and breast cancer are all major breast diseases. During surgery, the muscles of the affected area need to be pulled out to the periphery to expose the lesions, so that the doctor has a broad view. Surgical field. At present, for surgical stretching, the existing fixed stretching device is not perfect, and the muscle stretching work is basically achieved by artificial stretching and then fixing. In addition, the fixation device of the prior art will affect the normal work of the doctor during fixation, and there are problems such as unstable fixation, fixed angle and so on.
实用新型内容Utility model content
本实用新型要解决的技术问题是克服上述缺陷,提供一种固定牢靠、固定角度可调和不影响医生正常手术的乳腺手术固定装置。The technical problem to be solved by the utility model is to overcome the above-mentioned defects, and to provide a breast surgery fixation device with firm fixation, adjustable fixation angle and no influence on the normal operation of the doctor.
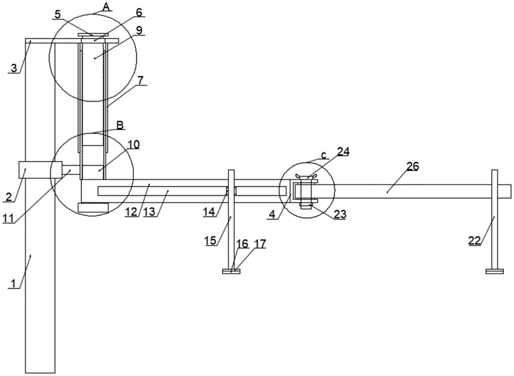
为解决上述技术问题,本实用新型提供的技术方案为:一种乳腺手术固定装置,包括主支杆,所述主支杆上套接有套块,所述主支杆上端设有横板,所述横板内远离主支杆的一侧设有轴承,所述轴承外圈同横板固定连接,所述轴承内圈上端插接有控制把,所述轴承内圈下端插接有蜗杆,所述蜗杆下端通过螺纹连接有内螺纹杆,所述内螺纹杆下端设有U形的扣槽一,所述横板底面设有套接于蜗杆和内螺纹杆的套杆,所述扣槽一内插接有连接块,所述扣槽一和连接块通过螺栓连接,所述螺栓穿过扣槽一和连接块延伸至内螺纹杆内部,所述螺栓和内螺纹杆通过螺纹结构连接,所述扣槽一远离连接块的一端设有弯曲的的弧形杆一,所述连接块远离扣槽一的一端设有弯曲的的弧形杆二,所述弧形杆一和弧形杆二内相互远离的一端设有开口相反的滑槽,所述滑槽内插接有T形的滑块,所述滑块另一侧延伸至滑槽外侧设有支杆一,所述弧形杆一和弧形杆二在远离扣槽一和连接块的一端均设有U形的扣槽二,所述扣槽二内分别插接有滑杆一和滑杆二,所述滑杆一和滑杆二远离扣槽二的一端相反的一侧设有支杆二,所述滑杆一和滑杆二上均设有上下相通的长通孔,所述扣槽二和长通孔上插接有蝶形螺栓,所述扣槽二底面设有螺母,所述支杆一和支杆二下端设有抬板。In order to solve the above technical problems, the technical solution provided by the present invention is as follows: a breast surgery fixation device, comprising a main support rod, a sleeve block is sleeved on the main support rod, and a horizontal plate is provided on the upper end of the main support rod, A bearing is provided on the side of the horizontal plate away from the main support rod, the outer ring of the bearing is fixedly connected with the horizontal plate, the upper end of the inner ring of the bearing is inserted with a control handle, and the lower end of the inner ring of the bearing is inserted with a worm. The lower end of the worm is connected with an internally threaded rod, the lower end of the internal threaded rod is provided with a
本实用新型与现有技术相比的优点在于:相较于现有技术,本实用新型使用弧形杆和滑杆、滑块和滑槽以及长通孔和蝶形螺栓的相互配合使用,能够让抬板实现不同的角度,方便医生进行调整适合手术的角度,本实用新型避免了现有技术将主支撑块防放置在患者伤口正上方的位置,将主要支撑用的弧形杆和滑杆设置患者伤口在边缘,主支杆设置在患者伤口一侧,不会遮挡医生的实现,同时也便于医生进行手术。Compared with the prior art, the advantages of the utility model are: compared with the prior art, the utility model uses the mutual cooperation of the arc rod and the sliding rod, the sliding block and the sliding groove, the long through hole and the butterfly bolt, and can The lifting plate can realize different angles, which is convenient for the doctor to adjust the angle suitable for the operation. The utility model avoids the prior art to prevent the main support block from being placed in the position just above the patient's wound. The patient's wound is set at the edge, and the main strut is set on one side of the patient's wound, which will not block the doctor's realization, and also facilitates the doctor's operation.
作为改进,所述套块和内螺纹杆下端之间设有连接杆。连接杆的作用是间内螺纹杆进行固定,避免上方蜗杆转动时带动内螺纹杆一起转动,影响整个固定装置的功能。As an improvement, a connecting rod is provided between the sleeve block and the lower end of the internally threaded rod. The function of the connecting rod is to fix the internal threaded rod, so as to avoid the rotation of the internal threaded rod when the upper worm rotates, which affects the function of the entire fixing device.
作为改进,所述蝶形螺栓上位于扣槽二和长通孔之间的位置套接有环形压片。环形压片的作用是增加与滑杆一和滑杆二之间的摩擦力,当蝶形螺栓旋紧时,能够增加固定力度,避免滑杆一和滑杆二出现不必要的滑动。As an improvement, an annular pressing piece is sleeved on the wing bolt at the position between the second buckle groove and the long through hole. The function of the ring-shaped pressing sheet is to increase the friction between the first and second sliding rods. When the butterfly bolts are tightened, the fixing force can be increased to avoid unnecessary sliding between the first and second sliding rods.
作为改进,所述环形压片的半径大于长通孔的宽度。环形压片的半径大于长通孔的宽度是为了避免蝶形螺栓旋紧时,环形压片掉进长通孔中。As an improvement, the radius of the annular pressing sheet is larger than the width of the long through hole. The radius of the annular pressing piece is larger than the width of the long through hole in order to prevent the annular pressing piece from falling into the long through hole when the butterfly bolt is tightened.
作为改进,所述抬板上端设有硅胶块。硅胶块的作用是柔软的材质能够保护患者的开刀口,避免对患者造成二次损害。As an improvement, a silica gel block is provided at the upper end of the lift plate. The function of the silicone block is that the soft material can protect the patient's incision and avoid secondary damage to the patient.
附图说明Description of drawings
图1是本实用新型一种乳腺手术固定装置的结构示意图。FIG. 1 is a schematic structural diagram of a breast surgery fixation device of the present invention.
图2是本实用新型一种乳腺手术固定装置右视图。Figure 2 is a right side view of a breast surgery fixation device of the present invention.
图3是本实用新型一种乳腺手术固定装置俯视图。3 is a top view of a breast surgery fixing device of the present invention.
图4是本实用新型一种乳腺手术固定装置支杆二连接结构前视图。FIG. 4 is a front view of the second connecting structure of a support rod of a breast surgery fixing device of the present invention.
图5是本实用新型一种乳腺手术固定装置A的放大图。FIG. 5 is an enlarged view of a breast surgery fixing device A of the present invention.
图6是本实用新型一种乳腺手术固定装置B的放大图。FIG. 6 is an enlarged view of a breast surgery fixing device B of the present invention.
图7是本实用新型一种乳腺手术固定装置C的放大图。FIG. 7 is an enlarged view of a breast surgery fixing device C of the present invention.
图8是本实用新型一种乳腺手术固定装置D的放大图。FIG. 8 is an enlarged view of a breast surgery fixing device D of the present invention.
如图所示:1、主支杆,2、套块,3、横板,4、扣槽二,5、控制把,6、轴承,7、套杆,8、内螺纹杆,9、蜗杆,10、螺栓,11、连接杆,12、弧形杆一,13、滑槽,14、滑块,15、支杆一,16、抬板,17、硅胶块,18、连接块,19、弧形杆二,20、滑杆二,21、长通孔,22、支杆二,23、螺母,24、蝶形螺栓,25、扣槽一,26、滑杆一。As shown in the picture: 1. Main support rod, 2. Sleeve block, 3. Horizontal plate, 4.
具体实施方式Detailed ways
下面结合附图对本实用新型做进一步的详细说明。The present utility model will be further described in detail below in conjunction with the accompanying drawings.
结合附图1,一种乳腺手术固定装置,包括主支杆1,所述主支杆1上套接有套块2,所述主支杆1上端设有横板3,所述横板3内远离主支杆1的一侧设有轴承6,所述轴承6外圈同横板3固定连接,所述轴承6内圈上端插接有控制把5,所述轴承6内圈下端插接有蜗杆9,所述蜗杆9下端通过螺纹连接有内螺纹杆8,所述内螺纹杆8下端设有U形的扣槽一25,所述横板3底面设有套接于蜗杆9和内螺纹杆8的套杆7,所述扣槽一25内插接有连接块18,所述扣槽一25和连接块18通过螺栓10连接,所述螺栓10穿过扣槽一25和连接块18延伸至内螺纹杆8内部,所述螺栓10和内螺纹杆8通过螺纹结构连接,所述扣槽一25远离连接块18的一端设有弯曲的的弧形杆一12,所述连接块18远离扣槽一25的一端设有弯曲的的弧形杆二19,所述弧形杆一12和弧形杆二19关于主支杆1对称,所述弧形杆一12和弧形杆二19内相互远离的一端设有开口相反的滑槽13,所述滑槽13内插接有T形的滑块14,所述滑块14另一侧延伸至滑槽13外侧设有支杆一15,所述弧形杆一12和弧形杆二19在远离扣槽一25和连接块18的一端均设有U形的扣槽二4,所述扣槽二4内分别插接有滑杆一26和滑杆二20,所述滑杆一26和滑杆二20远离扣槽二4的一端相反的一侧设有支杆二22,所述滑杆一26和滑杆二20上均设有上下相通的长通孔21,所述扣槽二4和长通孔21上插接有蝶形螺栓24,所述扣槽二4底面设有螺母23,所述支杆一15和支杆二22下端设有抬板16。With reference to FIG. 1, a breast surgery fixing device includes a
所述套块2和内螺纹杆8下端之间设有连接杆11。A connecting
所述蝶形螺栓24上位于扣槽二14和长通孔21之间的位置套接有环形压片14。An annular
所述环形压片14的半径大于长通孔21的宽度。The radius of the
所述抬板16上端设有硅胶块17。The upper end of the
本实用新型在具体实施时,本实用新型通过使用弧形杆一12和弧形杆二19转动的连接方式,能够控制弧形杆一12和弧形杆二19之间距离的调整,弧形杆一12和弧形杆二19上均设有滑槽13,滑槽13内插接的滑块14能够带动支杆一15在弧形杆一12和弧形杆二19上滑动,支杆一15能够带动抬板16移动,通过支杆一15的调整和弧形杆一12和弧形杆二19的调整,增大了整个固定装置调整角度的范围。本实用新型通过在滑杆一26和滑杆二20配合蝶形螺栓24以及扣槽二4使用,能够实现滑杆一26和滑杆二20的滑动,滑杆一26和滑杆二20的滑动能够带动支杆二22跟随移动,这样能够更大程度的增加固定装置角度的调整范围。本实用新型在具体使用时,将主支杆1通过固定的装置固定住或者在主支杆1下方打出螺纹孔,通过螺钉固定住,旋转控制把5,将内螺纹杆8抬升,内螺纹杆8带动下方连接的部件一并抬升,将装置对准病人的手术刀口,旋转控制把5,将固定装置的抬板16放入病人的刀口内即可,调整弧形杆一12和弧形杆二19的角度,同时调整支杆一15的位置,当支杆一15能够将病人刀口撑开到适合手术的角度和大小即可,滑动调整滑杆一26和滑杆二20,带动支杆二22调整至病人刀口撑开到适合手术的角度和大小,调整完成后,旋紧螺栓10和蝶形螺栓24,完成固定,在需要将病人刀口肌肉抬升或者下降时,旋转控制把5即可。During the specific implementation of the present utility model, the present utility model can control the adjustment of the distance between the arc-shaped rod one 12 and the arc-shaped rod two Both the rod one 12 and the arc rod two 19 are provided with a
以上对本实用新型及其实施方式进行了描述,这种描述没有限制性,附图中所示的也只是本实用新型的实施方式之一,实际的结构并不局限于此。总而言之如果本领域的普通技术人员受其启示,在不脱离本实用新型创造宗旨的情况下,不经创造性的设计出与该技术方案相似的结构方式及实施例,均应属于本实用新型的保护范围。The present invention and the embodiments thereof have been described above, and the description is not restrictive, and what is shown in the accompanying drawings is only one of the embodiments of the present invention, and the actual structure is not limited thereto. All in all, if those of ordinary skill in the art are inspired by it, without departing from the purpose of the present invention, and without creatively designing the structural modes and embodiments similar to the technical scheme, all should belong to the protection of the present invention. scope.
Claims (5)
Priority Applications (1)
| Application Number | Priority Date | Filing Date | Title |
|---|---|---|---|
| CN201922165063.3U CN211749788U (en) | 2019-12-06 | 2019-12-06 | Mammary gland operation fixing device |
Applications Claiming Priority (1)
| Application Number | Priority Date | Filing Date | Title |
|---|---|---|---|
| CN201922165063.3U CN211749788U (en) | 2019-12-06 | 2019-12-06 | Mammary gland operation fixing device |
Publications (1)
| Publication Number | Publication Date |
|---|---|
| CN211749788U true CN211749788U (en) | 2020-10-27 |
Family
ID=72973081
Family Applications (1)
| Application Number | Title | Priority Date | Filing Date |
|---|---|---|---|
| CN201922165063.3U Expired - Fee Related CN211749788U (en) | 2019-12-06 | 2019-12-06 | Mammary gland operation fixing device |
Country Status (1)
| Country | Link |
|---|---|
| CN (1) | CN211749788U (en) |
-
2019
- 2019-12-06 CN CN201922165063.3U patent/CN211749788U/en not_active Expired - Fee Related
Similar Documents
| Publication | Publication Date | Title |
|---|---|---|
| CN206391007U (en) | A kind of jaw outer operation positioner | |
| CN110368253A (en) | A kind of clinical obstetrics pre-natal diagnosis check device | |
| CN211749788U (en) | Mammary gland operation fixing device | |
| CN209187386U (en) | A kind of gynaecology's lithotomy position examination bed | |
| CN209332089U (en) | A kind of steady type Ultrasonography examination couch with adjustable back cushion | |
| CN210812262U (en) | Clinical thyroid operation auxiliary device that uses of department of general surgery | |
| CN211300572U (en) | A portable orthopaedic nursing fixing bracket | |
| CN219661747U (en) | Bone imaging arm position adjustment fixing device | |
| CN210408495U (en) | Muscle distraction device for general surgery department | |
| CN208834009U (en) | A kind of medical image diagnosis comparison diagosis device | |
| CN206822816U (en) | A kind of operation table | |
| CN111436980A (en) | Esophageal cancer minimally invasive surgery thoracoscope device | |
| CN211213571U (en) | A wound suture bracket for outpatient clinic | |
| CN112022597B (en) | Telescopic fan-shaped anesthesia head frame | |
| CN208048958U (en) | A kind of maternity midwifery device | |
| CN211750707U (en) | Foot regulation formula fixed equipment for nursing | |
| CN210903705U (en) | An adjustable child transfer bed | |
| CN211560805U (en) | Limb supporting device for clinical use of obstetrical department | |
| CN212037561U (en) | Examining bed for radiology department | |
| CN211187477U (en) | Gynecological adjustment palace lifting device | |
| CN210843227U (en) | A retractor device for bladder tumor surgery | |
| CN210784730U (en) | Clinical operation auxiliary operation equipment of orthopedics | |
| CN219847124U (en) | A kind of stretcher for orthopedic postoperative care | |
| CN220125032U (en) | Posture pad | |
| CN216823979U (en) | A kind of nursing device for knee joint operation |
Legal Events
| Date | Code | Title | Description |
|---|---|---|---|
| GR01 | Patent grant | ||
| GR01 | Patent grant | ||
| CF01 | Termination of patent right due to non-payment of annual fee |
Granted publication date: 20201027 |
|
| CF01 | Termination of patent right due to non-payment of annual fee |
