CN211734003U - Circulation type sewage filtering device - Google Patents
Circulation type sewage filtering device Download PDFInfo
- Publication number
- CN211734003U CN211734003U CN201921871175.4U CN201921871175U CN211734003U CN 211734003 U CN211734003 U CN 211734003U CN 201921871175 U CN201921871175 U CN 201921871175U CN 211734003 U CN211734003 U CN 211734003U
- Authority
- CN
- China
- Prior art keywords
- filter
- side wall
- water
- pipe
- sewage
- Prior art date
- Legal status (The legal status is an assumption and is not a legal conclusion. Google has not performed a legal analysis and makes no representation as to the accuracy of the status listed.)
- Expired - Fee Related
Links
Images
Landscapes
- Water Treatment By Sorption (AREA)
Abstract
本实用新型公开了一种循环型污水过滤装置,包括过滤箱,所述过滤箱内通过隔板分隔成过滤腔和集水腔,所述过滤腔和集水腔并列设置,且过滤腔位于集水腔上方,所述过滤腔与集水腔之间通过进水口连通,所述过滤箱上侧壁固定设置有排管块,所述排管块上设置有贯穿的污水进水管,所述污水进水管末端固定设置有分流管,所述分流管下侧壁固定设置有多组均匀分布的排水口,所述过滤腔内壁滑动密封连接有抽拉框,所述抽拉框内镶嵌设置有过滤层,所述抽拉框末端固定设置有挡水块。本实用新型中可以对污水进行多次循环过滤,活性炭与过滤层的配合使用,过滤效果较好,能够较为方便的对过滤层进行冲洗和活性炭柱进行更换,较为实用。
The utility model discloses a circulating sewage filtering device, comprising a filter box. The filter box is divided into a filter cavity and a water collection cavity by a partition plate. The filter cavity and the water collection cavity are arranged side by side, and the filter cavity is located in the collection cavity. Above the water cavity, the filter cavity and the water collection cavity are communicated through the water inlet, the upper side wall of the filter box is fixedly provided with a pipe block, and the pipe block is provided with a penetrating sewage inlet pipe, the sewage The end of the water inlet pipe is fixedly provided with a shunt pipe, the lower side wall of the shunt pipe is fixedly provided with a plurality of groups of evenly distributed drains, the inner wall of the filter cavity is slidably and sealedly connected with a pull-out frame, and the pull-out frame is inlaid with a filter layer, and the end of the drawing frame is fixedly provided with a water blocking block. In the utility model, the sewage can be filtered repeatedly, and the activated carbon and the filter layer can be used together, the filtering effect is good, the filter layer can be washed easily and the activated carbon column can be replaced, which is more practical.
Description
技术领域technical field
本实用新型涉及污水处理技术领域,尤其涉及一种循环型污水过滤装置。The utility model relates to the technical field of sewage treatment, in particular to a circulating sewage filtering device.
背景技术Background technique
污水处理为使污水达到排水某一水体或再次使用的水质要求对其进行净化的过程,污水处理被广泛应用于建筑、农业、交通、能源、石化、环保、城市景观、医疗、餐饮等各个领域,也越来越多地走进寻常百姓的日常生活,在污水进行过滤时,需要用到污水过滤装置,以便于过滤污水时使用。Sewage treatment is the process of purifying sewage to meet the water quality requirements for drainage or reuse. Sewage treatment is widely used in construction, agriculture, transportation, energy, petrochemical, environmental protection, urban landscape, medical, catering and other fields. , and more and more into the daily life of ordinary people, when the sewage is filtered, it is necessary to use a sewage filter device to facilitate the use of sewage.
目前现有的污水过滤装置,使污水在过滤时,污水过滤效果不理想,不能对污水进行循环过滤,过滤网在长期使用之后表面会堆积一定的颗粒杂质,影响过滤效果,需要对过滤网进行清洗的时候,要将过滤网拆卸下来,较为繁琐,实用性较低。At present, the existing sewage filtration device makes the sewage filtering effect unsatisfactory during sewage filtration, and cannot filter the sewage in a circular manner. After long-term use of the filter screen, certain particulate impurities will accumulate on the surface, which will affect the filtering effect. When cleaning, it is more cumbersome and less practical to disassemble the filter screen.
实用新型内容Utility model content
本实用新型的目的是为了解决现有技术中不能对污水进行循环过滤、过滤网清洗不便的缺点,而提出的一种循环型污水过滤装置。The purpose of the utility model is to solve the shortcomings of the prior art that the sewage cannot be cyclically filtered and the filter screen is inconvenient to clean, and a circulating sewage filtering device is proposed.
为了实现上述目的,本实用新型采用了如下技术方案:In order to achieve the above-mentioned purpose, the utility model adopts the following technical solutions:
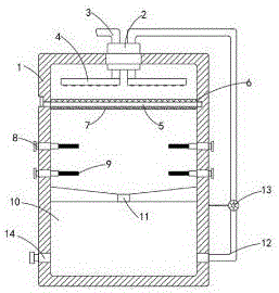
一种循环型污水过滤装置,包括过滤箱,所述过滤箱内通过隔板分隔成过滤腔和集水腔,所述过滤腔和集水腔并列设置,且过滤腔位于集水腔上方,所述过滤腔与集水腔之间通过进水口连通,所述过滤箱上侧壁固定设置有排管块,所述排管块上设置有贯穿的污水进水管,所述污水进水管末端固定设置有分流管,所述分流管下侧壁固定设置有多组均匀分布的排水口,所述过滤腔内壁滑动密封连接有抽拉框,所述抽拉框内镶嵌设置有过滤层,所述抽拉框末端固定设置有挡水块,且过滤箱侧壁设置有与挡水块匹配的收缩槽,所述过滤箱侧壁还螺纹连接有多组均匀分布的螺纹座,每个所述螺纹座均向内贯穿过滤箱侧壁连接有活性炭柱,每个所述活性炭柱均位于过滤层与隔板之间,所述过滤箱侧壁下端固定设置有与集水腔连通的回流管,所述回流管远离集水腔的一端向内贯穿排管块与分流管连通设置,所述过滤箱侧壁固定设置有与回流管连通的抽水泵,所述过滤箱远离回流管的侧壁下端固定设置有出水口,所述出水口内设置有匹配的活塞。A circulating sewage filtration device includes a filter box, the filter box is divided into a filter cavity and a water collection cavity by a partition plate, the filter cavity and the water collection cavity are arranged side by side, and the filter cavity is located above the water collection cavity, so the The filter cavity and the water collection cavity are communicated through the water inlet, the upper side wall of the filter box is fixedly provided with a pipe block, the pipe block is provided with a sewage water inlet pipe, and the end of the sewage water inlet pipe is fixedly arranged There is a shunt pipe, the lower side wall of the shunt pipe is fixed with a plurality of groups of evenly distributed drains, the inner wall of the filter cavity is slidably and sealedly connected with a pull-out frame, and a filter layer is embedded in the pull-out frame, and the pull-out frame is inlaid with a filter layer. The end of the pull frame is fixedly provided with a water blocking block, and the side wall of the filter box is provided with a shrinking groove matching the water blocking block. Activated carbon columns are connected inwardly through the side wall of the filter box, each of the activated carbon columns is located between the filter layer and the partition, the lower end of the side wall of the filter box is fixedly provided with a return pipe communicating with the water collection One end of the return pipe away from the water collecting chamber penetrates inwardly through the pipe block and communicates with the shunt pipe, the side wall of the filter box is fixedly provided with a suction pump that communicates with the return pipe, and the lower end of the side wall of the filter box away from the return pipe is fixedly arranged There is a water outlet, and a matching piston is arranged in the water outlet.
优选地,所述过滤层包裹初级过滤网和海绵过滤网,且初级过滤网固定设置在海绵过滤网上侧壁。Preferably, the filter layer wraps the primary filter screen and the sponge filter screen, and the primary filter screen is fixedly arranged on the side wall of the sponge filter screen.
优选地,所述挡水块侧壁包裹有一层密封防水橡胶垫,且挡水块远离抽拉框的一侧侧壁固定设置有拉手,所述拉手外表面包裹有一层软质海绵。Preferably, the side wall of the water blocking block is wrapped with a layer of sealing and waterproof rubber pads, and the side wall of the side wall of the water blocking block away from the drawing frame is fixedly provided with a handle, and the outer surface of the handle is wrapped with a layer of soft sponge.
优选地,所述隔板上侧壁固定设置有与进水口匹配的倾斜角。Preferably, the side wall of the partition is fixedly provided with an inclination angle matching the water inlet.
优选地,每个所述排水口均设置成圆台形,且排水口上端开口处的直径小于排水口下端开口处的直径。Preferably, each of the drainage ports is provided in a truncated cone shape, and the diameter of the opening at the upper end of the drainage port is smaller than the diameter of the opening at the lower end of the drainage port.
与现有技术相比,本实用新型的有益效果是:将排水口设置成下端开口大的圆台形状,确保能从分流管排出的污水能够更为均匀的穿过过滤层的每一处区域,避免过滤层边缘起不到应有的过滤效果,设置螺纹连接的螺纹座,当活性炭柱使用一段时间之后,可以直径拧出螺纹座,装上新的活性炭柱,确保过滤箱始终能起到较好的过滤效果,活性炭与过滤层的配合使用,多层过滤,过滤效果较好,回流管和抽水泵的设置可以对污水进行多次循环过滤,确保处理后的污水水质达到环保要求。Compared with the prior art, the beneficial effect of the present utility model is: the drainage outlet is arranged in the shape of a circular truncated cone with a large lower end opening, so as to ensure that the sewage that can be discharged from the shunt pipe can pass through each area of the filter layer more evenly, To prevent the edge of the filter layer from failing to achieve the proper filtering effect, set the threaded seat for threaded connection. When the activated carbon column has been used for a period of time, the threaded seat can be screwed out in diameter, and a new activated carbon column can be installed to ensure that the filter box can always play a better role. Good filtration effect, the use of activated carbon and the filter layer, multi-layer filtration, the filtration effect is better, the setting of the return pipe and the pump can perform multiple cycle filtration of the sewage to ensure that the quality of the treated sewage meets the environmental protection requirements.
附图说明Description of drawings
图1为本实用新型提出的一种循环型污水过滤装置的结构示意图;Fig. 1 is the structural representation of a kind of circulating sewage filter device proposed by the utility model;
图2为本实用新型提出的一种循环型污水过滤装置的抽拉框结构示意图。FIG. 2 is a schematic structural diagram of a drawing frame of a circulating sewage filter device proposed by the utility model.
图中:1过滤箱、2排管块、3污水进水管、4分流管、5抽拉框、 6初级过滤网、7海绵过滤网、8螺纹座、9活性炭柱、10集水腔、 11进水口、12回流管、13抽水泵、14出水口。In the picture: 1 filter box, 2 pipe block, 3 sewage inlet pipe, 4 shunt pipe, 5 drawer frame, 6 primary filter screen, 7 sponge filter screen, 8 thread seat, 9 activated carbon column, 10 water collecting chamber, 11 Water inlet, 12 return pipe, 13 water pump, 14 water outlet.
具体实施方式Detailed ways
下面将结合本实用新型实施例中的附图,对本实用新型实施例中的技术方案进行清楚、完整地描述,显然,所描述的实施例仅仅是本实用新型一部分实施例,而不是全部的实施例。The technical solutions in the embodiments of the present utility model will be clearly and completely described below with reference to the accompanying drawings in the embodiments of the present utility model. Obviously, the described embodiments are only a part of the embodiments of the present utility model, rather than all the implementations. example.
在本实用新型的描述中,需要理解的是,术语“上”、“下”、“前”、“后”、“左”、“右”、“顶”、“底”、“内”、“外”等指示的方位或位置关系为基于附图所示的方位或位置关系,仅是为了便于描述本实用新型和简化描述,而不是指示或暗示所指的装置或元件必须具有特定的方位、以特定的方位构造和操作,因此不能理解为对本实用新型的限制。In the description of the present invention, it should be understood that the terms "upper", "lower", "front", "rear", "left", "right", "top", "bottom", "inside", The orientation or positional relationship indicated by "outside" is based on the orientation or positional relationship shown in the accompanying drawings, which is only for the convenience of describing the present invention and simplifying the description, rather than indicating or implying that the indicated device or element must have a specific orientation , are constructed and operated in a specific orientation, and therefore should not be construed as a limitation of the present invention.
参照图1-2,一种循环型污水过滤装置,包括过滤箱1,过滤箱 1内通过隔板分隔成过滤腔和集水腔10,过滤腔和集水腔10并列设置,且过滤腔位于集水腔10上方,过滤腔与集水腔10之间通过进水口11连通,隔板上侧壁固定设置有与进水口11匹配的倾斜角,通过在隔板上侧壁设置与进水口11匹配的倾斜角提高了集水腔10的进水效率,过滤箱1上侧壁固定设置有排管块2,排管块2上设置有贯穿的污水进水管3,污水进水管3末端固定设置有分流管4,分流管4 下侧壁固定设置有多组均匀分布的排水口,每个排水口均设置成圆台形,且排水口上端开口处的直径小于排水口下端开口处的直径,将排水口设置成下端开口大的圆台形状,确保能从分流管4排出的污水能够更为均匀的穿过过滤层的每一处区域,避免过滤层边缘起不到应有的过滤效果,过滤腔内壁滑动密封连接有抽拉框5,抽拉框5内镶嵌设置有过滤层,过滤层包裹初级过滤网6和海绵过滤网7,且初级过滤网6固定设置在海绵过滤网7上侧壁,初级过滤网6过滤污水中的大颗粒杂质,海绵过滤网7过滤掉污水中的小颗粒微尘,两者结合,效果较好,当过滤层上堆积过多的杂质颗粒之后,影响过滤效果可以直接拉出抽拉框5对过滤层进行清洗便可,操作简便,提高了本实用的实用性,抽拉框5末端固定设置有挡水块,挡水块侧壁包裹有一层密封防水橡胶垫,密封防水橡胶圈的设置是为了避免流进过滤腔内的污水经由挡水快与过滤箱1侧壁之间的缝隙流出过滤箱1,且挡水块远离抽拉框5的一侧侧壁固定设置有拉手,拉手外表面包裹有一层软质海绵,软质海绵的设置提高了人体舒适度,且过滤箱1侧壁设置有与挡水块匹配的收缩槽;1-2, a circulating sewage filter device includes a filter box 1. The filter box 1 is divided into a filter cavity and a
过滤箱1侧壁还螺纹连接有多组均匀分布的螺纹座8,每个螺纹座8均向内贯穿过滤箱1侧壁连接有活性炭柱9,设置螺纹连接的螺纹座8,当活性炭柱9使用一段时间之后,可以直径拧出螺纹座8,装上新的活性炭柱9,确保过滤箱1始终能起到较好的过滤效果,活性炭柱9的设置可以吸收污水中的颗粒杂质可有害物质,确保污水过滤处理效果较好,每个活性炭柱9均位于过滤层与隔板之间,过滤箱 1侧壁下端固定设置有与集水腔10连通的回流管12,回流管12远离集水腔10的一端向内贯穿排管块2与分流管4连通设置,过滤箱1 侧壁固定设置有与回流管12连通的抽水泵13,过滤箱1远离回流管 12的侧壁下端固定设置有出水口14,出水口14内设置有匹配的活塞。The side wall of the filter box 1 is also threadedly connected with a plurality of groups of evenly distributed threaded seats 8. Each threaded seat 8 is connected inwardly through the side wall of the filter box 1 and is connected with an activated carbon column 9. After using for a period of time, the threaded seat 8 can be screwed out in diameter, and a new activated carbon column 9 can be installed to ensure that the filter box 1 can always play a good filtering effect. The setting of the activated carbon column 9 can absorb particulate impurities and harmful substances in the sewage. , to ensure that the sewage filtration treatment effect is better, each activated carbon column 9 is located between the filter layer and the partition, the lower end of the side wall of the filter box 1 is fixedly provided with a
本实用新型中,污水穿过污水进水管3进入分流管4内,再穿过分流管4下侧壁的排水口,落在过滤层上,经过初级过滤网6和海绵过滤网7,污水中的大颗粒杂质可小颗粒微尘均被过滤出来,完成初步过滤的污水受自身重力的作用向下运动,当污水与活性炭柱9接触的时候,活性炭柱9会吸附污水中的有害杂质,继而,除去有害杂质的污水通过进水口11进入集水腔10内,然后启动与回流管12连通的抽水泵13,在抽水泵13的作用下,集水腔10内的水源经过回流管12再次运动到过滤腔上部的分流管4内,进行二次过滤,如此便可实现污水的循环过滤,当集水腔10内的水水质达到要求时,打开出水口14内的活塞,便可对过滤结束后的水源进行收集。In the present utility model, the sewage passes through the sewage water inlet pipe 3 and enters the shunt pipe 4, then passes through the drainage port on the lower side wall of the shunt pipe 4, falls on the filter layer, passes through the primary filter screen 6 and the
以上所述,仅为本实用新型较佳的具体实施方式,但本实用新型的保护范围并不局限于此,任何熟悉本技术领域的技术人员在本实用新型揭露的技术范围内,根据本实用新型的技术方案及其实用新型构思加以等同替换或改变,都应涵盖在本实用新型的保护范围之内。The above are only the preferred specific embodiments of the present invention, but the protection scope of the present invention is not limited to this. Equivalent replacement or modification of the new technical solution and its utility model concept shall be included within the protection scope of the present utility model.
Claims (5)
Priority Applications (1)
| Application Number | Priority Date | Filing Date | Title |
|---|---|---|---|
| CN201921871175.4U CN211734003U (en) | 2019-11-01 | 2019-11-01 | Circulation type sewage filtering device |
Applications Claiming Priority (1)
| Application Number | Priority Date | Filing Date | Title |
|---|---|---|---|
| CN201921871175.4U CN211734003U (en) | 2019-11-01 | 2019-11-01 | Circulation type sewage filtering device |
Publications (1)
| Publication Number | Publication Date |
|---|---|
| CN211734003U true CN211734003U (en) | 2020-10-23 |
Family
ID=72874195
Family Applications (1)
| Application Number | Title | Priority Date | Filing Date |
|---|---|---|---|
| CN201921871175.4U Expired - Fee Related CN211734003U (en) | 2019-11-01 | 2019-11-01 | Circulation type sewage filtering device |
Country Status (1)
| Country | Link |
|---|---|
| CN (1) | CN211734003U (en) |
Cited By (2)
| Publication number | Priority date | Publication date | Assignee | Title |
|---|---|---|---|---|
| CN116571004A (en) * | 2023-04-18 | 2023-08-11 | 安徽昊源化工集团有限公司 | Polyester reaction kettle reaction liquid recovery device |
| CN117945480A (en) * | 2024-03-26 | 2024-04-30 | 德州泰鼎新材料科技有限公司 | Waste water circulation filter equipment is used in waste paper refabrication |
-
2019
- 2019-11-01 CN CN201921871175.4U patent/CN211734003U/en not_active Expired - Fee Related
Cited By (3)
| Publication number | Priority date | Publication date | Assignee | Title |
|---|---|---|---|---|
| CN116571004A (en) * | 2023-04-18 | 2023-08-11 | 安徽昊源化工集团有限公司 | Polyester reaction kettle reaction liquid recovery device |
| CN117945480A (en) * | 2024-03-26 | 2024-04-30 | 德州泰鼎新材料科技有限公司 | Waste water circulation filter equipment is used in waste paper refabrication |
| CN117945480B (en) * | 2024-03-26 | 2024-05-28 | 德州泰鼎新材料科技有限公司 | Waste water circulation filter equipment is used in waste paper refabrication |
Similar Documents
| Publication | Publication Date | Title |
|---|---|---|
| CN106267964A (en) | The preposition water filter of back flush type | |
| CN205442964U (en) | Domestic sewage treatment equipment of family | |
| CN212998829U (en) | Be applied to sewage treatment device that rural environment administered | |
| CN211734003U (en) | Circulation type sewage filtering device | |
| CN206045555U (en) | A kind of self-operated type backwash filter | |
| CN106927624A (en) | A kind of family domestic sewage processing equipment | |
| CN209383526U (en) | A kind of building water-saving and water recycling device | |
| CN109896649A (en) | Household water purifying filtering device | |
| CN212015489U (en) | Integrated structure of clear water tank and sewage tank of floor washing machine | |
| CN118771538A (en) | A portable water purifier using low-pressure nanofiltration membrane | |
| CN207581524U (en) | A kind of sewage purification circulation uses environmental protecting device | |
| CN211715459U (en) | Oil inlet device of horizontal buried garbage compressor | |
| CN206126990U (en) | Portable simple and easy purifier | |
| CN213202591U (en) | A highly integrated filter device for water purification | |
| CN213446530U (en) | Sewage sludge purification treatment equipment | |
| CN213101389U (en) | Air purification device capable of efficiently removing dust | |
| CN109775916B (en) | Multilayer topology two-dimensional tin drinking water filtering device | |
| CN103739101A (en) | Emergency treatment device of drinking water | |
| CN108714323A (en) | A kind of water process quartz filter | |
| CN108017173A (en) | A kind of kitchen oil water separator | |
| CN211367204U (en) | Purifier filter element for purifying water quality | |
| CN208700822U (en) | water heater pre-filter | |
| CN218686907U (en) | Town sewage backflow treatment device | |
| CN215916713U (en) | Domestic sewage filtering device | |
| CN207512890U (en) | A kind of early-stage rainwater stream abandoning device |
Legal Events
| Date | Code | Title | Description |
|---|---|---|---|
| GR01 | Patent grant | ||
| GR01 | Patent grant | ||
| CF01 | Termination of patent right due to non-payment of annual fee |
Granted publication date: 20201023 |
|
| CF01 | Termination of patent right due to non-payment of annual fee |
