CN211720380U - Novel permanent magnet brushless motor's dustproof construction - Google Patents
Novel permanent magnet brushless motor's dustproof construction Download PDFInfo
- Publication number
- CN211720380U CN211720380U CN202020410192.4U CN202020410192U CN211720380U CN 211720380 U CN211720380 U CN 211720380U CN 202020410192 U CN202020410192 U CN 202020410192U CN 211720380 U CN211720380 U CN 211720380U
- Authority
- CN
- China
- Prior art keywords
- outer casing
- heat dissipation
- shaft
- fixedly installed
- seal
- Prior art date
- Legal status (The legal status is an assumption and is not a legal conclusion. Google has not performed a legal analysis and makes no representation as to the accuracy of the status listed.)
- Expired - Fee Related
Links
- 238000010276 construction Methods 0.000 title 1
- 230000017525 heat dissipation Effects 0.000 claims abstract description 54
- 238000007789 sealing Methods 0.000 claims abstract description 36
- 230000007246 mechanism Effects 0.000 claims abstract description 17
- XAGFODPZIPBFFR-UHFFFAOYSA-N aluminium Chemical compound [Al] XAGFODPZIPBFFR-UHFFFAOYSA-N 0.000 claims description 3
- 229910052782 aluminium Inorganic materials 0.000 claims description 3
- 239000000463 material Substances 0.000 claims description 2
- 239000004810 polytetrafluoroethylene Substances 0.000 claims description 2
- 229920001343 polytetrafluoroethylene Polymers 0.000 claims description 2
- 239000000428 dust Substances 0.000 abstract description 12
- 238000001816 cooling Methods 0.000 abstract description 6
- 238000000034 method Methods 0.000 description 4
- 230000000694 effects Effects 0.000 description 3
- 230000008569 process Effects 0.000 description 3
- 238000012986 modification Methods 0.000 description 2
- 230000004048 modification Effects 0.000 description 2
- 230000009471 action Effects 0.000 description 1
- 230000009286 beneficial effect Effects 0.000 description 1
- 238000004891 communication Methods 0.000 description 1
- 238000010586 diagram Methods 0.000 description 1
- 230000001939 inductive effect Effects 0.000 description 1
- 238000009434 installation Methods 0.000 description 1
- 230000003993 interaction Effects 0.000 description 1
Images
Landscapes
- Motor Or Generator Frames (AREA)
Abstract
本实用新型公开了一种新型永磁无刷电机的防尘结构,包括外壳体、轴密封件和散热机构,所述外壳体的一侧固定安装有轴密封件,所述外壳体远离轴密封件的一侧固定安装有散热机构,所述外壳体内部转动安装有输出轴,所述输出轴的一端穿过轴密封件设置,所述外壳体靠近轴密封件的一侧开设有进风口,所述进风口内嵌固定安装有防尘网,所述外壳体的内部固定安装有散热鳍片,本实用新型结构简单,轴密封件防止灰尘由输出轴与外壳体之间的缝隙进入,耐磨密封轴套在提高密封性能的同时,提高密封耐磨性能,保证轴密封件的使用寿命和密封防尘的实效,散热机构提高电机的散热性能,防尘网、及散热网板具有较好的防尘性能,实用性更强。
The utility model discloses a novel dustproof structure of a permanent magnet brushless motor, which comprises an outer casing, a shaft seal and a heat dissipation mechanism. A shaft seal is fixedly installed on one side of the outer casing, and the outer casing is far away from the shaft seal. A heat dissipation mechanism is fixedly installed on one side of the outer casing, an output shaft is rotatably installed inside the outer casing, one end of the output shaft is arranged through the shaft sealing member, and an air inlet is opened on the side of the outer casing close to the shaft sealing member, The air inlet is embedded and fixedly installed with a dust-proof net, and the inside of the outer casing is fixedly installed with cooling fins. The structure of the utility model is simple, and the shaft seal prevents dust from entering through the gap between the output shaft and the outer casing. Grinding the sealing bushing improves the sealing performance while improving the sealing wear resistance, ensuring the service life of the shaft seal and the effectiveness of sealing and dustproofing. The heat dissipation mechanism improves the heat dissipation performance of the motor. The dustproof performance is more practical.
Description
技术领域technical field
本实用新型涉及电机技术领域,具体为一种新型永磁无刷电机的防尘结构。The utility model relates to the technical field of motors, in particular to a novel dustproof structure of a permanent magnet brushless motor.
背景技术Background technique
永磁无刷电动机是通过电子电路换相或电流控制的永磁电动机。永磁无刷电动机有正弦波驱动和方波驱动两种型式;驱动电流为矩形波的通常称为永磁无刷直流电动机,驱动电流为正弦波的通常称为永磁交流伺服电动机,接传感类型可分为有传感器电动机和正传感器电动机。Permanent magnet brushless motor is a permanent magnet motor controlled by electronic circuit commutation or current. Permanent magnet brushless motor has two types of sine wave drive and square wave drive; the drive current is a rectangular wave is usually called a permanent magnet brushless DC motor, the drive current is a sine wave is usually called a permanent magnet AC servo motor. Inductive types can be divided into sensored motors and positive sensored motors.
目前电机输出轴在穿过电机壳处,电机壳与输出轴之间的间隙容易进尘,尤其是电机壳磨损严重,输出轴与电机壳之间间隙变大,进尘影响电机的使用寿命,实用性较差。At present, when the output shaft of the motor passes through the motor casing, the gap between the motor casing and the output shaft is easy to enter dust, especially the motor casing is seriously worn, and the gap between the output shaft and the motor casing becomes larger, and the dust intake affects the motor. service life and poor practicability.
实用新型内容Utility model content
本实用新型的目的在于提供一种新型永磁无刷电机的防尘结构,以解决上述背景技术中提出的目前电机输出轴在穿过电机壳处,电机壳与输出轴之间的间隙容易进尘,尤其是电机壳磨损严重,输出轴与电机壳之间间隙变大,进尘影响电机的使用寿命的问题。The purpose of this utility model is to provide a new type of dustproof structure of permanent magnet brushless motor, so as to solve the gap between the motor casing and the output shaft when the current motor output shaft passes through the motor casing proposed in the above-mentioned background art It is easy to get dust, especially the motor casing is seriously worn, the gap between the output shaft and the motor casing becomes larger, and the dust intake affects the service life of the motor.
为实现上述目的,本实用新型提供如下技术方案:一种新型永磁无刷电机的防尘结构,包括外壳体、轴密封件和散热机构,所述外壳体的一侧固定安装有轴密封件,所述外壳体远离轴密封件的一侧固定安装有散热机构,所述外壳体内部转动安装有输出轴,所述输出轴的一端穿过轴密封件设置,所述外壳体靠近轴密封件的一侧开设有进风口,所述进风口内嵌固定安装有防尘网,所述外壳体的内部固定安装有散热鳍片。In order to achieve the above purpose, the present utility model provides the following technical solutions: a novel dust-proof structure of a permanent magnet brushless motor, comprising an outer casing, a shaft seal and a heat dissipation mechanism, and a shaft seal is fixedly installed on one side of the outer casing , a heat dissipation mechanism is fixedly installed on the side of the outer casing away from the shaft seal, an output shaft is rotatably installed inside the outer casing, one end of the output shaft is arranged through the shaft seal, and the outer casing is close to the shaft seal An air inlet is opened on one side of the air inlet, a dust-proof net is embedded and fixedly installed in the air inlet, and a heat dissipation fin is fixedly installed in the inside of the outer casing.
优选的,所述轴密封件包括密封垫和耐磨密封轴套,所述外壳体靠近输出轴的一侧通过螺栓固定安装有密封垫,所述密封垫上开设有轴孔,轴孔内固定安装有耐磨密封轴套,所述输出轴的一端穿过耐磨密封轴套。Preferably, the shaft seal includes a sealing gasket and a wear-resistant sealing sleeve, a sealing gasket is fixedly installed on the side of the outer casing close to the output shaft by bolts, and a shaft hole is formed on the sealing gasket, and the shaft hole is fixedly installed There is a wear-resistant seal shaft sleeve, and one end of the output shaft passes through the wear-resistant seal shaft sleeve.
优选的,所述散热机构包括散热后罩和叶片,所述外壳体远离轴密封件的一侧固定安装有散热后罩,所述散热后罩呈圆筒形结构设置,所述散热后罩远离外壳体一侧的圆周侧壁上固定固定安装有散热网板,所述散热后罩内部远离外壳体的一侧固定安装有电动马达,所述电动马达靠近外壳体的一侧固定安装有转轴,所述转轴上固定安装有叶片。Preferably, the heat dissipation mechanism includes a heat dissipation back cover and blades, a heat dissipation back cover is fixedly installed on the side of the outer casing away from the shaft seal, the heat dissipation back cover is arranged in a cylindrical structure, and the heat dissipation back cover is far away from the shaft seal. A heat dissipation mesh plate is fixedly installed on the circumferential side wall of one side of the outer casing, an electric motor is fixedly installed in the side of the heat dissipation rear cover away from the outer casing, and a rotating shaft is fixedly installed on the side of the electric motor close to the outer casing, Blades are fixedly installed on the rotating shaft.
优选的,所述耐磨密封轴套和密封垫均呈T型结构设置。Preferably, the wear-resistant sealing shaft sleeve and the sealing gasket are both arranged in a T-shaped structure.
优选的,所述散热鳍片设置有若干,若干所述散热鳍片圆周均匀安装在外壳体内部,所述散热鳍片采用铝散热片。Preferably, a plurality of the heat dissipation fins are provided, and the plurality of the heat dissipation fins are evenly installed inside the outer casing around the circumference, and the heat dissipation fins are made of aluminum heat dissipation fins.
优选的,所述耐磨密封轴套采用聚四氟材料制成。Preferably, the wear-resistant sealing shaft sleeve is made of PTFE material.
本实用新型提供了一种新型永磁无刷电机的防尘结构。与现有技术比具备以下有益效果:The utility model provides a novel dustproof structure of a permanent magnet brushless motor. Compared with the prior art, it has the following beneficial effects:
1、该新型永磁无刷电机的防尘结构,结构简单,使用方便,通过设置的轴密封件,密封垫对输出轴穿过外壳体处进行密封,防止灰尘由输出轴与外壳体之间的缝隙进入,且在输出轴和密封垫之间安装有耐磨密封轴套,耐磨密封轴套在提高密封性能的同时,提高密封的耐磨性能,保证轴密封件的使用寿命和密封防尘的实效。1. The dust-proof structure of the new permanent magnet brushless motor is simple in structure and easy to use. The shaft seal and gasket are provided to seal the output shaft through the outer casing to prevent dust from passing between the output shaft and the outer casing. The wear-resistant sealing sleeve is installed between the output shaft and the gasket. The wear-resistant sealing sleeve can improve the sealing performance while improving the wear resistance of the seal, ensuring the service life of the shaft seal and the sealing resistance. The effect of dust.
2、该新型永磁无刷电机的防尘结构,通过设置的散热机构和进风口,电动马达驱动转轴及叶片转动,使得外壳体内外空气由进风口至散热网板之间流通,并在散热鳍片的作用下,有效提高电机的散热性能,同时进风口内嵌安装的防尘网、以及散热后罩上的散热网板具有较好的防尘性能,避免散热过程中灰尘进入,保证电机的使用寿命,实用性更强。2. The dust-proof structure of the new permanent magnet brushless motor, through the heat dissipation mechanism and the air inlet, the electric motor drives the shaft and the blades to rotate, so that the air inside and outside the casing circulates from the air inlet to the heat dissipation screen plate, and dissipates heat. Under the action of the fins, the heat dissipation performance of the motor is effectively improved. At the same time, the dustproof net installed in the air inlet and the heat dissipation screen plate on the heat dissipation rear cover have good dustproof performance, which can prevent dust from entering during the heat dissipation process and ensure the motor longer life and more practical.
附图说明Description of drawings
图1为本实用新型结构示意图;Fig. 1 is the structural representation of the utility model;
图2为本实用新型的结构侧视图;Fig. 2 is the structural side view of the utility model;
图3为本实用新型的A处的结构示意图。FIG. 3 is a schematic structural diagram of the A part of the present invention.
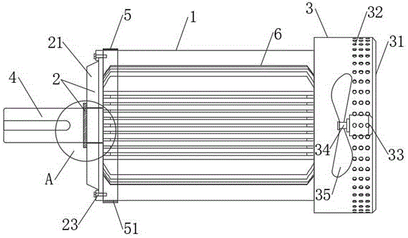
图中:1、外壳体;2、轴密封件;21、密封垫;22、耐磨密封轴套;23、螺栓;3、散热机构;31、散热后罩;32、散热网板;33、电动马达;34、转轴;35、叶片;4、输出轴;5、进风口;51、防尘网;6、散热鳍片。In the figure: 1. Outer shell; 2. Shaft seal; 21. Gasket; 22. Wear-resistant seal shaft sleeve; 23. Bolt; 3. Heat dissipation mechanism; 31. Heat dissipation rear cover; Electric motor; 34, shaft; 35, blade; 4, output shaft; 5, air inlet; 51, dust filter; 6, cooling fins.
具体实施方式Detailed ways
下面将结合本实用新型实施例中的附图,对本实用新型实施例中的技术方案进行清楚、完整地描述,显然,所描述的实施例仅仅是本实用新型一部分实施例,而不是全部的实施例。基于本实用新型中的实施例,本领域普通技术人员在没有做出创造性劳动前提下所获得的所有其他实施例,都属于本实用新型保护的范围。The technical solutions in the embodiments of the present utility model will be clearly and completely described below with reference to the accompanying drawings in the embodiments of the present utility model. Obviously, the described embodiments are only a part of the embodiments of the present utility model, rather than all the implementations. example. Based on the embodiments of the present invention, all other embodiments obtained by those of ordinary skill in the art without creative work fall within the protection scope of the present invention.
请参阅图1-3,本实用新型提供一种技术方案:一种新型永磁无刷电机的防尘结构,包括外壳体1、轴密封件2和散热机构3,所述外壳体1的一侧固定安装有轴密封件2,所述外壳体1远离轴密封件2的一侧固定安装有散热机构3,所述外壳体1内部转动安装有输出轴4,所述输出轴4的一端穿过轴密封件2设置,所述外壳体1靠近轴密封件2的一侧开设有进风口5,所述进风口5内嵌固定安装有防尘网51,所述外壳体1的内部固定安装有散热鳍片6。1-3, the present utility model provides a technical solution: a novel dustproof structure of a permanent magnet brushless motor, comprising an
所述轴密封件2包括密封垫21和耐磨密封轴套22,所述外壳体1靠近输出轴4的一侧通过螺栓23固定安装有密封垫21,所述密封垫21上开设有轴孔,轴孔内固定安装有耐磨密封轴套22,所述输出轴4的一端穿过耐磨密封轴套22,对电机的输出轴4进行密封,防止进尘,所述散热机构3包括散热后罩31和叶片35,所述外壳体1远离轴密封件2的一侧固定安装有散热后罩31,所述散热后罩31呈圆筒形结构设置,所述散热后罩31远离外壳体1一侧的圆周侧壁上固定固定安装有散热网板32,所述散热后罩31内部远离外壳体1的一侧固定安装有电动马达33,所述电动马达33靠近外壳体1的一侧固定安装有转轴34,所述转轴34上固定安装有叶片35,散热机构3使得电机具体良好的散热性能,且散热机构3本身采取了防尘的措施,所述耐磨密封轴套22和密封垫21均呈T型结构设置,T型结构的密封垫21与T型结构的耐磨密封轴套22呈阶梯型设置,密封性更好,所述散热鳍片6设置有若干,若干所述散热鳍片6圆周均匀安装在外壳体1内部,所述散热鳍片6采用铝散热片,性价比高,所述耐磨密封轴套22采用聚四氟材料制成,耐磨性能好,且材料本身具有自润滑性能。The
工作原理:使用时,通过螺栓23将密封垫21与外壳体1的一侧固定安装,由于密封垫21上开设有轴孔,轴孔内固定安装有耐磨密封轴套22,输出轴4的一端穿过耐磨密封轴套22,且耐磨密封轴套22和密封垫21均呈T型结构设置,密封垫21和耐磨密封轴套22对输出轴4穿过外壳体1处进行密封,防止灰尘由输出轴4与外壳体1之间的缝隙进入,耐磨密封轴套22在提高密封性能的同时,提高密封的耐磨性能,保证轴密封件2的使用寿命和密封防尘的实效,电动马达33转动驱动转轴34及叶片35转动,外部低温空气由进风口5经过防尘网51过滤后进入外壳体1内,内部高温空气由散热后罩31上的散热网板32排出,促进电机外壳体1内空气流通,并且空气在外壳体1内部流通的过程中,散热鳍片6增加流通散热的效果,有效提高电机的散热性能,同时进风口5内嵌安装的防尘网51、以及散热后罩31上的散热网板32具有较好的防尘性能,避免散热过程中灰尘进入,保证电机的使用寿命,实用性更强。Working principle: When in use, the sealing
在本实用新型的描述中,需要理解的是,术语“同轴”、“底部”、“一端”、“顶部”、“中部”、“另一端”、“上”、“一侧”、“顶部”、“内”、“前部”、“中央”、“两端”等指示的方位或位置关系为基于附图所示的方位或位置关系,仅是为了便于描述本实用新型和简化描述,而不是指示或暗示所指的装置或元件必须具有特定的方位、以特定的方位构造和操作,因此不能理解为对本实用新型的限制。In the description of the present invention, it should be understood that the terms "coaxial", "bottom", "one end", "top", "middle", "the other end", "upper", "one side", " The orientation or positional relationship indicated by "top", "inside", "front", "center", "both ends", etc. is based on the orientation or positional relationship shown in the accompanying drawings, and is only for the convenience of describing the present invention and simplifying the description , rather than indicating or implying that the referred device or element must have a specific orientation, be constructed and operated in a specific orientation, and therefore cannot be construed as a limitation on the present invention.
此外,术语“第一”、“第二”、“第三”、“第四”仅用于描述目的,而不能理解为指示或暗示相对重要性或者隐含指明所指示的技术特征的数量,由此,限定有“第一”、“第二”、“第三”、“第四”的特征可以明示或者隐含地包括至少一个该特征。In addition, the terms "first", "second", "third", "fourth" are only used for descriptive purposes and should not be understood as indicating or implying relative importance or implying the number of technical features indicated, Thus, features defined as "first", "second", "third", "fourth" may expressly or implicitly include at least one of such features.
在本实用新型中,除非另有明确的规定和限定,术语“安装”、“设置”、“连接”、“固定”、“旋接”等术语应做广义理解,例如,可以是固定连接,也可以是可拆卸连接,或成一体;可以是机械连接,也可以是电连接;可以是直接相连,也可以通过中间媒介间接相连,可以是两个元件内部的连通或两个元件的相互作用关系,除非另有明确的限定,对于本领域的普通技术人员而言,可以根据具体情况理解上述术语在本实用新型中的具体含义。In the present utility model, unless otherwise expressly specified and limited, terms such as "installation", "arrangement", "connection", "fixation", "swivel connection" should be understood in a broad sense, for example, it may be a fixed connection, It can also be detachable connection or integrated; it can be mechanical connection or electrical connection; it can be directly connected or indirectly connected through an intermediate medium, it can be the internal communication of two elements or the interaction of two elements Unless otherwise clearly defined, those of ordinary skill in the art can understand the specific meanings of the above terms in the present invention according to specific situations.
尽管已经示出和描述了本实用新型的实施例,对于本领域的普通技术人员而言,可以理解在不脱离本实用新型的原理和精神的情况下可以对这些实施例进行多种变化、修改、替换和变型,本实用新型的范围由所附权利要求及其等同物限定。Although the embodiments of the present invention have been shown and described, it will be understood by those skilled in the art that various changes and modifications can be made to these embodiments without departing from the principles and spirit of the present invention , alternatives and modifications, the scope of the present invention is defined by the appended claims and their equivalents.
Claims (6)
Priority Applications (1)
| Application Number | Priority Date | Filing Date | Title |
|---|---|---|---|
| CN202020410192.4U CN211720380U (en) | 2020-03-27 | 2020-03-27 | Novel permanent magnet brushless motor's dustproof construction |
Applications Claiming Priority (1)
| Application Number | Priority Date | Filing Date | Title |
|---|---|---|---|
| CN202020410192.4U CN211720380U (en) | 2020-03-27 | 2020-03-27 | Novel permanent magnet brushless motor's dustproof construction |
Publications (1)
| Publication Number | Publication Date |
|---|---|
| CN211720380U true CN211720380U (en) | 2020-10-20 |
Family
ID=72834986
Family Applications (1)
| Application Number | Title | Priority Date | Filing Date |
|---|---|---|---|
| CN202020410192.4U Expired - Fee Related CN211720380U (en) | 2020-03-27 | 2020-03-27 | Novel permanent magnet brushless motor's dustproof construction |
Country Status (1)
| Country | Link |
|---|---|
| CN (1) | CN211720380U (en) |
Cited By (2)
| Publication number | Priority date | Publication date | Assignee | Title |
|---|---|---|---|---|
| CN112260443A (en) * | 2020-10-26 | 2021-01-22 | 乐开秀 | Mobile motor with shutdown shaft closing mechanism and use method thereof |
| CN113054781A (en) * | 2021-04-02 | 2021-06-29 | 无锡市新友金属制品有限公司 | Special aluminum profile material piece for producing automobile motor shell |
-
2020
- 2020-03-27 CN CN202020410192.4U patent/CN211720380U/en not_active Expired - Fee Related
Cited By (2)
| Publication number | Priority date | Publication date | Assignee | Title |
|---|---|---|---|---|
| CN112260443A (en) * | 2020-10-26 | 2021-01-22 | 乐开秀 | Mobile motor with shutdown shaft closing mechanism and use method thereof |
| CN113054781A (en) * | 2021-04-02 | 2021-06-29 | 无锡市新友金属制品有限公司 | Special aluminum profile material piece for producing automobile motor shell |
Similar Documents
| Publication | Publication Date | Title |
|---|---|---|
| CN210053328U (en) | Energy-saving three-phase asynchronous motor | |
| CN211720380U (en) | Novel permanent magnet brushless motor's dustproof construction | |
| CN108377064A (en) | A kind of high-efficient heat-dissipating permanent magnetic brushless suitable for ship | |
| CN218526172U (en) | Linear motor with double cooling | |
| CN216564766U (en) | Driving structure of fan | |
| CN209748324U (en) | high efficiency is spindle drive motor for vertical machining center | |
| CN217873352U (en) | A wet and dry fully enclosed brushless electric fan | |
| CN211239550U (en) | Long-life low-resistance power-saving motor | |
| CN210839171U (en) | Brushless motor wear-resistant rotor structure | |
| CN114928201A (en) | Inside and outside ventilation cooling structure of air cooling island permanent-magnet machine | |
| CN210839095U (en) | Rotor structure of anti-collision brushless motor | |
| CN210111788U (en) | Efficient high-voltage generator wind path | |
| WO2020253173A1 (en) | All-terrain vehicle | |
| CN114024395A (en) | High-efficiency environment-friendly intelligent permanent magnet motor | |
| CN218771562U (en) | A brushless external motor | |
| CN214543989U (en) | A dust-proof device for a motor | |
| CN222582168U (en) | Dry-wet type BLDC cleaning motor | |
| CN221886183U (en) | High heat dissipation automobile generator shell device | |
| CN218678719U (en) | High power top cooling motor | |
| CN218102829U (en) | Temperature protection device for single-phase motor | |
| CN221900680U (en) | High-efficiency motor with self-cooling function | |
| CN223436996U (en) | Overheat-proof high-frequency motor | |
| CN217563436U (en) | Single-phase motor with heat radiation structure | |
| CN221806661U (en) | Heat dissipation unit permanent magnet motor | |
| CN223379497U (en) | control cabinet |
Legal Events
| Date | Code | Title | Description |
|---|---|---|---|
| GR01 | Patent grant | ||
| GR01 | Patent grant | ||
| TR01 | Transfer of patent right | ||
| TR01 | Transfer of patent right |
Effective date of registration: 20230911 Address after: Building 2, Small and Medium Enterprise Park, Wanying Town, Dafeng District, Yancheng City, Jiangsu Province, 224000 Patentee after: Yancheng Yingyun Textile Co.,Ltd. Address before: 212300 Dianxian Industrial Park, Danyang City, Zhenjiang City, Jiangsu Province Patentee before: JIANGSU XINTONG AUTO PARTS CO.,LTD. |
|
| CF01 | Termination of patent right due to non-payment of annual fee | ||
| CF01 | Termination of patent right due to non-payment of annual fee |
Granted publication date: 20201020 |
