CN211701243U - A jumper spacer bar electrified defect elimination device - Google Patents
A jumper spacer bar electrified defect elimination device Download PDFInfo
- Publication number
- CN211701243U CN211701243U CN202020180578.0U CN202020180578U CN211701243U CN 211701243 U CN211701243 U CN 211701243U CN 202020180578 U CN202020180578 U CN 202020180578U CN 211701243 U CN211701243 U CN 211701243U
- Authority
- CN
- China
- Prior art keywords
- unit
- defect elimination
- elimination device
- jumper
- transmission unit
- Prior art date
- Legal status (The legal status is an assumption and is not a legal conclusion. Google has not performed a legal analysis and makes no representation as to the accuracy of the status listed.)
- Active
Links
Images
Landscapes
- Suspension Of Electric Lines Or Cables (AREA)
Abstract
本实用新型涉及一种跳线间隔棒带电消缺装置,包括支撑块、传动单元、线夹单元和用于实现线夹单元夹紧和张开的操作单元;所述的传动单元和线夹单元均安装在支撑块上;所述的线夹单元还与传动单元相连;所述的传动单元与操作单元进行可拆卸连接,消缺装置安装在已损坏的间隔棒附近,线夹单元分别夹紧两条需要进行间隔操作的子导线,实现间隔棒带电消缺。与现有技术相比,本实用新型具有作业方式简单、安全性好、对原跳线间隔棒无影响、实用性好、可带电消缺等优点。
The utility model relates to an electrified defect elimination device for jumper spacers, comprising a support block, a transmission unit, a wire clamp unit and an operation unit for realizing clamping and opening of the wire clamp unit; the transmission unit and the wire clamp unit are installed on the support block; the wire clamp unit is also connected with the transmission unit; the transmission unit and the operation unit are detachably connected, the missing device is installed near the damaged spacer bar, and the wire clamp unit is respectively clamped Two sub-conductors that need to be spaced to achieve live elimination of spacers. Compared with the prior art, the utility model has the advantages of simple operation mode, good safety, no influence on the original jumper spacer, good practicability, and can be electrified and eliminated.
Description
技术领域technical field
本实用新型涉及输电线路运行维护技术领域,尤其是涉及一种跳线间隔棒带电消缺装置。The utility model relates to the technical field of operation and maintenance of power transmission lines, in particular to an electrified defect elimination device for jumper spacers.
背景技术Background technique
间隔棒是指安装在分裂导向上,固定各分裂导向间的间距,以防止导向互相鞭击、抑制微风振动和次档距振荡的金具,在线路中起着相间绝缘间隔与支承连接的作用。在检修人员进行无人机巡视时,发现一条500kV输电线的上相跳线悬垂串导线端子导线线夹损坏,子导线即将脱出。这一缺陷属于危急缺陷,对线路安全运行造成巨大的威胁,子导线的脱落随时可能会引起对中相横担安全距离不足而产生跳闸事故导致线路停电,需要立即抢修。The spacer bar is a metal fitting installed on the split guide to fix the spacing between the split guides to prevent the guides from whipping each other, suppress breeze vibration and secondary pitch oscillation, and play the role of phase-to-phase insulation spacing and support connection in the line. When the maintenance personnel conducted a drone inspection, they found that the upper phase jumper of a 500kV transmission line was damaged and the wire clip of the hanging string wire terminal was damaged, and the sub-conductor was about to come out. This defect is a critical defect, which poses a huge threat to the safe operation of the line. The falling off of the sub-conductor may cause a tripping accident due to insufficient safety distance of the neutral-phase cross-arm at any time, resulting in a power failure of the line, which needs to be repaired immediately.
带电作业由于不影响线路供电,又能消除线路缺陷成为线路主流作业手法。但有时对于某些线路位于跳线绝缘子串需要等电位工作时,例如三相线路中相,可能因组合间隙的安全距离不足,无法采取带电作业而必须停用电网来解决问题。Live operation has become the mainstream operation method of the line because it does not affect the power supply of the line and can eliminate line defects. But sometimes when some lines are located in the jumper insulator string and need equipotential work, such as the middle phase of the three-phase line, the safety distance of the combined gap may be insufficient, and live work cannot be performed, and the power grid must be stopped to solve the problem.
实用新型内容Utility model content
本实用新型的目的就是为了克服上述现有技术存在的缺陷而提供一种作业方式简单,易实现、安全性好、实用性好的跳线间隔棒带电消缺装置。The purpose of the present utility model is to provide a device for eliminating electrical defects of jumper spacers with simple operation mode, easy implementation, good safety and good practicability in order to overcome the above-mentioned defects of the prior art.
本实用新型的目的可以通过以下技术方案来实现:The purpose of the present utility model can be achieved through the following technical solutions:
一种跳线间隔棒带电消缺装置,包括支撑块、传动单元、线夹单元和用于实现线夹单元夹紧和张开的操作单元;所述的传动单元和线夹单元均安装在支撑块上;所述的线夹单元还与传动单元相连;所述的传动单元与操作单元进行可拆卸连接,所述的消缺装置安装在已损坏的间隔棒附近,线夹单元分别夹紧两条需要进行间隔操作的子导线,实现间隔棒带电消缺。A jumper spacer bar electrified defect elimination device, comprising a support block, a transmission unit, a wire clamp unit and an operation unit for realizing the clamping and opening of the wire clamp unit; the transmission unit and the wire clamp unit are installed on the support The wire clamp unit is also connected with the transmission unit; the transmission unit is detachably connected with the operation unit, the missing device is installed near the damaged spacer bar, and the wire clamp unit clamps two A sub-conductor that needs to be spaced to achieve electrified elimination of spacers.
优选地,所述的线夹单元的数量为两个,分别安装在支撑块的两端。Preferably, the number of the wire clip units is two, which are respectively installed at both ends of the support block.
更加优选地,所述的线夹单元包括第一夹爪和第二夹爪;所述的第一夹爪与支撑块固定连接;所述的第二夹爪与支撑块滑动连接;所述的第一夹爪和第二夹爪分别与传动单元相连。More preferably, the wire clamp unit includes a first clamping claw and a second clamping claw; the first clamping claw is fixedly connected with the support block; the second clamping claw is slidably connected with the support block; the The first clamping jaw and the second clamping jaw are respectively connected with the transmission unit.
优选地,所述的消缺装置设有用于使线夹单元夹紧线束的限位螺母;所述的限位螺母安装在传动单元上。Preferably, the defect elimination device is provided with a limit nut for clamping the wire harness by the wire clamp unit; the limit nut is installed on the transmission unit.
优选地,所述的传动单元为螺杆。Preferably, the transmission unit is a screw.
优选地,所述的操作单元包括操作杆和操作杆连接部;所述的操作杆连接部通过螺栓安装在操作杆上;所述的操作杆连接部上设有U型槽。Preferably, the operating unit includes an operating rod and an operating rod connecting part; the operating rod connecting part is mounted on the operating rod through bolts; the operating rod connecting part is provided with a U-shaped groove.
更加优选地,所述的消缺装置设有接头紧固部,该紧固部焊接在传动单元的一端;所述的接头紧固部上设有与U型槽相匹配的一字型突起。More preferably, the defect elimination device is provided with a joint fastening part, and the fastening part is welded to one end of the transmission unit; the joint fastening part is provided with a straight-line protrusion matching the U-shaped groove.
更加优选地,所述的操作杆为由绝缘材料制成的操作杆或包裹绝缘皮的操作杆。More preferably, the operating rod is an operating rod made of insulating material or an operating rod wrapped with an insulating skin.
优选地,所述的消缺装置设有用于将消缺装置悬挂在间隔棒损坏处的悬挂单元;所述的悬挂单元通过螺纹固定在支撑块上。Preferably, the defect elimination device is provided with a suspension unit for suspending the defect elimination device at the damaged spacer bar; the suspension unit is fixed on the support block through threads.
更加优选地,所述的悬挂单元为圆环结构。More preferably, the suspension unit is a ring structure.
与现有技术相比,本实用新型具有以下优点:Compared with the prior art, the utility model has the following advantages:
一、作业方式简单,易实现:本实用新型采用绝缘绳将装置吊至安装位置,操作杆将其紧固,实现跳线间隔棒损坏的消缺作业,与传统的停电作业相比,无须申请停电作业,只要两人在横担上操作即可完成,作业方式简单,易实现。1. The operation method is simple and easy to realize: the utility model adopts the insulating rope to hoist the device to the installation position, and the operating rod fastens it to realize the operation of eliminating the damage of the jumper and the spacer. Compared with the traditional power failure operation, no application is required. The power failure operation can be completed as long as two people operate on the cross arm, and the operation method is simple and easy to realize.
二、安全性好:本实用新型中的线夹可以通过操作杆实现夹紧和张开操作,操作人员手持绝缘操作杆作业,提高了装置的安全性。2. Good safety: the wire clip in the utility model can be clamped and opened through the operating rod, and the operator can hold the insulating operating rod to work, which improves the safety of the device.
三、对原跳线间隔棒无影响:本实用新型中的消缺装置在消缺过程中安装于已损坏的跳线间隔棒附近,代替跳线间隔棒损坏部分支撑跳线子导线,起到紧急消缺作用,对原有的条线间隔棒无影响。3. No effect on the original jumper spacer: the defect elimination device in the utility model is installed near the damaged jumper spacer in the process of eliminating the defect, and replaces the damaged part of the jumper spacer to support the jumper sub-conductor, which plays a role in The function of emergency elimination has no effect on the original line spacer.
四、实用性好:本实用新型中的消缺装置用于解除跳线处间隔棒损坏的缺陷,并且可以根据不同电压等级的要求,更改该消缺装置尺寸,应用于各个各电压等级。4. Good practicability: The defect elimination device in the utility model is used to relieve the defect of damage to the spacer bar at the jumper, and the size of the defect elimination device can be changed according to the requirements of different voltage levels, and it can be applied to each voltage level.
五、可进行带电消缺:本实用新型中的消缺装置使用绝缘绳将装置悬挂在待消缺处,然后使用绝缘操作杆完成线夹的夹紧操作,整个过程无需申请线路停电,作业时间短,工作效率高,保障了高压电网的安全稳定。5. Can be charged to eliminate defects: the defect elimination device in the utility model uses an insulating rope to suspend the device at the place to be eliminated, and then uses an insulating operating rod to complete the clamping operation of the wire clip. The whole process does not need to apply for line power failure, and the operation time It is short and has high work efficiency, which ensures the safety and stability of the high-voltage power grid.
附图说明Description of drawings
图1为本实用新型中消缺装置的结构示意图;Fig. 1 is the structural representation of the defect elimination device in the utility model;
图2为本实用新型中线夹单元的结构示意图;Fig. 2 is the structural representation of the utility model center line clamp unit;
图3为本实用新型中操作杆的结构示意图;Fig. 3 is the structural representation of the operating lever in the utility model;
图4为本实用新型中操作杆连接部的结构示意图;4 is a schematic structural diagram of a connecting portion of an operating rod in the utility model;
图5为本实用新型中悬挂单元的结构示意图。FIG. 5 is a schematic structural diagram of a suspension unit in the present invention.
图中标号所示:The numbers in the figure show:
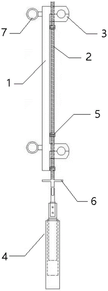
1、支撑块,2、传动单元,3、线夹单元,4、操作单元,5、限位螺母,6、接头紧固部,7、悬挂单元,301、第一夹爪,302、第二夹爪,401、操作杆,402、操作杆连接部。1. Support block, 2. Transmission unit, 3. Clamp unit, 4. Operating unit, 5. Limit nut, 6. Joint fastening part, 7. Suspension unit, 301, First gripper, 302, Second The clamping jaw, 401, the operating rod, 402, the connecting part of the operating rod.
具体实施方式Detailed ways
下面将结合本实用新型实施例中的附图,对本实用新型实施例中的技术方案进行清楚、完整地描述,显然,所描述的实施例是本实用新型的一部分实施例,而不是全部实施例。基于本实用新型中的实施例,本领域普通技术人员在没有做出创造性劳动的前提下所获得的所有其他实施例,都应属于本实用新型保护的范围。The technical solutions in the embodiments of the present utility model will be clearly and completely described below with reference to the accompanying drawings in the embodiments of the present utility model. Obviously, the described embodiments are a part of the embodiments of the present utility model, rather than all the embodiments. . Based on the embodiments of the present invention, all other embodiments obtained by those of ordinary skill in the art without creative work shall fall within the protection scope of the present invention.
本实用新型涉及一种跳线间隔棒带电消缺装置,其结构如图1所示,包括支撑块1、传动单元2、线夹单元3和用于实现线夹单元3夹紧和张开的操作单元4。传动单元2和线夹单元3均安装在支撑块1上,线夹单元3还与传动单元2相连,传动单元2与操作单元4进行可拆卸连接。The utility model relates to an electrified defect elimination device for jumper spacers, the structure of which is shown in FIG. Operating unit 4. The
线夹单元3的数量为两个,分别安装在支撑块1的两端。线夹单元的结构如图 2所示,包括第一夹爪301和第二夹爪302,第一夹爪301与支撑块1固定连接,第二夹爪302与支撑块1滑动连接,第一夹爪301和第二夹爪302分别与传动单元 2相连。The number of the
在传动单元2上设有限位螺母5,本实施例中限位螺母5的数量为三个,分别安装在传动单元2上。位于传动单元2两端的限位螺母用于实现夹爪的夹紧操作,位于传动单元2中间位置的限位螺母用于对传动单元进行限位。The
本实施例中的传动单元2为螺杆。The
操作单元4包括操作杆401和操作杆连接部402,操作杆401的结构如图3所示,操作杆连接部402的结构如图4所示,操作杆连接部402通过螺栓安装在操作杆401上,操作杆连接部402上设有U型槽。The operation unit 4 includes an
消缺装置设有接头紧固部6,该紧固部焊接在传动单元2的一端,接头紧固部 6上设有与U型槽相匹配的一字型突起。The defect elimination device is provided with a
本实施例中的操作杆401为由绝缘材料制成的操作杆或包裹绝缘皮的操作杆。The operating
本实施例中的消缺装置还设有用于将消缺装置悬挂在间隔棒损坏处的悬挂单元7,该单元通过螺纹固定在支撑块1上。悬挂单元7的结构如图5所示,本实施例中的悬挂单元7采用圆环结构。The defect elimination device in this embodiment is further provided with a
本实施例中关键部件的尺寸具体为:The dimensions of the key components in this embodiment are specifically:
支撑块:长535mm,宽40mm,厚28mm;Support block: length 535mm, width 40mm, thickness 28mm;
悬挂单元:外径50mm,内径28mm,两个悬挂单元分别固定在距支撑块两侧 5mm处;Suspension unit: the outer diameter is 50mm, the inner diameter is 28mm, and the two suspension units are respectively fixed at 5mm from both sides of the support block;
线夹单元夹爪:外径58mm,内径30mm的C型线夹;Wire clamp unit clamping jaw: C-type wire clamp with an outer diameter of 58mm and an inner diameter of 30mm;
传动单元:长650mm,直径10mm的螺杆,在螺杆的60mm、178mm和532mm 处分别安装限位螺母;Transmission unit: screw with a length of 650mm and a diameter of 10mm. Install limit nuts at 60mm, 178mm and 532mm of the screw;
接头紧固部:长32mm,宽32mm的十字接头,焊接在螺杆上。Joint fastening part: a cross joint with a length of 32mm and a width of 32mm, welded on the screw.
在操作人员进行工作时具有以下要求:There are the following requirements when the operator is working:
要求1:在天气良好情况下进行消缺作业;Requirement 1: Carry out deficiencies in good weather;
要求2:参加消缺的带电操作人员应经过专门带电作业培训和工器具使用培训,并经考试合格;Requirement 2: The live operators who participate in the elimination of the shortage should have undergone special live work training and tool use training, and have passed the examination;
要求3:现场设有带电作业专责监护人;Requirement 3: There is a dedicated guardian for live work on site;
要求4:作业前对绝缘操作杆进行性能测试。Requirement 4: Perform a performance test on the insulating operating rod before operation.
本实施例中的消缺装置的具体操作过程为:The specific operation process of the defect elimination device in this embodiment is as follows:
步骤1:现场工器具通过专用帆布铺装,并进行作业前工器具和屏蔽服的最后检查;Step 1: On-site tools and equipment are paved with special canvas, and the final inspection of tools and shielding clothing before operation is carried out;
步骤2:两名作业人员身穿屏蔽服,携带绝缘操作杆登塔;Step 2: Two operators wear shielded suits and carry insulating operating rods to the tower;
步骤3:一名操作人员用绝缘绳将消缺装置吊至损坏跳线间隔棒处;Step 3: An operator lifts the defect elimination device to the damaged jumper spacer with an insulating rope;
步骤4:另一名操作人员用将操作杆连接部通过螺栓固定在操作杆上,然后将操作杆连接部与接头紧固部相连,旋转操作杆,直至将线束夹紧;Step 4: Another operator fixes the connecting part of the operating rod on the operating rod with bolts, then connects the connecting part of the operating rod with the fastening part of the joint, and rotates the operating rod until the wire harness is clamped;
步骤5:操作人员下塔,工器具整理归纳,完成消缺作业。Step 5: The operator goes down the tower, the tools are sorted and summarized, and the defect elimination operation is completed.
以上所述,仅为本实用新型的具体实施方式,但本实用新型的保护范围并不局限于此,任何熟悉本技术领域的技术人员在本实用新型揭露的技术范围内,可轻易想到各种等效的修改或替换,这些修改或替换都应涵盖在本实用新型的保护范围之内。因此,本实用新型的保护范围应以权利要求的保护范围为准。The above are only specific embodiments of the present invention, but the protection scope of the present invention is not limited to this. Equivalent modifications or replacements should be included within the protection scope of the present invention. Therefore, the protection scope of the present invention should be subject to the protection scope of the claims.
Claims (10)
Priority Applications (1)
| Application Number | Priority Date | Filing Date | Title |
|---|---|---|---|
| CN202020180578.0U CN211701243U (en) | 2020-02-18 | 2020-02-18 | A jumper spacer bar electrified defect elimination device |
Applications Claiming Priority (1)
| Application Number | Priority Date | Filing Date | Title |
|---|---|---|---|
| CN202020180578.0U CN211701243U (en) | 2020-02-18 | 2020-02-18 | A jumper spacer bar electrified defect elimination device |
Publications (1)
| Publication Number | Publication Date |
|---|---|
| CN211701243U true CN211701243U (en) | 2020-10-16 |
Family
ID=72777131
Family Applications (1)
| Application Number | Title | Priority Date | Filing Date |
|---|---|---|---|
| CN202020180578.0U Active CN211701243U (en) | 2020-02-18 | 2020-02-18 | A jumper spacer bar electrified defect elimination device |
Country Status (1)
| Country | Link |
|---|---|
| CN (1) | CN211701243U (en) |
Cited By (1)
| Publication number | Priority date | Publication date | Assignee | Title |
|---|---|---|---|---|
| CN111313318A (en) * | 2020-02-18 | 2020-06-19 | 国网上海市电力公司 | A jumper spacer bar electrified defect elimination device |
-
2020
- 2020-02-18 CN CN202020180578.0U patent/CN211701243U/en active Active
Cited By (2)
| Publication number | Priority date | Publication date | Assignee | Title |
|---|---|---|---|---|
| CN111313318A (en) * | 2020-02-18 | 2020-06-19 | 国网上海市电力公司 | A jumper spacer bar electrified defect elimination device |
| CN111313318B (en) * | 2020-02-18 | 2025-01-03 | 国网上海市电力公司 | A kind of live fault elimination device for jumper spacer |
Similar Documents
| Publication | Publication Date | Title |
|---|---|---|
| WO2012088987A1 (en) | Maintenance tool for insulator of direct current transmission line | |
| CN103618251A (en) | Technology for electrified overhaul of +-800kV ultrahigh voltage direct-current transmission line | |
| CN104505766B (en) | The instrument and method of a kind of charged for replacement transformer station 500kV strain insulator strings | |
| CN207765885U (en) | A kind of 10kV aerial condutors lifting device | |
| WO2016023141A1 (en) | Process for live replacement of tension hard-tube bus-bar jumper insulator of +/- 800kv ultra-high-voltage dc transmission line | |
| CN103066526B (en) | A kind of ground connection line method and separated earthing instrument for ultra-high-tension power transmission line | |
| CN107104387A (en) | One kind can second lift wire insulation cross-arm and lifting wire method | |
| WO2012088986A1 (en) | Maintenance tool used for direct current transmission line | |
| CN105932599A (en) | Tool set capable of replacing insulator chain of ultra-high-voltage transmission line under electrified state and use method for tool set | |
| CN102545094A (en) | Method for changing tension simulators from live 10kV power supply line | |
| CN103606854A (en) | Operating method for replacing tension insulator on super and ultra-high voltage direct current transmission line in electrified mode | |
| CN108899801B (en) | Bypass operation method based on distribution line maintenance and matched operation device thereof | |
| CN211701243U (en) | A jumper spacer bar electrified defect elimination device | |
| CN110120643A (en) | A kind of ground potential distribution power circuit uninterrupted operation method | |
| CN103474909B (en) | Drainage thread supports the method for expansion live-line replacing multiloop strain insulator string | |
| CN201113303Y (en) | Live replacement device for tension insulator strings used in high voltage transmission lines | |
| CN106033872B (en) | Equipotential changes the instrument of the double soft bus strain insulators of simply connected | |
| CN204424804U (en) | Equipotential changes the instrument of the two soft bus strain insulator of simply connected | |
| CN106207885A (en) | The short circuit fixture of charged for replacement 220kV pipe bus telescoping wire clamp and method | |
| CN102623927A (en) | Tools and methods for live replacement of 220kV line multi-circuit double-split conductor insulators | |
| CN202602171U (en) | A tool for power-on replacing multi-loop double split conductor insulator of 220kV line | |
| CN111313318A (en) | A jumper spacer bar electrified defect elimination device | |
| CN208094073U (en) | Distribution network live line work dedicated pin fixing bracket | |
| CN105449612A (en) | A conductive wire insulation support plate apparatus | |
| CN201234089Y (en) | Protective interval for live operation on 1000kV AC very high voltage line |
Legal Events
| Date | Code | Title | Description |
|---|---|---|---|
| GR01 | Patent grant | ||
| GR01 | Patent grant |
