CN211691568U - A kind of protective device for reserved openings in buildings - Google Patents
A kind of protective device for reserved openings in buildings Download PDFInfo
- Publication number
- CN211691568U CN211691568U CN201921788029.5U CN201921788029U CN211691568U CN 211691568 U CN211691568 U CN 211691568U CN 201921788029 U CN201921788029 U CN 201921788029U CN 211691568 U CN211691568 U CN 211691568U
- Authority
- CN
- China
- Prior art keywords
- hole
- main plate
- reserved
- reserved hole
- fixing
- Prior art date
- Legal status (The legal status is an assumption and is not a legal conclusion. Google has not performed a legal analysis and makes no representation as to the accuracy of the status listed.)
- Expired - Fee Related
Links
Images
Landscapes
- Tents Or Canopies (AREA)
Abstract
本实用新型公开了一种建筑预留洞口防护装置,包括覆盖在预留洞口上的盖板,所述盖板包括中部的主板和位于主板左右两侧的辅板,主板中部竖向开有贯穿主板的轴孔并套装有轴承,所述轴孔左右两侧的主板中部均向外开有滑腔,所述辅板的内端均套装在对应的滑腔内并可沿滑腔滑动,所述预留洞口内设置有固定机构,本实用新型不易被破坏、易安装、牢固、持久性强,有效的解决了现有洞口防护只能使用一次,不能同时满足多种尺寸的洞口循环利用的问题。
The utility model discloses a protection device for a reserved hole in a building, which comprises a cover plate covering the reserved hole. The cover plate includes a main board in the middle and auxiliary boards located on the left and right sides of the main board. The shaft hole of the main plate is also sleeved with bearings, the middle of the main plate on the left and right sides of the shaft hole is opened with a sliding cavity outward, and the inner ends of the auxiliary plates are all sleeved in the corresponding sliding cavity and can slide along the sliding cavity, so The reserved hole is provided with a fixing mechanism, the utility model is not easy to be damaged, easy to install, firm and durable, and effectively solves the problem that the existing hole protection can only be used once and cannot meet the recycling of holes of various sizes at the same time. question.
Description
技术领域technical field
本实用新型属于建筑防护装置技术领域,具体涉及一种建筑预留洞口防护装置。The utility model belongs to the technical field of building protective devices, in particular to a protective device for reserved openings in buildings.
背景技术Background technique
在钢筋混凝土结构工程施工过程中,楼层与楼层之间的楼板上会预留洞口,用于吊装运输建筑材料,而如果在不使用时未及时对洞口进行防护或对洞口防护不当,会对施工人员留下高处坠落、物体打击等过多危及生命的隐患。通常的防护措施是针对尺寸较小的洞口多是采用胶合板和木方做来临时的防护,针对尺寸较大的洞口,在使用胶合板和不放做临时防护后,还需要在其周围搭设加收钢管围栏进行防护,然而这种洞口防护容易被损坏、易被移动、不牢固,需要经常维护,而且这种防护措施所用材料只能使用一次,在后期施工过程中这些是用过后的方木、胶合板往往只能作为废品或垃圾进行处理,周转率底,材料消耗大,会增加施工成本并浪费人力资源。During the construction of reinforced concrete structures, openings will be reserved on the floor between floors for hoisting and transporting building materials. If the openings are not protected in time or improperly protected when not in use, the construction will be affected People leave too many life-threatening hidden dangers such as falling from heights and hitting objects. The usual protective measures are to use plywood and wood as temporary protection for smaller openings. For larger openings, after using plywood and keeping them for temporary protection, it is necessary to set up additional barriers around them. Steel pipe fences are used for protection. However, this kind of hole protection is easy to be damaged, easy to be moved, not strong, and requires frequent maintenance, and the materials used for this protection measure can only be used once. In the later construction process, these are used square wood, Plywood can often only be disposed of as waste or garbage, with a low turnover rate and high material consumption, which will increase construction costs and waste human resources.
实用新型内容Utility model content
针对现有的洞口防护诸多不便的问题和缺陷,本实用新型提供一种预留洞口防护装置,本装置不易被破坏、易安装、牢固、持久性强,有效的解决了现有洞口防护只能使用一次,不能同时满足多种尺寸的洞口循环利用的问题。Aiming at the inconvenient problems and defects of the existing hole protection, the utility model provides a reserved hole protection device, which is not easy to be damaged, easy to install, firm and durable, and effectively solves the problem of the existing hole protection only Once used, it cannot meet the problem of recycling holes of various sizes at the same time.
本实用新型解决其技术问题所采用的方案是:一种建筑预留洞口防护装置,包括覆盖在预留洞口上的盖板,所述盖板包括中部的主板和位于主板左右两侧的辅板,主板中部竖向开有贯穿主板的轴孔并套装有轴承,所述轴孔左右两侧的主板中部均向外开有滑腔,所述辅板的内端均套装在对应的滑腔内并可沿滑腔滑动,所述预留洞口内设置有固定机构,固定机构包括主板左右两侧辅板外端底部对称竖向固定设置的固定架,所述两固定架之间设置有伸缩组件,伸缩组件包括水平设置且内部开有螺纹的横管,横管的左右两端上均套装有轴套,轴套均通过固定杆与主板底部水平固定连接在一起,所述横管的左右两端均安装有螺杆,所述横管左右两端螺杆的外端均与相邻的固定架固定连接在一起,所述横管左右两端螺杆的螺纹方向相反,所述横管的中部设有从动齿轮,所述横管与主板之间设有动力杆,动力杆的中部设有支撑组件,动力杆的上端固定在主板的轴承内,动力杆的下端设有主动齿轮并与从动齿轮啮合连接在一起,所述动力杆的上端面中部向下开有驱动槽,驱动槽内可插入扳手,通过转动扳手驱动动力杆转动带动横管转动可驱使两固定架反向移动使其分别紧密顶触在相邻的预留洞口侧壁上。The solution adopted by the utility model to solve the technical problem is as follows: a protective device for a reserved hole in a building, comprising a cover plate covering the reserved hole, and the cover plate includes a main board in the middle and auxiliary boards located on the left and right sides of the main board The middle part of the main board is vertically opened with a shaft hole that penetrates the main board and is sleeved with a bearing. The middle part of the main board on the left and right sides of the shaft hole is opened with a sliding cavity outward, and the inner end of the auxiliary board is sleeved in the corresponding sliding cavity. It can slide along the sliding cavity. A fixing mechanism is arranged in the reserved hole. The fixing mechanism includes a fixing frame symmetrically and vertically fixed at the bottom of the outer ends of the auxiliary plates on the left and right sides of the main board, and a telescopic assembly is arranged between the two fixing frames. , the telescopic assembly includes a horizontally arranged horizontally threaded horizontal tube, the left and right ends of the horizontal tube are sleeved with bushings, and the bushings are horizontally connected to the bottom of the main board through a fixing rod. Both ends are provided with screws, the outer ends of the screws at the left and right ends of the horizontal tube are fixedly connected with the adjacent fixing frames, the screw threads at the left and right ends of the horizontal tube are opposite in the thread direction, and the middle of the horizontal tube is provided with A driven gear, a power rod is arranged between the horizontal tube and the main board, a support assembly is arranged in the middle of the power rod, the upper end of the power rod is fixed in the bearing of the main board, and the lower end of the power rod is provided with a driving gear and is connected with the driven gear. They are meshed and connected together. A driving groove is opened downward in the middle of the upper end surface of the power rod. A wrench can be inserted into the driving groove. By turning the wrench to drive the power rod to rotate and drive the horizontal tube to rotate, the two fixed frames can be driven to move in the opposite direction to make them tight respectively. Abut on the side wall of the adjacent reserved opening.
所述驱动槽为正六角形槽孔,所述扳手为L型内六角扳手,所述动力杆的上端面与主板的上端面齐平。The drive slot is a regular hexagonal slot hole, the wrench is an L-shaped hexagonal wrench, and the upper end face of the power rod is flush with the upper end face of the main board.
所述支撑组件包括固定套装在固定杆下段上的限位轴套,限位轴套的左右两侧均通过支撑杆分别与传动杆左右两侧的固定杆固定连接在一起。The support assembly includes a limit shaft sleeve that is fixedly sleeved on the lower section of the fixed rod, and the left and right sides of the limit shaft sleeve are fixedly connected to the fixed rods on the left and right sides of the transmission rod respectively through the support rod.
所述横管的长度与主板的长度相等。The length of the transverse tube is equal to the length of the main board.
所述固定架包括纵向间隔设置的两个支撑柱和连接两支撑柱的固定柱,所述支撑柱的上端均与辅板的底面固定连接在一起。The fixing frame includes two supporting columns arranged at intervals in the longitudinal direction and a fixing column connecting the two supporting columns, and the upper ends of the supporting columns are all fixedly connected with the bottom surface of the auxiliary plate.
所述支撑架的高度尺寸不小于预留洞口的深度尺寸。The height dimension of the support frame is not less than the depth dimension of the reserved hole.
所述主板的前侧端面横向固定设有中空的扳手放置套,可将扳手的一端插入扳手放置套中。A hollow wrench placing sleeve is laterally fixed on the front end face of the main board, and one end of the wrench can be inserted into the wrench placing sleeve.
本实用新型的有益效果:本实用新型提供一种建筑预留洞口的防护装置,包括Beneficial effects of the present utility model: The present utility model provides a protection device for a reserved opening in a building, comprising:
盖板、固定机构和伸缩组件,伸缩机构中横管两端的螺杆分别与主板两侧的辅板下的固定架对应固定连接在一起,当盖板覆盖在预留洞口上时,盖板下方的固定机构会插入预留洞口内,通过内六角扳手转动动力杆驱动伸缩组件,伸缩组件会推顶固定机构使之紧密支撑在预留洞口内固定盖板的位置,防止外物碰撞盖板时,盖板发生水平位移,在伸缩组件推顶固定机构时,固定机构中的固定架会带动与之固定连接的辅板在滑腔内移动,从而调整盖板的长度。The cover plate, the fixing mechanism and the telescopic assembly. The screws at both ends of the horizontal tube in the telescopic mechanism are correspondingly and fixedly connected to the fixing brackets under the auxiliary plates on both sides of the main board. The fixing mechanism will be inserted into the reserved hole, and the telescopic assembly will be driven by rotating the power rod through the Allen wrench. When the cover plate is displaced horizontally, when the telescopic assembly pushes the fixing mechanism, the fixing frame in the fixing mechanism will drive the auxiliary plate fixedly connected with it to move in the sliding cavity, thereby adjusting the length of the cover plate.
本实用新型操作简单,通过伸缩组件可同时使固定组件中两固定架之间的距离和盖板的长度在合适的范围内任意调整,不仅易安装、使用时牢固,而且实现了循环利用,降低劳动成本。The utility model is easy to operate, and the distance between the two fixing frames in the fixing assembly and the length of the cover plate can be adjusted arbitrarily within an appropriate range through the telescopic assembly, which is not only easy to install and firm in use, but also realizes recycling and reduces the cost of Labor costs.
附图说明Description of drawings
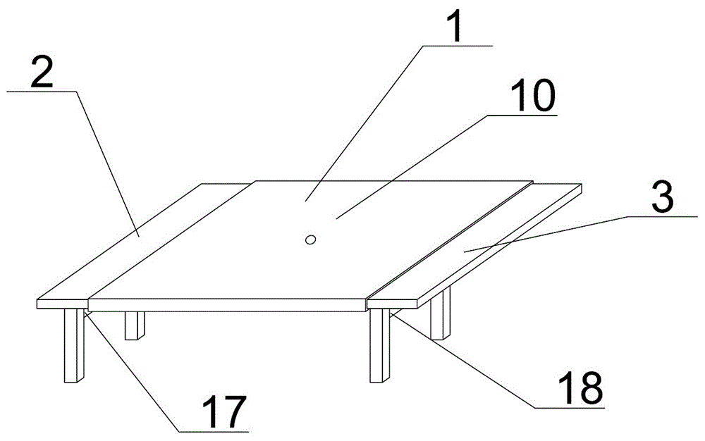
图1是本实用新型立体结构示意图。Figure 1 is a schematic diagram of the three-dimensional structure of the present invention.
图2是本实用新型固定座与伸缩组件连接关系立体示意图。Fig. 2 is a perspective view showing the connection relationship between the fixing base and the telescopic assembly of the present invention.
图3是本实用新型正视结构示意图。Figure 3 is a schematic view of the front structure of the present invention.
图4是本实用新型后视结构示意图。FIG. 4 is a schematic diagram of the rear view of the present utility model.
图5是本实用新型盖板俯视结构示意图。5 is a schematic top view of the structure of the cover plate of the present invention.
图6是本实用新型使用状态示意图。FIG. 6 is a schematic diagram of the use state of the present invention.
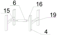
图中标号:1为主板,2为左辅板,3为右辅板,4为支撑柱,5为内六角扳手,6为横管,7为动力杆,8为主动锥齿轮,9为从动锥齿轮,10为轴孔,11为固定轴承,12为固定轴套,13为固定杆,14为支撑杆,15为左螺杆,16为右螺杆,17为左固定架,18为右固定架,19为固定柱,20为内六角扳手,21为扳手放置套,22为楼板,23为限位轴套。Labels in the figure: 1 is the main board, 2 is the left auxiliary plate, 3 is the right auxiliary plate, 4 is the support column, 5 is the Allen wrench, 6 is the horizontal tube, 7 is the power rod, 8 is the driving bevel gear, and 9 is the slave Moving bevel gear, 10 is the shaft hole, 11 is the fixed bearing, 12 is the fixed bushing, 13 is the fixed rod, 14 is the support rod, 15 is the left screw, 16 is the right screw, 17 is the left fixing frame, 18 is the right fixing frame, 19 is a fixed column, 20 is an Allen wrench, 21 is a wrench placement sleeve, 22 is a floor plate, and 23 is a limit shaft sleeve.
具体实施方式Detailed ways
下面结合附图和实施例对本实用新型进一步说明。The present utility model will be further described below in conjunction with the accompanying drawings and embodiments.
如图1所示,包括楼板22上的预留洞口,预留洞口上覆盖有盖板,盖板的底部设有固定机构,盖板包括中部的主板1和位于主板左右两侧的左辅板2和右辅板3,主板1中部竖向开有贯穿主板的轴孔并套装有固定轴承11,轴孔左右两侧的主板中部均向外开有滑腔,左辅板2和右辅板3的内端均套装在对应的滑腔内并可沿滑腔滑动,当操控左辅板2和右辅板3在滑腔内相向或反向移动时,可调整盖板的长度。As shown in FIG. 1, it includes a reserved hole on the
如图1、图6所示,当盖板覆盖在预留洞口上时,固定机构插入预留洞口内,固定机构包括左辅板和右辅板外端底部对称竖向固定设置的左固定架17和右固定架18,左固定架17和右固定架18均包括纵向间隔设置的两个支撑柱4和固定连接两支撑柱的固定柱19,支撑柱4的上端均与对应辅板的底面固定焊接在一起,支撑柱4的高度尺寸不小于预留洞口的深度尺寸。As shown in Figure 1 and Figure 6, when the cover plate is covered on the reserved hole, the fixing mechanism is inserted into the reserved hole, and the fixing mechanism includes the left auxiliary plate and the left auxiliary plate which is symmetrically and vertically fixed at the bottom of the outer end of the auxiliary plate. 17 and the
如图3所示,左固定架17和右固定架18之间设有伸缩组件,伸缩组件包括水平设置且内部设有螺纹的横管6,横管6的长度与主板1的长度相等,横管6的左右两端上均套装有固定轴套12,固定轴套12的上端均焊接有固定杆13,固定杆13的上端均垂直焊接主板1的底部,横管6的左右两端分别安装有左螺杆15和右螺杆16,左螺杆15和右螺杆6的螺纹方向相反,左螺杆15的左端面焊接在左固定架17上固定柱19中部,右螺杆16的右端面固定焊接在右固定架18上固定柱19中部,当转动横管6时,由于左螺杆15和右螺杆16的螺纹方向相反,所以可以同时调节左螺杆15和右螺杆16在横管6内的深入程度,在调节左螺杆15和右螺杆16在横管6内的深入程度时,左螺杆15和右螺杆16会分别通过左固定架17和右固定架18带动左辅板2和右辅板3在滑腔内相向或反向移动,从而可调整盖板的长度。As shown in FIG. 3, a telescopic assembly is provided between the
横管6的中部设有从动锥齿轮9,横管6与主板1之间设有动力杆7,动力杆7的上端面中部向下开有正六角形状的驱动槽孔,正六角形状的驱动槽孔受力较好,驱动槽孔内可插入L形内六角扳手20,动力杆7的上端固定在主板1的固定轴承11内且动力杆7的上端面与主板1上端面齐平,动力杆7的下端设有主动锥齿轮8并与从动锥齿轮9啮合连接在一起,通过转动内六角扳手20可带动动力杆7转动,动力杆7转动的同时会通过底部的主动锥齿轮8带动从动锥齿轮9转动,由于横管6的两端的固定轴套9均通过固定杆13与主板1固定连接在一起,所以从动锥齿轮9转动会带动横管6在固定轴套11内水平旋转,横管6旋转时,左螺杆15和右螺杆16会分别带动左固定架17和右固定架18在预留洞口内相向或反向移动,当左固定架17和右固定架18在预留洞口内相向或反向移动时,左固定架17和右固定架18会分别带动左辅板2和右辅板3在滑腔内相向或反向移动,当左固定架17和右固定架18相反方向移动时,会使左固定架17和右固定架18分别紧密顶触在预留洞口的左侧壁和右侧壁上,由于支撑柱4的高度尺寸不小于预留洞口的深度尺寸,所以外物碰撞盖板时,盖板不会发生水平位移。A driven
支撑组件包括固定套装在动力杆7下段上的限位轴套23,限位轴套23的左右两侧均通过支撑杆14分别与动力杆7左右两侧的固定杆13固定连接在一起,由于动力杆7下端的位置被固定,所以当动力杆7转动时,动力杆7不会发生径向发生位移。The support assembly includes a
如图4所示,主板1的后侧端面上横向固定焊接有中空的扳手放置套21,当不需要调整盖板长度时可将内六角扳手20从驱动槽孔内拔出并安放在扳手放置套21内,便于内六角板收的存放。As shown in FIG. 4 , a hollow
将本实施例装置运用到对建筑预留洞口防护工作中,首先将本装置组装完成,让后将扳手放置套21中的内六角扳手20取出并将其一端插入驱动槽孔内,让后跟据预留洞口的长度顺时针转动内六角扳手20驱动动力杆7顺时针转动,动力杆7顺时针转动的同时会通过底部的主动锥齿轮8带动从动锥齿轮9顺时针转动,从动锥齿轮9顺时针转动会带动横管6顺时针水平旋转,横管6顺时针水平旋转时,左螺杆15和右螺杆16会分别带动左固定架17和右固定架18反向移动,左固定架17和右固定架18相反方向移动时会分别带动左辅板2和右辅板3在滑腔内反向移动,从而使盖板长度增加,To apply the device of this embodiment to the protection of the reserved openings in the building, first assemble the device, then take out the
当盖板长度大于预留洞口长度后,将盖板覆盖在预留洞口上,此时固定机构插入预留洞口内,继续顺时针转动内六角扳手20调整左固定架17与右固定架18之间的距离,使左固定架17和右固定架18分别紧密顶触在预留洞口的左侧壁和右侧壁上,让后将内六角扳手20从驱动槽孔内拔出并安放在扳手卡扣内,此时装置安装完成。When the length of the cover plate is greater than the length of the reserved hole, cover the cover plate on the reserved hole. At this time, the fixing mechanism is inserted into the reserved hole. Continue to turn the
Claims (7)
Priority Applications (1)
| Application Number | Priority Date | Filing Date | Title |
|---|---|---|---|
| CN201921788029.5U CN211691568U (en) | 2019-10-23 | 2019-10-23 | A kind of protective device for reserved openings in buildings |
Applications Claiming Priority (1)
| Application Number | Priority Date | Filing Date | Title |
|---|---|---|---|
| CN201921788029.5U CN211691568U (en) | 2019-10-23 | 2019-10-23 | A kind of protective device for reserved openings in buildings |
Publications (1)
| Publication Number | Publication Date |
|---|---|
| CN211691568U true CN211691568U (en) | 2020-10-16 |
Family
ID=72785536
Family Applications (1)
| Application Number | Title | Priority Date | Filing Date |
|---|---|---|---|
| CN201921788029.5U Expired - Fee Related CN211691568U (en) | 2019-10-23 | 2019-10-23 | A kind of protective device for reserved openings in buildings |
Country Status (1)
| Country | Link |
|---|---|
| CN (1) | CN211691568U (en) |
Cited By (2)
| Publication number | Priority date | Publication date | Assignee | Title |
|---|---|---|---|---|
| CN113550615A (en) * | 2021-08-31 | 2021-10-26 | 陕西有色建设有限公司 | A kind of hole protection safety support device for civil engineering construction and using method thereof |
| CN116641569A (en) * | 2023-04-11 | 2023-08-25 | 中国建筑第八工程局有限公司 | Horizontal tunnel portal protection device and use method thereof |
-
2019
- 2019-10-23 CN CN201921788029.5U patent/CN211691568U/en not_active Expired - Fee Related
Cited By (2)
| Publication number | Priority date | Publication date | Assignee | Title |
|---|---|---|---|---|
| CN113550615A (en) * | 2021-08-31 | 2021-10-26 | 陕西有色建设有限公司 | A kind of hole protection safety support device for civil engineering construction and using method thereof |
| CN116641569A (en) * | 2023-04-11 | 2023-08-25 | 中国建筑第八工程局有限公司 | Horizontal tunnel portal protection device and use method thereof |
Similar Documents
| Publication | Publication Date | Title |
|---|---|---|
| CN211691568U (en) | A kind of protective device for reserved openings in buildings | |
| CN218121576U (en) | Building material hardness detection device | |
| CN113503043A (en) | Assembly type building installation equipment | |
| CN110593587B (en) | Automatic change system of building a wall | |
| CN211114733U (en) | Telescopic shaft platform support | |
| CN108083087A (en) | Structural steel lifting device | |
| CN208024175U (en) | A kind of concrete prefabricated doorframe assembly of adjustable door opening | |
| CN215484469U (en) | A wall panel installation device for building construction | |
| CN216641018U (en) | Prefabricated side fascia of assembled | |
| CN214883810U (en) | Double-touch-plate type building pile foundation | |
| CN117802838A (en) | Railway sleeper laying machine | |
| CN215154837U (en) | Cabinet plate conveying auxiliary device | |
| CN214835844U (en) | Aerated concrete panel evaporates foster storehouse and can open hatch door with configuration piece | |
| CN221053380U (en) | Foundation pit fence for constructional engineering | |
| CN213933541U (en) | Building engineering wall quality detection device | |
| CN219237749U (en) | A steel storage device | |
| CN222066274U (en) | Construction engineering strutting arrangement | |
| CN218668650U (en) | Elevator shaft closed structure | |
| CN223119601U (en) | Stair protection fixing device | |
| TWI884083B (en) | Balcony Repair Workbench | |
| CN220036236U (en) | Independent strutting arrangement of assembled building construction | |
| CN221918998U (en) | A bridge and culvert construction installation frame | |
| CN222537656U (en) | Material storage rack | |
| CN119777604B (en) | Auxiliary positioning device for installation of multi-rib composite wall panels | |
| CN218708847U (en) | Safety lifting device for building construction |
Legal Events
| Date | Code | Title | Description |
|---|---|---|---|
| GR01 | Patent grant | ||
| GR01 | Patent grant | ||
| CF01 | Termination of patent right due to non-payment of annual fee | ||
| CF01 | Termination of patent right due to non-payment of annual fee |
Granted publication date: 20201016 |
