CN211689258U - 一种经济型铝电解阳极炭块 - Google Patents

一种经济型铝电解阳极炭块 Download PDF

Info

Publication number
CN211689258U
CN211689258U CN201922479272.5U CN201922479272U CN211689258U CN 211689258 U CN211689258 U CN 211689258U CN 201922479272 U CN201922479272 U CN 201922479272U CN 211689258 U CN211689258 U CN 211689258U
Authority
CN
China
Prior art keywords
carbon block
corners
carbon
boss
main body
Prior art date
Legal status (The legal status is an assumption and is not a legal conclusion. Google has not performed a legal analysis and makes no representation as to the accuracy of the status listed.)
Active
Application number
CN201922479272.5U
Other languages
English (en)
Inventor
杨永
李绍文
赵建波
杨军龙
周志昌
申太荣
杜才德
张文学
钱云超
黄荣钢
杨永红
耿洪永
Current Assignee (The listed assignees may be inaccurate. Google has not performed a legal analysis and makes no representation or warranty as to the accuracy of the list.)
Yunnan Yunlv Ruixin Aluminum Co Ltd
Original Assignee
Yunnan Yunlv Ruixin Aluminum Co Ltd
Priority date (The priority date is an assumption and is not a legal conclusion. Google has not performed a legal analysis and makes no representation as to the accuracy of the date listed.)
Filing date
Publication date
Application filed by Yunnan Yunlv Ruixin Aluminum Co Ltd filed Critical Yunnan Yunlv Ruixin Aluminum Co Ltd
Priority to CN201922479272.5U priority Critical patent/CN211689258U/zh
Application granted granted Critical
Publication of CN211689258U publication Critical patent/CN211689258U/zh
Active legal-status Critical Current
Anticipated expiration legal-status Critical

Links

Images

Landscapes

  • Electrolytic Production Of Metals (AREA)

Abstract

一种经济型铝电解阳极炭块,包括长方体炭块主体、位于长方体炭块主体顶部并与长方体炭块主体一体成形的椭圆形凸台、位于椭圆形凸台表面上的四个均布排列的凹形炭碗;所述炭块主体的四个侧面相互之间的转角即第一转角为圆弧过渡角,四个侧面与顶面之间的四个转角即第二转角为直角,一个短边侧面与底面之间的转角即第三转角为直角,其余三个侧面与底面之间的转角即第四转角为圆弧过渡角;所述椭圆形凸台的全部外侧面均为沿凸台斜坡下凹的圆弧面;在炭碗侧壁上均布有由上口沿向圆台底部延伸的倾斜凹槽。本实用新型可减小阳极氧化损失,在不缩短阳极使用周期的情况下,可以减轻阳极炭块重量,降低阳极炭耗,节能降耗效果突出。

Description

一种经济型铝电解阳极炭块
技术领域
本实用新型涉及铝电解生产中的阳极炭块结构技术领域。
背景技术
在铝电解行业中,阳极炭块使用材料主要以石油焦、沥青焦为骨料,以煤沥青为粘结剂,在一定工艺条件下,通过阳极模具挤压或震动成型。根据生产要求和工艺特点,可制作多种类型的阳极炭块,不同类型阳极炭块主要考虑的是阳极炭块质量、电解槽槽型和生产工艺匹配三个方面,其阳极炭块电流密度一般在0.68-0.92A/cm2,使用周期一般在28-35天。阳极炭块外观主要以长方体为主,上部分形成一定厚度的凸台,制作3-5个圆槽炭碗,阳极钢爪放置于阳极炭块的炭碗中,采用磷生铁浇铸方式浇铸固定,钢爪头和铝导电杆通过铝钢爆炸焊连接,让阳极导电杆和阳极炭块连为一体,形成阳极炭块组。
随着企业对生产成本控制提出更高的要求,必须进一步降低吨铝炭耗以降低生产成本。阳极炭块在使用一定周期后大部分已经消耗,需要定期更换,更换后会产生少部分未使用阳极,俗称“残极”,残极通过清理后,钢爪头和铝导电杆回收用于下一块新阳极炭块组的组装,残极则回收卖出,但阳极炭块从买入使用到残极卖出,虽然都是相同的材料,但二者价格却相差极大,无形中造成生产成本上升,残极中炭块重量占整块阳极炭块的10%-14%,所占比例较大,对阳极炭块进行针对性改进,让阳极炭块有效使用重量达到较高使用效率,可以进一步降低阳极炭耗。
现有的阳极炭块,其结构形状如图1~图3所示,包括炭块主体A、凸台B和炭碗C,炭块主体为长方体,四个侧面相互之间的转角D为直角,四个侧面与顶面之间的四个转角E以及四个侧面与底面之间的四个转角F也为直角,凸台的底边到炭块主体边缘的距离H仅为30mm,凸台的高度G仅为70mm。
另一种阳极炭块,其结构形状如图4~图6所示,包括长方体炭块主体、位于长方体炭块主体顶部并与长方体炭块主体一体成形的梯形凸台、位于梯形凸台表面上的四个均布排列的凹形炭碗;所述炭块主体的四个侧面相互之间的转角即第一转角为圆弧过渡角,四个侧面与顶面之间的四个转角即第二转角为直角,一个短边侧面与底面之间的转角即第三转角为直角,其余三个侧面与底面之间的转角即第四转角为圆弧过渡角;在所述梯形凸台的四个斜面相互交接的转角处斜切有顶角朝下的倒三角切面;在炭碗侧壁上均布有由上口沿向圆台底部延伸的倾斜凹槽。
以上两种结构的阳极炭块在使用过程中,存在的问题主要有:一是转角为直角,易造成阳极在电解质的冲刷下损失和直角处阳极氧化,导致阳极炭耗增加;二是两者凸台设计均不够合理,凸台用料较多,凸台重量较重,造成阳极炭块凸台部分高价买进低价卖出,导致阳极炭耗增加,不够经济。
发明内容
本实用新型目的在于解决现有阳极炭块存在的问题,提供一种可减小阳极氧化损失的经济型铝电解阳极炭块,并且在不缩短阳极使用周期的情况下,通过阳极炭块凸台优化设计,减轻阳极炭块凸台重量,从而减轻阳极炭块重量,以降低阳极炭耗,达到降低阳极炭块使用成本及吨铝成本的目的。
本实用新型采取的技术方案如下:
一种经济型铝电解阳极炭块,包括长方体炭块主体、位于长方体炭块主体顶部并与长方体炭块主体一体成形的椭圆形凸台、位于椭圆形凸台表面上的四个均布排列的凹形炭碗;所述炭块主体的四个侧面相互之间的转角即第一转角为圆弧过渡角,四个侧面与顶面之间的四个转角即第二转角为直角,一个短边侧面与底面之间的转角即第三转角为直角,其余三个侧面与底面之间的转角即第四转角为圆弧过渡角;所述椭圆形凸台的全部外侧面均为沿凸台斜坡下凹的圆弧面;在炭碗侧壁上均布有由上口沿向圆台底部延伸的倾斜凹槽。
本实用新型所述的凹形炭碗,其结构为下沉的圆台形炭碗,圆台上部口径大于下部口径。所述长方体炭块主体的长度为1550mm,宽度为660mm,高度为540mm;所述椭圆形凸台的高度为100mm,整个炭块总高度为640mm;椭圆形凸台顶部长度为1240mm,底部长度为1420mm,顶部宽度为330mm,底部宽度为520mm;椭圆形凸台侧面的下凹圆弧面为沿凸台斜坡按半径150mm倒圆弧形成;所述第一转角和第四转角的圆弧半径均为50mm;所述圆台形炭碗的上部半径为90mm,下部半径为85mm;所述倾斜凹槽的倾斜角度为75°。
本实用新型将阳极炭块凸台设计为椭圆形凸台,再将椭圆形凸台的侧面沿凸台斜坡按倒圆弧,减轻了阳极炭块凸台重量。经过研究分析,确定了椭圆形凸台对阳极导电性能影响极小且强度足够,不影响导电功能和不会造成脱极事故,因此,在不缩短阳极使用周期的情况下,通过阳极炭块凸台优化设计,减轻阳极炭块凸台重量,减轻阳极炭块重量,残极厚度能保证炭碗底部不出现灌底、化爪现象,对原铝质量不产生杂质干扰,符合铝电解生产要求,并大幅降低了吨铝阳极炭耗,节能降耗效果显著。
附图说明
图1为现有技术的一种铝电解阳极炭块的主视图;
图2为图1的俯视图;
图3为图1的侧视图;
图4为现有技术的另一种铝电解阳极炭块的主视图;
图5为图4的俯视图;
图6为图4的侧视图。
图7为本实用新型的主视图;
图8为图7的俯视图;
图9为图7的右视图;
图10为图7的左视图;
图11为本实用新型的立体图。
具体实施方式
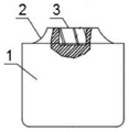
如图7~图11所示,一种经济型铝电解阳极炭块,包括长方体炭块主体1、位于长方体炭块主体顶部并与长方体炭块主体一体成形的椭圆形凸台2、位于椭圆形凸台2表面上的四个均布排列的凹形炭碗3。所述炭块主体1的四个侧面相互之间的转角即第一转角4为圆弧过渡角,四个侧面与顶面之间的四个转角即第二转角5为直角,一个短边侧面与底面之间的转角即第三转角7为直角,其余三个侧面与底面之间的转角即第四转角6为圆弧过渡角。第三转角7采用直角是为了使炭块主体在实际生产中能够沿直角侧从电解槽中顺利平稳装入和取出,第一转角4和第四转角6采用圆弧过渡角可以降低炭块主体在转角处的氧化和直角在电解质冲刷下易损耗的弊端。椭圆形凸台2外侧面2a沿凸台斜坡上倒圆弧,可有效减轻阳极炭块无效部分的体积和重量。在炭碗3侧壁上均布有由上口沿向圆台底部延伸的倾斜凹槽9,炭碗3凹形结构为下沉的圆台形炭碗,圆台上部口径大于下部口径。
作为一个优选的实施例,所述长方体炭块主体1的长度为1550mm,宽度为660mm,高度为540mm。椭圆形凸台2高度为100mm,整个炭块总高度为640mm。椭圆形凸台顶部长度为1240mm,底部长度为 1420mm,顶部宽度为330mm,底部宽度为520mm。炭块主体上部两个短直角边到凸台的长度比现有技术有所增大,使炭块上部物料不易落下,能够完全覆盖阳极,防止阳极上部氧化和增强保温作用。椭圆形凸台的侧面沿凸台斜坡按半径150mm倒圆弧。第一转角4和第四转角6的圆弧半径均为50mm。圆台凹形炭碗的上部半径为90mm,下部半径为85mm,倾斜凹槽的倾斜角度为75°。
本实施例的阳极炭块已于2019年8月开始在申请人公司内部生产中试用,取得了突出的技术效果,应用后保持了阳极炭块使用周期不变,炭块重量从935kg/块降低至907kg/块,吨铝降低阳极炭耗14kg,取得较好的阳极炭耗指标,节省了大量炭块使用成本。

Claims (4)

1.一种经济型铝电解阳极炭块,其特征在于,包括长方体炭块主体、位于长方体炭块主体顶部并与长方体炭块主体一体成型的椭圆形凸台、位于椭圆形凸台表面上的四个均布排列的凹形炭碗;所述炭块主体的四个侧面相互之间的转角即第一转角为圆弧过渡角,四个侧面与顶面之间的四个转角即第二转角为直角,一个短边侧面与底面之间的转角即第三转角为直角,其余三个侧面与底面之间的转角即第四转角为圆弧过渡角;所述椭圆形凸台的全部外侧面均为沿凸台斜坡下凹的圆弧面;在炭碗侧壁上均布有由上口沿向圆台底部延伸的倾斜凹槽。
2.根据权利要求1所述的一种经济型铝电解阳极炭块,其特征在于,所述的凹形炭碗,其结构为下沉的圆台形炭碗,圆台上部口径大于下部口径。
3.根据权利要求2所述的一种经济型铝电解阳极炭块,其特征在于,所述长方体炭块主体的长度为1550mm,宽度为660mm,高度为540mm;所述椭圆形凸台的高度为100mm,整个炭块总高度为640mm;椭圆形凸台顶部长度为1240mm,底部长度为1420mm,顶部宽度为330mm,底部宽度为520mm;椭圆形凸台侧面的下凹圆弧面为沿凸台斜坡按半径150mm倒圆弧形成;所述第一转角和第四转角的圆弧半径均为50mm;所述倾斜凹槽的倾斜角度为75°。
4.根据权利要求2所述的一种经济型铝电解阳极炭块,其特征在于,所述圆台形炭碗的上部半径为90mm,下部半径为85mm。
CN201922479272.5U 2019-12-31 2019-12-31 一种经济型铝电解阳极炭块 Active CN211689258U (zh)

Priority Applications (1)

Application Number Priority Date Filing Date Title
CN201922479272.5U CN211689258U (zh) 2019-12-31 2019-12-31 一种经济型铝电解阳极炭块

Applications Claiming Priority (1)

Application Number Priority Date Filing Date Title
CN201922479272.5U CN211689258U (zh) 2019-12-31 2019-12-31 一种经济型铝电解阳极炭块

Publications (1)

Publication Number Publication Date
CN211689258U true CN211689258U (zh) 2020-10-16

Family

ID=72797701

Family Applications (1)

Application Number Title Priority Date Filing Date
CN201922479272.5U Active CN211689258U (zh) 2019-12-31 2019-12-31 一种经济型铝电解阳极炭块

Country Status (1)

Country Link
CN (1) CN211689258U (zh)

Cited By (1)

* Cited by examiner, † Cited by third party
Publication number Priority date Publication date Assignee Title
CN116623237A (zh) * 2023-07-04 2023-08-22 重庆旗能电铝有限公司 一种铝电解槽用阳极炭块

Cited By (1)

* Cited by examiner, † Cited by third party
Publication number Priority date Publication date Assignee Title
CN116623237A (zh) * 2023-07-04 2023-08-22 重庆旗能电铝有限公司 一种铝电解槽用阳极炭块

Similar Documents

Publication Publication Date Title
CN211689258U (zh) 一种经济型铝电解阳极炭块
CN201793769U (zh) 一种铝电解用导气型预焙阳极
CN205115621U (zh) 铝电解槽用阳极炭块
CN201354389Y (zh) 一种铝电解槽的组合型阴极
CN101503809A (zh) 一种具有倒角开槽阴极的新型节能铝电解槽
CN209323018U (zh) 一种铝电解阳极炭块
CN209702876U (zh) 一种新型电解槽阳极炭块组
CN101451250A (zh) 一种减少铝电解槽水平电流的曲面型阴极结构
CN100593042C (zh) 改善铝电解槽阴极电流密度的方法和结构
CN210683964U (zh) 一种500ka铝电解槽配置的阳极炭块
AU627550B2 (en) Improvements in aluminium smelting cells
CN204342891U (zh) 铝电解用低耗预焙阳极
CN218926177U (zh) 一种铸造浇注用残汤回收装置
CN201358306Y (zh) 一种具有倒角开槽阴极的新型节能铝电解槽
CN210620958U (zh) 一种400ka铝电解槽配置的阳极炭块
CN206887243U (zh) 一种400ka铝电解槽用石墨阴极炭块
CN2892888Y (zh) 改善铝电解槽阴极电流密度的钢棒结构
CN218372554U (zh) 阳极钢爪
CA2785855C (en) Method of configuring cathodes of an aluminum reduction cell
CN218505182U (zh) 一种高耐磨合金机筒螺杆
CN201046993Y (zh) 一种铝电解的预焙阳极结构
CN201901712U (zh) 铝电解用去角炭素阳极及其去角装置
CN207210553U (zh) 一种400ka铝电解槽用预焙阳极
CN219195155U (zh) 长效型铝液阻流块
CN104498997A (zh) 铝电解用低耗预焙阳极

Legal Events

Date Code Title Description
GR01 Patent grant
GR01 Patent grant