CN211658351U - Clinical medicine first aid auxiliary device - Google Patents
Clinical medicine first aid auxiliary device Download PDFInfo
- Publication number
- CN211658351U CN211658351U CN202020068822.4U CN202020068822U CN211658351U CN 211658351 U CN211658351 U CN 211658351U CN 202020068822 U CN202020068822 U CN 202020068822U CN 211658351 U CN211658351 U CN 211658351U
- Authority
- CN
- China
- Prior art keywords
- fixedly installed
- warehouse
- medical emergency
- aid device
- clinical medical
- Prior art date
- Legal status (The legal status is an assumption and is not a legal conclusion. Google has not performed a legal analysis and makes no representation as to the accuracy of the status listed.)
- Active
Links
Images
Landscapes
- Accommodation For Nursing Or Treatment Tables (AREA)
Abstract
本实用新型涉及医学技术领域,且公开了一种临床医学急救辅助装置,包括外仓,所述外仓底部的左右两侧均固定安装有轮子,所述外仓的左右两侧均固定安装有电动推杆,所述电动推杆的底部固定安装有橡皮垫,所述外仓内腔的底部滑动连接有第一滑块,所述第一滑块的顶部固定安装有布料物品存放盒,所述布料物品存放盒顶部的左右两侧均固定安装有铰接板,所述铰接板通过铰接轴铰接有无尘盖板,所述无尘盖板的顶部固定安装有第一拉环,所述布料物品存放盒的正面固定安装有第二拉环。该临床医学急救辅助装置,整体达到了可以消毒防尘的目的,使得病人在使用到内部器械时不易造成伤口感染,大大增加了辅助装置的安全性。
The utility model relates to the technical field of medicine, and discloses a clinical medical emergency aid device, comprising an outer warehouse, wheels are fixedly installed on the left and right sides of the bottom of the outer warehouse, and wheels are fixedly installed on the left and right sides of the outer warehouse. An electric push rod, a rubber pad is fixedly installed at the bottom of the electric push rod, a first slider is slidably connected to the bottom of the inner cavity of the outer warehouse, and a cloth item storage box is fixedly installed on the top of the first slider, so A hinge plate is fixedly installed on the left and right sides of the top of the cloth article storage box, the hinge plate is hinged with a dust-free cover plate through a hinge shaft, and a first pull ring is fixedly installed on the top of the dust-free cover plate. A second pull ring is fixedly installed on the front of the item storage box. The clinical medical emergency aid device achieves the purpose of being able to be disinfected and dustproof as a whole, so that the patient is less likely to cause wound infection when using the internal device, which greatly increases the safety of the auxiliary device.
Description
技术领域technical field
本实用新型涉及医学技术领域,具体为一种临床医学急救辅助装置。The utility model relates to the technical field of medicine, in particular to a clinical medical emergency aid device.
背景技术Background technique
临床医学是研究疾病的病因、诊断、治疗和预后,提高临床治疗水平,促进人体健康的科学。Clinical medicine is a science that studies the etiology, diagnosis, treatment and prognosis of diseases, improves the level of clinical treatment, and promotes human health.
在临床医学的进行中,病人有时候会突发紧急情况而需要进行急救,在急救过程中往往会使用到盛放各种医疗器械的辅助装置来辅助救治病人,现有市场上的辅助装置具有消毒效果差的缺点,导致辅助装置中的医疗器械存放时间较长后会产生各种细菌,这些细菌在辅助装置内难以去除,所以在使用到这些器械时容易对病人造成伤口感染,大大降低了辅助装置的安全性,故而提出一种临床医学急救辅助装置以解决上述问题。In the course of clinical medicine, patients sometimes need first aid due to sudden emergencies. In the process of first aid, auxiliary devices containing various medical devices are often used to assist in the treatment of patients. The existing auxiliary devices on the market have The disadvantage of poor disinfection effect leads to the formation of various bacteria after the medical devices in the auxiliary device are stored for a long time. These bacteria are difficult to remove in the auxiliary device, so it is easy to cause wound infection to the patient when these devices are used, which greatly reduces the Safety of the auxiliary device, therefore, a clinical medical emergency auxiliary device is proposed to solve the above problems.
实用新型内容Utility model content
(一)解决的技术问题(1) Technical problems solved
针对现有技术的不足,本实用新型提供了一种临床医学急救辅助装置,具备消毒效果好等优点,解决了现有市场上的辅助装置具有消毒效果差的缺点,导致辅助装置中的医疗器械存放时间较长后会产生各种细菌,这些细菌在辅助装置内难以去除,所以在使用到这些器械时容易对病人造成伤口感染,大大降低了辅助装置的安全性的问题。In view of the deficiencies of the prior art, the utility model provides an auxiliary device for clinical medical first aid, which has the advantages of good disinfection effect, etc., and solves the shortcomings of the existing auxiliary devices in the market with poor disinfection effect, which leads to the medical equipment in the auxiliary device. After being stored for a long time, various bacteria will be produced, and these bacteria are difficult to remove in the auxiliary device, so it is easy to cause wound infection to the patient when these devices are used, which greatly reduces the safety of the auxiliary device.
(二)技术方案(2) Technical solutions
为实现上述消毒效果好目的,本实用新型提供如下技术方案:一种临床医学急救辅助装置,包括外仓,所述外仓底部的左右两侧均固定安装有轮子,所述外仓的左右两侧均固定安装有电动推杆,所述电动推杆的底部固定安装有橡皮垫,所述外仓内腔的底部滑动连接有第一滑块,所述第一滑块的顶部固定安装有布料物品存放盒,所述布料物品存放盒顶部的左右两侧均固定安装有铰接板,所述铰接板通过铰接轴铰接有无尘盖板,所述无尘盖板的顶部固定安装有第一拉环,所述布料物品存放盒的正面固定安装有第二拉环,所述外仓的内侧壁固定安装有隔热板,所述外仓内腔的左右两侧壁均固定安装有滑座,所述滑座相对的一侧均活动连接有第二滑块,所述第二滑块相对的一侧之间固定安装有手术器械存放屉,所述手术器械存放屉的正面固定安装有第三拉环,所述外仓的内侧壁固定安装有透气连接板,所述透气连接板的顶部固定安装有水箱,所述水箱的内部固定安装有一端依次贯穿水箱与外仓并延伸至外仓外部的导水管,所述外仓的顶部固定安装有加热器,所述加热器的底部固定安装有一端贯穿并延伸至外仓内部的导热管,所述外仓的正面活动安装有活动门。In order to achieve the above purpose of good disinfection effect, the present utility model provides the following technical solutions: a clinical medical emergency aid device, comprising an outer warehouse, wheels are fixedly installed on the left and right sides of the bottom of the outer warehouse, and the left and right sides of the outer warehouse are fixedly installed with wheels. Electric push rods are fixedly installed on the sides, rubber pads are fixedly installed at the bottom of the electric push rods, a first slider is slidably connected to the bottom of the inner cavity of the outer compartment, and a cloth is fixedly installed on the top of the first slider. The article storage box, the left and right sides of the top of the cloth article storage box are fixedly installed with hinge plates, the hinge plates are hinged with a dust-free cover plate through a hinge shaft, and the top of the dust-free cover plate is fixedly installed with a first pull A second pull ring is fixedly installed on the front of the cloth article storage box, a heat insulating plate is fixedly installed on the inner side wall of the outer warehouse, and a sliding seat is fixedly installed on the left and right side walls of the inner cavity of the outer warehouse. The opposite sides of the sliding seat are movably connected with a second sliding block, a surgical instrument storage drawer is fixedly installed between the opposite sides of the second sliding block, and a third sliding block is fixedly installed on the front of the surgical instrument storage drawer. Pulling ring, the inner side wall of the outer compartment is fixedly installed with a ventilating connecting plate, the top of the ventilating connecting plate is fixedly installed with a water tank, and one end of the water tank is fixedly installed with one end running through the water tank and the outer compartment in turn and extending to the outside of the outer compartment The top of the outer compartment is fixedly installed with a heater, the bottom of the heater is fixedly installed with a heat-conducting pipe whose one end penetrates and extends to the inside of the outer compartment, and a movable door is movably installed on the front of the outer compartment.
优选的,所述导热管的数量为三个,三个所述导热管从左至右呈等距分布,所述外仓内腔顶部的左右两侧均固定安装有防爆风机。Preferably, the number of the heat-conducting pipes is three, and the three heat-conducting pipes are equally spaced from left to right, and explosion-proof fans are fixedly installed on the left and right sides of the top of the inner cavity of the outer bin.
优选的,所述水箱的顶部固定安装有防溅水环,所述防溅水环的形状为环形,所述水箱为内部中空且顶部缺失的圆柱形。Preferably, a splash-proof water ring is fixedly installed on the top of the water tank, the shape of the splash-proof water ring is annular, and the water tank is a cylindrical shape with a hollow interior and a missing top.
优选的,所述透气连接板的顶部开设有数量为若干个的透气孔,所述手术器械存放屉为内部中空且顶部缺失的矩形。Preferably, the top of the ventilating connecting plate is provided with several ventilating holes, and the surgical instrument storage drawer is a rectangle with a hollow interior and a missing top.
优选的,所述外仓内腔的底部开设有第一滑槽,所述第一滑槽与第一滑块相适配。Preferably, the bottom of the inner cavity of the outer bin is provided with a first chute, and the first chute is adapted to the first slider.
优选的,所述滑座相对的一侧均开设有第二滑槽,所述第二滑槽与第二滑块相适配。Preferably, the opposite side of the sliding seat is provided with a second sliding groove, and the second sliding groove is adapted to the second sliding block.
(三)有益效果(3) Beneficial effects
与现有技术相比,本实用新型提供了一种临床医学急救辅助装置,具备以下有益效果:Compared with the prior art, the utility model provides a clinical medical emergency aid device, which has the following beneficial effects:
1、该临床医学急救辅助装置,通过将消毒液和水体通过导水管导入水箱内部,然后启动加热器使得热量通过导热管导入外仓内部,然后热量使得消毒液与水体沸腾并产生消毒蒸汽,此时启动防爆风机让蒸汽流经过透气连接板吹入手术器械存放屉内部,然后通过设置隔热板防止多余热量继续向下传递,通过设置无尘盖板使得布料物品存放盒等这些容易沾染灰尘的医学器械有效防尘,整体达到了可以消毒防尘的目的,使得病人在使用到内部器械时不易造成伤口感染,大大增加了辅助装置的安全性。1. This clinical medical emergency aid device is used to introduce the disinfectant and water into the water tank through the aqueduct, and then start the heater to make the heat lead into the outer chamber through the heat-conducting pipe, and then the heat makes the disinfectant and the water boil and generate disinfection steam. When the explosion-proof fan is started, the steam flow is blown into the inside of the surgical instrument storage drawer through the ventilating connecting plate, and then the heat insulation plate is installed to prevent the excess heat from continuing to be transmitted downward. The medical instruments are effectively dust-proof, and the overall goal of disinfection and dust-proof is achieved, so that the patient is less likely to cause wound infection when using the internal instruments, which greatly increases the safety of the auxiliary device.
2、该临床医学急救辅助装置,通过设置滑座与第三拉环,在需要使用手术器械时直接拉动第三拉环即可抽出手术器械存放屉并直接使用内部消毒后的工具,在需要使用到布料药品等医疗用品时,直接打开活动门并拉动第二拉环将布料物品存放盒拉出,然后拉动第一拉环打开无尘盖板即可拿出其中的布料药品,整体达到了便于取出辅助装置内医疗器械的目的,大大增加了辅助装置的便利性。2. The clinical medical emergency aid device, by setting the sliding seat and the third pull ring, can pull out the surgical instrument storage drawer by directly pulling the third pull ring when the surgical instrument needs to be used, and directly use the internally sterilized tools. When it comes to medical supplies such as cloth medicines, directly open the movable door and pull the second pull ring to pull out the cloth storage box, and then pull the first pull ring to open the dust-free cover to take out the cloth medicines. The overall convenience is achieved. The purpose of taking out the medical device in the auxiliary device greatly increases the convenience of the auxiliary device.
附图说明Description of drawings
图1为本实用新型结构示意图;Fig. 1 is the structural representation of the utility model;
图2为本实用新型布料物品存放盒与无尘盖板的连接结构侧视图;Fig. 2 is the side view of the connection structure of the cloth article storage box and the dust-free cover plate of the utility model;
图3为本实用新型外观图。Fig. 3 is the appearance diagram of the utility model.
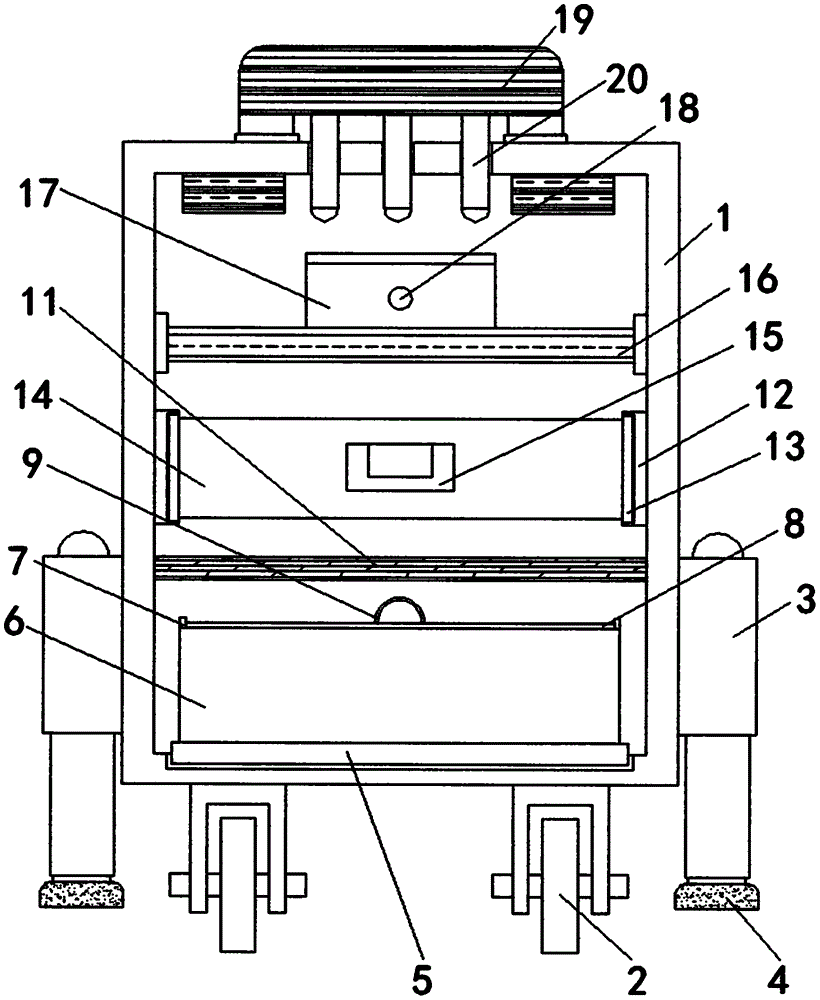
图中:1外仓、2轮子、3电动推杆、4橡皮垫、5第一滑块、6布料物品存放盒、7铰接板、8无尘盖板、9第一拉环、10第二拉环、11隔热板、12滑座、13第二滑块、14手术器械存放屉、15第三拉环、16透气连接板、17水箱、18导水管、19加热器、20导热管、21活动门。In the picture: 1 outer compartment, 2 wheels, 3 electric push rod, 4 rubber pad, 5 first slider, 6 cloth storage box, 7 hinge plate, 8 dust-free cover, 9 first pull ring, 10 second Pull ring, 11 heat insulation board, 12 slide seat, 13 second slider, 14 surgical instrument storage drawer, 15 third pull ring, 16 breathable connecting plate, 17 water tank, 18 water conduit, 19 heater, 20 heat conduction pipe, 21 active doors.
具体实施方式Detailed ways
下面将结合本实用新型实施例中的附图,对本实用新型实施例中的技术方案进行清楚、完整地描述,显然,所描述的实施例仅仅是本实用新型一部分实施例,而不是全部的实施例,基于本实用新型中的实施例,本领域普通技术人员在没有做出创造性劳动前提下所获得的所有其他实施侧,都属于本实用新型保护的范围。The technical solutions in the embodiments of the present utility model will be clearly and completely described below with reference to the accompanying drawings in the embodiments of the present utility model. Obviously, the described embodiments are only a part of the embodiments of the present utility model, rather than all the implementations. For example, based on the embodiments of the present invention, all other implementations obtained by persons of ordinary skill in the art without creative work fall within the protection scope of the present invention.
请参阅图1-3,本实用新型提供如下技术方案:一种临床医学急救辅助装置,包括外仓1,外仓1底部的左右两侧均固定安装有轮子2,轮子2可使得辅助装置便于移动,从而增加辅助装置的便利性,外仓1的左右两侧均固定安装有电动推杆3,电动推杆3的型号可为XTL100,电动推杆3可将橡皮垫4向下推动直接接触到地面进行固定,电动推杆3的底部固定安装有橡皮垫4,外仓1内腔的底部滑动连接有第一滑块5,外仓1内腔的底部开设有第一滑槽,第一滑槽与第一滑块5相适配,第一滑块5的顶部固定安装有布料物品存放盒6,布料物品存放盒6顶部的左右两侧均固定安装有铰接板7,铰接板7通过铰接轴铰接有无尘盖板8,无尘盖板8的顶部固定安装有第一拉环9,布料物品存放盒6的正面固定安装有第二拉环10,外仓1的内侧壁固定安装有隔热板11,外仓1内腔的左右两侧壁均固定安装有滑座12,滑座12相对的一侧均活动连接有第二滑块13,通过设置滑座12与第三拉环15,在需要使用手术器械时直接拉动第三拉环15即可抽出手术器械存放屉14并直接使用内部消毒后的工具,在需要使用到布料药品等医疗用品时,直接打开活动门21并拉动第二拉环10将布料物品存放盒6拉出,然后拉动第一拉环9打开无尘盖板8即可拿出其中的布料药品,整体达到了便于取出辅助装置内医疗器械的目的,大大增加了辅助装置的便利性,滑座12相对的一侧均开设有第二滑槽,第二滑槽与第二滑块13相适配,第二滑块13相对的一侧之间固定安装有手术器械存放屉14,手术器械存放屉14的正面固定安装有第三拉环15,外仓1的内侧壁固定安装有透气连接板16,透气连接板16的顶部开设有数量为若干个的透气孔,手术器械存放屉14为内部中空且顶部缺失的矩形,透气连接板16的顶部固定安装有水箱17,水箱17的顶部固定安装有防溅水环,防溅水环的形状为环形,水箱17为内部中空且顶部缺失的圆柱形,水箱17的内部固定安装有一端依次贯穿水箱17与外仓1并延伸至外仓1外部的导水管18,通过将消毒液和水体通过导水管18导入水箱17内部,然后启动加热器19使得热量通过导热管20导入外仓1内部,然后热量使得消毒液与水体沸腾并产生消毒蒸汽,此时启动防爆风机让蒸汽流经过透气连接板16吹入手术器械存放屉14内部,然后通过设置隔热板11防止多余热量继续向下传递,通过设置无尘盖板8使得布料物品存放盒6等这些容易沾染灰尘的医学器械有效防尘,整体达到了可以消毒防尘的目的,使得病人在使用到内部器械时不易造成伤口感染,大大增加了辅助装置的安全性,外仓1的顶部固定安装有加热器19,加热器19的型号可为XTGD,加热器19的底部固定安装有一端贯穿并延伸至外仓1内部的导热管20,导热管20的数量为三个,三个导热管20从左至右呈等距分布,外仓1内腔顶部的左右两侧均固定安装有防爆风机,防爆风机的型号可为HYF,外仓1的正面活动安装有活动门21。Please refer to FIGS. 1-3 , the present invention provides the following technical solutions: an auxiliary device for clinical medical first aid, comprising an
综上所述,该临床医学急救辅助装置,通过将消毒液和水体通过导水管18导入水箱17内部,然后启动加热器19使得热量通过导热管20导入外仓1内部,然后热量使得消毒液与水体沸腾并产生消毒蒸汽,此时启动防爆风机让蒸汽流经过透气连接板16吹入手术器械存放屉14内部,然后通过设置隔热板11防止多余热量继续向下传递,通过设置无尘盖板8使得布料物品存放盒6等这些容易沾染灰尘的医学器械有效防尘,整体达到了可以消毒防尘的目的,使得病人在使用到内部器械时不易造成伤口感染,大大增加了辅助装置的安全性,通过设置滑座12与第三拉环15,在需要使用手术器械时直接拉动第三拉环15即可抽出手术器械存放屉14并直接使用内部消毒后的工具,在需要使用到布料药品等医疗用品时,直接打开活动门21并拉动第二拉环10将布料物品存放盒6拉出,然后拉动第一拉环9打开无尘盖板8即可拿出其中的布料药品,整体达到了便于取出辅助装置内医疗器械的目的,大大增加了辅助装置的便利性,解决了现有市场上的辅助装置具有消毒效果差的缺点,导致辅助装置中的医疗器械存放时间较长后会产生各种细菌,这些细菌在辅助装置内难以去除,所以在使用到这些器械时容易对病人造成伤口感染,大大降低了辅助装置的安全性的问题。To sum up, in this clinical medical emergency aid device, the disinfectant and the water body are introduced into the
需要说明的是,在本文中,诸如第一和第二等之类的关系术语仅仅用来将一个实体或者操作与另一个实体或操作区分开来,而不一定要求或者暗示这些实体或操作之间存在任何这种实际的关系或者顺序,而且,术语“包括”、“包含”或者其任何其他变体意在涵盖非排他性的包含,从而使得包括一系列要素的过程、方法、物品或者设备不仅包括那些要素,而且还包括没有明确列出的其他要素,或者是还包括为这种过程、方法、物品或者设备所固有的要素,在没有更多限制的情况下,由语句“包括一个……”限定的要素,并不排除在包括所述要素的过程、方法、物品或者设备中还存在另外的相同要素。It should be noted that, in this document, relational terms such as first and second are only used to distinguish one entity or operation from another entity or operation, and do not necessarily require or imply any relationship between these entities or operations. There is no such actual relationship or order between the includes those elements, but also includes other elements not expressly listed, or that are inherent to such a process, method, article or apparatus, without further limitation, by the statement "including a . . . "Defining an element does not preclude the presence of additional identical elements in a process, method, article or apparatus comprising said element.
尽管已经示出和描述了本实用新型的实施例,对于本领域的普通技术人员而言,可以理解在不脱离本实用新型的原理和精神的情况下可以对这些实施例进行多种变化、修改、替换和变型,本实用新型的范围由所附权利要求及其等同物限定。Although the embodiments of the present invention have been shown and described, it will be understood by those skilled in the art that various changes and modifications can be made to these embodiments without departing from the principles and spirit of the present invention , alternatives and modifications, the scope of the present invention is defined by the appended claims and their equivalents.
Claims (6)
Priority Applications (1)
| Application Number | Priority Date | Filing Date | Title |
|---|---|---|---|
| CN202020068822.4U CN211658351U (en) | 2020-01-14 | 2020-01-14 | Clinical medicine first aid auxiliary device |
Applications Claiming Priority (1)
| Application Number | Priority Date | Filing Date | Title |
|---|---|---|---|
| CN202020068822.4U CN211658351U (en) | 2020-01-14 | 2020-01-14 | Clinical medicine first aid auxiliary device |
Publications (1)
| Publication Number | Publication Date |
|---|---|
| CN211658351U true CN211658351U (en) | 2020-10-13 |
Family
ID=72739254
Family Applications (1)
| Application Number | Title | Priority Date | Filing Date |
|---|---|---|---|
| CN202020068822.4U Active CN211658351U (en) | 2020-01-14 | 2020-01-14 | Clinical medicine first aid auxiliary device |
Country Status (1)
| Country | Link |
|---|---|
| CN (1) | CN211658351U (en) |
Cited By (1)
| Publication number | Priority date | Publication date | Assignee | Title |
|---|---|---|---|---|
| CN114587801A (en) * | 2022-03-21 | 2022-06-07 | 重庆医科大学 | Clinical medicine first-aid auxiliary device and operation method |
-
2020
- 2020-01-14 CN CN202020068822.4U patent/CN211658351U/en active Active
Cited By (1)
| Publication number | Priority date | Publication date | Assignee | Title |
|---|---|---|---|---|
| CN114587801A (en) * | 2022-03-21 | 2022-06-07 | 重庆医科大学 | Clinical medicine first-aid auxiliary device and operation method |
Similar Documents
| Publication | Publication Date | Title |
|---|---|---|
| CN206534888U (en) | A kind of chlorination equipment suitable for medicine equipment | |
| CN211658351U (en) | Clinical medicine first aid auxiliary device | |
| CN110025801A (en) | A kind of chlorination equipment based on anesthesia | |
| CN202950772U (en) | Portable health-care treatment box for doctors practicing traditional Chinese medicine | |
| CN206587199U (en) | A kind of department of anesthesia's disinfection cabinet | |
| CN206934283U (en) | A kind of medical kit of clinical medicine | |
| CN201921141U (en) | Double-layer mask box | |
| CN209154905U (en) | A kind of disinfection and nursing device for general surgery | |
| CN209808536U (en) | Medical instrument transfer trolley for medical operation | |
| CN205758897U (en) | One can disinfection type trolley for hospital use | |
| CN105435267A (en) | A dual-purpose medical device disinfection cabinet | |
| CN213218619U (en) | A medical care cart for a pediatric nurse | |
| CN211386265U (en) | Clinical medicine waste sample processing apparatus | |
| CN211096242U (en) | Anesthesia branch of academic or vocational study apparatus degassing unit | |
| CN211271136U (en) | Medical antibacterial apparatus vehicle | |
| CN211272548U (en) | Sterile storage cabinet for nursing | |
| CN114469365A (en) | Instrument cabinet is kept apart in clinical disinfection of obstetrical department | |
| CN211658484U (en) | Nursing device with built-in heating device | |
| CN214595999U (en) | Sharp ware receiver is used in operating room nursing | |
| CN219963337U (en) | Nursing vehicle | |
| CN218529106U (en) | Bedside storage device for disposable sterile sputum suction tube | |
| CN220175632U (en) | A disinfection device for nursing care | |
| CN217960304U (en) | A soft endoscope transfer vehicle | |
| CN217612429U (en) | Catheter fixing frame for gastrointestinal surgery nursing | |
| CN219071366U (en) | Disinfection box |
Legal Events
| Date | Code | Title | Description |
|---|---|---|---|
| GR01 | Patent grant | ||
| GR01 | Patent grant | ||
| DD01 | Delivery of document by public notice |
Addressee: Qian Guoxiang Document name: payment instructions |
|
| DD01 | Delivery of document by public notice |
