CN211646017U - A kind of protective device for bridge construction - Google Patents
A kind of protective device for bridge construction Download PDFInfo
- Publication number
- CN211646017U CN211646017U CN201922315409.3U CN201922315409U CN211646017U CN 211646017 U CN211646017 U CN 211646017U CN 201922315409 U CN201922315409 U CN 201922315409U CN 211646017 U CN211646017 U CN 211646017U
- Authority
- CN
- China
- Prior art keywords
- net
- fixedly connected
- rod
- block
- top plate
- Prior art date
- Legal status (The legal status is an assumption and is not a legal conclusion. Google has not performed a legal analysis and makes no representation as to the accuracy of the status listed.)
- Active
Links
Images
Landscapes
- Bridges Or Land Bridges (AREA)
Abstract
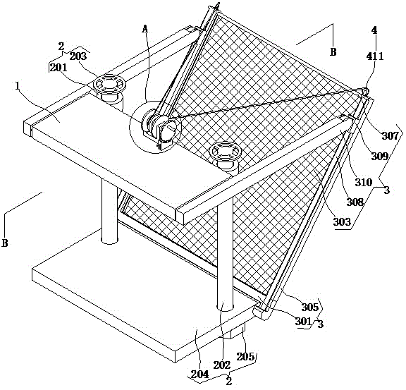
本实用新型涉及桥梁施工技术领域,且公开了一种桥梁施工用防护装置,包括顶板,所述顶板的后端固定连接有固定装置,固定装置活动铰接有网架装置,顶板的上表面固定连接有拉网装置。该桥梁施工用防护装置,通过各结构之间的配合,可以快速且稳固的固定于桥梁的外围,且安装方法简单,减少了架设防护设施所消耗的时间,从而加快了施工效率,同时通过钢丝绳与撑杆相配合而进行稳固,提高了稳定性,在不使用时,防护网收卷于网筒内,避免防护网在收储时损坏,提高了其使用寿命,有利于多次利用该装置,降低了长期的施工成本。
The utility model relates to the technical field of bridge construction, and discloses a protective device for bridge construction. There is a pulling net device. The protective device for bridge construction can be quickly and stably fixed on the periphery of the bridge through the cooperation of various structures, and the installation method is simple, which reduces the time consumed by erecting protective facilities, thereby speeding up the construction efficiency. It cooperates with the support rod to stabilize and improve the stability. When not in use, the protective net is rolled up in the net cylinder to avoid damage to the protective net during storage and storage. , reducing long-term construction costs.
Description
技术领域technical field
本实用新型涉及桥梁施工技术领域,具体为一种桥梁施工用防护装置。The utility model relates to the technical field of bridge construction, in particular to a protection device for bridge construction.
背景技术Background technique
桥梁,一般指架设在江河湖海上,使车辆行人等能顺利通行的构筑物,随着经济与交通的发展,桥梁建设也越来越重要,在桥梁施工时,通常会在桥梁的外围架设手脚架,而后在手脚架外围悬挂施工绿网,用于安全防护,同时避免施工时有物品掉落而砸伤工作人员,但是这样架设时间较长,从而导致施工效率低,同时这样的防护装置容易损坏,使用寿命短,而不利于多次利用,导致成本较高。Bridges generally refer to structures erected on rivers, lakes and seas to enable vehicles and pedestrians to pass smoothly. With the development of economy and transportation, bridge construction is becoming more and more important. During bridge construction, scaffolding is usually erected around the bridge. , and then hang the construction green net on the periphery of the scaffolding for safety protection, and at the same time to avoid items falling during construction and injuring the staff, but the erection time is long, resulting in low construction efficiency, and such protective devices are easily damaged. , the service life is short, and it is not conducive to repeated use, resulting in high cost.
发明内容SUMMARY OF THE INVENTION
(一)解决的技术问题(1) Technical problems solved
针对现有技术的不足,本实用新型提供了一种桥梁施工用防护装置,解决了现有防护设施架设时间长导致施工效率低和防护装置使用寿命短不利于 多次利用的问题。In view of the deficiencies of the prior art, the utility model provides a protective device for bridge construction, which solves the problems of low construction efficiency and short service life of the protective device that are not conducive to multiple use due to long erection time of the existing protective facilities.
(二)技术方案(2) Technical solutions
为实现上述便于快速架设和提高使用寿命的目的,本实用新型提供如下技术方案:一种桥梁施工用防护装置,包括顶板,所述顶板的后端固定连接有固定装置,固定装置活动铰接有网架装置,顶板的上表面固定连接有拉网装置。In order to achieve the above-mentioned purpose of being convenient for rapid erection and improving the service life, the utility model provides the following technical scheme: a protective device for bridge construction, comprising a top plate, the rear end of the top plate is fixedly connected with a fixing device, and the fixing device is articulated with a net A rack device, the upper surface of the top plate is fixedly connected with a pulling net device.
优选的,所述固定装置包括螺纹套、螺杆、转环、夹板和螺帽,螺纹套固定连接于顶板的后端,螺杆通过螺纹与螺纹套活动套接,螺杆的顶端与转环固定连接,螺杆的底端穿过夹板并与螺帽固定连接,且螺杆通过螺纹与夹板活动插接,于桥梁的外围将顶板置于桥面,而将夹板放至桥底,而后通过转环转动螺杆而拧紧,使夹板与顶板配合夹紧于桥梁的外侧。Preferably, the fixing device includes a threaded sleeve, a screw, a swivel, a splint and a nut, the threaded sleeve is fixedly connected to the rear end of the top plate, the screw is movably sleeved with the threaded sleeve through the thread, and the top end of the screw is fixedly connected to the swivel, The bottom end of the screw passes through the splint and is fixedly connected with the nut, and the screw is movably plugged into the splint through the thread, the top plate is placed on the bridge deck at the periphery of the bridge, and the splint is placed at the bottom of the bridge, and then the screw is rotated by the swivel ring. Tighten so that the splint and the top plate are clamped to the outside of the bridge.
优选的,所述网架装置包括网筒、收网杆、防护网、网口、侧杆、滑槽、滑杆、卡块、滑块和撑杆,网筒通过铰链与夹板的后端活动铰接,收网杆位于网筒的内部,且收网杆的两端通过轴承与网筒的内壁固定连接,防护网的一端与收网杆固定连接,且防护网与收网杆活动套接,网口开设于网筒远离夹板的一侧并与网筒的内部连通,侧杆的一端与网筒远离夹板的一侧固定连接并位于其两端,滑槽开设于两侧杆相对的一侧,滑杆的两端与滑槽活动卡接,防护网远离收网杆的一端与滑杆固定连接,卡块固定连接于侧杆靠近顶板的一侧,滑块与卡块活动卡接,撑杆通过铰链与滑块活动铰接,撑杆远离滑块的一端通过转轴与顶板的两侧固定连接,将撑杆转动至水平,通过滑块沿卡块滑动而推动侧杆使网筒转动,从而撑开侧杆与网筒,将滑杆沿滑槽拉动时,可以将收网杆外表面的防护网向外拉出。Preferably, the net rack device includes a net cylinder, a net closing rod, a protective net, a net port, a side rod, a chute, a sliding rod, a clamping block, a sliding block and a strut, and the net cylinder moves through the rear end of the hinge and the splint. Hinged, the net receiving rod is located inside the net cylinder, and the two ends of the net collecting rod are fixedly connected with the inner wall of the net cylinder through bearings, one end of the protective net is fixedly connected with the net collecting rod, and the protective net is movably sleeved with the net collecting rod, The mesh port is opened on the side of the mesh cylinder away from the splint and communicated with the interior of the mesh cylinder. One end of the side rod is fixedly connected to the side of the mesh cylinder away from the splint and is located at both ends. The chute is opened on the opposite side of the rods on both sides. , the two ends of the sliding rod are movably clamped with the chute, the end of the protective net away from the receiving rod is fixedly connected with the sliding rod, the clamping block is fixedly connected to the side of the side rod close to the top plate, the sliding block is movably clamped with the clamping block, the support The rod is hinged with the slider through a hinge, and the end of the strut away from the slider is fixedly connected to both sides of the top plate through the rotating shaft. The strut is rotated to the level, and the slider slides along the block to push the side rod to rotate the net cylinder, thereby When the side bar and the net cylinder are opened, and the sliding bar is pulled along the chute, the protective net on the outer surface of the net collecting bar can be pulled out.
优选的,所述拉网装置包括卷线筒、隔环、齿盘、转把、卡盒、固定块、压口、压块、弹簧、钢丝绳和滑轮,卷线筒通过筒架固定连接于顶板的上表面,隔环固定连接于卷线筒的外表面并位于其中段,卷线筒通过转轴穿过筒架并与齿盘固定连接,转把与齿盘远离卷线筒的一侧固定连接,卡盒固定连接于顶板的上表面,并位于齿盘的下方,固定块与卡盒活动卡接,压口开设于卡盒的正面,压块的一端与固定块固定连接,压块远离固定块的一端与压口活动卡接并延伸至卡盒的外部,弹簧的两端分别与固定块的底部和卡盒的内底壁固定连接,钢丝绳的一端与卷线筒固定连接,且钢丝绳与卷线筒活动套接,滑轮通过轮架固定连接于侧杆远离网筒的一端,钢丝绳远离卷线筒的一端与滑轮的外圈活动套接,且其端部穿过侧杆远离网筒的一端并延伸至滑槽内,按压压块使固定块下移而脱离齿盘,通过转把转动齿盘而带动卷线筒转动,可以同时收卷隔环两侧的钢丝绳,而钢丝绳经过滑轮的外圈沿滑槽拉动滑杆,而拉出防护网,将滑杆拉动至滑槽的端部时,放开压块,受弹簧的弹力作用,固定块上移而复位,其上端与齿盘的外圈啮合而固定齿盘。Preferably, the net pulling device includes a reel, a spacer, a toothed disc, a turning handle, a card box, a fixing block, a pressure port, a pressing block, a spring, a wire rope and a pulley, and the reel is fixedly connected to the top plate through a reel frame The spacer ring is fixedly connected to the outer surface of the reel and is located in the middle section, the reel passes through the reel frame through the rotating shaft and is fixedly connected to the toothed disc, and the turn handle is fixedly connected to the side of the toothed disc away from the reel. , the card box is fixedly connected to the upper surface of the top plate, and is located below the toothed plate, the fixed block is movably connected with the card box, the pressure port is opened on the front of the card box, one end of the pressure block is fixedly connected with the fixed block, and the pressure block is far away from the fixed block. One end of the block is movably clamped with the pressure port and extends to the outside of the cassette, both ends of the spring are fixedly connected to the bottom of the fixed block and the inner bottom wall of the cassette, one end of the wire rope is fixedly connected to the reel, and the wire rope is fixedly connected to the spool. The reel is movably sleeved, the pulley is fixedly connected to the end of the side rod away from the mesh cylinder through the wheel frame, the end of the wire rope away from the reel is movably sleeved with the outer ring of the pulley, and its end passes through the side rod away from the mesh cylinder. One end extends into the chute, press the pressing block to make the fixed block move down and disengage from the toothed disc, and turn the toothed disc by turning the handle to drive the spool to rotate, the wire ropes on both sides of the spacer ring can be reeled at the same time, and the wire ropes pass through the pulley. The outer ring pulls the sliding rod along the chute, and pulls out the protective net. When the sliding rod is pulled to the end of the chute, the pressure block is released. Under the elastic force of the spring, the fixed block moves up and resets. The outer ring engages to fix the chainring.
优选的,所述撑杆的宽度与顶板的厚度相等,且撑杆通过转轴与顶板的连接处位于顶板的侧面并位于其前端,当顶板与桥面抵紧时,撑杆被推动而旋转至水平状态,而撑开侧杆与网筒。Preferably, the width of the strut is equal to the thickness of the top plate, and the strut is located on the side of the top plate and at the front end of the top plate through the connection between the rotating shaft and the top plate. When the top plate is pressed against the bridge deck, the strut is pushed and rotated to In a horizontal state, the side bar and the net cylinder are stretched.
优选的,所述网筒靠近夹板的一侧与夹板的后端为相适配的弧形,便于网筒顺夹板的后端转动。Preferably, the side of the mesh cylinder close to the splint and the rear end of the splint are in an arc shape, which is convenient for the mesh cylinder to rotate along the rear end of the splint.
优选的,所述固定块的顶端为与齿盘的外圈相适配的弧形,且其顶端开设有与齿盘的外圈的锯齿相适配的齿槽,固定块的顶端可以与齿盘的外圈啮合而固定齿盘。Preferably, the top end of the fixed block is an arc shape adapted to the outer ring of the toothed plate, and the top end is provided with a tooth slot that is adapted to the teeth of the outer ring of the toothed plate. The outer ring of the disc meshes to fix the toothed disc.
优选的,所述钢丝绳位于滑槽内部的一端分别与滑杆的两端固定连接,且两条钢丝绳分别位于隔环的左、右两侧与卷线筒连接,当卷线筒转动时可以同时收卷两根钢丝绳而拉动滑杆沿滑槽移动。Preferably, one end of the wire rope located inside the chute is fixedly connected to the two ends of the sliding rod respectively, and the two wire ropes are respectively located on the left and right sides of the spacer ring and are connected to the reel. When the reel rotates, it can be simultaneously Rewind two wire ropes and pull the slide bar to move along the chute.
与现有技术相比,本实用新型提供了一种桥梁施工用防护装置,具备以下有益效果:Compared with the prior art, the utility model provides a protective device for bridge construction, which has the following beneficial effects:
1、该桥梁施工用防护装置,通过各结构之间的配合,可以快速且稳固的固定于桥梁的外围,且安装方法简单,减少了架设防护设施所消耗的时间,从而加快了施工效率。1. The protective device for bridge construction can be quickly and stably fixed to the periphery of the bridge through the cooperation of various structures, and the installation method is simple, which reduces the time consumed by erecting protective facilities, thereby accelerating the construction efficiency.
2、该桥梁施工用防护装置,通过钢丝绳与撑杆相配合而进行稳固,提高了稳定性,在不使用时,防护网收卷于网筒内,避免防护网在收储时损坏,提高了其使用寿命,有利于多次利用该装置,降低了长期的施工成本。2. The protective device for bridge construction is stabilized by the cooperation of the steel wire rope and the support rod, which improves the stability. Its service life is conducive to the repeated use of the device, and the long-term construction cost is reduced.
附图说明Description of drawings
图1为本实用新型结构示意图;Fig. 1 is the structural representation of the utility model;
图2为图1中A处结构示意图;Fig. 2 is a structural representation at A in Fig. 1;
图3为图1中B-B处剖视图;Fig. 3 is a sectional view at B-B in Fig. 1;
图4为图3中C处结构示意图;Fig. 4 is a structural representation at C in Fig. 3;
图5为图3中D处结构示意图;Fig. 5 is the structural representation at D in Fig. 3;
图6为图3中E处结构示意图。FIG. 6 is a schematic diagram of the structure at E in FIG. 3 .
其中:1、顶板;2、固定装置;201、螺纹套;202、螺杆;203、转环;204、夹板;205、螺帽;3、网架装置;301、网筒;302、收网杆;303、防护网;304、网口;305、侧杆;306、滑槽;307、滑杆;308、卡块;309、滑块;310、撑杆;4、拉网装置;401、卷线筒;402、隔环;403、齿盘;404、转把;405、卡盒;406、固定块;407、压口;408、压块;409、弹簧;410、钢丝绳;411、滑轮。Among them: 1. Top plate; 2. Fixing device; 201, threaded sleeve; 202, screw rod; 203, swivel ring; 204, splint; 205, nut; ;303, protective net; 304, net port; 305, side bar; 306, chute; 307, sliding bar; 308, clamping block; 309, slider; 310, strut; 4, pulling net device; 401, roll Spool; 402, spacer; 403, gear plate; 404, turning handle; 405, cassette; 406, fixed block; 407, pressure port; 408, pressure block; 409, spring; 410, wire rope; 411, pulley.
具体实施方式Detailed ways
下面将结合本实用新型实施例中的附图,对本实用新型实施例中的技术方案进行清楚、完整地描述,显然,所描述的实施例仅仅是本实用新型一部分实施例,而不是全部的实施例。基于本实用新型中的实施例,本领域普通技术人员在没有做出创造性劳动前提下所获得的所有其他实施例,都属于本实用新型保护的范围。The technical solutions in the embodiments of the present utility model will be clearly and completely described below with reference to the accompanying drawings in the embodiments of the present utility model. Obviously, the described embodiments are only a part of the embodiments of the present utility model, rather than all the implementations. example. Based on the embodiments of the present invention, all other embodiments obtained by those of ordinary skill in the art without creative work fall within the protection scope of the present invention.
请参阅图1-6,本实用新型提供一种桥梁施工用防护装置,包括顶板1,顶板1的后端固定连接有固定装置2,固定装置2活动铰接有网架装置3,顶板1的上表面固定连接有拉网装置4。Please refer to FIGS. 1-6 , the present utility model provides a protective device for bridge construction, comprising a roof 1 , a
固定装置2包括螺纹套201、螺杆202、转环203、夹板204和螺帽205,螺纹套201固定连接于顶板1的后端,螺杆202通过螺纹与螺纹套201活动套接,螺杆202的顶端与转环203固定连接,螺杆202的底端穿过夹板204并与螺帽205固定连接,且螺杆202通过螺纹与夹板204活动插接,于桥梁的外围将顶板1置于桥面,而将夹板204放至桥底,而后通过转环203转动螺杆202而拧紧,使夹板204与顶板1配合夹紧于桥梁的外侧,从而快速安装。The
网架装置3包括网筒301、收网杆302、防护网303、网口304、侧杆305、滑槽306、滑杆307、卡块308、滑块309和撑杆310,网筒301通过铰链与夹板204的后端活动铰接,收网杆302位于网筒301的内部,且收网杆302的两端通过轴承与网筒301的内壁固定连接,防护网303的一端与收网杆302固定连接,且防护网303与收网杆302活动套接,网口304开设于网筒301远离夹板204的一侧并与网筒301的内部连通,侧杆305的一端与网筒301远离夹板204的一侧固定连接并位于其两端,滑槽306开设于两侧杆305相对的一侧,滑杆307的两端与滑槽306活动卡接,防护网303远离收网杆302的一端与滑杆307固定连接,卡块308固定连接于侧杆305靠近顶板1的一侧,滑块309与卡块308活动卡接,撑杆310通过铰链与滑块309活动铰接,撑杆310远离滑块309的一端通过转轴与顶板1的两侧固定连接,撑杆310的宽度与顶板1的厚度相等,且撑杆310通过转轴与顶板1的连接处位于顶板1的侧面并位于其前端,网筒301靠近夹板204的一侧与夹板204的后端为相适配的弧形,当顶板1与夹板204夹紧于桥梁外侧时,桥面将撑杆310转动至水平,通过滑块309沿卡块308滑动而推动侧杆305使网筒301转动,从而撑开侧杆305与网筒301,将滑杆307沿滑槽306拉动时,可以将收网杆302外表面的防护网303向外拉出。The
拉网装置4包括卷线筒401、隔环402、齿盘403、转把404、卡盒405、固定块406、压口407、压块408、弹簧409、钢丝绳410和滑轮411,卷线筒401通过筒架固定连接于顶板1的上表面,隔环402固定连接于卷线筒401的外表面并位于其中段,卷线筒401通过转轴穿过筒架并与齿盘403固定连接,转把404与齿盘403远离卷线筒401的一侧固定连接,卡盒405固定连接于顶板1的上表面,并位于齿盘403的下方,固定块406与卡盒405活动卡接,压口407开设于卡盒405的正面,压块408的一端与固定块406固定连接,压块408远离固定块406的一端与压口407活动卡接并延伸至卡盒405的外部,弹簧409的两端分别与固定块406的底部和卡盒405的内底壁固定连接,钢丝绳410的一端与卷线筒401固定连接,且钢丝绳410与卷线筒401活动套接,滑轮411通过轮架固定连接于侧杆305远离网筒301的一端,钢丝绳410远离卷线筒401的一端与滑轮411的外圈活动套接,且其端部穿过侧杆305远离网筒301的一端并延伸至滑槽306内,固定块406的顶端为与齿盘403的外圈相适配的弧形,且其顶端开设有与齿盘403的外圈的锯齿相适配的齿槽,钢丝绳410位于滑槽306内部的一端分别与滑杆307的两端固定连接,且两条钢丝绳410分别位于隔环402的左、右两侧与卷线筒401连接,按压压块408使固定块406下移而脱离齿盘403,通过转把404转动齿盘403而带动卷线筒401转动,可以同时收卷隔环402两侧的钢丝绳410,而钢丝绳410经过滑轮411的外圈沿滑槽306拉动滑杆307,而拉出防护网303,将滑杆307拉动至滑槽306的端部时,放开压块408,受弹簧409的弹力作用,固定块406上移而复位,其上端与齿盘403的外圈啮合而固定齿盘403,通过各结构之间的配合,可以快速且稳固的固定于桥梁的外围,且安装方法简单,减少了架设防护设施所消耗的时间,从而加快了施工效率,通过钢丝绳410与撑杆310相配合而进行稳固,提高了稳定性,在不使用时,防护网303收卷于网筒301内,避免防护网303在收储时损坏,提高了其使用寿命,有利于多次利用该装置,降低了长期的施工成本。The net pulling device 4 includes a
在使用时,于桥梁的外围将顶板1置于桥面,而将夹板204置于桥底,桥面推动撑杆310使其转动至水平,通过滑块309沿卡块308滑动而推动侧杆305使网筒301转动而撑开侧杆305与网筒301,同时通过转环203转动螺杆202而拧紧,使夹板204与顶板1配合夹紧于桥梁的外侧,按压压块408使固定块406下移而脱离齿盘403,利用转把404通过齿盘403转动卷线筒401,从而收卷两条钢丝绳410,钢丝绳410经过滑轮411的外圈沿滑槽306拉动滑杆307,从而将收卷于收网杆302外表面的防护网303沿侧杆305向外拉出,从而铺展防护网303,将滑杆307拉动至滑槽306的端部时,防护网303铺展结束,放开压块408,固定块406受弹簧409的弹力作用而上移并复位,固定块406的顶端再次与齿盘403的外圈啮合而固定住齿盘403。When in use, the top plate 1 is placed on the bridge deck at the periphery of the bridge, and the
尽管已经示出和描述了本实用新型的实施例,对于本领域的普通技术人员而言,可以理解在不脱离本实用新型的原理和精神的情况下可以对这些实施例进行多种变化、修改、替换和变型,本实用新型的范围由所附权利要求及其等同物限定。Although the embodiments of the present invention have been shown and described, it will be understood by those skilled in the art that various changes and modifications can be made to these embodiments without departing from the principles and spirit of the present invention , alternatives and modifications, the scope of the present invention is defined by the appended claims and their equivalents.
Claims (8)
Priority Applications (1)
| Application Number | Priority Date | Filing Date | Title |
|---|---|---|---|
| CN201922315409.3U CN211646017U (en) | 2019-12-21 | 2019-12-21 | A kind of protective device for bridge construction |
Applications Claiming Priority (1)
| Application Number | Priority Date | Filing Date | Title |
|---|---|---|---|
| CN201922315409.3U CN211646017U (en) | 2019-12-21 | 2019-12-21 | A kind of protective device for bridge construction |
Publications (1)
| Publication Number | Publication Date |
|---|---|
| CN211646017U true CN211646017U (en) | 2020-10-09 |
Family
ID=72697651
Family Applications (1)
| Application Number | Title | Priority Date | Filing Date |
|---|---|---|---|
| CN201922315409.3U Active CN211646017U (en) | 2019-12-21 | 2019-12-21 | A kind of protective device for bridge construction |
Country Status (1)
| Country | Link |
|---|---|
| CN (1) | CN211646017U (en) |
-
2019
- 2019-12-21 CN CN201922315409.3U patent/CN211646017U/en active Active
Similar Documents
| Publication | Publication Date | Title |
|---|---|---|
| CN112909830B (en) | Cable tensioning device for high-altitude power construction | |
| CN210854579U (en) | A rewinding stand for fabric product processing | |
| CN201990334U (en) | Take-up and pay-off tool | |
| CN110073870B (en) | A tree and grass rope winder and its working method | |
| CN116581688A (en) | An overhead cable tightening device | |
| CN209554430U (en) | A kind of photovoltaic component back plate polyester film wrap-up | |
| CN211646017U (en) | A kind of protective device for bridge construction | |
| CN116093824B (en) | Cable supporting device | |
| CN111550657A (en) | A green building design device based on BIM technology | |
| CN216671301U (en) | Multi-disc type automatic cable wrapping machine | |
| CN216512049U (en) | Quick copper wire winding device for coil nail production | |
| CN212892976U (en) | PVC tablecloth winding device with winding drum convenient to replace | |
| CN218292756U (en) | High safety protection device outside the scaffolding | |
| CN219751457U (en) | A new type of portable pay-off stand for house construction | |
| CN210696603U (en) | Wardrobe with moisture-proof function and used for storing school uniforms | |
| CN222204329U (en) | A fire hose quick reeling device | |
| CN209220089U (en) | A kind of bath towel holder of dry towel | |
| CN221739594U (en) | Power transmission and transformation circuit installation traction device | |
| CN218024793U (en) | Power supply construction is with supplementary pay-off | |
| CN222691044U (en) | An anti-offline wiring structure for an environmental controller | |
| CN221191080U (en) | Combined pipe winding device | |
| CN223060406U (en) | Cable winding and unwinding device | |
| CN223060387U (en) | Metal wire reel | |
| CN220871365U (en) | Fishing net airing device for fishing net processing | |
| CN218681932U (en) | a tobacco leaf drying rod |
Legal Events
| Date | Code | Title | Description |
|---|---|---|---|
| GR01 | Patent grant | ||
| GR01 | Patent grant |
