CN211629249U - 一种锂电池正极片破碎回收生产线 - Google Patents
一种锂电池正极片破碎回收生产线 Download PDFInfo
- Publication number
- CN211629249U CN211629249U CN202020075890.3U CN202020075890U CN211629249U CN 211629249 U CN211629249 U CN 211629249U CN 202020075890 U CN202020075890 U CN 202020075890U CN 211629249 U CN211629249 U CN 211629249U
- Authority
- CN
- China
- Prior art keywords
- crushing
- production line
- collecting
- cyclone collector
- recycling
- Prior art date
- Legal status (The legal status is an assumption and is not a legal conclusion. Google has not performed a legal analysis and makes no representation as to the accuracy of the status listed.)
- Active
Links
- 238000004519 manufacturing process Methods 0.000 title claims abstract description 36
- WHXSMMKQMYFTQS-UHFFFAOYSA-N Lithium Chemical compound [Li] WHXSMMKQMYFTQS-UHFFFAOYSA-N 0.000 title claims abstract description 23
- 229910052744 lithium Inorganic materials 0.000 title claims abstract description 23
- 239000000428 dust Substances 0.000 claims abstract description 27
- 238000004064 recycling Methods 0.000 claims abstract description 20
- 238000000227 grinding Methods 0.000 claims abstract description 13
- 239000000843 powder Substances 0.000 claims description 27
- 229910052751 metal Inorganic materials 0.000 claims description 19
- 239000002184 metal Substances 0.000 claims description 19
- XAGFODPZIPBFFR-UHFFFAOYSA-N aluminium Chemical compound [Al] XAGFODPZIPBFFR-UHFFFAOYSA-N 0.000 claims description 14
- 229910052782 aluminium Inorganic materials 0.000 claims description 10
- 239000000203 mixture Substances 0.000 claims description 9
- 238000000746 purification Methods 0.000 claims description 6
- 238000004458 analytical method Methods 0.000 claims description 4
- 238000000034 method Methods 0.000 abstract description 14
- 239000000463 material Substances 0.000 abstract description 10
- 239000000126 substance Substances 0.000 abstract description 7
- 238000000926 separation method Methods 0.000 abstract description 6
- 239000010926 waste battery Substances 0.000 abstract description 3
- 238000010009 beating Methods 0.000 abstract description 2
- PXHVJJICTQNCMI-UHFFFAOYSA-N Nickel Chemical compound [Ni] PXHVJJICTQNCMI-UHFFFAOYSA-N 0.000 description 6
- 238000007599 discharging Methods 0.000 description 6
- 239000002699 waste material Substances 0.000 description 4
- 230000000694 effects Effects 0.000 description 3
- 238000005516 engineering process Methods 0.000 description 3
- 229910052759 nickel Inorganic materials 0.000 description 3
- RYGMFSIKBFXOCR-UHFFFAOYSA-N Copper Chemical compound [Cu] RYGMFSIKBFXOCR-UHFFFAOYSA-N 0.000 description 2
- QAOWNCQODCNURD-UHFFFAOYSA-N Sulfuric acid Chemical compound OS(O)(=O)=O QAOWNCQODCNURD-UHFFFAOYSA-N 0.000 description 2
- 239000004411 aluminium Substances 0.000 description 2
- 229910017052 cobalt Inorganic materials 0.000 description 2
- 239000010941 cobalt Substances 0.000 description 2
- GUTLYIVDDKVIGB-UHFFFAOYSA-N cobalt atom Chemical compound [Co] GUTLYIVDDKVIGB-UHFFFAOYSA-N 0.000 description 2
- 238000011978 dissolution method Methods 0.000 description 2
- 239000007769 metal material Substances 0.000 description 2
- OKTJSMMVPCPJKN-UHFFFAOYSA-N Carbon Chemical group [C] OKTJSMMVPCPJKN-UHFFFAOYSA-N 0.000 description 1
- 239000002253 acid Substances 0.000 description 1
- 239000003513 alkali Substances 0.000 description 1
- 229910052802 copper Inorganic materials 0.000 description 1
- 239000010949 copper Substances 0.000 description 1
- 230000007613 environmental effect Effects 0.000 description 1
- 238000009854 hydrometallurgy Methods 0.000 description 1
- 229910000625 lithium cobalt oxide Inorganic materials 0.000 description 1
- BFZPBUKRYWOWDV-UHFFFAOYSA-N lithium;oxido(oxo)cobalt Chemical group [Li+].[O-][Co]=O BFZPBUKRYWOWDV-UHFFFAOYSA-N 0.000 description 1
- 238000005272 metallurgy Methods 0.000 description 1
- 238000012986 modification Methods 0.000 description 1
- 230000004048 modification Effects 0.000 description 1
- 239000007774 positive electrode material Substances 0.000 description 1
- 238000003672 processing method Methods 0.000 description 1
- 238000010298 pulverizing process Methods 0.000 description 1
- 238000011084 recovery Methods 0.000 description 1
Images
Classifications
-
- Y—GENERAL TAGGING OF NEW TECHNOLOGICAL DEVELOPMENTS; GENERAL TAGGING OF CROSS-SECTIONAL TECHNOLOGIES SPANNING OVER SEVERAL SECTIONS OF THE IPC; TECHNICAL SUBJECTS COVERED BY FORMER USPC CROSS-REFERENCE ART COLLECTIONS [XRACs] AND DIGESTS
- Y02—TECHNOLOGIES OR APPLICATIONS FOR MITIGATION OR ADAPTATION AGAINST CLIMATE CHANGE
- Y02W—CLIMATE CHANGE MITIGATION TECHNOLOGIES RELATED TO WASTEWATER TREATMENT OR WASTE MANAGEMENT
- Y02W30/00—Technologies for solid waste management
- Y02W30/50—Reuse, recycling or recovery technologies
- Y02W30/84—Recycling of batteries or fuel cells
Landscapes
- Battery Electrode And Active Subsutance (AREA)
- Processing Of Solid Wastes (AREA)
Abstract
本实用新型公开了一种锂电池正极片破碎回收生产线,涉及废电池处理领域,包括依次相连设置的喂料平台、粉碎机、分析机、直线筛、研磨机、引风机一,粉碎机顶部通过管道连接分析机,分析机的出料端连接直线筛的进料端,研磨机的出气端通过管道连接引风机一的进气端,引风机一的出气端通过管道连接有第一旋风集料器,第一旋风集料器的出料口连接有旋振筛,分析机、直线筛、第一旋风集料器通过管道连接有集料装置,集料装置的出气端连接有粉尘净化装置,该生产线完全采用机械敲打、破碎、分离等物理处理办法回收、分离锂电池中正极材料,不添加任何化学成分,不采用任何化学处理工艺,完全环保,无需其他设备配合,工序完整、简便。
Description
技术领域
本实用新型属于废电池处理领域,具体涉及一种锂电池正极片破碎回收生产线。
背景技术
废弃的锂电池中含有大量不可再生且经济价值高的金属资源,锂电池中的正极片材料为钴酸锂粉、负极片材料为石墨粉,无论正极片还是负极片中均含有大量的镍、铜、铝等金属材料。如果能有效地回收处理废弃或不合格的锂电池,不仅能减轻废旧电池对环境的压力,还可以避免造成钴、镍等金属资源的浪费。目前常见的处理办法有:深海填埋法、湿法冶金技术以及硫酸溶解法、碱煮-酸溶法等化工处理办法;深海填埋法严重污染环境,湿法冶金技术以及化工处理办法均需要添加多种化学物质,仍对环境造成污染,且分离过程复杂、工艺条件高,成本高,且对钴、铝分离效果不好。
实用新型内容
本实用新型的目的是针对现有技术中废锂电池正极片处理时存在的技术问题,提供一种锂电池正极片破碎回收生产线,该生产线完全采用机械敲打、破碎、分离等物理处理办法回收、分离锂电池中正极材料,不添加任何化学成分,不采用任何化学处理工艺,完全环保,无需其他设备配合,工序完整、简便。
为了实现以上目的,本实用新型采用了以下技术方案:一种锂电池正极片破碎回收生产线,包括依次相连设置的喂料平台、粉碎机、分析机、直线筛、研磨机、引风机一,所述粉碎机顶部通过管道连接分析机,所述分析机的出料端连接直线筛的进料端,所述直线筛上设置有分别用于收集金属铝的第一出料口、用于收集混合物的第二出料口、用于收集正极粉的第三出料口,所述第二出料口连接研磨机的进料端,所述研磨机的出气端通过管道连接引风机一的进气端,所述引风机一的出气端通过管道连接有第一旋风集料器,所述第一旋风集料器的出料口连接有旋振筛,所述旋振筛上设置有分别用于收集金属铝的第四出料口、用于收集正极粉的第五出料口,所述第一出料口、第四出料口连接有用于收集金属铝的金属收集箱,所述第三出料口、第五出料口连接有用于收集正极粉的正极粉收集箱;所述分析机、直线筛、第一旋风集料器通过管道连接有用于收集气流中正极粉的集料装置,所述集料装置的出气端连接有粉尘净化装置。
为了进一步优化本实用新型,可优先选用以下技术方案:
优选的,所述喂料平台的上料位置高于粉碎机的进料口位置,所述喂料平台上设置有上料步梯。
优选的,所述喂料平台与粉碎机之间还设置有预粉碎机构,所述预粉碎机构包括依次相连的撕碎机、皮带输送机,所述撕碎机的出料端与皮带输送机的进料端相连,所述皮带输送机的出料端与粉碎机的进料端相连,所述皮带输送机的倾斜角度为30~40度。
优选的,所述集料装置由第二旋风集料器、第三旋风集料器组成,所述分析机的出气端连接第二旋风集料器进气口,第一旋风集料器出气端连接第三旋风集料器进气口,第一旋风集料器、第二旋风集料器、第三旋风集料器的出料端均连接正极粉收集箱。
优选的,所述粉尘净化装置包括脉冲除尘器一、引风机二、脉冲除尘器二、引风机三,所述第二旋风集料器出气口通过管道依次连接脉冲除尘器一、引风机二,所述第三旋风集料器的出气口通过管道依次连接脉冲除尘器二、引风机三。
优选的,所述引风机一为F15型号高压引风机,所述引风机二采用F11型号引风机,所述引风机三采用F75型号引风机。
本实用新型的有益效果是:本实用新型为整套的生产系统,各环节上、下衔接合理、节凑,系统完整,一套系统可实现废锂电池正极片回收、分离的完整操作,无需其他设备配合,正极片中的钴酸锂粉能从废料中完全分离出来、分离纯度高,分离出的金属材料:铝粉、铜粉以及金属镍可回收再用,整套系统主要靠机械敲打、破碎等物料办法操作处理,中间不加入任何化学成分,操作过程完全环保,整套系统自动化程度高,生产效率快,省工省力;此外本生产线在直线筛与旋振筛之间安装有研磨机,气流分选机中的金属和黑粉混合物进入研磨机进行研磨,将部分金属卷曲而夹带的黑粉进行剥离。
附图说明
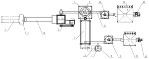
图1为实施例1中生产线生产流程图
图2为实施例1中生产线主视图;
图3为实施例1中生产线俯视图;
图4为实施例2中生产线生产流程图;
图5为实施例2中生产线主视图;
图6为实施例2中生产线俯视图。
其中,1-喂料平台,2-粉碎机,3-分析机,4-直线筛,5-引风机一,6-研磨机,7-旋振筛,8-第一旋风集料器,9-第三旋风集料器,10-脉冲除尘器二,11-引风机三,12-第二旋风集料器,13-脉冲除尘器一,14-引风机二,15-管道,16-上料步梯,17-撕碎机,18-皮带输送机。
具体实施方式
在本发明的描述中,还需要说明的是,除非另有明确的规定和限定,术语“设置”、“安装”、“相连”、“连接”应做广义理解,例如,可以是固定连接,也可以是可拆卸连接,或一体地连接;可以是机械连接,也可以是电连接;可以是直接相连,也可以通过中间媒介间接相连,可以是两个元件内部的连通。对于本领域的普通技术人员而言,可以具体情况理解上述术语在本发明中的具体含义。
下面将结合本发明实施例中的附图,对本发明实施例中的技术方案进行清楚、完整地描述,显然,所描述的实施例仅仅是本发明一部分实施例,而不是全部的实施例。基于本发明中的实施例,本领域普通技术人员在没有做出创造性劳动前提下所获得的所有其他实施例,都属于本发明保护的范围。
实施例1:
如图1-3所示,一种锂电池正极片破碎回收生产线,包括依次相连安装的喂料平台1、粉碎机2、分析机3、直线筛4、研磨机6、引风机一5,引风机一采用F15型号高压引风机,其中喂料平台1的上料位置高于粉碎机的进料口位置,喂料平台上安装有上料步梯16,通过上料步梯方便人员搬运正极片,粉碎机顶部通过管道连接分析机4,分析机4的出料端连接直线筛的进料端,直线筛上安装有分别用于收集金属铝的第一出料口、用于收集混合物的第二出料口、用于收集正极粉的第三出料口,第二出料口连接有研磨机,将直线筛的金属和黑粉混合物进入研磨机6进行研磨,将部分金属卷曲而夹带的黑粉进行剥离,进一步提高了分离效果;研磨机6的出气端通过管道连接引风机一的进气端,引风机一的出气端通过管道15连接有第一旋风集料器,第一旋风集料器的出料口连接有旋振筛7,通过旋振筛7将研磨后的物料进行筛分,旋振筛上安装有分别用于收集金属铝的第四出料口、用于收集正极粉的第五出料口,第一出料口、第四出料口连接有用于收集金属铝的金属收集箱,第三出料口、第五出料口连接有用于收集正极粉的正极粉收集箱;分析机、直线筛、第一旋风集料器8通过管道连接有用于收集气流中正极粉的集料装置,集料装置的出气端连接有粉尘净化装置,集料装置由第二旋风集料器12、第三旋风集料器组成,分析机的出气端连接第二旋风集料器进气口,第一旋风集料器8出气端连接第三旋风集料器9进气口,第一旋风集料器、第二旋风集料器、第三旋风集料器9的出料端均连接正极粉收集箱,通过把正极粉进行整体收集排放降低生产过程中的粉尘污染;粉尘净化装置包括脉冲除尘器一、引风机二14、脉冲除尘器二、引风机三11,第二旋风集料器出气口通过管道依次连接脉冲除尘器一13、引风机二14,第三旋风集料器的出气口通过管道依次连接脉冲除尘器二10、引风机三,通过脉冲除尘器一13、脉冲除尘器二把整套设备运行中所产生的粉尘进行收集排放,降低生产粉尘。引风机二14采用F11型号引风机,引风机三11采用F75型号引风机。
本生产线的工作原理为:将锂电池中的报废正极片进入撕碎机进行撕碎,然后通过皮带输送机将撕碎后的极片进入专用粉碎机进行粉碎,粉碎后物料进入分析机中进行初次分选,其中的金属和极粉混合物进入直线筛进行筛分,上层出金属铝,下层出正极粉,中层出金属铝和正极粉的混合物,混合物进入研磨机中进行研磨,研磨后物料进入集料器出料到旋振筛中进行筛分,在粉碎过程中产生的含尘气体通过旋风集料器以及脉冲除尘器进行收集。
实施例2:
如图5-6所示,本实施例与实施例1的区别点在于粉碎部分的结构不同,其余部分与实施例1中结构相同,不再赘述:本生产线中在喂料平台与粉碎机之间安装有预粉碎机构,预粉碎机构包括依次相连的撕碎机17、皮带输送机18,撕碎机17的出料端与皮带输送机18的进料端相连,皮带输送机的出料端与粉碎机的进料端相连,皮带输送机的倾斜角度为30度,通过撕碎机将正极片预先粉碎后再进行二次粉碎,保证正极片的粉碎效果提高生产效率。
最后应说明的是:以上所述仅为本发明的优选实施例而已,并不用于限制本发明,尽管参照前述实施例对本发明进行了详细的说明,对于本领域的技术人员来说,其依然可以对前述各实施例所记载的技术方案进行修改,或者对其中部分技术特征进行等同替换,凡在本发明的精神和原则之内,所作的任何修改、等同替换、改进等,均应包含在本发明的保护范围之内。
Claims (6)
1.一种锂电池正极片破碎回收生产线,其特征在于;包括依次相连设置的喂料平台、粉碎机、分析机、直线筛、研磨机、引风机一,所述粉碎机顶部通过管道连接分析机,所述分析机的出料端连接直线筛的进料端,所述直线筛上设置有分别用于收集金属铝的第一出料口、用于收集混合物的第二出料口、用于收集正极粉的第三出料口,所述第二出料口连接研磨机的进料端,所述研磨机的出气端通过管道连接引风机一的进气端,所述引风机一的出气端通过管道连接有第一旋风集料器,所述第一旋风集料器的出料口连接有旋振筛,所述旋振筛上设置有分别用于收集金属铝的第四出料口、用于收集正极粉的第五出料口,所述第一出料口、第四出料口连接有用于收集金属铝的金属收集箱,所述第三出料口、第五出料口连接有用于收集正极粉的正极粉收集箱;所述分析机、直线筛、第一旋风集料器通过管道连接有用于收集气流中正极粉的集料装置,所述集料装置的出气端连接有粉尘净化装置。
2.根据权利要求1所述的一种锂电池正极片破碎回收生产线,其特征在于;所述喂料平台的上料位置高于粉碎机的进料口位置,所述喂料平台上设置有上料步梯。
3.根据权利要求1所述的一种锂电池正极片破碎回收生产线,其特征在于;
所述喂料平台与粉碎机之间还设置有预粉碎机构,所述预粉碎机构包括依次相连的撕碎机、皮带输送机,所述撕碎机的出料端与皮带输送机的进料端相连,所述皮带输送机的出料端与粉碎机的进料端相连,所述皮带输送机的倾斜角度为30~40度。
4.根据权利要求1所述的一种锂电池正极片破碎回收生产线,其特征在于;
所述集料装置由第二旋风集料器、第三旋风集料器组成,所述分析机的出气端连接第二旋风集料器进气口,第一旋风集料器出气端连接第三旋风集料器进气口,第一旋风集料器、第二旋风集料器、第三旋风集料器的出料端均连接正极粉收集箱。
5.根据权利要求4所述的一种锂电池正极片破碎回收生产线,其特征在于;所述粉尘净化装置包括脉冲除尘器一、引风机二、脉冲除尘器二、引风机三,所述第二旋风集料器出气口通过管道依次连接脉冲除尘器一、引风机二,所述第三旋风集料器的出气口通过管道依次连接脉冲除尘器二、引风机三。
6.根据权利要求5所述的一种锂电池正极片破碎回收生产线,其特征在于;
所述引风机一为F15型号高压引风机,所述引风机二采用F11型号引风机,所述引风机三采用F75型号引风机。
Priority Applications (1)
| Application Number | Priority Date | Filing Date | Title |
|---|---|---|---|
| CN202020075890.3U CN211629249U (zh) | 2020-01-14 | 2020-01-14 | 一种锂电池正极片破碎回收生产线 |
Applications Claiming Priority (1)
| Application Number | Priority Date | Filing Date | Title |
|---|---|---|---|
| CN202020075890.3U CN211629249U (zh) | 2020-01-14 | 2020-01-14 | 一种锂电池正极片破碎回收生产线 |
Publications (1)
| Publication Number | Publication Date |
|---|---|
| CN211629249U true CN211629249U (zh) | 2020-10-02 |
Family
ID=72637747
Family Applications (1)
| Application Number | Title | Priority Date | Filing Date |
|---|---|---|---|
| CN202020075890.3U Active CN211629249U (zh) | 2020-01-14 | 2020-01-14 | 一种锂电池正极片破碎回收生产线 |
Country Status (1)
| Country | Link |
|---|---|
| CN (1) | CN211629249U (zh) |
Cited By (3)
| Publication number | Priority date | Publication date | Assignee | Title |
|---|---|---|---|---|
| CN114393015A (zh) * | 2022-01-17 | 2022-04-26 | 江西格润新材料有限公司 | 一种动力电池极片的安全环保回收方法 |
| CN114798669A (zh) * | 2022-04-27 | 2022-07-29 | 广东瑞科美电源技术有限公司 | 一种降低电池再生料的金属杂质含量的工艺及生产系统 |
| CN117181778A (zh) * | 2023-09-22 | 2023-12-08 | 巩义市兴茂机械设备有限公司 | 一种用于废旧锂电池正极片的回收生产线及工艺流程 |
-
2020
- 2020-01-14 CN CN202020075890.3U patent/CN211629249U/zh active Active
Cited By (4)
| Publication number | Priority date | Publication date | Assignee | Title |
|---|---|---|---|---|
| CN114393015A (zh) * | 2022-01-17 | 2022-04-26 | 江西格润新材料有限公司 | 一种动力电池极片的安全环保回收方法 |
| CN114798669A (zh) * | 2022-04-27 | 2022-07-29 | 广东瑞科美电源技术有限公司 | 一种降低电池再生料的金属杂质含量的工艺及生产系统 |
| CN114798669B (zh) * | 2022-04-27 | 2023-09-26 | 广东瑞科美电源技术有限公司 | 一种降低电池再生料的金属杂质含量的工艺及生产系统 |
| CN117181778A (zh) * | 2023-09-22 | 2023-12-08 | 巩义市兴茂机械设备有限公司 | 一种用于废旧锂电池正极片的回收生产线及工艺流程 |
Similar Documents
| Publication | Publication Date | Title |
|---|---|---|
| CN109604024A (zh) | 废锂离子电池破碎分选装置及方法 | |
| CN211629249U (zh) | 一种锂电池正极片破碎回收生产线 | |
| CN212093672U (zh) | 一种废旧镍氢电池综合回收装置 | |
| CN108258357A (zh) | 一种锂电池处理系统及处理工艺 | |
| CN112121978B (zh) | 一种极片破碎分选的处理设备 | |
| CN208226042U (zh) | 一种废旧电池的资源化回收利用系统 | |
| KR102585249B1 (ko) | 폐 리튬 배터리 분쇄 및 선별장치 | |
| CN108711651A (zh) | 一种废旧电池的资源化回收利用工艺和系统 | |
| CN205926578U (zh) | 废锂电池处理系统 | |
| CN111097586A (zh) | 一种高电量锂电池破碎回收生产系统 | |
| CN215089703U (zh) | 一种带隔膜干性极片处理回收系统 | |
| CN115608493A (zh) | 一种废旧锂电池带电破碎分选成套设备 | |
| CN209348803U (zh) | 废锂离子电池破碎分选装置 | |
| CN117655066A (zh) | 一种废旧电池破碎分选线 | |
| CN215933683U (zh) | 一种多通道废旧锂电池带电拆解回收设备 | |
| CN106335142A (zh) | 轮胎破碎回收系统 | |
| CN208865761U (zh) | 一种动力电池粉碎装置 | |
| CN112108377A (zh) | 一种电池破碎分选的处理工艺及其处理设备 | |
| CN209124390U (zh) | 锂电池处理用混料筛选装置 | |
| CN106058359A (zh) | 锂电池正负极片处理系统及工艺 | |
| CN209076871U (zh) | 一种废旧电池破碎回收系统 | |
| CN201134481Y (zh) | 一种废弃电池的控制破碎装置及其回收系统 | |
| CN113083862B (zh) | 一种带隔膜干性极片处理回收系统及方法 | |
| CN115301701A (zh) | 一种废旧锂电池破碎分选工艺 | |
| CN109256600A (zh) | 无污染锂电池分解处理系统 |
Legal Events
| Date | Code | Title | Description |
|---|---|---|---|
| GR01 | Patent grant | ||
| GR01 | Patent grant |