CN211597733U - 土木工程用建筑模板连接架 - Google Patents
土木工程用建筑模板连接架 Download PDFInfo
- Publication number
- CN211597733U CN211597733U CN202020031838.8U CN202020031838U CN211597733U CN 211597733 U CN211597733 U CN 211597733U CN 202020031838 U CN202020031838 U CN 202020031838U CN 211597733 U CN211597733 U CN 211597733U
- Authority
- CN
- China
- Prior art keywords
- frame
- civil engineering
- bolt
- rod
- shaft
- Prior art date
- Legal status (The legal status is an assumption and is not a legal conclusion. Google has not performed a legal analysis and makes no representation as to the accuracy of the status listed.)
- Expired - Fee Related
Links
- 230000003014 reinforcing effect Effects 0.000 claims abstract description 9
- 238000009434 installation Methods 0.000 claims description 13
- 238000009415 formwork Methods 0.000 claims description 8
- 238000005728 strengthening Methods 0.000 claims description 4
- 230000000712 assembly Effects 0.000 abstract 1
- 238000000429 assembly Methods 0.000 abstract 1
- 238000004806 packaging method and process Methods 0.000 description 3
- 230000001012 protector Effects 0.000 description 3
- 230000002787 reinforcement Effects 0.000 description 2
- 238000003466 welding Methods 0.000 description 2
- 230000009286 beneficial effect Effects 0.000 description 1
- NJPPVKZQTLUDBO-UHFFFAOYSA-N novaluron Chemical compound C1=C(Cl)C(OC(F)(F)C(OC(F)(F)F)F)=CC=C1NC(=O)NC(=O)C1=C(F)C=CC=C1F NJPPVKZQTLUDBO-UHFFFAOYSA-N 0.000 description 1
Images
Landscapes
- Forms Removed On Construction Sites Or Auxiliary Members Thereof (AREA)
Abstract
本实用新型公开了土木工程用建筑模板连接架,属于土木工程领域。土木工程用建筑模板连接架,包括固定架、支撑架和横架,所述横架的外侧通过螺栓安装有两组支撑组件,所述横架的两端通过安装轴安装有支撑架,所述支撑架顶部外侧通过安装轴安装有加强架,所述加强架的外侧顶部通过螺栓安装有固定架,所述支撑架的底部通过内螺栓安装有螺纹杆,所述螺纹杆的底部通过螺栓安装有底盘;本实用新型通过安装有支撑架可调节装置的整体高度,使其可根据建筑模板的高度进行调节高度,使得装置可适用于不同高度的建筑模板,扩大了装置的使用范围值,提高了装置的实用性。
Description
技术领域
本实用新型涉及土木工程技术领域,尤其涉及土木工程用建筑模板连接架。
背景技术
建筑模板是一种临时性支护结构,按设计要求制作,使混凝土结构、构件按规定的位置、几何尺寸成形,保持其正确位置,并承受建筑模板自重及作用在其上的外部荷载,进行模板工程的目的,在土木建筑过程中,经常会用建筑模板来固定成一个固定的框架,之后使用混凝土浇筑定型,传统的建筑模板都是使用铁丝来固定,当浇筑定型完成后,在拆模板的时候将铁丝拆去即可,这种方式虽然能够连接建筑模板,但是造成了铁丝的浪费和资源的浪费,使得建筑成本提高,为此,我们提出土木工程用建筑模板连接架。
经检索,中国专利申请号为CN208329620U的专利,公开了一种土木工程用建筑模板连接架,包括固定支撑柱、连接调节器、调距板、夹板固定器和防护装置,所述固定支撑柱上下两端镶嵌有连接调节器,所述连接调节器内侧连接调距板,所述调距板下侧设有所述夹板固定器,所述夹板固定器内侧设有防护装置,所述防护装置通过螺栓固定在调距板上,上述专利中的一种土木工程用建筑模板连接架存在以下不足:
1、该装置不根据建筑模板的高度进行调节装置的整体高度,使得装置不能适用于不同高度的建筑模板,缩小了装置的使用范围值,降低了装置的实用性;
2、该装置不能根据建筑模板的宽度进行调节装置的整体宽度,使得装置在使用时具有一定的局限性,不便于使用。
实用新型内容
本实用新型的目的是为了解决现有技术中不便于根据建筑模板的具体规格进行调节装置的整体高度和整体宽度问题,而提出的土木工程用建筑模板连接架。
为了实现上述目的,本实用新型采用了如下技术方案:
土木工程用建筑模板连接架,包括固定架、支撑架和横架,所述横架的外侧通过螺栓安装有两组支撑组件,所述横架的两端通过安装轴安装有支撑架,所述支撑架顶部外侧通过安装轴安装有加强架,所述加强架的外侧顶部通过螺栓安装有固定架,所述支撑架的底部通过内螺栓安装有螺纹杆,所述螺纹杆的底部通过螺栓安装有底盘。
优选的,所述支撑组件内安装有固定轴,固定轴的底部通过轴栓安装有支撑杆,支撑杆的底部通过定位栓安装有延伸杆,延伸杆的底部通过轴栓安装有轴座。
优选的,所述固定架内安装有支撑板,支撑板的正面通过轴架安装有调节杆,调节杆的底部通过轴栓安装有固定件。
优选的,所述安装轴内安装有弧形件,弧形件的顶部通过螺栓安装有连接件,连接件的顶部焊接有轴件。
优选的,所述加强架内安装有连接杆,连接杆的两端通过定位栓安装有套杆,套杆的一端通过螺栓安装有连接轴。
优选的,所述支撑架内安装有螺纹轴杆,螺纹轴杆的顶部通过转轴活动安装安装有轴套。
与现有技术相比,本实用新型提供了土木工程用建筑模板连接架,具备以下有益效果:
1、该土木工程用建筑模板连接架,通过在螺纹杆的顶部安装有支撑架,通过支撑架可调节装置的整体高度,使其可根据建筑模板的高度进行调节高度,使得装置可适用于不同高度的建筑模板,扩大了装置的使用范围值,提高了装置的实用性。
2、该土木工程用建筑模板连接架,通过在连接杆的两端安装有套杆,通过套杆可增加连接杆的水平长度,从而可根据建筑模板的宽度进行调节装置的整体宽度,增加装置的使用范围,增加了装置的可调节性,提高了装置的灵活性,便于装置使用。
3、该土木工程用建筑模板连接架,通过在横架的底部安装有两组支撑组件,通过支撑组件可增加装置的支撑结构,提高了装置支撑的牢固性,防止建筑模板发生松动现象,保证了建筑模板连接的牢固性,提高了装置的实用性。
该装置中未涉及部分均与现有技术相同或可采用现有技术加以实现,本实用新型可根据建筑模板的规格进行调节装置的整体宽度和整体高度,使其可适用于不同规格的建筑模板,扩大了装置的使用范围值,提高了装置的实用性。
附图说明
图1为本实用新型提出的土木工程用建筑模板连接架的整体结构示意图;
图2为本实用新型提出的土木工程用建筑模板连接架固定架的结构示意图;
图3为本实用新型提出的土木工程用建筑模板连接架安装轴的结构示意图;
图4为本实用新型提出的土木工程用建筑模板连接架加强架的结构示意图;
图5为本实用新型提出的土木工程用建筑模板连接架支撑架的结构示意图。
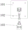
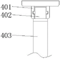
图中:1、固定架;101、支撑板;102、调节杆;103、固定件;2、安装轴;201、弧形件;202、连接件;203、轴件;3、加强架;301、连接杆;302、套杆;303、连接轴;4、支撑架;401、轴套;402、转轴;403、螺纹轴杆;5、横架;6、支撑组件;601、固定轴;602、支撑杆;603、延伸杆;604、轴座;7、螺纹杆;701、底盘。
具体实施方式
下面将结合本实用新型实施例中的附图,对本实用新型实施例中的技术方案进行清楚、完整地描述,显然,所描述的实施例仅仅是本实用新型一部分实施例,而不是全部的实施例。
在本实用新型的描述中,需要理解的是,术语“上”、“下”、“前”、“后”、“左”、“右”、“顶”、“底”、“内”、“外”等指示的方位或位置关系为基于附图所示的方位或位置关系,仅是为了便于描述本实用新型和简化描述,而不是指示或暗示所指的装置或元件必须具有特定的方位、以特定的方位构造和操作,因此不能理解为对本实用新型的限制。
参照图1-5,土木工程用建筑模板连接架,包括固定架1、支撑架4和横架5,横架5的外侧通过螺栓安装有两组支撑组件6,横架5可增加两组支撑架4连接的牢固性,提高了装置的稳固性,通过支撑组件6可增加装置的支撑结构,提高了装置支撑的牢固性,防止建筑模板发生松动现象,保证了建筑模板连接的牢固性,提高了装置的实用性,横架5的两端通过安装轴2安装有支撑架4,通过安装轴2可便于装置进行组装,提高了装置组装效率,通过支撑架4与螺纹杆7的配合可调节装置的整体高度,使其可根据建筑模板的高度进行调节高度,使得装置可适用于不同高度的建筑模板,扩大了装置的使用范围值,提高了装置的实用性,支撑架4顶部外侧通过安装轴2安装有加强架3,加强架3可进一步增加两组支撑架4连接的牢固性,保证了装置的牢固性,加强架3的外侧顶部通过螺栓安装有固定架1,固定架1可对建筑模板进行支撑,保证了建筑模板安装的牢固性,支撑架4的底部通过内螺栓安装有螺纹杆7,螺纹杆7可与支撑架4配合可增加装置的整体高度,便于装置进行高度的调节,螺纹杆7的底部通过螺栓安装有底盘701,底盘701可增加螺纹杆7与地面的接触面,防止螺纹杆7发生滑移,提高了螺纹杆7安装稳固性。
进一步,支撑组件6内安装有固定轴601,固定轴601可便于支撑杆602调节角度,固定轴601的底部通过轴栓安装有支撑杆602,支撑杆602的正面设有定位栓,通过定位栓可固定延伸杆603位置,便于延伸杆603进行调节长度,支撑杆602的底部通过定位栓安装有延伸杆603,通过延伸杆603可增加支撑杆602的整体长度,便于根据支撑需要进行调节,增加了装置的可调节性,提高了装置的灵活性,延伸杆603的底部通过轴栓安装有轴座604,轴座604可增加延伸杆603与地面的接触面,提高了延伸杆603支撑的稳固性。
进一步,固定架1内安装有支撑板101,支撑板101可增加与建筑模板的接触面,提高了建筑模板连接的稳固性,支撑板101的正面通过轴架安装有调节杆102,调节杆102可便于根据支撑需要调节固定架1的整体长度,增加了装置的可调节性,调节杆102的底部通过轴栓安装有固定件103,固定件103可便于将调节杆102固定在加强架3的外侧顶部,便于装置进行安装,提高了装置的安装效率。
进一步,安装轴2内安装有弧形件201,弧形件201通过螺栓与连接件202配合可固定在支撑架4的外侧,便于装置进行组装,提高了装置组装效率,便于装置进行拆装,弧形件201的顶部通过螺栓安装有连接件202,连接件202可与弧形件201配合便于装置进行组装,连接件202的顶部焊接有轴件203,轴件203可与连接轴303配合,便于加强架3进行组装,提高了装置组装效率。
进一步,加强架3内安装有连接杆301,连接杆301可延伸至套杆302的内部可便于套杆302进行安装,连接杆301的两端通过定位栓安装有套杆302,通过套杆302可增加连接杆301的水平长度,从而可根据建筑模板的宽度进行调节装置的整体宽度,增加装置的使用范围,增加了装置的可调节性,提高了装置的灵活性,便于装置使用,套杆302的一端通过螺栓安装有连接轴303,连接轴303可便于套杆302与安装轴2内部的轴件203连接,便于套杆302进行安装,提高了装置组装效率。
进一步,支撑架4内安装有螺纹轴杆403,通过旋转螺纹轴杆403可与螺纹杆7外侧的螺纹配合,便于螺纹轴杆403向上移动,从而可增加装置的整体高度,便于装置进行高度的调节,螺纹轴杆403的顶部通过转轴402活动安装安装有轴套401,转轴402与轴套401的配合可便于螺纹轴杆403进行转动,便于螺纹轴杆403转动的灵活性。
本实用新型中,通过旋转螺纹轴杆403可与螺纹杆7外侧的螺纹配合,便于螺纹轴杆403向上移动,从而可增加装置的整体高度,便于装置进行高度的调节,使其可根据建筑模板的高度进行调节高度,使得装置可适用于不同高度的建筑模板,扩大了装置的使用范围值,提高了装置的实用性,通过套杆302可增加连接杆301的水平长度,从而可根据建筑模板的宽度进行调节装置的整体宽度,增加装置的使用范围,增加了装置的可调节性,提高了装置的灵活性,便于装置使用,通过支撑组件6可增加装置的支撑结构,提高了装置支撑的牢固性,防止建筑模板发生松动现象,保证了建筑模板连接的牢固性,提高了装置的实用性。
以上所述,仅为本实用新型较佳的具体实施方式,但本实用新型的保护范围并不局限于此,任何熟悉本技术领域的技术人员在本实用新型揭露的技术范围内,根据本实用新型的技术方案及其实用新型构思加以等同替换或改变,都应涵盖在本实用新型的保护范围之内。
Claims (6)
1.土木工程用建筑模板连接架,包括固定架(1)、支撑架(4)和横架(5),其特征在于,所述横架(5)的外侧通过螺栓安装有两组支撑组件(6),所述横架(5)的两端通过安装轴(2)安装有支撑架(4),所述支撑架(4)顶部外侧通过安装轴(2)安装有加强架(3),所述加强架(3)的外侧顶部通过螺栓安装有固定架(1),所述支撑架(4)的底部通过内螺栓安装有螺纹杆(7),所述螺纹杆(7)的底部通过螺栓安装有底盘(701)。
2.根据权利要求1所述的土木工程用建筑模板连接架,其特征在于,所述支撑组件(6)内安装有固定轴(601),固定轴(601)的底部通过轴栓安装有支撑杆(602),支撑杆(602)的底部通过定位栓安装有延伸杆(603),延伸杆(603)的底部通过轴栓安装有轴座(604)。
3.根据权利要求1所述的土木工程用建筑模板连接架,其特征在于,所述固定架(1)内安装有支撑板(101),支撑板(101)的正面通过轴架安装有调节杆(102),调节杆(102)的底部通过轴栓安装有固定件(103)。
4.根据权利要求1所述的土木工程用建筑模板连接架,其特征在于,所述安装轴(2)内安装有弧形件(201),弧形件(201)的顶部通过螺栓安装有连接件(202),连接件(202)的顶部焊接有轴件(203)。
5.根据权利要求4所述的土木工程用建筑模板连接架,其特征在于,所述加强架(3)内安装有连接杆(301),连接杆(301)的两端通过定位栓安装有套杆(302),套杆(302)的一端通过螺栓安装有连接轴(303)。
6.根据权利要求1所述的土木工程用建筑模板连接架,其特征在于,所述支撑架(4)内安装有螺纹轴杆(403),螺纹轴杆(403)的顶部通过转轴(402)活动安装有轴套(401)。
Priority Applications (1)
| Application Number | Priority Date | Filing Date | Title |
|---|---|---|---|
| CN202020031838.8U CN211597733U (zh) | 2020-01-08 | 2020-01-08 | 土木工程用建筑模板连接架 |
Applications Claiming Priority (1)
| Application Number | Priority Date | Filing Date | Title |
|---|---|---|---|
| CN202020031838.8U CN211597733U (zh) | 2020-01-08 | 2020-01-08 | 土木工程用建筑模板连接架 |
Publications (1)
| Publication Number | Publication Date |
|---|---|
| CN211597733U true CN211597733U (zh) | 2020-09-29 |
Family
ID=72600924
Family Applications (1)
| Application Number | Title | Priority Date | Filing Date |
|---|---|---|---|
| CN202020031838.8U Expired - Fee Related CN211597733U (zh) | 2020-01-08 | 2020-01-08 | 土木工程用建筑模板连接架 |
Country Status (1)
| Country | Link |
|---|---|
| CN (1) | CN211597733U (zh) |
Cited By (2)
| Publication number | Priority date | Publication date | Assignee | Title |
|---|---|---|---|---|
| CN112252706A (zh) * | 2020-10-09 | 2021-01-22 | 史润涛 | 建筑工程施工用住宅模板的安装方法 |
| CN112681739A (zh) * | 2021-01-28 | 2021-04-20 | 陕西建工第六建设集团有限公司 | 一种工具式定位钢板 |
-
2020
- 2020-01-08 CN CN202020031838.8U patent/CN211597733U/zh not_active Expired - Fee Related
Cited By (2)
| Publication number | Priority date | Publication date | Assignee | Title |
|---|---|---|---|---|
| CN112252706A (zh) * | 2020-10-09 | 2021-01-22 | 史润涛 | 建筑工程施工用住宅模板的安装方法 |
| CN112681739A (zh) * | 2021-01-28 | 2021-04-20 | 陕西建工第六建设集团有限公司 | 一种工具式定位钢板 |
Similar Documents
| Publication | Publication Date | Title |
|---|---|---|
| CN211597733U (zh) | 土木工程用建筑模板连接架 | |
| CN218941011U (zh) | 一种光伏支架 | |
| CN221321856U (zh) | 基于钢筋套筒可伸缩式临边洞口防护栏杆 | |
| CN212305211U (zh) | 一种太阳能板安装用斜撑装置 | |
| CN216516112U (zh) | 一种安全钢结构节点构件 | |
| CN210587810U (zh) | 一种汽车底盘焊接支撑架 | |
| CN219432235U (zh) | 一种用于光伏支架紧固配件的装置 | |
| CN220210340U (zh) | 一种光伏固定支架用斜撑 | |
| CN219268771U (zh) | 一种可调节式光伏板安装支架 | |
| CN210508192U (zh) | 一种便于固定排管的地板支架 | |
| CN217537806U (zh) | 一种钢梁脚手架用可调撑托 | |
| CN212927339U (zh) | 一种建筑模板支撑用防倾斜装置 | |
| CN222332698U (zh) | 一种用于地面光伏支架的螺旋地桩矫直安装辅助装置 | |
| CN207801825U (zh) | 屋面全覆盖式光伏板支架安装结构 | |
| CN223256528U (zh) | 一种房屋顶梁支撑加固结构 | |
| CN219473329U (zh) | 一种用于锂电池生产设备的组装型机架 | |
| CN221168862U (zh) | 一种可调节外防护三角架 | |
| CN218276572U (zh) | 一种光伏安装用可调式支架结构 | |
| CN223151331U (zh) | 一种装配式组合框架结构体系 | |
| CN217010757U (zh) | 一种光伏支架结构 | |
| CN220521558U (zh) | 一种带限位结构的拼接轻钢龙骨 | |
| CN223164309U (zh) | 一种钢结构的柱间自适应支撑结构 | |
| CN220036702U (zh) | 一种具有辅助支撑的隧道支护装置 | |
| CN219298831U (zh) | 一种便于调节的斜柱钢结构安装用定位装置 | |
| CN221144478U (zh) | 一种煤矿巷道过断层支护装置 |
Legal Events
| Date | Code | Title | Description |
|---|---|---|---|
| GR01 | Patent grant | ||
| GR01 | Patent grant | ||
| CF01 | Termination of patent right due to non-payment of annual fee | ||
| CF01 | Termination of patent right due to non-payment of annual fee |
Granted publication date: 20200929 |