CN211587789U - Ash removal device for electrical automation equipment - Google Patents
Ash removal device for electrical automation equipment Download PDFInfo
- Publication number
- CN211587789U CN211587789U CN202020178858.8U CN202020178858U CN211587789U CN 211587789 U CN211587789 U CN 211587789U CN 202020178858 U CN202020178858 U CN 202020178858U CN 211587789 U CN211587789 U CN 211587789U
- Authority
- CN
- China
- Prior art keywords
- cylindrical box
- shaped
- automation equipment
- dust
- sleeved
- Prior art date
- Legal status (The legal status is an assumption and is not a legal conclusion. Google has not performed a legal analysis and makes no representation as to the accuracy of the status listed.)
- Expired - Fee Related
Links
- 239000000428 dust Substances 0.000 claims abstract description 46
- 238000007789 sealing Methods 0.000 claims description 10
- 238000005096 rolling process Methods 0.000 claims description 3
- 238000004140 cleaning Methods 0.000 abstract description 13
- 230000009286 beneficial effect Effects 0.000 abstract description 5
- 238000007664 blowing Methods 0.000 abstract description 4
- 238000007667 floating Methods 0.000 description 5
- 238000000034 method Methods 0.000 description 4
- 238000009825 accumulation Methods 0.000 description 3
- 238000010586 diagram Methods 0.000 description 2
- 238000004519 manufacturing process Methods 0.000 description 2
- 238000004891 communication Methods 0.000 description 1
- 230000005611 electricity Effects 0.000 description 1
- 238000001125 extrusion Methods 0.000 description 1
- 230000017525 heat dissipation Effects 0.000 description 1
- 238000009434 installation Methods 0.000 description 1
- 230000004048 modification Effects 0.000 description 1
- 238000012986 modification Methods 0.000 description 1
- 238000003825 pressing Methods 0.000 description 1
- 238000001179 sorption measurement Methods 0.000 description 1
- 230000003068 static effect Effects 0.000 description 1
Images
Landscapes
- Filtering Of Dispersed Particles In Gases (AREA)
Abstract
本实用新型公开了一种电气自动化设备用清灰装置,包括顶部为开口设置的第一圆筒形箱,所述第一圆筒形箱上螺纹套设有底部为开口设置的第二圆筒形箱,所述第一圆筒形箱的底部连通并固定有连接管,连接管的底端设为锥形结构,第一圆筒形箱的两侧均连通并固定有L形管,两个L形管对称设置,L形管的底端连通并固定有倾斜设置的斜管,两个斜管对称设置,斜管的底端连通并固定有进尘罩,两个进尘罩对称设置,连接管位于两个进尘罩之间。本实用新型结构简单,操作方便,便于根据实际对电气自动化设备表面堆积的灰尘自动吹起并吸入至第一圆筒形箱内,且便于对第一圆筒形箱内收集的灰尘进行及时的清理,满足使用需要,有利于使用。
The utility model discloses an ash cleaning device for electrical automation equipment, which comprises a first cylindrical box with an opening at the top, and a second cylinder with an opening at the bottom is threadedly sleeved on the first cylindrical box. The bottom of the first cylindrical box is connected to and fixed with a connecting pipe, the bottom end of the connecting pipe is set as a conical structure, and both sides of the first cylindrical box are connected and fixed with L-shaped pipes. Each L-shaped pipe is symmetrically arranged, the bottom end of the L-shaped pipe is connected to and fixed with an inclined pipe arranged obliquely, the two inclined pipes are symmetrically arranged, the bottom end of the inclined pipe is connected to and fixed with a dust inlet cover, and the two dust inlet covers are arranged symmetrically , the connecting pipe is located between the two dust hoods. The utility model has the advantages of simple structure and convenient operation, which is convenient for automatically blowing up the dust accumulated on the surface of the electrical automation equipment and inhaling it into the first cylindrical box according to the actual situation, and is convenient for timely cleaning the dust collected in the first cylindrical box. Clean up, meet the needs of use, and be beneficial to use.
Description
技术领域technical field
本实用新型涉及清灰设备技术领域,尤其涉及一种电气自动化设备用清灰装置。The utility model relates to the technical field of cleaning equipment, in particular to a cleaning device for electrical automation equipment.
背景技术Background technique
企业一般是指以盈利为目的,运用各种生产要素生产向市场提供商品或服务,实行自主的经营方式,企业在运作过程中需要使用各种自动化电器设备来达到提高生产效率的目的,企业自动化电器设备在使用过程中自身的机壳表面会由于静电作用而吸附大量浮灰,浮灰覆盖在企业自动化电器设备机壳上影响到了设备自身的散热,经检索申请公告号CN109158374A公开了一种企业自动化电气设备用浮灰清理装置,包括机壳本体,所述机壳本体侧面固定有提手,所述机壳本体底面固定有封盖,所述封盖底面中心设置有出风管,所述出风管底端内侧设置有滤网,所述机壳本体顶面固定有顶套,所述顶套内开设有引导槽,所述引导槽内通过卡钩与复位弹簧的一端固定,所述复位弹簧的另一端通过卡钩固定有套环,所述套环内侧设置有连杆,有益效果在于:通过按压手柄带动底盘和密封圈在机壳本体内向下滑动的过程中压缩空气产生气流并通过气流将企业自动化电器设备机壳表面的浮灰清理,代替了人工擦拭的清理方式,清理效果彻底且避免的操作人员被静电电击。Enterprises generally refer to the purpose of making profits, using various production factors to produce goods or services to the market, and implementing independent business methods. Enterprises need to use various automated electrical equipment in the process of operation to achieve the purpose of improving production efficiency. Enterprise automation During the use of electrical equipment, the surface of its own casing will absorb a large amount of floating ash due to static electricity, and the floating ash covering the casing of the enterprise automation electrical equipment affects the heat dissipation of the equipment itself. The floating ash cleaning device for automated electrical equipment includes a casing body, a handle is fixed on the side of the casing body, a cover is fixed on the bottom surface of the casing body, and an air outlet pipe is arranged in the center of the bottom surface of the cover, and the A filter screen is arranged on the inner side of the bottom end of the air outlet pipe, a top sleeve is fixed on the top surface of the casing body, and a guide groove is opened in the top sleeve, and the guide groove is fixed with one end of the return spring through a hook. The other end of the return spring is fixed with a collar through a hook, and the inner side of the collar is provided with a connecting rod. The floating ash on the surface of the casing of the automated electrical equipment of the enterprise is cleaned by the airflow, instead of the cleaning method of manual wiping.
但是上述专利仍然存在一定的不足,其不便于对自动化电器设备机壳表面的灰尘进行收集和清理,同时通过人工按压手柄带动底盘在机壳本体内上下移动对灰尘进行吹动,浪费了大量的体力,虽然通过简单的按压手柄带动底盘在机壳本体内向下移动并对弹簧进行压缩将灰尘吹起,但是吹起的灰尘飘散在空气中容易造成大气污染,且达不到对灰尘进行收集的功能,综上,我们提出了一种电气自动化设备用清灰装置用于解决上述问题。However, the above patent still has certain shortcomings, which is inconvenient to collect and clean the dust on the surface of the casing of the automated electrical equipment, and at the same time manually press the handle to drive the chassis to move up and down in the casing body to blow the dust, which wastes a lot of money. Physical strength, although simply pressing the handle drives the chassis to move down in the chassis body and compresses the spring to blow up the dust, but the blown dust floating in the air is likely to cause atmospheric pollution, and the dust cannot be collected. To sum up, we propose a ash cleaning device for electrical automation equipment to solve the above problems.
实用新型内容Utility model content
本实用新型的目的是为了解决现有技术中存在的缺点,而提出的一种电气自动化设备用清灰装置。The purpose of the utility model is to solve the shortcomings existing in the prior art, and proposes a ash cleaning device for electrical automation equipment.
为了实现上述目的,本实用新型采用了如下技术方案:In order to achieve the above-mentioned purpose, the utility model adopts the following technical solutions:
一种电气自动化设备用清灰装置,包括顶部为开口设置的第一圆筒形箱,所述第一圆筒形箱上螺纹套设有底部为开口设置的第二圆筒形箱,所述第一圆筒形箱的底部连通并固定有连接管,连接管的底端设为锥形结构,第一圆筒形箱的两侧均连通并固定有L形管,两个L形管对称设置,L形管的底端连通并固定有倾斜设置的斜管,两个斜管对称设置,斜管的底端连通并固定有进尘罩,两个进尘罩对称设置,连接管位于两个进尘罩之间,所述第二圆筒形箱的两侧内壁上均固定安装有L形杆,两个L形杆对称设置,L形杆上滑动套设有竖杆,竖杆的底端与对应的L形杆的底部内壁之间固定安装有同一个弹簧,弹簧活动套设在对应的L形杆上,第二圆筒形箱内密封滑动套设有圆形活塞,圆形活塞的底部与两个竖杆的顶端固定连接,所述第一圆筒形箱内活动套设有圆形过滤网,所述圆形活塞的顶部固定安装有竖板,竖板的顶部延伸至第二圆筒形箱的上方,竖板的一侧开设有凹槽,第二圆筒形箱的顶部一侧固定安装有微型马达,微型马达的输出轴端部延伸至凹槽内并固定安装有偏心轮,凹槽的底部内壁上嵌套有滚珠,滚珠的顶部与偏心轮的外侧滚动接触,连接管内固定套设有第一单向阀,第一单向阀的底部设置为出口,L形管内固定套设有第二单向阀,第二单向阀靠近圆形过滤网的一侧设置为出口。An ash cleaning device for electrical automation equipment, comprising a first cylindrical box with an opening at the top, a second cylindrical box with an opening at the bottom set on a threaded sleeve on the first cylindrical box, and the The bottom of the first cylindrical box is connected and fixed with a connecting pipe, the bottom end of the connecting pipe is set as a conical structure, both sides of the first cylindrical box are connected and fixed with L-shaped pipes, and the two L-shaped pipes are symmetrical The bottom end of the L-shaped pipe is connected to and fixed with an inclined pipe arranged obliquely. The two inclined pipes are symmetrically arranged, and the bottom end of the inclined pipe is connected to and fixed with a dust inlet hood. Between the two dust inlet hoods, L-shaped rods are fixedly installed on the inner walls of both sides of the second cylindrical box, and the two L-shaped rods are symmetrically arranged. The same spring is fixedly installed between the bottom end and the bottom inner wall of the corresponding L-shaped rod, the spring is movably sleeved on the corresponding L-shaped rod, and a circular piston is provided in the sealing sliding sleeve in the second cylindrical box. The bottom of the piston is fixedly connected with the top ends of the two vertical rods, a circular filter screen is movably sleeved in the first cylindrical box, a vertical plate is fixedly installed on the top of the circular piston, and the top of the vertical plate extends to Above the second cylindrical box, a groove is opened on one side of the vertical plate, a micro motor is fixedly installed on the top side of the second cylindrical box, and the end of the output shaft of the micro motor extends into the groove and is fixedly installed There is an eccentric wheel, a ball is nested on the inner wall of the bottom of the groove, the top of the ball is in rolling contact with the outer side of the eccentric wheel, a first one-way valve is fixed in the connecting pipe, and the bottom of the first one-way valve is set as an outlet, L A second one-way valve is fixedly sleeved in the shaped tube, and the side of the second one-way valve close to the circular filter screen is set as an outlet.
优选的,所述第二圆筒形箱的一侧固定安装有第一U形把手,圆形过滤网的顶部固定安装有第二U形把手。Preferably, a first U-shaped handle is fixedly installed on one side of the second cylindrical box, and a second U-shaped handle is fixedly installed on the top of the circular filter screen.
优选的,所述圆形过滤网的底部固定安装有两个第一环形磁铁,第一圆筒形箱的底部内壁上嵌装有两个第二环形磁铁,环形第一磁铁和环形第二磁铁相吸附。Preferably, two first annular magnets are fixedly installed at the bottom of the circular filter screen, two second annular magnets are embedded in the bottom inner wall of the first cylindrical box, the annular first magnet and the annular second magnet phase adsorption.
优选的,所述第一圆筒形箱的外侧设有外螺纹,第二圆筒形箱的内侧设有内螺纹,内螺纹与外螺纹相啮合。Preferably, an outer thread is provided on the outer side of the first cylindrical case, and an inner thread is provided on the inner side of the second cylindrical case, and the inner thread is engaged with the outer thread.
优选的,所述圆形活塞上固定套设有密封圈,密封圈的外侧与第二圆筒形箱的侧壁滑动连接。Preferably, a sealing ring is fixedly sleeved on the circular piston, and the outer side of the sealing ring is slidably connected with the side wall of the second cylindrical box.
优选的,所述第二圆筒形箱的顶部内壁上开设有矩形孔,矩形孔的侧壁与竖板的外侧滑动连接。Preferably, a rectangular hole is formed on the top inner wall of the second cylindrical box, and the side wall of the rectangular hole is slidably connected to the outer side of the vertical plate.
优选的,所述竖杆的底端开设有矩形槽,矩形槽的侧壁与对应的L形杆的外侧滑动连接。Preferably, the bottom end of the vertical rod is provided with a rectangular groove, and the side wall of the rectangular groove is slidably connected with the outer side of the corresponding L-shaped rod.
与现有的技术相比,本实用新型的有益效果是:Compared with the prior art, the beneficial effects of the present utility model are:
通过设置的第一圆筒形箱、第二圆筒形箱、连接管、L形管、斜管、进尘罩、圆形过滤网、L形杆、竖杆、弹簧、圆形活塞、竖板、凹槽、微型马达、偏心轮、第一单向阀和第二单向阀相配合,使用时,握住第一U形把手通过第二圆筒形箱带动第一圆筒形箱移动至电气自动化设备表面的灰尘堆积处,紧接着正向启动微型马达带动偏心轮转动前半圈对滚珠进行挤压,滚珠通过竖板带动圆形活塞向下移动,圆形活塞带动两个竖杆向下移动,竖杆在对应的L形杆上滑动并对弹簧进行压缩,圆形活塞向下移动推出一个气体,气体穿过圆形过滤网并经连接管排出,连接管排出的气体将电气自动化设备表面的灰尘吹气,当偏心轮转动到后半圈时放松对滚珠的挤压力,两个弹簧弹力复位通过两个竖杆带动同一个圆形活塞向上移动产生一个吸力,吹起的灰尘吸入到进尘罩内,灰尘通过进尘罩依次进入至对应的斜管、L形管和第一圆筒形箱内,微型马达持续运转能带动圆形活塞上下循环移动,使得自动将电气自动化设备表面堆积的灰尘吹起并吸入至第一圆筒形箱内,当第一圆筒形箱内的灰尘收集到一定程度需要清理时,转动第一U形把手带动第二圆筒形箱转动,使得第二圆筒形箱在第一圆筒形箱上转动并向上移动,第二圆筒形箱与第一圆筒形箱相分离,紧接着向上拉动第二U形把手带动圆形过滤网向上移动,便可以将圆形过滤网从第一圆筒形箱内取出并对灰尘进行清理。The first cylindrical box, the second cylindrical box, the connecting pipe, the L-shaped pipe, the inclined pipe, the dust inlet cover, the circular filter screen, the L-shaped rod, the vertical rod, the spring, the circular piston, the vertical rod, the The plate, the groove, the micro motor, the eccentric wheel, the first one-way valve and the second one-way valve are matched together. When in use, hold the first U-shaped handle to drive the first cylindrical box to move through the second cylindrical box. To the dust accumulation on the surface of the electrical automation equipment, then start the micro motor in the forward direction to drive the eccentric wheel to rotate the first half circle to squeeze the ball, the ball drives the circular piston to move down through the vertical plate, and the circular piston drives the two vertical rods to Moving down, the vertical rod slides on the corresponding L-shaped rod and compresses the spring, the circular piston moves down to push out a gas, the gas passes through the circular filter screen and is discharged through the connecting pipe, and the gas discharged from the connecting pipe will be electrically automated The dust on the surface of the equipment blows air. When the eccentric wheel rotates to the second half of the circle, the squeezing force on the ball is released, and the two springs are elastically reset to drive the same circular piston to move up through the two vertical rods to generate a suction force, blowing dust. The dust is sucked into the dust inlet hood, and the dust enters the corresponding inclined tube, L-shaped tube and the first cylindrical box in turn through the dust inlet hood. The continuous operation of the micro motor can drive the circular piston to move up and down circularly, making the electrical automation automatically The dust accumulated on the surface of the equipment is blown up and sucked into the first cylindrical box. When the dust in the first cylindrical box is collected to a certain level and needs to be cleaned, turn the first U-shaped handle to drive the second cylindrical box to rotate. , so that the second cylindrical box rotates and moves upward on the first cylindrical box, the second cylindrical box is separated from the first cylindrical box, and then the second U-shaped handle is pulled upward to drive the circular filter When the net moves upward, the circular filter can be taken out from the first cylindrical box and the dust can be cleaned.
本实用新型结构简单,操作方便,便于根据实际对电气自动化设备表面堆积的灰尘自动吹起并吸入至第一圆筒形箱内,且便于对第一圆筒形箱内收集的灰尘进行及时的清理,满足使用需要,有利于使用。The utility model has the advantages of simple structure and convenient operation, which is convenient for automatically blowing up the dust accumulated on the surface of the electrical automation equipment and inhaling it into the first cylindrical box according to the actual situation, and is convenient for timely cleaning the dust collected in the first cylindrical box. Clean up, meet the needs of use, and be beneficial to use.
附图说明Description of drawings
图1为本实用新型提出的一种电气自动化设备用清灰装置的结构示意图;Fig. 1 is the structural representation of a kind of ash cleaning device for electrical automation equipment proposed by the utility model;
图2为本实用新型提出的一种电气自动化设备用清灰装置的剖视结构示意图;Fig. 2 is the sectional structure schematic diagram of a kind of ash cleaning device for electrical automation equipment proposed by the utility model;
图3为图2中A部分的放大结构示意图;Fig. 3 is the enlarged structural representation of part A in Fig. 2;
图4为图2中B部分的放大结构示意图。FIG. 4 is an enlarged schematic structural diagram of part B in FIG. 2 .
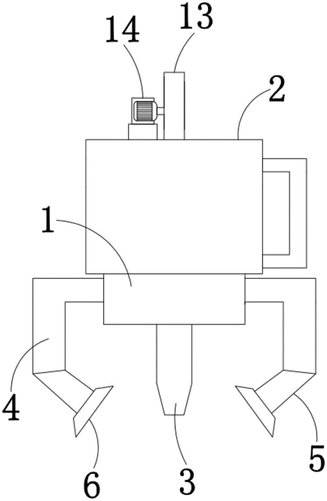
图中:1第一圆筒形箱、2第二圆筒形箱、3连接管、4 L形管、5斜管、6进尘罩、7圆形过滤网、8 L形杆、9竖杆、10弹簧、11圆形活塞、12竖板、13凹槽、14微型马达、15偏心轮、16第一单向阀、17第二单向阀。In the picture: 1 first cylindrical box, 2 second cylindrical box, 3 connecting pipe, 4 L-shaped pipe, 5 inclined pipe, 6 dust inlet hood, 7 circular filter screen, 8 L-shaped rod, 9 vertical Rod, 10 spring, 11 circular piston, 12 vertical plate, 13 groove, 14 micro motor, 15 eccentric wheel, 16 first check valve, 17 second check valve.
具体实施方式Detailed ways
下面将结合本实用新型实施例中的附图,对本实用新型实施例中的技术方案进行清楚、完整地描述,显然,所描述的实施例仅仅是本实用新型一部分实施例,而不是全部的实施例。The technical solutions in the embodiments of the present utility model will be clearly and completely described below with reference to the accompanying drawings in the embodiments of the present utility model. Obviously, the described embodiments are only a part of the embodiments of the present utility model, rather than all the implementations. example.
参照图1-4,一种电气自动化设备用清灰装置,包括顶部为开口设置的第一圆筒形箱1,第一圆筒形箱1上螺纹套设有底部为开口设置的第二圆筒形箱2,第一圆筒形箱1的底部连通并固定有连接管3,连接管3的底端设为锥形结构,第一圆筒形箱1的两侧均连通并固定有L形管4,两个L形管4对称设置,L形管4的底端连通并固定有倾斜设置的斜管5,两个斜管5对称设置,斜管5的底端连通并固定有进尘罩6,两个进尘罩6对称设置,连接管3位于两个进尘罩6之间,第二圆筒形箱2的两侧内壁上均固定安装有L形杆8,两个L形杆8对称设置,L形杆8上滑动套设有竖杆9,竖杆9的底端与对应的L形杆8的底部内壁之间固定安装有同一个弹簧10,弹簧10活动套设在对应的L形杆8上,第二圆筒形箱2内密封滑动套设有圆形活塞11,圆形活塞11的底部与两个竖杆9的顶端固定连接,第一圆筒形箱1内活动套设有圆形过滤网7,圆形活塞11的顶部固定安装有竖板12,竖板12的顶部延伸至第二圆筒形箱2的上方,竖板12的一侧开设有凹槽13,第二圆筒形箱2的顶部一侧固定安装有微型马达14,微型马达14的输出轴端部延伸至凹槽13内并固定安装有偏心轮15,凹槽13的底部内壁上嵌套有滚珠,滚珠的顶部与偏心轮15的外侧滚动接触,连接管3内固定套设有第一单向阀16,第一单向阀16的底部设置为出口,L形管4内固定套设有第二单向阀17,第二单向阀17靠近圆形过滤网7的一侧设置为出口,本实用新型结构简单,操作方便,便于根据实际对电气自动化设备表面堆积的灰尘自动吹起并吸入至第一圆筒形箱1内,且便于对第一圆筒形箱1内收集的灰尘进行及时的清理,满足使用需要,有利于使用。Referring to Figures 1-4, a ash cleaning device for electrical automation equipment includes a first
本实用新型中,第二圆筒形箱2的一侧固定安装有第一U形把手,圆形过滤网7的顶部固定安装有第二U形把手,圆形过滤网7的底部固定安装有两个第一环形磁铁,第一圆筒形箱1的底部内壁上嵌装有两个第二环形磁铁,环形第一磁铁和环形第二磁铁相吸附,第一圆筒形箱1的外侧设有外螺纹,第二圆筒形箱2的内侧设有内螺纹,内螺纹与外螺纹相啮合,圆形活塞11上固定套设有密封圈,密封圈的外侧与第二圆筒形箱2的侧壁滑动连接,第二圆筒形箱2的顶部内壁上开设有矩形孔,矩形孔的侧壁与竖板12的外侧滑动连接,竖杆9的底端开设有矩形槽,矩形槽的侧壁与对应的L形杆8的外侧滑动连接,本实用新型结构简单,操作方便,便于根据实际对电气自动化设备表面堆积的灰尘自动吹起并吸入至第一圆筒形箱1内,且便于对第一圆筒形箱1内收集的灰尘进行及时的清理,满足使用需要,有利于使用。In the present invention, a first U-shaped handle is fixedly installed on one side of the second
工作原理:使用时,握住第一U形把手通过第二圆筒形箱2带动第一圆筒形箱1移动至电气自动化设备表面的灰尘堆积处,紧接着正向启动微型马达14,微型马达14工作带动偏心轮15转动,偏心轮15转动前半圈对滚珠进行挤压,在挤压力的作用下,滚珠移动并转动,滚珠带动竖板12向下移动,竖板12带动圆形活塞11向下移动,圆形活塞11带动两个竖杆9向下移动,竖杆9在对应的L形杆8上滑动并对弹簧10进行压缩,圆形活塞11向下移动推出一个气体,气体穿过圆形过滤网7并经连接管3排出,连接管3排出的气体将电气自动化设备表面的灰尘吹气,当偏心轮15转动到后半圈时放松对滚珠的挤压力,此时处于压缩状态下的弹簧10复位,弹簧10的弹力带动竖杆9向上移动,两个竖杆9带动同一个圆形活塞11向上移动,在密封圈的作用下,圆形活塞11向上移动产生一个吸力,在吸力的作用下,吹起的灰尘被吸入到进尘罩6内,灰尘通过进尘罩6依次进入至对应的斜管5、L形管4和第一圆筒形箱1内,当圆形活塞11再次向下移动推出一个气体时,在圆形过滤网7的作用下,使得进入到第一圆筒形箱1内灰尘不会通过连接管3排出,微型马达14持续运转能带动圆形活塞11上下循环移动,使得自动将电气自动化设备表面堆积的灰尘吹起并吸入至第一圆筒形箱1内;Working principle: when in use, hold the first U-shaped handle and drive the first
当第一圆筒形箱1内的灰尘收集到一定程度需要清理时,转动第一U形把手带动第二圆筒形箱2转动,在第二圆筒形箱2与第一圆筒形箱1螺纹连接的作用下,使得第二圆筒形箱2在第一圆筒形箱1上转动并向上移动,第二圆筒形箱2与第一圆筒形箱1相分离,紧接着向上拉动第二U形把手带动圆形过滤网7向上移动,圆形过滤网7带动环形第一磁铁与环形第二磁铁相分离,便可以将圆形过滤网7从第一圆筒形箱1内取出并对灰尘进行清理。When the dust in the first
本实用的描述中,还需要说明的是,除非另有明确的规定和限制,术语“设置”、“安装”、“相连”、“连接”应做广义理解,例如,可以是固定连接,也可以是可拆卸连接,或一体地连接,可以是机械连接,也可以是电连接,可以是直接连接,也可以是通过中间媒介相连,可以是两个元件内部的连通。对于本领域的普通技术人员而言,可以根据具体情况理解上述术语在本实用中的具体含义。In the description of the present application, it should also be noted that, unless otherwise expressly specified and restricted, the terms "arrangement", "installation", "connection" and "connection" should be understood in a broad sense, for example, it may be a fixed connection, or It can be a detachable connection, an integral connection, a mechanical connection, an electrical connection, a direct connection, or a connection through an intermediate medium, or the internal communication between the two components. For those of ordinary skill in the art, the specific meanings of the above terms in the present application can be understood according to specific situations.
以上所述,仅为本实用新型较佳的具体实施方式,但本实用新型的保护范围并不局限于此,任何熟悉本技术领域的技术人员在本实用新型揭露的技术范围内,根据本实用新型的技术方案及其实用新型构思加以等同替换或改变,都应涵盖在本实用新型的保护范围之内。The above description is only a preferred embodiment of the present invention, but the protection scope of the present invention is not limited to this. Equivalent replacement or modification of the new technical solution and its utility model concept shall be included within the protection scope of the present utility model.
Claims (7)
Priority Applications (1)
| Application Number | Priority Date | Filing Date | Title |
|---|---|---|---|
| CN202020178858.8U CN211587789U (en) | 2020-02-18 | 2020-02-18 | Ash removal device for electrical automation equipment |
Applications Claiming Priority (1)
| Application Number | Priority Date | Filing Date | Title |
|---|---|---|---|
| CN202020178858.8U CN211587789U (en) | 2020-02-18 | 2020-02-18 | Ash removal device for electrical automation equipment |
Publications (1)
| Publication Number | Publication Date |
|---|---|
| CN211587789U true CN211587789U (en) | 2020-09-29 |
Family
ID=72580903
Family Applications (1)
| Application Number | Title | Priority Date | Filing Date |
|---|---|---|---|
| CN202020178858.8U Expired - Fee Related CN211587789U (en) | 2020-02-18 | 2020-02-18 | Ash removal device for electrical automation equipment |
Country Status (1)
| Country | Link |
|---|---|
| CN (1) | CN211587789U (en) |
Cited By (2)
| Publication number | Priority date | Publication date | Assignee | Title |
|---|---|---|---|---|
| CN112626823A (en) * | 2020-12-21 | 2021-04-09 | 李书红 | Prevent static dust collector for cotton processing |
| CN119765045A (en) * | 2025-01-10 | 2025-04-04 | 山东大学 | A power cabinet with dust removal mechanism |
-
2020
- 2020-02-18 CN CN202020178858.8U patent/CN211587789U/en not_active Expired - Fee Related
Cited By (2)
| Publication number | Priority date | Publication date | Assignee | Title |
|---|---|---|---|---|
| CN112626823A (en) * | 2020-12-21 | 2021-04-09 | 李书红 | Prevent static dust collector for cotton processing |
| CN119765045A (en) * | 2025-01-10 | 2025-04-04 | 山东大学 | A power cabinet with dust removal mechanism |
Similar Documents
| Publication | Publication Date | Title |
|---|---|---|
| CN211587789U (en) | Ash removal device for electrical automation equipment | |
| CN109091973B (en) | A filter cartridge self-cleaning dust treatment device | |
| CN117298768A (en) | Self-cleaning air filter | |
| CN209076269U (en) | A kind of monomer pulsed exhaust dust device with bag | |
| CN102950129B (en) | Automatic cleaning machine of multi-functional air filter | |
| CN111648815A (en) | A kind of dust removal equipment for mine and its use method | |
| CN116672820B (en) | Mining dust collector | |
| CN219848821U (en) | Dust-containing air treatment equipment | |
| CN217440261U (en) | Dust keeper of air compressor machine | |
| CN219290880U (en) | Ash hopper of a bag filter | |
| CN207980325U (en) | A kind of Intelligent table tennis with cleaning function picks up ball machine | |
| CN218046962U (en) | Environment-friendly industrial waste gas treatment equipment | |
| CN212348020U (en) | A central dust removal device | |
| CN209952500U (en) | Dust removal unit suitable for powdery dust and smoke dust | |
| CN210905331U (en) | Filter cartridge dust remover convenient for replacing filter element | |
| CN209501097U (en) | A kind of communication base station room dust removal by ventilation equipment | |
| CN210079059U (en) | An automatic cleaning dust bag type dust removal device | |
| CN218690458U (en) | Full-automatic electrostatic dust collection device | |
| CN216464026U (en) | A steel shot recovery device for shot blasting machine | |
| CN211155582U (en) | A workshop dust collector for easy internal cleaning | |
| CN112275450A (en) | Dust collection type electrostatic dust collection device capable of preventing secondary dust raising | |
| CN221889465U (en) | A flue gas dust collector capable of improving dust removal efficiency for environmental engineering | |
| CN221846448U (en) | High negative pressure dust collector | |
| CN203486431U (en) | Dust collecting device | |
| CN217939566U (en) | Self-ash-cleaning filter drum dust remover |
Legal Events
| Date | Code | Title | Description |
|---|---|---|---|
| GR01 | Patent grant | ||
| GR01 | Patent grant | ||
| CF01 | Termination of patent right due to non-payment of annual fee |
Granted publication date: 20200929 |
|
| CF01 | Termination of patent right due to non-payment of annual fee |
