CN211584516U - Paediatrics drainage device - Google Patents
Paediatrics drainage device Download PDFInfo
- Publication number
- CN211584516U CN211584516U CN202020137395.0U CN202020137395U CN211584516U CN 211584516 U CN211584516 U CN 211584516U CN 202020137395 U CN202020137395 U CN 202020137395U CN 211584516 U CN211584516 U CN 211584516U
- Authority
- CN
- China
- Prior art keywords
- pipe
- liquid storage
- ring
- storage box
- drainage
- Prior art date
- Legal status (The legal status is an assumption and is not a legal conclusion. Google has not performed a legal analysis and makes no representation as to the accuracy of the status listed.)
- Expired - Fee Related
Links
- 239000007788 liquid Substances 0.000 claims abstract description 49
- 239000012528 membrane Substances 0.000 claims abstract description 13
- 206010052428 Wound Diseases 0.000 description 17
- 208000027418 Wounds and injury Diseases 0.000 description 17
- 238000000034 method Methods 0.000 description 6
- 239000012530 fluid Substances 0.000 description 3
- 230000006806 disease prevention Effects 0.000 description 2
- 206010067268 Post procedural infection Diseases 0.000 description 1
- 206010072170 Skin wound Diseases 0.000 description 1
- 230000009286 beneficial effect Effects 0.000 description 1
- 210000003445 biliary tract Anatomy 0.000 description 1
- 239000008280 blood Substances 0.000 description 1
- 210000004369 blood Anatomy 0.000 description 1
- 230000007812 deficiency Effects 0.000 description 1
- 238000010586 diagram Methods 0.000 description 1
- 239000003814 drug Substances 0.000 description 1
- 210000001035 gastrointestinal tract Anatomy 0.000 description 1
- 230000007774 longterm Effects 0.000 description 1
- 230000036630 mental development Effects 0.000 description 1
- 238000012986 modification Methods 0.000 description 1
- 230000004048 modification Effects 0.000 description 1
- 238000003032 molecular docking Methods 0.000 description 1
- 238000007460 surgical drainage Methods 0.000 description 1
- 210000000115 thoracic cavity Anatomy 0.000 description 1
- 230000029663 wound healing Effects 0.000 description 1
Images
Landscapes
- Infusion, Injection, And Reservoir Apparatuses (AREA)
Abstract
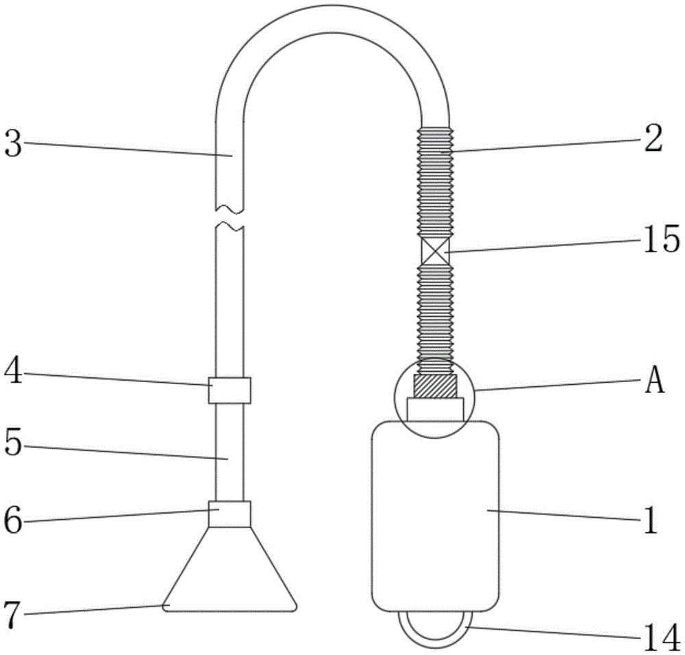
本实用新型涉及一种儿科引流装置,包括储液盒,所述储液盒的顶部外表面设置有波纹管,所述波纹管与储液盒的内部相通,所述波纹管的中部设置有单向阀,所述波纹管远离储液盒的一端设置有引流管,所述引流管与波纹管相通,所述引流管远离波纹管的一端设置有滑管,所述滑管与引流管相通,所述滑管远离引流管的一端螺纹安装有软针头,所述储液盒的内侧底部固定安装有微型气泵,所述储液盒的底部外表面开设有排气口,且排气口与微型气泵的输出端口相通。本实用新型通过设置的防水透气膜、滑管、第一限位环、第二限位环、滑环、吸引罩与软针头,能够防止脓液或淤血等沾染至微型气泵内,还具有优异的适用性,利于使用。
The utility model relates to a pediatric drainage device, comprising a liquid storage box, a corrugated pipe is arranged on the top outer surface of the liquid storage box, the corrugated pipe is communicated with the interior of the liquid storage box, and a single bellows pipe is arranged in the middle of the corrugated pipe To the valve, the end of the bellows pipe away from the liquid storage box is provided with a drainage pipe, the drainage pipe is communicated with the bellows, and the end of the drainage pipe away from the bellows is provided with a sliding pipe, and the sliding pipe is communicated with the drainage pipe, One end of the sliding tube away from the drainage tube is threadedly installed with a soft needle, a micro air pump is fixedly installed on the inner bottom of the liquid storage box, and an exhaust port is opened on the outer surface of the bottom of the liquid storage box, and the exhaust port is connected with the micro air pump. The output port of the air pump is connected. The utility model can prevent pus or congestion from contaminating the micro air pump through the provision of the waterproof air-permeable membrane, the sliding tube, the first limiting ring, the second limiting ring, the sliding ring, the suction cover and the soft needle, and has the advantages of excellent The applicability is convenient for use.
Description
技术领域technical field
本实用新型属于医疗器械技术领域,具体地说涉及一种儿科引流装置。The utility model belongs to the technical field of medical devices, in particular to a pediatric drainage device.
背景技术Background technique
儿科是全面研究小儿时期身心发育、保健以及疾病防治的综合医学科学。凡涉及儿童和青少年时期的健康与卫生问题都属于儿科范围。其医治的对象处于生长发育期。儿科学的任务是不断探索儿科医学理论,在实践的基础降低发病率、死亡率,增强儿童和青少年体质,提高儿童青少年保健和疾病防治水平。世界各国的儿科范围年龄各有不同,自婴儿期至青少年期为儿科范围。Pediatrics is a comprehensive medical science that comprehensively studies physical and mental development, health care and disease prevention and treatment in children. All health and hygiene problems involving childhood and adolescence fall within the scope of paediatrics. The objects it treats are in the growth and development stage. The task of pediatrics is to continuously explore the theory of pediatric medicine, reduce morbidity and mortality on the basis of practice, enhance the physical fitness of children and adolescents, and improve the level of children and adolescents' health care and disease prevention. Pediatric ranges vary in age in countries around the world, ranging from infancy to adolescence.
临床上应用的外科引流装置种类很多,有的用于导尿,有的用于伤口,胸腔、胃肠道、胆道等都有应用,外科引流为的是将人体组织间或体腔中积聚的脓、血、液体导引至体外,防止术后感染与影响伤口愈合,现有的引流装置在使用时存在一定的弊端,对皮肤创伤进行引流时,难以对面积过大或面积过小的创口进行引流,适用性较低,同时,引流装置主要采用气泵控制流体流动方向,从而完成引流,但在引流过程中,创口内脓液或淤血等沾染至气泵内,影响二次使用,为此,我们提出一种儿科引流装置。There are many types of surgical drainage devices used clinically, some are used for catheterization, some are used for wounds, thoracic cavity, gastrointestinal tract, biliary tract, etc. The blood and liquid are guided to the outside of the body to prevent postoperative infection and affect wound healing. The existing drainage devices have certain drawbacks in use. When draining skin wounds, it is difficult to drain the wounds that are too large or too small. , the applicability is low, and at the same time, the drainage device mainly uses the air pump to control the fluid flow direction, so as to complete the drainage, but during the drainage process, the pus or congestion in the wound is contaminated into the air pump, which affects the secondary use. Therefore, we propose A pediatric drainage device.
实用新型内容Utility model content
针对现有技术的种种不足,发明人在长期实践中研究设计出一种儿科引流装置,结构简单,能够对大面积创口或小面积创口进行引流工作,利于使用。In view of various deficiencies in the prior art, the inventor has researched and designed a pediatric drainage device in long-term practice, which has a simple structure, can perform drainage work on large or small wounds, and is convenient for use.
为实现上述目的,本实用新型提供如下技术方案:To achieve the above object, the utility model provides the following technical solutions:
一种儿科引流装置,包括储液盒,所述储液盒的顶部外表面设置有波纹管,所述波纹管与储液盒的内部相通,所述波纹管的中部设置有单向阀,所述波纹管远离储液盒的一端设置有引流管,所述引流管与波纹管相通,所述引流管远离波纹管的一端设置有滑管,所述滑管与引流管相通,所述滑管远离引流管的一端螺纹安装有软针头,所述储液盒的内侧底部固定安装有微型气泵,所述储液盒的底部外表面开设有排气口,且排气口与微型气泵的输出端口相通。A pediatric drainage device, comprising a liquid storage box, the top outer surface of the liquid storage box is provided with a corrugated pipe, the corrugated pipe communicates with the interior of the liquid storage box, and a check valve is arranged in the middle of the corrugated pipe, so the One end of the bellows away from the liquid storage box is provided with a drainage tube, the drainage tube communicates with the bellows, and one end of the drainage tube away from the bellows is provided with a sliding tube, the sliding tube communicates with the drainage tube, and the sliding tube A soft needle is threadedly installed at one end away from the drainage tube, a micro air pump is fixedly installed on the inner bottom of the liquid storage box, and an exhaust port is opened on the outer surface of the bottom of the liquid storage box, and the exhaust port is connected with the output port of the micro air pump Connected.
进一步地,所述储液盒的内部设置有防水透气膜,所述微型气泵的输入端口靠近防水透气膜。Further, the inside of the liquid storage box is provided with a waterproof and breathable membrane, and the input port of the micro air pump is close to the waterproof and breathable membrane.
进一步地,所述储液盒的顶部外表面固定安装有内牙环,所述内牙环的内壁开设有内螺纹,所述内牙环的上方设置有外牙环,所述外牙环的外壁开设有外螺纹,所述内牙环与外牙环螺纹连接,所述波纹管远离引流管的一端与外牙环固定连接。Further, an inner tooth ring is fixedly installed on the top outer surface of the liquid storage box, an inner thread is opened on the inner wall of the inner tooth ring, an outer tooth ring is arranged above the inner tooth ring, and the outer tooth ring is arranged on the top of the inner tooth ring. The outer wall is provided with an external thread, the inner tooth ring is threadedly connected with the outer tooth ring, and the end of the bellows away from the drainage pipe is fixedly connected with the outer tooth ring.
进一步地,所述波纹管与引流管之间设置有第一接头,所述波纹管的一端通过第一接头与引流管的一端固定连接,所述引流管与滑管之间设置于第二接头,所述引流管的另一端通过第二接头与滑管的一端固定连接。Further, a first joint is provided between the corrugated pipe and the drainage pipe, one end of the corrugated pipe is fixedly connected to one end of the drainage pipe through the first joint, and a second joint is arranged between the drainage pipe and the sliding pipe. , the other end of the drainage pipe is fixedly connected with one end of the sliding pipe through the second joint.
进一步地,所述滑管的一端固定安装有第一限位环,所述滑管的另一端固定安装有第二限位环,所述滑管上滑动安装有滑环,所述滑环的一端固定安装有吸引罩,所述滑环位于第一限位环与第二限位环之间。Further, one end of the sliding pipe is fixedly installed with a first limit ring, the other end of the sliding pipe is fixedly installed with a second limit ring, a sliding ring is slidably installed on the sliding pipe, and the A suction cover is fixedly installed at one end, and the slip ring is located between the first limit ring and the second limit ring.
进一步地,所述储液盒的底部设置有挂环,所述挂环与储液盒之间设置有固定块,所述挂环的两端均通过固定块与储液盒的底部外表面固定连接。Further, a hanging ring is arranged at the bottom of the liquid storage box, a fixing block is arranged between the hanging ring and the liquid storage box, and both ends of the hanging ring are fixed to the bottom outer surface of the liquid storage box by the fixing block. connect.
本实用新型的有益效果是:The beneficial effects of the present utility model are:
该儿科引流装置,通过设置的防水透气膜、滑管、第一限位环、第二限位环、滑环、吸引罩与软针头,防水透气膜的设计,能够阻隔液体,但不影响气体通过,通过防水透气膜隔开微型气泵,在引流过程中,能够防止脓液或淤血等沾染至微型气泵内,软针头质地柔软,不会对患者造成剧烈疼痛感,且底端开口较小,适用于小面积的创口引流使用,针对大面积创口,拆下软针头后,吸引罩覆盖该创口,能够对大面积创口完成引流,适用性强,利于使用。The pediatric drainage device can block liquid but not affect gas through the waterproof and breathable membrane, sliding tube, first limit ring, second limit ring, slip ring, suction cover and soft needle. The design of the waterproof and breathable membrane The micro air pump is separated by a waterproof and breathable membrane, which can prevent pus or congestion from contaminating the micro air pump during the drainage process. The soft needle is soft and will not cause severe pain to the patient, and the bottom opening is small. It is suitable for drainage of small-area wounds. For large-area wounds, after removing the soft needle, the suction cover covers the wound, which can complete the drainage of large-area wounds. It has strong applicability and is convenient for use.
附图说明Description of drawings
图1是本实用新型的主视图;Fig. 1 is the front view of the present utility model;
图2是本实用新型的图1中A的放大图;Fig. 2 is the enlarged view of A in Fig. 1 of the present utility model;
图3是本实用新型中滑管的结构示意图;Fig. 3 is the structural representation of the sliding pipe in the present utility model;
图4是本实用新型中储液盒的内部结构示意图。4 is a schematic diagram of the internal structure of the liquid storage box in the present invention.
附图中:1、储液盒;2、波纹管;3、引流管;4、第一限位环;5、滑管;6、滑环;7、吸引罩;8、内牙环;9、外牙环;10、第二限位环;11、软针头;12、微型气泵;13、防水透气膜;14、挂环;15、单向阀。In the attached drawings: 1. Liquid storage box; 2. Corrugated pipe; 3. Drainage tube; 4. First limit ring; 5. Slide pipe; 6. Slide ring; 7. Suction cover; 10, the second limit ring; 11, the soft needle; 12, the micro air pump; 13, the waterproof breathable membrane; 14, the hanging ring; 15, the one-way valve.
具体实施方式Detailed ways
为了使本领域的人员更好地理解本实用新型的技术方案,下面结合本实用新型的附图,对本实用新型的技术方案进行清楚、完整的描述。基于本申请中的实施例,本领域普通技术人员在没有做出创造性劳动的前提下所获得的其它类同实施例,都应当属于本申请保护的范围。此外,以下实施方式中提到的方向用词,例如“上”“下”“左”“右”等仅是参考附图的方向,因此,使用的方向用词是用来说明而非限制本实用新型创造。In order to make those skilled in the art better understand the technical solutions of the present invention, the technical solutions of the present invention will be described clearly and completely below with reference to the accompanying drawings of the present invention. Based on the embodiments in the present application, other similar embodiments obtained by those of ordinary skill in the art without creative work shall fall within the protection scope of the present application. In addition, the directional terms mentioned in the following embodiments, such as "up", "down", "left", "right", etc., are only the directions of reference to the drawings. Therefore, the directional terms used are used to illustrate rather than limit the present invention. Utility model creation.
下面结合附图和较佳的实施例对本实用新型作进一步说明。The present utility model will be further described below in conjunction with the accompanying drawings and preferred embodiments.
参见图1~图4,本实用新型为一种儿科引流装置,包括储液盒1,储液盒1的顶部外表面设置有波纹管2,波纹管2与储液盒1的内部相通,波纹管2的中部设置有单向阀15,波纹管2远离储液盒1的一端设置有引流管3,引流管3与波纹管2相通,引流管3远离波纹管2的一端设置有滑管5,滑管5与引流管3相通,滑管5远离引流管3的一端螺纹安装有软针头11,储液盒1的内侧底部固定安装有微型气泵12,储液盒1的底部外表面开设有排气口,且排气口与微型气泵12的输出端口相通,软针头11质地柔软,不会对患者造成剧烈疼痛感,且底端开口较小,适用于小面积的创口引流使用,软针头11的末端没入创口脓液或淤血中,控制微型气泵12启动,淤血或脓液等经过软针头11、滑管5、引流管3与波纹管2进入储液盒1的内部,完成引流工作。Referring to Figures 1 to 4, the present utility model is a pediatric drainage device, comprising a
储液盒1的内部设置有防水透气膜13,微型气泵12的输入端口靠近防水透气膜13,防水透气膜13的设计,在引流过程中,能够防止脓液或淤血等沾染至微型气泵12内。The inside of the
储液盒1的顶部外表面固定安装有内牙环8,内牙环8的内壁开设有内螺纹,内牙环8的上方设置有外牙环9,外牙环9的外壁开设有外螺纹,内牙环8与外牙环9螺纹连接,波纹管2远离引流管3的一端与外牙环9固定连接,内牙环8与外牙环9之间可通过正反转动进行拆装,拆分后,即可对储液盒1内部的脓液或淤血等流体进行处理。The top outer surface of the
波纹管2与引流管3之间设置有第一接头,波纹管2的一端通过第一接头与引流管3的一端固定连接,引流管3与滑管5之间设置于第二接头,引流管3的另一端通过第二接头与滑管5的一端固定连接,对接后结合强度高,结实耐用。A first joint is arranged between the
滑管5的一端固定安装有第一限位环4,滑管5的另一端固定安装有第二限位环10,滑管5上滑动安装有滑环6,滑环6的一端固定安装有吸引罩7,滑环6位于第一限位环4与第二限位环10之间,吸引罩7开口面积大,覆盖面积较大的创口,能够对大面积创口完成引流。One end of the slide pipe 5 is fixedly mounted with a
储液盒1的底部设置有挂环14,挂环14与储液盒1之间设置有固定块,挂环14的两端均通过固定块与储液盒1的底部外表面固定连接,使储液盒1能够进行挂放。The bottom of the
使用前,采用挂放的方式,将挂环14挂放于挂架上,使用时,首先对患者创口大小进行判断,针对小型创口,可使用软针头11进行操作,滑动滑环6,使吸引罩7不再笼罩软针头11,软针头11的末端没入创口脓液或淤血中,控制微型气泵12启动,淤血或脓液等经过软针头11、滑管5、引流管3与波纹管2进入储液盒1的内部,完成引流工作,针对大型创口,可通过吸引罩7进行操作,通过扭转拆下软针头11,吸引罩7覆盖创口,控制微型气泵12启动,淤血或脓液等经过软针头11、滑管5、引流管3与波纹管2进入储液盒1的内部,完成引流工作,引流结束后,控制微型气泵12停止运转,单向阀15的设计,能够防止脓液或淤血等回流,此外,防水透气膜13的设计,在引流过程中,能够防止脓液或淤血等沾染至微型气泵12内,最终,旋钮拆分内牙环8与外牙环9,即可对储液盒1内部的脓液或淤血等流体进行处理。Before use, use the hanging method to hang the hanging
以上已将本实用新型做一详细说明,以上所述,仅为本实用新型之较佳实施例而已,当不能限定本实用新型实施范围,即凡依本申请范围所作均等变化与修饰,皆应仍属本实用新型涵盖范围内。The present invention has been described in detail above. The above are only preferred embodiments of the present invention, and should not limit the scope of implementation of the present invention, that is, all equivalent changes and modifications made according to the scope of the application should It still falls within the scope of the present invention.
Claims (6)
Priority Applications (1)
| Application Number | Priority Date | Filing Date | Title |
|---|---|---|---|
| CN202020137395.0U CN211584516U (en) | 2020-01-20 | 2020-01-20 | Paediatrics drainage device |
Applications Claiming Priority (1)
| Application Number | Priority Date | Filing Date | Title |
|---|---|---|---|
| CN202020137395.0U CN211584516U (en) | 2020-01-20 | 2020-01-20 | Paediatrics drainage device |
Publications (1)
| Publication Number | Publication Date |
|---|---|
| CN211584516U true CN211584516U (en) | 2020-09-29 |
Family
ID=72580333
Family Applications (1)
| Application Number | Title | Priority Date | Filing Date |
|---|---|---|---|
| CN202020137395.0U Expired - Fee Related CN211584516U (en) | 2020-01-20 | 2020-01-20 | Paediatrics drainage device |
Country Status (1)
| Country | Link |
|---|---|
| CN (1) | CN211584516U (en) |
-
2020
- 2020-01-20 CN CN202020137395.0U patent/CN211584516U/en not_active Expired - Fee Related
Similar Documents
| Publication | Publication Date | Title |
|---|---|---|
| CN205667649U (en) | A kind of negative-pressure type Antiplugging drainage-tube | |
| CN207342014U (en) | It is a kind of to continue the anticlogging drainage tube of accurate wash type | |
| CN211584516U (en) | Paediatrics drainage device | |
| CN204337489U (en) | Blockage resisting triple channel surgery rinses suction catheter | |
| CN206355113U (en) | A kind of thoracocentesis abdominocentesis drain device | |
| CN201823152U (en) | Orthopaedic anti-blocking & anti-contraflow flushing drainage tube | |
| CN206252687U (en) | A kind of pleural cavity closed drainage device | |
| CN219307507U (en) | Abdominal cavity drainage tube | |
| CN218129410U (en) | Abdominal wound drainage device with negative pressure function | |
| CN207041696U (en) | The depression drainage device of pressure adjustable | |
| CN213852349U (en) | A drainage device for VSD negative pressure equipment for diabetic foot patients | |
| CN212490928U (en) | Portable one-way valve thoracic closed drainage device | |
| CN206543321U (en) | A kind of new polylinker drainage tube adapter | |
| CN211611262U (en) | A fixed-free pelvic-abdominal drainage tube | |
| CN209302021U (en) | Drainage tube stopcock assembly | |
| CN208756637U (en) | A new type of integrated irrigation and drainage tube | |
| CN207152812U (en) | A kind of slotting sucked type of pipeline point connects disposable negative pressure drainage trauma care suit | |
| CN206482892U (en) | Negative pressure drainage device in a kind of disposable thoracic cavity | |
| CN217311311U (en) | Medical drainage device for drainage bag | |
| CN208436128U (en) | A kind of stomach and intestine depression drainage device | |
| CN215274821U (en) | Valve structure in drainage tube of thoracic cavity water-sealed bottle | |
| CN206597212U (en) | A kind of openheart surgery drainage tube | |
| CN205885962U (en) | Drainage tube is used in thorax operation | |
| CN219721658U (en) | Oncology anti-clogging drainage tube | |
| CN221808235U (en) | Drainage water seal bottle |
Legal Events
| Date | Code | Title | Description |
|---|---|---|---|
| GR01 | Patent grant | ||
| GR01 | Patent grant | ||
| CF01 | Termination of patent right due to non-payment of annual fee |
Granted publication date: 20200929 Termination date: 20220120 |
|
| CF01 | Termination of patent right due to non-payment of annual fee |
