CN211577802U - A shell for a blockchain management server - Google Patents
A shell for a blockchain management server Download PDFInfo
- Publication number
- CN211577802U CN211577802U CN201922047280.2U CN201922047280U CN211577802U CN 211577802 U CN211577802 U CN 211577802U CN 201922047280 U CN201922047280 U CN 201922047280U CN 211577802 U CN211577802 U CN 211577802U
- Authority
- CN
- China
- Prior art keywords
- casing
- shell
- block
- management server
- cover
- Prior art date
- Legal status (The legal status is an assumption and is not a legal conclusion. Google has not performed a legal analysis and makes no representation as to the accuracy of the status listed.)
- Expired - Fee Related
Links
Images
Landscapes
- Cooling Or The Like Of Electrical Apparatus (AREA)
Abstract
本实用新型的目的在于提供一种区块链管理服务器用外壳,以至少解决现有技术中不便于对内部的零部件进行维修,且散热效果较差的问题,一种区块链管理服务器用外壳,包括:壳体;壳盖,转动设置在所述壳体的顶端;底柱,所述底柱的数量为四个,且四个所述底柱固定安装在所述壳体的底端四角;底脚,螺接设置在所述底座的外壁底端;防滑垫,固定安装在所述底脚的底端;散热部件,设置在所述壳盖的顶端中部;卡动机构,设置在所述壳盖的底端前侧。该区块链管理服务器用外壳,可便于对壳体内部的零部件进行维修,且可避免服务器产生的热量过大对服务器造成损坏,大大提高了该装置的实用性。
The purpose of the present utility model is to provide a casing for a blockchain management server, so as to at least solve the problems in the prior art that it is inconvenient to repair the internal components and has a poor heat dissipation effect. The shell includes: a shell; a shell cover, which is rotatably arranged on the top of the shell; four corners; feet, screwed on the bottom end of the outer wall of the base; anti-skid pads, fixed on the bottom end of the feet; heat dissipation components, arranged on the top middle of the shell cover; locking mechanism, arranged on the front side of the bottom end of the cover. The casing for the blockchain management server can facilitate the maintenance of the parts inside the casing, and can avoid damage to the server caused by excessive heat generated by the server, thereby greatly improving the practicability of the device.
Description
技术领域technical field
本实用新型涉及服务器设备技术领域,具体为一种区块链管理服务器用外壳。The utility model relates to the technical field of server equipment, in particular to a casing for a blockchain management server.
背景技术Background technique
区块链是分布式数据存储、点对点传输、共识机制、加密算法等计算机技术的新型应用模式,是一种按照时间顺序将数据区块以顺序相连的方式组合成的一种链式数据结构,并以密码学方式保证的不可篡改和不可伪造的分布式账本;Blockchain is a new application mode of computer technology such as distributed data storage, point-to-point transmission, consensus mechanism, encryption algorithm, etc. And cryptographically guaranteed immutable and unforgeable distributed ledgers;
区块链管理服务器需要用到外壳进行安装保护,而目前外壳通常为固定时结构,不便于对内部的零部件进行维修,且服务器在工作时会产生大量热量,如不及时散出会造成服务器损坏,实用性较差。The blockchain management server needs to be installed and protected with a casing. At present, the casing is usually a fixed structure, which is inconvenient to repair the internal parts, and the server will generate a lot of heat when it is working. If it is not dissipated in time, it will cause the server Damaged and less usable.
实用新型内容Utility model content
本实用新型的目的在于提供一种区块链管理服务器用外壳,以至少解决现有技术中不便于对内部的零部件进行维修,且散热效果较差的问题。The purpose of the present invention is to provide a casing for a blockchain management server, so as to at least solve the problems in the prior art that it is inconvenient to repair the internal parts and has a poor heat dissipation effect.
为实现上述目的,本实用新型提供如下技术方案:一种区块链管理服务器用外壳,包括:In order to achieve the above purpose, the present utility model provides the following technical solutions: a casing for a blockchain management server, comprising:
壳体;case;
壳盖,转动设置在所述壳体的顶端;a shell cover, rotatably arranged on the top of the shell;
底柱,所述底柱的数量为四个,且四个所述底柱固定安装在所述壳体的底端四角;bottom pillars, the number of the bottom pillars is four, and the four bottom pillars are fixedly installed at the four corners of the bottom end of the housing;
底脚,螺接设置在所述底柱的外壁底端;a foot, which is screwed to the bottom end of the outer wall of the bottom column;
防滑垫,固定安装在所述底脚的底端;an anti-skid pad, fixedly installed on the bottom end of the foot;
散热部件,设置在所述壳盖的顶端中部;a heat-dissipating component, arranged in the middle of the top end of the shell cover;
卡动机构,设置在所述壳盖的底端前侧。The locking mechanism is arranged on the front side of the bottom end of the shell cover.
优选的,所述壳盖的顶端开设有通孔,所述通孔的内腔固定安装有防尘网。Preferably, the top end of the shell cover is provided with a through hole, and the inner cavity of the through hole is fixedly installed with a dustproof net.
优选的,所述散热部件包括:定位框,固定设置在所述壳盖的顶端且与通孔位置相对应处;散热风扇,固定设置在所述定位框的内腔;防护网,固定设置在所述定位框的顶端。Preferably, the heat dissipation component includes: a positioning frame, which is fixedly arranged on the top of the casing cover and corresponds to the position of the through hole; a cooling fan, which is fixedly arranged in the inner cavity of the positioning frame; and a protective net, which is fixedly arranged at the top of the positioning frame.
优选的,所述壳体的左右两侧顶端前侧均开设有限位孔,所述卡动机构包括:固定块,所述固定块的数量为两个,且两个所述固定块分别固定安装在壳盖的底端前侧左右两端;卡块,与所述固定块的内腔相适配插接,且卡块的一端延伸出固定块的内腔,并与所述限位孔的内腔相适配插接;弹簧,固定安装在所述卡块的内侧与固定块的内壁之间。Preferably, limit holes are provided on the front sides of the top ends of the left and right sides of the housing, and the locking mechanism includes: fixing blocks, the number of which is two, and the two fixing blocks are respectively fixed and installed. On the left and right ends of the front side of the bottom end of the shell cover; the clamping block is adapted to be inserted into the inner cavity of the fixing block, and one end of the clamping block extends out of the inner cavity of the fixing block, and is connected with the inner cavity of the limiting hole. The inner cavity is adapted to be inserted and connected; the spring is fixedly installed between the inner side of the clamping block and the inner wall of the fixing block.
优选的,所述卡块的形状为“T”字形,且卡块的外侧形状为半圆形。Preferably, the shape of the clamping block is a "T" shape, and the outer shape of the clamping block is a semicircle.
优选的,所述壳体的内腔前侧顶端固定安装有沿左右方向设置的限位块,且壳盖的底端前侧与限位块的顶端接触,所述壳盖的顶端前侧固定安装有拉手。Preferably, a limit block arranged in the left-right direction is fixedly installed on the top end of the front side of the inner cavity of the housing, and the front side of the bottom end of the shell cover is in contact with the top end of the limit block, and the front side of the top end of the shell cover is fixed Installed with handle.
与现有技术相比,本实用新型的有益效果是:该区块链管理服务器用外壳,通过散热部件、通孔和防尘网的配合可对壳体内进行主动散热,并且能够避免灰尘和杂物通过通孔进入到壳体内,通过卡动机构、限位孔和限位块的配合可便于对壳盖进行翻转,从而可便于对壳体内部的零部件进行维修,且可避免服务器产生的热量过大对服务器造成损坏,大大提高了该装置的实用性。Compared with the prior art, the beneficial effect of the utility model is that the shell for the blockchain management server can actively dissipate heat in the shell through the cooperation of the heat dissipation components, the through holes and the dustproof net, and can avoid dust and impurities. The object enters the shell through the through hole, and the shell cover can be easily turned over by the cooperation of the locking mechanism, the limit hole and the limit block, so as to facilitate the maintenance of the parts inside the shell and avoid the occurrence of damage caused by the server. Excessive heat damages the server, which greatly improves the practicability of the device.
附图说明Description of drawings
图1为本实用新型的结构示意图;Fig. 1 is the structural representation of the utility model;
图2为本实用新型图1壳盖的结构示意图;Fig. 2 is the structural representation of the shell cover of Fig. 1 of the utility model;
图3为本实用新型壳体的后侧剖视图。3 is a rear cross-sectional view of the housing of the present invention.
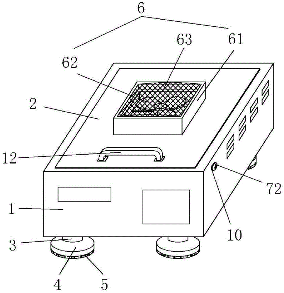
图中:1、壳体,2、壳盖,3、底柱,4、底脚,5、防滑垫,6、散热部件,61、定位框,62、散热风扇,63、防护网,7、卡动机构,71、固定块, 72、卡块,73、弹簧,8、通孔,9、防尘网,10、限位孔,11、限位块,12、拉手。In the picture: 1. Shell, 2. Cover, 3. Bottom column, 4. Foot, 5. Anti-skid pad, 6. Heat dissipation component, 61, Positioning frame, 62, Cooling fan, 63, Protection net, 7. Snap mechanism, 71, fixed block, 72, snap block, 73, spring, 8, through hole, 9, dust filter, 10, limit hole, 11, limit block, 12, handle.
具体实施方式Detailed ways
下面将结合本实用新型实施例中的附图,对本实用新型实施例中的技术方案进行清楚、完整地描述,显然,所描述的实施例仅仅是本实用新型一部分实施例,而不是全部的实施例。基于本实用新型中的实施例,本领域普通技术人员在没有做出创造性劳动前提下所获得的所有其他实施例,都属于本实用新型保护的范围。The technical solutions in the embodiments of the present utility model will be clearly and completely described below with reference to the accompanying drawings in the embodiments of the present utility model. Obviously, the described embodiments are only a part of the embodiments of the present utility model, rather than all the implementations. example. Based on the embodiments of the present invention, all other embodiments obtained by those of ordinary skill in the art without creative work fall within the protection scope of the present invention.
请参阅图1-3,本实用新型提供一种技术方案:一种区块链管理服务器用外壳,包括:壳体1、壳盖、底柱3、底脚4、防滑垫5、散热部件6和卡动机构7,壳盖2转动设置在壳体1的顶端,底柱3底柱3的数量为四个,且四个底柱3固定安装在壳体1的底端四角,底脚4螺接设置在底柱3的外壁底端,底脚4可对壳体1进行支撑,防滑垫5固定安装在底脚4的底端,通过设置有防滑垫5可提高对壳体1支撑的稳定性,散热部件6设置在壳盖2的顶端中部,卡动机构7设置在壳盖2的底端前侧。1-3, the present utility model provides a technical solution: a casing for a blockchain management server, comprising: a
作为优选方案,更进一步的,壳盖2的顶端开设有通孔8,通孔8的内腔固定安装有防尘网9,可避免灰尘通过通孔8进入到壳体1内。As a preferred solution, further, a
作为优选方案,更进一步的,散热部件6包括:定位框61、散热风扇62 和防护网63,定位框61固定设置在壳盖2的顶端且与通孔8位置相对应处,散热风扇62固定设置在定位框61的内腔,散热风扇62为排风扇,符合该装置实施的散热风扇均可使用,在散热风扇62的吸力作用下,可主动排出壳体 1内产生的热量,防护网63固定设置在定位框61的顶端,可在散热风扇62 工作时产生防护作用。As a preferred solution, further, the
作为优选方案,更进一步的,壳体1的左右两侧顶端前侧均开设有限位孔10,卡动机构7包括:固定块71、卡块72和弹簧73,固定块71的数量为两个,且两个固定块71分别固定安装在壳盖2的底端前侧左右两端,卡块72 与固定块71的内腔相适配插接,且卡块72的一端延伸出固定块71的内腔,并与限位孔10的内腔相适配插接,通过卡块72与限位孔10的配合可使壳盖 2固定在壳体1的顶端,弹簧73固定安装在卡块72的内侧与固定块71的内壁之间,弹簧73受到拉伸或挤压后产生弹性形变,去除外力后恢复至初始状态,在弹簧73的弹力作用下向外侧移动,并与限位孔10的内腔相插接。As a preferred solution, further,
作为优选方案,更进一步的,卡块72的形状为“T”字形,且卡块72的外侧形状为半圆形,可避免卡块72与固定块71的内腔脱离,在卡块72的外侧弧面作用下可利于卡块与限位孔10相插接。As a preferred solution, further, the shape of the
作为优选方案,更进一步的,壳体1的内腔前侧顶端固定安装有沿左右方向设置的限位块11,且壳盖2的底端前侧与限位块11的顶端接触,通过设置有限位块11可对壳盖2进行限位,可避免壳盖2转动进壳体1内,壳盖2 的顶端前侧固定安装有拉手12,可便于使用者拉动壳盖2。As a preferred solution, further, the top end of the front side of the inner cavity of the
通过本领域人员,将本案中所有电气件与其适配的电源通过导线进行连接,并且应该根据实际情况,选择合适的控制器,以满足控制需求,具体连接以及控制顺序,应参考下述工作原理中,各电气件之间先后工作顺序完成电性连接,其详细连接手段,为本领域公知技术,下述主要介绍工作原理以及过程,不在对电气控制做说明,具体工作如下。All the electrical components in this case are connected with the power supply to which they are adapted through wires by those skilled in the art, and an appropriate controller should be selected according to the actual situation to meet the control requirements. The specific connection and control sequence should refer to the following working principles The electrical connection between the electrical components is completed in sequence, and the detailed connection means are known in the art. The following mainly introduces the working principle and process, and does not describe the electrical control. The specific work is as follows.
使用时,接通散热风扇62的外接电源,在散热风扇62的吸力作用下,可主动排出壳体1内产生的热量,当散热风扇62不工作时,在防护网63和防尘方9的配合下可避免灰尘或异物进入到壳体内,在底柱3、底脚4和防滑垫5的配合下,可增强该装置与放置平面的摩擦力,可提高壳体1的稳定性,向内侧挤压卡块72可使卡块72向内侧移动,并挤压弹簧73,直至卡块72与通孔8的内腔脱离,从而可解除对壳盖2的位置限定,拉动拉手12可便于将壳盖2翻转,从而可便于对壳体1内部零部件进行维修,关闭壳盖2时,由于卡块72的外侧形状为半圆形,当卡块72与壳体1的内壁接触后可自动挤压弹簧73并向内侧移动,直至壳盖2与限位块11接触后,卡块72在弹簧73 的弹力作用下向外侧移动,并与限位孔10的内腔相插接,从而可将壳盖2进行固定,该装置可避免壳体1内热量过大对服务器造成损坏,有利于广泛推广。When in use, the external power supply of the
在本实用新型的描述中,需要理解的是,术语“顶端”、“底端”、“前侧”、“后侧”、“外壁”、“内腔”等指示的方位或位置关系为基于附图所示的方位或位置关系,仅是为了便于描述本实用新型和简化描述,而不是指示或暗示所指的装置或元件必须具有特定的方位、以特定的方位构造和操作;同时除非另有明确的规定和限定,术语“插接”、“螺接”、“固定安装”、“过盈配合”、“设置”等术语应做广义理解,例如,可以是固定连接,也可以是可拆卸连接,或成一体;可以是机械连接,也可以是电连接;可以是直接相连,也可以通过中间媒介间接相连,可以是两个元件内部的连通或两个元件的相互作用关系,除非另有明确的限定,对于本领域的普通技术人员而言,可以根据具体情况理解上述术语在本实用新型中的具体含义。In the description of the present invention, it should be understood that the orientation or positional relationship indicated by the terms "top end", "bottom end", "front side", "rear side", "outer wall", "inner cavity", etc. are based on The orientation or positional relationship shown in the drawings is only for the convenience of describing the present invention and simplifying the description, rather than indicating or implying that the referred device or element must have a specific orientation, be constructed and operated in a specific orientation; at the same time, unless otherwise There are clear regulations and limitations, and the terms "plug", "screw", "fixed installation", "interference fit", "set" and other terms should be understood in a broad sense, for example, it may be a fixed connection or a It can be a mechanical connection or an electrical connection; it can be a direct connection or an indirect connection through an intermediate medium, and it can be the internal communication between two elements or the interaction between the two elements, unless otherwise There are clear definitions, and those of ordinary skill in the art can understand the specific meanings of the above terms in the present invention according to specific situations.
尽管已经示出和描述了本实用新型的实施例,对于本领域的普通技术人员而言,可以理解在不脱离本实用新型的原理和精神的情况下可以对这些实施例进行多种变化、修改、替换和变型,本实用新型的范围由所附权利要求及其等同物限定。Although the embodiments of the present invention have been shown and described, it will be understood by those skilled in the art that various changes and modifications can be made to these embodiments without departing from the principles and spirit of the present invention , alternatives and modifications, the scope of the present invention is defined by the appended claims and their equivalents.
Claims (6)
Priority Applications (1)
| Application Number | Priority Date | Filing Date | Title |
|---|---|---|---|
| CN201922047280.2U CN211577802U (en) | 2019-11-25 | 2019-11-25 | A shell for a blockchain management server |
Applications Claiming Priority (1)
| Application Number | Priority Date | Filing Date | Title |
|---|---|---|---|
| CN201922047280.2U CN211577802U (en) | 2019-11-25 | 2019-11-25 | A shell for a blockchain management server |
Publications (1)
| Publication Number | Publication Date |
|---|---|
| CN211577802U true CN211577802U (en) | 2020-09-25 |
Family
ID=72531715
Family Applications (1)
| Application Number | Title | Priority Date | Filing Date |
|---|---|---|---|
| CN201922047280.2U Expired - Fee Related CN211577802U (en) | 2019-11-25 | 2019-11-25 | A shell for a blockchain management server |
Country Status (1)
| Country | Link |
|---|---|
| CN (1) | CN211577802U (en) |
-
2019
- 2019-11-25 CN CN201922047280.2U patent/CN211577802U/en not_active Expired - Fee Related
Similar Documents
| Publication | Publication Date | Title |
|---|---|---|
| CN206479915U (en) | The cabinet of dust-proof radiating | |
| CN211577802U (en) | A shell for a blockchain management server | |
| CN109960391A (en) | A heat dissipation and dustproof connection device for fixing the power supply on the back of the host | |
| CN210741534U (en) | Thing networking sensor protective housing device | |
| CN211405842U (en) | Frequency converter | |
| CN221841631U (en) | An emergency defense device with intelligent detection function | |
| CN210899952U (en) | Protective cover of electronic information processing device | |
| CN211351814U (en) | A fast-charging UPS power supply | |
| CN206541258U (en) | A dust-proof and heat-dissipating integrated chassis | |
| CN204945921U (en) | A kind of Novel computer host case | |
| CN210666632U (en) | Intelligent dustproof computer | |
| CN211087104U (en) | A shockproof computer mainframe case | |
| CN108089655A (en) | A kind of protective housing and its application method of home computer host | |
| CN207198764U (en) | A kind of main frame of built-in power | |
| CN207946768U (en) | A kind of laptop dust-proof radiating device | |
| CN220732802U (en) | Switch with mounting structure | |
| CN220493398U (en) | Communication cabinet and communication device | |
| CN218071820U (en) | 5G is casing for gateway | |
| CN107544648B (en) | Safety application device for computer informatization | |
| CN218825423U (en) | Integrated tablet with protection | |
| CN218497426U (en) | Server | |
| CN206557783U (en) | A kind of anti theft host case based on Internet of Things | |
| CN110881267A (en) | power radiator | |
| CN205176765U (en) | a server | |
| CN221668234U (en) | Reinforced notebook |
Legal Events
| Date | Code | Title | Description |
|---|---|---|---|
| GR01 | Patent grant | ||
| GR01 | Patent grant | ||
| TR01 | Transfer of patent right | ||
| TR01 | Transfer of patent right |
Effective date of registration: 20210106 Address after: Room 511, No.4, Yichuang street, Huangpu District, Guangzhou, Guangdong 510000 Patentee after: Yuanpai (Guangzhou) Information Technology Co.,Ltd. Address before: 110000 2-10-2, No. 12-1, Wanquan street, Shenhe District, Shenyang City, Liaoning Province Patentee before: Lei Bo |
|
| CF01 | Termination of patent right due to non-payment of annual fee | ||
| CF01 | Termination of patent right due to non-payment of annual fee |
Granted publication date: 20200925 |
