CN211576490U - A gas tightness detects frock for new energy battery - Google Patents
A gas tightness detects frock for new energy battery Download PDFInfo
- Publication number
- CN211576490U CN211576490U CN202020447737.9U CN202020447737U CN211576490U CN 211576490 U CN211576490 U CN 211576490U CN 202020447737 U CN202020447737 U CN 202020447737U CN 211576490 U CN211576490 U CN 211576490U
- Authority
- CN
- China
- Prior art keywords
- fixedly connected
- detection
- air
- new energy
- groups
- Prior art date
- Legal status (The legal status is an assumption and is not a legal conclusion. Google has not performed a legal analysis and makes no representation as to the accuracy of the status listed.)
- Expired - Fee Related
Links
Images
Landscapes
- Secondary Cells (AREA)
Abstract
本实用新型公开了一种用于新能源电池的气密性检测工装,包括传送台、滑道、安装台、连接杆、螺纹套、检测台、对接板、充气泵和气压表,所述传送台内底部固定连接有两组支撑架,两组所述支撑架上端均固定连接有一个滑道,两个所述滑道内部均开设有一个滑槽,两个所述滑槽内部均滑动连接有一组滑块,每个所述滑块上端均固定连接有一个支撑杆,本实用新型通过传送台和检测台相结合的工装方式,进一步提高了电池气密检测的效率,避免了人工检查检测的主观性,提高了检测效率,同时也能够得到准确的实验数据,同时机器检测可以更加准确的检测出电池气密性,其检测结果更具有说服力,提高了电池生产的品质。
The utility model discloses an airtightness detection tool for a new energy battery, which comprises a transmission table, a slideway, an installation table, a connecting rod, a threaded sleeve, a detection table, a docking plate, an air pump and an air pressure gauge. Two sets of support frames are fixedly connected to the bottom of the table, and the upper ends of the two sets of support frames are fixedly connected with a slideway, and a slide groove is opened inside the two slideways, and the two slideways are both slidably connected inside. There is a set of sliders, and a support rod is fixedly connected to the upper end of each slider. The utility model further improves the efficiency of battery air-tightness detection and avoids manual inspection and detection through the tooling method of the combination of the transmission table and the detection table. The subjectivity of the test improves the detection efficiency, and at the same time, accurate experimental data can be obtained. At the same time, the machine test can detect the air tightness of the battery more accurately, and the test results are more convincing, which improves the quality of battery production.
Description
技术领域technical field
本实用新型涉及一种气密性检测工装,特别涉及一种用于新能源电池的气密性检测工装,属于电池生产检测技术领域。The utility model relates to an air-tightness detection tool, in particular to an air-tightness detection tool for a new energy battery, which belongs to the technical field of battery production detection.
背景技术Background technique
电池指盛有电解质溶液和金属电极以产生电流的杯、槽或其他容器或复合容器的部分空间,能将化学能转化成电能的装置,具有正极、负极之分。随着科技的进步,电池泛指能产生电能的小型装置,如太阳能电池。电池的性能参数主要有电动势、容量、比能量和电阻。利用电池作为能量来源,可以得到具有稳定电压,稳定电流,长时间稳定供电,受外界影响很小的电流,并且电池结构简单,携带方便,充放电操作简便易行,不受外界气候和温度的影响,性能稳定可靠,在现代社会生活中的各个方面发挥有很大作用。A battery refers to a part of the space of a cup, tank or other container or composite container that contains an electrolyte solution and metal electrodes to generate current, and a device that can convert chemical energy into electrical energy, with positive and negative electrodes. With the advancement of technology, batteries generally refer to small devices that can generate electricity, such as solar cells. The performance parameters of the battery mainly include electromotive force, capacity, specific energy and resistance. Using the battery as an energy source can obtain a current with stable voltage, stable current, stable power supply for a long time, and little external influence, and the battery has a simple structure, easy to carry, simple and easy charging and discharging operations, and is not affected by external climate and temperature. Influence, stable and reliable performance, play a great role in all aspects of modern social life.
然而在新能源电池的生产过程中,对于电池外壳气密性的要求特别高,外壳的气密性也将直接的影响到电池的质量,目前对电池外壳气密性的检测一般是工作人员手动将电池外壳直接放入水中然后通过观察气泡来进行检测,这种检测方法无法得到准确的试验数据,人为主观性较强,对于电池外壳气密性的检测并不是特别的准确,经常会将一些气密性不符合要求的电池外壳投入到电池的生产,影响了电池的生产的品质,同时通过人肉眼观察效率较慢,增加了员工的工作时间,降低了检测效率。However, in the production process of new energy batteries, the air tightness of the battery casing is particularly high, and the air tightness of the casing will also directly affect the quality of the battery. At present, the air tightness of the battery casing is generally tested manually by the staff. Put the battery shell directly into the water and then test by observing the air bubbles. This detection method cannot obtain accurate test data, and is highly subjective. The detection of the air tightness of the battery shell is not particularly accurate. The battery casing with unsatisfactory airtightness is put into the production of the battery, which affects the quality of the battery production. At the same time, the observation efficiency through the human eye is slow, which increases the working time of employees and reduces the detection efficiency.
实用新型内容Utility model content
本实用新型提供一种用于新能源电池的气密性检测工装,有效的解决了现有技术中存在的问题。The utility model provides an air tightness detection tool for a new energy battery, which effectively solves the problems existing in the prior art.
为了解决上述技术问题,本实用新型提供了如下的技术方案:In order to solve the above-mentioned technical problems, the utility model provides the following technical solutions:
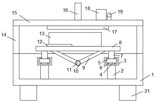
本实用新型一种用于新能源电池的气密性检测工装,包括传送台、滑道、安装台、连接杆、螺纹套、检测台、对接板、充气泵和气压表,所述传送台内底部固定连接有两组支撑架,两组所述支撑架上端均固定连接有一个滑道,两个所述滑道内部均开设有一个滑槽,两个所述滑槽内部均滑动连接有一组滑块,每个所述滑块上端均固定连接有一个支撑杆,两组所述支撑杆上端穿过两个滑槽槽口且固定连接有一个安装台,所述传送台内部且位于两个滑道之间转动连接有一根螺杆,所述螺杆外侧螺纹套接有两个螺纹套,两个所述螺纹套外侧壁均固定连接有一组连接杆,每组两个所述连接杆之间呈V形设置,两组所述连接杆上端均固定连接在安装台底部,所述传送台上端一侧固定连接有两组安装架,两组所述安装架上端固定连接有一个检测台,所述检测台上端中心位置固定连接有一个气压缸,所述气压缸下端穿过检测台且固定连接有一个对接板,所述检测台上端位于气压缸一侧分别固定连接有一个充气泵和一个气压表,所述对接板内部开设有一个充气通道,所述充气通道进气端与充气泵出气端连通,所述气压表通过连接管与充气通道连通。The utility model relates to an air tightness detection tool for a new energy battery, comprising a transmission table, a slideway, an installation table, a connecting rod, a threaded sleeve, a detection table, a docking plate, an air pump and an air pressure gauge. Two sets of support frames are fixedly connected to the bottom, and the upper ends of the two sets of support frames are both fixedly connected with a slideway, a slide groove is opened inside the two slideways, and a set of slideways is slidably connected to the inside of the two slideways. The slider, the upper end of each slider is fixedly connected with a support rod, the upper ends of the two groups of the support rods pass through the two chute slots and are fixedly connected with a mounting table, and the transfer table is located inside the two A screw is rotatably connected between the slideways, two threaded sleeves are threadedly sleeved on the outer side of the screw, and the outer side walls of the two threaded sleeves are fixedly connected with a group of connecting rods, and the two connecting rods in each group are arranged in a space. V-shaped arrangement, the upper ends of the two sets of connecting rods are fixedly connected to the bottom of the installation table, two sets of installation racks are fixedly connected to one side of the upper end of the transfer table, and a detection table is fixedly connected to the upper ends of the two sets of installation racks. A pneumatic cylinder is fixedly connected to the central position of the upper end of the detection table, the lower end of the pneumatic cylinder passes through the detection table and is fixedly connected with a docking plate, and the upper end of the detection table is located on one side of the pneumatic cylinder and is fixedly connected with an air pump and an air pressure gauge respectively. An inflatable channel is opened inside the docking plate, the intake end of the inflatable channel is communicated with the air outlet end of the inflator, and the air pressure gauge is communicated with the inflation channel through a connecting pipe.
作为本实用新型的一种优选技术方案,所述安装台上端固定连接两个相互垂直的定位条,所述定安装台上端设有一个电池外壳,所述电池外壳底部直角与两个定位条之间的直角对齐。As a preferred technical solution of the present invention, the upper end of the mounting table is fixedly connected with two positioning bars that are perpendicular to each other, and the upper end of the fixed mounting table is provided with a battery shell, and the bottom of the battery shell is at a right angle between the two positioning bars. right-angle alignment.
作为本实用新型的一种优选技术方案,所述螺杆远离检测台的一端穿过传送台侧壁延伸至传送台外部且与电机输出端固定连接,所述电机固定连接在传送台远离检测台的一侧外壁。As a preferred technical solution of the present invention, one end of the screw rod away from the detection table extends to the outside of the transmission table through the side wall of the transmission table and is fixedly connected to the output end of the motor, and the motor is fixedly connected to the end of the transmission table away from the detection table. side wall.
作为本实用新型的一种优选技术方案,所述螺杆两端与传送台连接处均设有一个旋转轴承,所述旋转轴承内圈固定套接在螺杆上,所述旋转轴承外圈固定嵌设在传送台内。As a preferred technical solution of the present invention, a rotating bearing is provided at the connection between the two ends of the screw and the transfer table, the inner ring of the rotating bearing is fixedly sleeved on the screw, and the outer ring of the rotating bearing is fixedly embedded in the transfer table.
作为本实用新型的一种优选技术方案,所述滑块下端均转动连接有两组滑轮,所述滑轮下端均与滑槽底部相接触。As a preferred technical solution of the present invention, the lower ends of the sliding blocks are rotatably connected with two sets of pulleys, and the lower ends of the pulleys are all in contact with the bottom of the chute.
作为本实用新型的一种优选技术方案,所述传送台下端固定连接有两组固定底座,两组所述固定底座分别位于传送台下端两侧。As a preferred technical solution of the present invention, the lower end of the transfer table is fixedly connected with two sets of fixed bases, and the two sets of fixed bases are respectively located on both sides of the lower end of the transfer table.
本实用新型所达到的有益效果是:The beneficial effects achieved by the utility model are:
1.通过传送台和检测台相结合的工装方式,进一步提高了电池气密检测的效率,避免了人工检查检测的主观性,提高了检测效率,同时也能够得到准确的实验数据。1. Through the combination of the transfer table and the detection table, the efficiency of battery airtightness detection is further improved, the subjectivity of manual inspection and detection is avoided, the detection efficiency is improved, and accurate experimental data can also be obtained.
2.机器检测可以更加准确的检测出电池气密性,其检测结果更具有说服力,提高了电池生产的品质。2. Machine testing can more accurately detect the airtightness of the battery, and the test results are more convincing, which improves the quality of battery production.
附图说明Description of drawings
附图用来提供对本实用新型的进一步理解,并且构成说明书的一部分,与本实用新型的实施例一起用于解释本实用新型,并不构成对本实用新型的限制。在附图中:The accompanying drawings are used to provide a further understanding of the present invention, and constitute a part of the specification, and are used to explain the present invention together with the embodiments of the present invention, and do not constitute a limitation to the present invention. In the attached image:
图1是本实用新型的正面剖视结构示意图;Fig. 1 is the front sectional structure schematic diagram of the present utility model;
图2是本实用新型的俯视结构示意图;Fig. 2 is the top view structure schematic diagram of the present utility model;
图3是本实用新型的旋转轴承连接结构示意图。FIG. 3 is a schematic diagram of the connection structure of the rotary bearing of the present invention.
图中:1、传送台;2、支撑架;3、滑到;4、滑槽;5、滑块;6、滑轮;7、支撑杆;8、安装台;9、连接杆;10、螺纹套;11、螺杆;12、定位条;13、电池外壳;14、安装架;15、检测台;16、气压缸;17、对接板;18、充气泵;19、气压表;20、电机;21、固定底座;22、旋转轴承。In the picture: 1. Transfer table; 2. Supporting frame; 3. Slide to; 4. Chute; 5. Slider; 6. Pulley; 7. Support rod; 8. Mounting table; 9. Connecting rod; 10. Thread Cover; 11. Screw; 12. Positioning bar; 13. Battery shell; 14. Mounting frame; 15. Testing table; 16. Air pressure cylinder; 17. Docking plate; 18. Air pump; 19. Air pressure gauge; 20. Motor; 21. Fixed base; 22. Rotary bearing.
具体实施方式Detailed ways
下面将结合本实用新型实施例中的附图,对本实用新型实施例中的技术方案进行清楚、完整地描述,显然,所描述的实施例仅仅是本实用新型一部分实施例,而不是全部的实施例。基于本实用新型中的实施例,本领域普通技术人员在没有做出创造性劳动前提下所获得的所有其他实施例,都属于本实用新型保护的范围。The technical solutions in the embodiments of the present utility model will be clearly and completely described below with reference to the accompanying drawings in the embodiments of the present utility model. Obviously, the described embodiments are only a part of the embodiments of the present utility model, rather than all the implementations. example. Based on the embodiments of the present invention, all other embodiments obtained by those of ordinary skill in the art without creative work fall within the protection scope of the present invention.
实施例:如图1-3所示,本实用新型一种用于新能源电池的气密性检测工装,包括传送台1、滑道3、安装台8、连接杆9、螺纹套10、检测台15、对接板17、充气泵18和气压表19,传送台1内底部固定连接有两组支撑架2,两组支撑架2上端均固定连接有一个滑道3,两个滑道3内部均开设有一个滑槽4,两个滑槽4内部均滑动连接有一组滑块5,每个滑块5上端均固定连接有一个支撑杆7,两组支撑杆7上端穿过两个滑槽4槽口且固定连接有一个安装台8,传送台1内部且位于两个滑道3之间转动连接有一根螺杆11,螺杆11外侧螺纹套接有两个螺纹套10,两个螺纹套10外侧壁均固定连接有一组连接杆9,每组两个连接杆9之间呈V形设置,两组连接杆9上端均固定连接在安装台8底部,传送台1上端一侧固定连接有两组安装架14,两组安装架14上端固定连接有一个检测台15,检测台15上端中心位置固定连接有一个气压缸16,气压缸16下端穿过检测台15且固定连接有一个对接板17,检测台15上端位于气压缸16一侧分别固定连接有一个充气泵18和一个气压表19,对接板17内部开设有一个充气通道,充气通道进气端与充气泵18出气端连通,气压表19通过连接管与充气通道连通,进一步提高了电池气密检测的效率,避免了人工检查检测的主观性,提高了检测效率,同时也能够得到准确的实验数据,同时机器检测可以更加准确的检测出电池气密性,其检测结果更具有说服力,提高了电池生产的品质。Example: As shown in Figures 1-3, the present invention is an air tightness detection tool for a new energy battery, including a transmission table 1, a slideway 3, an installation table 8, a connecting rod 9, a threaded sleeve 10, a detection The table 15, the docking plate 17, the air pump 18 and the air pressure gauge 19, the inner bottom of the transfer table 1 is fixedly connected with two sets of support frames 2, and the upper ends of the two sets of support frames 2 are fixedly connected with a slideway 3, and the inside of the two slideways 3 There is a chute 4, and a set of sliders 5 are slidably connected inside the two chute 4, and a support rod 7 is fixedly connected to the upper end of each slider 5, and the upper ends of the two sets of support rods 7 pass through the two chute 4 notches and fixedly connected with a mounting table 8, a screw 11 is rotatably connected inside the transfer table 1 and located between the two slideways 3, and two threaded sleeves 10 are threaded outside the screw 11, and the two threaded sleeves 10 The outer side walls are fixedly connected with a set of connecting rods 9, and the two connecting rods 9 of each group are arranged in a V shape. A set of mounting
滑块5下端均转动连接有两组滑轮6,滑轮6下端均与滑槽4底部相接触,减少滑块5与滑槽4底部的摩擦力,使安装台8移动更加方便,传送台1下端固定连接有两组固定底座21,两组固定底座21分别位于传送台1下端两侧,固定底座21对整个检测装置起到一个支撑的作用,同时也可以通过固定底座21来调整传送台1到合适的高度,螺杆11远离检测台15的一端穿过传送台1侧壁延伸至传送台1外部且与电机20输出端固定连接,电机20固定连接在传送台1远离检测台15的一侧外壁,电机20可以为螺杆11的旋转提供动力,安装台8上端固定连接两个相互垂直的定位条12,定安装台8上端设有一个电池外壳13,电池外壳13底部直角与两个定位条12之间的直角对齐,通过两个定位条12可以对电池外壳13限位,防止对接板17的通气通道出气端无法与电池外壳13进气孔对齐,螺杆11两端与传送台1连接处均设有一个旋转轴承22,旋转轴承22内圈固定套接在螺杆11上,旋转轴承22外圈固定嵌设在传送台1内,旋转轴承22可以减少螺杆11和传送台1之间的摩擦力,使螺杆11更方便转动。Two sets of
具体的,本实用新型使用时,首先将电池外壳13底部直角与固定连接在安装台8上端的两个定位条12之间的直角对齐,然后开启电机20,通过电机20输出端转动带动固定连接在电机20输出端的螺杆11转动,通过螺杆11和螺纹套10之间的螺纹连接,使螺纹连接在螺杆11上的螺纹套10向靠近检测台15的方向移动,通过固定连接在螺纹套10和安装台8底部之间的连接杆9,使固定连接在安装台8下端的两组支撑杆7在两个滑槽4内滑动,从而使安装台8向靠近检测台15的方向移动,当移动到检测台15正下方时,通过气压缸16使固定连接在气压缸16下端的对接板17与电池外壳13上端相接触,使得对接板17的充气通道出气端与电池外壳13进气孔对接并密封住两者连接处,通过充气泵18为电池外壳13内充满气,最后通过观测气压表19的指针变化来判断电池外壳13的气密性,进一步提高了电池气密检测的效率,避免了人工检查检测的主观性,提高了检测效率,同时也能够得到准确的实验数据,同时机器检测可以更加准确的检测出电池气密性,其检测结果更具有说服力,提高了电池生产的品质。Specifically, when the utility model is used, first align the right angle of the bottom of the
尽管已经示出和描述了本实用新型的实施例,对于本领域的普通技术人员而言,可以理解在不脱离本实用新型的原理和精神的情况下可以对这些实施例进行多种变化、修改、替换和变型,本实用新型的范围由所附权利要求及其等同物限定。Although the embodiments of the present invention have been shown and described, it will be understood by those skilled in the art that various changes and modifications can be made to these embodiments without departing from the principles and spirit of the present invention , alternatives and modifications, the scope of the present invention is defined by the appended claims and their equivalents.
Claims (6)
Priority Applications (1)
| Application Number | Priority Date | Filing Date | Title |
|---|---|---|---|
| CN202020447737.9U CN211576490U (en) | 2020-03-31 | 2020-03-31 | A gas tightness detects frock for new energy battery |
Applications Claiming Priority (1)
| Application Number | Priority Date | Filing Date | Title |
|---|---|---|---|
| CN202020447737.9U CN211576490U (en) | 2020-03-31 | 2020-03-31 | A gas tightness detects frock for new energy battery |
Publications (1)
| Publication Number | Publication Date |
|---|---|
| CN211576490U true CN211576490U (en) | 2020-09-25 |
Family
ID=72527614
Family Applications (1)
| Application Number | Title | Priority Date | Filing Date |
|---|---|---|---|
| CN202020447737.9U Expired - Fee Related CN211576490U (en) | 2020-03-31 | 2020-03-31 | A gas tightness detects frock for new energy battery |
Country Status (1)
| Country | Link |
|---|---|
| CN (1) | CN211576490U (en) |
Cited By (2)
| Publication number | Priority date | Publication date | Assignee | Title |
|---|---|---|---|---|
| CN114705367A (en) * | 2022-03-24 | 2022-07-05 | 安徽易科新能源科技有限公司 | A kind of battery pack air tightness detection device and detection method thereof |
| CN115655361A (en) * | 2022-10-21 | 2023-01-31 | 福建元晟汽车配件科技有限公司 | A new energy battery casing airtightness and missing parts detection machine |
-
2020
- 2020-03-31 CN CN202020447737.9U patent/CN211576490U/en not_active Expired - Fee Related
Cited By (2)
| Publication number | Priority date | Publication date | Assignee | Title |
|---|---|---|---|---|
| CN114705367A (en) * | 2022-03-24 | 2022-07-05 | 安徽易科新能源科技有限公司 | A kind of battery pack air tightness detection device and detection method thereof |
| CN115655361A (en) * | 2022-10-21 | 2023-01-31 | 福建元晟汽车配件科技有限公司 | A new energy battery casing airtightness and missing parts detection machine |
Similar Documents
| Publication | Publication Date | Title |
|---|---|---|
| CN110133522B (en) | Lithium battery comprehensive performance tester | |
| CN211576490U (en) | A gas tightness detects frock for new energy battery | |
| CN112229858B (en) | A quality inspection device and quality inspection method for a quality inspection line for lithium battery production | |
| CN110887619A (en) | High efficiency battery detection device | |
| CN108956010B (en) | Pressure gauge calibration device | |
| CN220625650U (en) | Gas cylinder detection device | |
| CN204612883U (en) | A kind of lithium ion battery leakage detection apparatus | |
| CN116086275B (en) | A lithium battery shell size measuring instrument | |
| CN210668588U (en) | Formation testing equipment for battery production | |
| CN211234270U (en) | Polymer lithium battery detection mechanism | |
| CN208689147U (en) | A kind of new energy battery component assembling test line | |
| CN115585735A (en) | A detection device and detection method for microporous coating of membrane electrode gas diffusion layer | |
| CN201251621Y (en) | Detection device for voltage internal resistance of steady pressure lithium ion battery | |
| CN221594207U (en) | Water pump tightness test board | |
| CN209071502U (en) | A fully automatic liquid injection device suitable for liquid injection of different specifications of lithium batteries | |
| CN106092465A (en) | The automatic air leak tester of rectangular cell | |
| CN201464346U (en) | A detection tool for the adhesion force of lithium-ion battery water-solvent pole pieces | |
| CN201348602Y (en) | Carbon rod air permeability test device | |
| CN216899994U (en) | Withstand voltage testing arrangement of lithium cell shell | |
| CN213986759U (en) | Battery capacity grading test device | |
| CN205264523U (en) | Ultracapacitor system's priming device | |
| CN212106225U (en) | Pump body detects uses equipment | |
| CN218481420U (en) | New forms of energy lithium cell surface detection equipment | |
| CN114046892B (en) | Standardized multifunctional electrolytic tank testing system | |
| CN116067260A (en) | A device for checking the inner diameter of pipes |
Legal Events
| Date | Code | Title | Description |
|---|---|---|---|
| GR01 | Patent grant | ||
| GR01 | Patent grant | ||
| CF01 | Termination of patent right due to non-payment of annual fee |
Granted publication date: 20200925 |
|
| CF01 | Termination of patent right due to non-payment of annual fee |
