CN211564560U - 一种应用于汽车冲压件生产的摇臂钻床 - Google Patents
一种应用于汽车冲压件生产的摇臂钻床 Download PDFInfo
- Publication number
- CN211564560U CN211564560U CN201922361518.9U CN201922361518U CN211564560U CN 211564560 U CN211564560 U CN 211564560U CN 201922361518 U CN201922361518 U CN 201922361518U CN 211564560 U CN211564560 U CN 211564560U
- Authority
- CN
- China
- Prior art keywords
- clamping
- production
- stamping parts
- stand
- base
- Prior art date
- Legal status (The legal status is an assumption and is not a legal conclusion. Google has not performed a legal analysis and makes no representation as to the accuracy of the status listed.)
- Active
Links
- 238000004519 manufacturing process Methods 0.000 title claims abstract description 21
- 238000005553 drilling Methods 0.000 title claims description 12
- 238000004080 punching Methods 0.000 claims abstract description 9
- 239000000463 material Substances 0.000 claims description 23
- 230000035939 shock Effects 0.000 claims description 5
- 230000006978 adaptation Effects 0.000 claims 1
- 230000003028 elevating effect Effects 0.000 abstract description 16
- 230000008878 coupling Effects 0.000 abstract description 3
- 238000010168 coupling process Methods 0.000 abstract description 3
- 238000005859 coupling reaction Methods 0.000 abstract description 3
- 238000011031 large-scale manufacturing process Methods 0.000 abstract description 3
- 238000003754 machining Methods 0.000 description 4
- 230000000694 effects Effects 0.000 description 2
- 230000004048 modification Effects 0.000 description 2
- 238000012986 modification Methods 0.000 description 2
- 238000003860 storage Methods 0.000 description 2
- 241000251468 Actinopterygii Species 0.000 description 1
- 238000010923 batch production Methods 0.000 description 1
- 230000009286 beneficial effect Effects 0.000 description 1
- 230000005540 biological transmission Effects 0.000 description 1
- 230000003139 buffering effect Effects 0.000 description 1
- 230000007547 defect Effects 0.000 description 1
- 230000000750 progressive effect Effects 0.000 description 1
Images
Landscapes
- Drilling And Boring (AREA)
Abstract
本实用新型属于机械制造技术领域,尤其为一种应用于汽车冲压件生产的摇臂钻床,包括底座、立柱、摇臂横架、升降电机、升降丝杠、摇臂导轨、主轴箱、钻头和主轴电机,所述立柱固定于底座的顶部一侧,所述摇臂横架套接于立柱上,所述摇臂横架与立柱转动连接,所述升降电机安装于立柱的顶端,所述升降丝杠平行安装于升降丝杠的一侧,所述升降电机的输出端通过联轴器与升降丝杠的一端连接。本实用新型能够对多个冲压件进行统一装夹,同时通过夹紧气缸完成自动夹紧,实现多个冲压件的连续加工,满足大规模性生产加工需求,提高了产生效率,能够实现对碎屑的集中收集,避免造成工装台及地面污染,保证了正常加工的进行,且结构简单,使用方便。
Description
技术领域
本实用新型涉及机械制造技术领域,具体为一种应用于汽车冲压件生产的摇臂钻床。
背景技术
摇臂钻床是一种摇臂可绕立柱回转和升降,通常主轴箱在摇臂上作水平移动的钻床。在立式钻床上加工孔时,刀具与工件的对中是通过工件的移动来实现的,则对一些大而重的工件显然是非常不方便的;而摇臂钻床能用移动刀具轴的位置来对中,这就给在单件及小批生产中,加工大而重工件上的孔带来了很大的方便。
摇臂钻床在汽车冲压件孔的加工生产中应用广泛,但传统的摇臂钻床结构单一,存在以下缺陷:
1、传统的摇臂钻床的工装台一次只能装夹一个冲压件,不能实现多个冲压件的连续加工,无法满足大规模性生产加工需求,加工效率低下;
2、缺乏有效废屑收集机构,在加工过程中产生的碎屑洒落在工装台及地面上,堆积的碎屑对工装台及地面造成污染,同时影响了正常加工的进行。
实用新型内容
(一)解决的技术问题
针对现有技术的不足,本实用新型提供了一种应用于汽车冲压件生产的摇臂钻床,解决了传统的摇臂钻床的工装台一次只能装夹一个冲压件,不能实现多个冲压件的连续加工,无法满足大规模性生产加工需求,加工效率低下,以及缺乏有效废屑收集机构,在加工过程中产生的碎屑洒落在工装台及地面上,堆积的碎屑对工装台及地面造成污染,同时影响了正常加工的进行的问题。
(二)技术方案
为实现上述目的,本实用新型提供如下技术方案:一种应用于汽车冲压件生产的摇臂钻床,包括底座、立柱、摇臂横架、升降电机、升降丝杠、摇臂导轨、主轴箱、钻头和主轴电机,所述立柱固定于底座的顶部一侧,所述摇臂横架套接于立柱上,所述摇臂横架与立柱转动连接,所述升降电机安装于立柱的顶端,所述升降丝杠平行安装于升降丝杠的一侧,所述升降电机的输出端通过联轴器与升降丝杠的一端连接,所述升降丝杠的另一端通过丝杠螺母与摇臂横架连接,所述摇臂导轨横置于摇臂横架上,所述主轴箱的输出轴端与钻头连接,所述主轴电机安装于主轴箱的顶部,所述主轴电机的输出端与主轴箱的输入轴端连接。
所述底座上设有调节滑槽,所述底座的顶部设有底板,所述底板的底部设有与调节滑槽滑动配合的调节滑块,所述底板的顶部设有直线丝杠导轨,所述直线丝杠导轨的丝杠螺母上连接有滑台,所述滑台上设有集料机构,所述集料机构是由柜体和抽拉集料盒组成,所述柜体的一侧壁上设有与抽拉集料盒相适配的开口,所述柜体的内部设有容置抽拉集料盒的置物腔,所述柜体的顶部设有工装台,所述工装台上并排设有多个落料开槽,所述柜体的顶部对应工装台的外围及落料开槽的下方设有进料口,所述工装台上设有与落料开槽数量一致并用于自动夹紧待加工件的夹紧机构,所述夹紧机构是由限位板、固定座、夹紧气缸和夹紧板组成,所述限位板对应设置于落料开槽的一侧,所述固定座对应设置于落料开槽的另一侧,所述夹紧气缸安装于固定座远离落料开槽的侧壁上,所述夹紧气缸的活塞杆贯穿固定座的端部与夹紧板固定连接,所述工装台上对应夹紧板的正下方位置设有与落料开槽垂直设置的导向槽,所述夹紧板与导向槽滑动配合。
作为本实用新型的一种优选技术方案,所述底座的底部设有减震垫脚。
作为本实用新型的一种优选技术方案,所述抽拉集料盒对应开口的一侧壁上设有提手。
作为本实用新型的一种优选技术方案,所述限位板与夹紧板的夹持面上均粘接有橡胶垫片。
作为本实用新型的一种优选技术方案,所述底板的前后两端壁上设有锁紧螺孔,所述底座上对应调节滑槽的两侧对应设有定位螺孔,所述定位螺孔和锁紧螺孔处于同一垂直平面上,所述锁紧螺孔与定位螺孔之间通过定位螺钉连接。
(三)有益效果
与现有技术相比,本实用新型提供了一种应用于汽车冲压件生产的摇臂钻床,具备以下有益效果:
1、该应用于汽车冲压件生产的摇臂钻床,能够对多个冲压件进行统一装夹,同时通过夹紧气缸完成自动夹紧,在直线丝杠导轨的间隙性递进给料配合下,实现多个冲压件的连续加工,满足大规模性生产加工需求,提高了产生效率。
2、该应用于汽车冲压件生产的摇臂钻床,通过在工装台底部设置集料机构,加工过程中产生的碎屑通过进料口进入抽拉集料盒内,能够实现对碎屑的集中收集,避免造成工装台及地面污染,保证了正常加工的进行,且结构简单,使用方便。
附图说明
图1为本实用新型的结构示意图;
图2为本实用新型中集料机构、工装台和夹紧机构的连接结构示意图;
图3为本实用新型中集料机构和工装台的连接剖视图;
图4为本实用新型中工装台的俯视图。
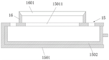
图中:1、底座;2、立柱;3、摇臂横架;4、升降电机;5、升降丝杠;6、摇臂导轨;7、主轴箱;8、钻头;9、主轴电机;10、调节滑槽;11、底板;12、调节滑块;13、直线丝杠导轨;14、滑台;15、集料机构;1501、柜体;15011、进料口;1502、抽拉集料盒;16、工装台;1601、落料开槽;1602、导向槽;17、夹紧机构;1701、限位板;1702、固定座;1703、夹紧气缸;1704、夹紧板;18、定位螺孔;19、定位螺钉。
具体实施方式
下面将结合本实用新型实施例中的附图,对本实用新型实施例中的技术方案进行清楚、完整地描述,显然,所描述的实施例仅仅是本实用新型一部分实施例,而不是全部的实施例。基于本实用新型中的实施例,本领域普通技术人员在没有做出创造性劳动前提下所获得的所有其他实施例,都属于本实用新型保护的范围。
实施例
请参阅图1-4,本实用新型提供以下技术方案:一种应用于汽车冲压件生产的摇臂钻床,包括底座1、立柱2、摇臂横架3、升降电机4、升降丝杠5、摇臂导轨6、主轴箱7、钻头8和主轴电机9,立柱2固定于底座1的顶部一侧,摇臂横架3套接于立柱2上,摇臂横架3与立柱2转动连接,升降电机4安装于立柱2的顶端,升降丝杠5平行安装于升降丝杠5的一侧,升降电机4的输出端通过联轴器与升降丝杠5的一端连接,升降丝杠5的另一端通过丝杠螺母与摇臂横架3连接,摇臂导轨6横置于摇臂横架3上,主轴箱7的输出轴端与钻头8连接,主轴电机9安装于主轴箱7的顶部,主轴电机9的输出端与主轴箱7的输入轴端连接。
底座1上设有调节滑槽10,底座1的顶部设有底板11,底板11的底部设有与调节滑槽10滑动配合的调节滑块12,底板11的顶部设有直线丝杠导轨13,直线丝杠导轨13的丝杠螺母上连接有滑台14,滑台14上设有集料机构15,集料机构15是由柜体1501和抽拉集料盒1502组成,柜体1501的一侧壁上设有与抽拉集料盒1502相适配的开口,柜体1501的内部设有容置抽拉集料盒1502的置物腔,柜体1501的顶部设有工装台16,工装台16上并排设有多个落料开槽1601,柜体1501的顶部对应工装台16的外围及落料开槽1601的下方设有进料口15011,工装台16上设有与落料开槽1601数量一致并用于自动夹紧待加工件的夹紧机构17,夹紧机构17是由限位板1701、固定座1702、夹紧气缸1703和夹紧板1704组成,限位板1701对应设置于落料开槽1601的一侧,固定座1702对应设置于落料开槽1601的另一侧,夹紧气缸1703安装于固定座1702远离落料开槽1601的侧壁上,夹紧气缸1703的活塞杆贯穿固定座1702的端部与夹紧板1704固定连接,工装台16上对应夹紧板1704的正下方位置设有与落料开槽1601垂直设置的导向槽1602,夹紧板1704与导向槽1602滑动配合。
本实施方案中,该应用于汽车冲压件生产的摇臂钻床还包括控制器、多个控制按钮以及用于待加工件定位的定位传感组件,控制器分别与升降电机4、主轴电机9、直线丝杠导轨13的驱动电机、夹紧气缸1703、控制按钮以及定位传感组件电性连接,控制器采用80C51单片机,定位传感组件采用红外激光定位传感器,红外激光定位传感器由安装于钻头8一侧的红外激光发射器以及安装于工装台16上的红外激光接收器组成,激光发射器与激光接收器上下对应,红外激光发射器发射的红外线由红外激光接收器接收,红外激光接收器接收到红外线后将信息传输给控制器,控制器控制直线丝杠导轨13停止运行,此时待加工件位于钻头8的正下方位置,即可通过钻头8进行加工,多个控制按钮用于摇臂钻床的工作状态的控制,例如可通过相应控制按钮控制升降电机4是否驱动摇臂横架3升降,通过相应控制按钮控制主轴电机9是否驱动钻头8工作等;本实用新型中,本实用新型中摇臂导轨6可为直线型自动导轨,其结构可与直线丝杠导轨13结构组成一致,采用现有技术中的丝杠传动导轨结构,实现自动控制;落料开槽1601的数量为4、5、6、7个不等,即可进行4、5、6、7个不等的待加工件的连续加工,达到提高加工效率的目的;本实用新型中抽拉集料盒1502为顶部设有敞口的盒体,便于进料。
具体的,底座1的底部设有减震垫脚。
本实施例中,减震垫脚可采用橡胶减震垫板,能够在设备加工过程中提供缓冲,保证钻床的稳定性。
具体的,抽拉集料盒1502对应开口的一侧壁上设有提手。
本实施例中,通过抽拉提手将抽拉集料盒1502抽出至柜体1501外,便可对抽拉集料盒1502内的碎屑进行处理。
具体的,限位板1701与夹紧板1704的夹持面上均粘接有橡胶垫片。
本实施例中,橡胶垫片的设置能够对待加工件起到防止工件表面划伤的作用。
具体的,底板11的前后两端壁上设有锁紧螺孔,底座1上对应调节滑槽10的两侧对应设有定位螺孔18,定位螺孔18和锁紧螺孔处于同一垂直平面上,锁紧螺孔与定位螺孔18之间通过定位螺钉19连接。
本实施例中,使用时,通过松开定位螺钉19,沿调节滑槽10推动底板11,带动底板11上的工装台16移动调整至待加工件处于需打孔的相应位置,再通过定位螺钉19将底板11紧固在底座1上,完成工装台16的锁紧。
本实用新型的工作原理及使用流程:使用时,将相应数量的待加工件一一放置于落料开槽1601上,通过控制夹紧气缸1703工作,夹紧气缸1703的活塞杆带动夹紧板1704沿导向槽1602滑动至将待加工件夹紧,通过松开定位螺钉19,沿调节滑槽10推动底板11,带动底板11上的工装台16移动调整至待加工件处于需打孔的相应位置,再通过定位螺钉19将底板11紧固在底座1上,完成工装台16的锁紧,利用摇臂导轨6调整主轴箱7及钻头8的位置,将钻头8调整至待加工位上方,通过控制直线丝杠导轨13运行,利用滑台14带动集料机构15、工装台16及其上的待加工件沿导轨直线移动,至位于前端的待加工件处于钻头8的正下方位置时直线丝杠导轨13的驱动电机停止工作,继而启动主轴电机9,通过主轴电机9、主轴箱7驱动钻头8转动,利用升降电机4和升降丝杠5的配合驱动摇臂横架3下降,通过钻头8对待加工件进行加工,加工完成后钻头8复位,直线丝杠导轨13继续工作,带动工装台16及其上的待加工件继续移动,至处于前端位于第二位上的待加工件位于钻头8正下方时,通过主轴电机9、主轴箱7驱动钻头8转动,利用升降电机4和升降丝杠5的配合驱动摇臂横架3下降,通过钻头8对待加工件进行加工,如此重复动作至完成所有待加工件的加工作业,实现连续性加工,达到调高生产效率的目的;待加工件加工过程中产生的碎屑通过落料开槽1601和进料口15011进入抽拉集料盒1502内,通过抽拉提手即可将抽拉集料盒1502取出,完成碎屑收集,同时便于处理。
最后应说明的是:以上所述仅为本实用新型的优选实施例而已,并不用于限制本实用新型,尽管参照前述实施例对本实用新型进行了详细的说明,对于本领域的技术人员来说,其依然可以对前述各实施例所记载的技术方案进行修改,或者对其中部分技术特征进行等同替换。凡在本实用新型的精神和原则之内,所作的任何修改、等同替换、改进等,均应包含在本实用新型的保护范围之内。
Claims (5)
1.一种应用于汽车冲压件生产的摇臂钻床,其特征在于:包括底座(1)、立柱(2)、摇臂横架(3)、升降电机(4)、升降丝杠(5)、摇臂导轨(6)、主轴箱(7)、钻头(8)和主轴电机(9),所述立柱(2)固定于底座(1)的顶部一侧,所述摇臂横架(3)套接于立柱(2)上,所述摇臂横架(3)与立柱(2)转动连接,所述升降电机(4)安装于立柱(2)的顶端,所述升降丝杠(5)平行安装于升降丝杠(5)的一侧,所述升降电机(4)的输出端通过联轴器与升降丝杠(5)的一端连接,所述升降丝杠(5)的另一端通过丝杠螺母与摇臂横架(3)连接,所述摇臂导轨(6)横置于摇臂横架(3)上,所述主轴箱(7)的输出轴端与钻头(8)连接,所述主轴电机(9)安装于主轴箱(7)的顶部,所述主轴电机(9)的输出端与主轴箱(7)的输入轴端连接;
所述底座(1)上设有调节滑槽(10),所述底座(1)的顶部设有底板(11),所述底板(11)的底部设有与调节滑槽(10)滑动配合的调节滑块(12),所述底板(11)的顶部设有直线丝杠导轨(13),所述直线丝杠导轨(13)的丝杠螺母上连接有滑台(14),所述滑台(14)上设有集料机构(15),所述集料机构(15)是由柜体(1501)和抽拉集料盒(1502)组成,所述柜体(1501)的一侧壁上设有与抽拉集料盒(1502)相适配的开口,所述柜体(1501)的内部设有容置抽拉集料盒(1502)的置物腔,所述柜体(1501)的顶部设有工装台(16),所述工装台(16)上并排设有多个落料开槽(1601),所述柜体(1501)的顶部对应工装台(16)的外围及落料开槽(1601)的下方设有进料口(15011),所述工装台(16)上设有与落料开槽(1601)数量一致并用于自动夹紧待加工件的夹紧机构(17),所述夹紧机构(17)是由限位板(1701)、固定座(1702)、夹紧气缸(1703)和夹紧板(1704)组成,所述限位板(1701)对应设置于落料开槽(1601)的一侧,所述固定座(1702)对应设置于落料开槽(1601)的另一侧,所述夹紧气缸(1703)安装于固定座(1702)远离落料开槽(1601)的侧壁上,所述夹紧气缸(1703)的活塞杆贯穿固定座(1702)的端部与夹紧板(1704)固定连接,所述工装台(16)上对应夹紧板(1704)的正下方位置设有与落料开槽(1601)垂直设置的导向槽(1602),所述夹紧板(1704)与导向槽(1602)滑动配合。
2.根据权利要求1所述的一种应用于汽车冲压件生产的摇臂钻床,其特征在于:所述底座(1)的底部设有减震垫脚。
3.根据权利要求1所述的一种应用于汽车冲压件生产的摇臂钻床,其特征在于:所述抽拉集料盒(1502)对应开口的一侧壁上设有提手。
4.根据权利要求1所述的一种应用于汽车冲压件生产的摇臂钻床,其特征在于:所述限位板(1701)与夹紧板(1704)的夹持面上均粘接有橡胶垫片。
5.根据权利要求1所述的一种应用于汽车冲压件生产的摇臂钻床,其特征在于:所述底板(11)的前后两端壁上设有锁紧螺孔,所述底座(1)上对应调节滑槽(10)的两侧对应设有定位螺孔(18),所述定位螺孔(18)和锁紧螺孔处于同一垂直平面上,所述锁紧螺孔与定位螺孔(18)之间通过定位螺钉(19)连接。
Priority Applications (1)
| Application Number | Priority Date | Filing Date | Title |
|---|---|---|---|
| CN201922361518.9U CN211564560U (zh) | 2019-12-24 | 2019-12-24 | 一种应用于汽车冲压件生产的摇臂钻床 |
Applications Claiming Priority (1)
| Application Number | Priority Date | Filing Date | Title |
|---|---|---|---|
| CN201922361518.9U CN211564560U (zh) | 2019-12-24 | 2019-12-24 | 一种应用于汽车冲压件生产的摇臂钻床 |
Publications (1)
| Publication Number | Publication Date |
|---|---|
| CN211564560U true CN211564560U (zh) | 2020-09-25 |
Family
ID=72549146
Family Applications (1)
| Application Number | Title | Priority Date | Filing Date |
|---|---|---|---|
| CN201922361518.9U Active CN211564560U (zh) | 2019-12-24 | 2019-12-24 | 一种应用于汽车冲压件生产的摇臂钻床 |
Country Status (1)
| Country | Link |
|---|---|
| CN (1) | CN211564560U (zh) |
Cited By (3)
| Publication number | Priority date | Publication date | Assignee | Title |
|---|---|---|---|---|
| CN113814444A (zh) * | 2021-09-09 | 2021-12-21 | 安徽省黄山台钻有限公司 | 一种回转工作台式多轴激光定位钻孔机及其工作方法 |
| CN114669776A (zh) * | 2022-04-02 | 2022-06-28 | 安徽宝立华机械设备有限公司 | 一种高压阀件的开孔装置 |
| CN119347497A (zh) * | 2024-12-30 | 2025-01-24 | 瑞谷科技(大连)股份有限公司 | 一种保持架大锥度兜孔加工装置及方法 |
-
2019
- 2019-12-24 CN CN201922361518.9U patent/CN211564560U/zh active Active
Cited By (3)
| Publication number | Priority date | Publication date | Assignee | Title |
|---|---|---|---|---|
| CN113814444A (zh) * | 2021-09-09 | 2021-12-21 | 安徽省黄山台钻有限公司 | 一种回转工作台式多轴激光定位钻孔机及其工作方法 |
| CN114669776A (zh) * | 2022-04-02 | 2022-06-28 | 安徽宝立华机械设备有限公司 | 一种高压阀件的开孔装置 |
| CN119347497A (zh) * | 2024-12-30 | 2025-01-24 | 瑞谷科技(大连)股份有限公司 | 一种保持架大锥度兜孔加工装置及方法 |
Similar Documents
| Publication | Publication Date | Title |
|---|---|---|
| CN211564560U (zh) | 一种应用于汽车冲压件生产的摇臂钻床 | |
| CN212885235U (zh) | 一种可多向打孔的钻床 | |
| CN210877599U (zh) | 一种用于机械加工的便调车削设备 | |
| CN217474944U (zh) | 数控金属铲片机的改进装置 | |
| CN215319241U (zh) | 一种用于木加工的铣槽打孔攻丝装置 | |
| CN221158867U (zh) | 一种工件调节导轨 | |
| CN211221100U (zh) | 一种雨伞手柄高效打孔设备 | |
| CN208033716U (zh) | 一种模具钻孔装置 | |
| CN212287979U (zh) | 一种用于铅笔加工的刨槽机 | |
| CN214640577U (zh) | 一种高效半自动切割机装置 | |
| CN205798488U (zh) | 一种机械加工专用的高效钻床 | |
| CN112388327B (zh) | 一种金属制品生产用表面凹槽内凸起不停机磨边设备 | |
| CN210877825U (zh) | 立车自动松拉刀装置 | |
| CN210160594U (zh) | 一种切割机用可移动上料装置 | |
| CN209793094U (zh) | 铣面镗孔双工能机 | |
| CN209551209U (zh) | 一种高效便携式加工用钻攻工装 | |
| CN217702552U (zh) | 一种具有低耗传送空间限制结构的铣削装置 | |
| CN221047774U (zh) | 一种数控卧式钻攻中心 | |
| CN221249179U (zh) | 一种木材切割装置 | |
| CN220499572U (zh) | 龙门式单工位三轴玻璃钻孔机箱体机构 | |
| CN217393960U (zh) | 一种齿头切斜角用切割机 | |
| CN222725534U (zh) | 一种五金钻孔装置 | |
| CN210387815U (zh) | 一种长条形杆体的直线槽开槽机 | |
| CN211588609U (zh) | 一种用于法兰加工的镗孔装置 | |
| CN222843168U (zh) | 一种y轴往复切削动力刀塔结构 |
Legal Events
| Date | Code | Title | Description |
|---|---|---|---|
| GR01 | Patent grant | ||
| GR01 | Patent grant |