CN211563774U - Novel building materials machinery washs device - Google Patents
Novel building materials machinery washs device Download PDFInfo
- Publication number
- CN211563774U CN211563774U CN202020120464.7U CN202020120464U CN211563774U CN 211563774 U CN211563774 U CN 211563774U CN 202020120464 U CN202020120464 U CN 202020120464U CN 211563774 U CN211563774 U CN 211563774U
- Authority
- CN
- China
- Prior art keywords
- water tank
- fixed
- water
- bottom plate
- pipe
- Prior art date
- Legal status (The legal status is an assumption and is not a legal conclusion. Google has not performed a legal analysis and makes no representation as to the accuracy of the status listed.)
- Expired - Fee Related
Links
- 239000004566 building material Substances 0.000 title claims abstract description 24
- XLYOFNOQVPJJNP-UHFFFAOYSA-N water Substances O XLYOFNOQVPJJNP-UHFFFAOYSA-N 0.000 claims abstract description 113
- 238000004140 cleaning Methods 0.000 claims abstract description 24
- 239000000428 dust Substances 0.000 claims abstract description 18
- 230000001680 brushing effect Effects 0.000 abstract description 3
- 238000004519 manufacturing process Methods 0.000 description 5
- 239000007921 spray Substances 0.000 description 4
- 239000004568 cement Substances 0.000 description 2
- 238000010586 diagram Methods 0.000 description 2
- 230000000694 effects Effects 0.000 description 2
- 238000000034 method Methods 0.000 description 2
- 229910052782 aluminium Inorganic materials 0.000 description 1
- XAGFODPZIPBFFR-UHFFFAOYSA-N aluminium Chemical compound [Al] XAGFODPZIPBFFR-UHFFFAOYSA-N 0.000 description 1
- 230000009286 beneficial effect Effects 0.000 description 1
- 239000011449 brick Substances 0.000 description 1
- 239000000919 ceramic Substances 0.000 description 1
- 238000002474 experimental method Methods 0.000 description 1
- 238000011010 flushing procedure Methods 0.000 description 1
- 239000011521 glass Substances 0.000 description 1
- 239000003365 glass fiber Substances 0.000 description 1
- 238000009434 installation Methods 0.000 description 1
- 239000007769 metal material Substances 0.000 description 1
- 239000000047 product Substances 0.000 description 1
- 239000002994 raw material Substances 0.000 description 1
- 238000012827 research and development Methods 0.000 description 1
- 239000013049 sediment Substances 0.000 description 1
- 239000002689 soil Substances 0.000 description 1
- 238000005406 washing Methods 0.000 description 1
Images
Landscapes
- Cleaning By Liquid Or Steam (AREA)
- Cleaning In General (AREA)
Abstract
本实用新型公开了一种新型建材机械清洗装置,包括底板和水箱,所述水箱固定在底板的右侧表面,且水箱左侧的底板表面固定有工业吸尘器,所述工业吸尘器的吸尘头通过管夹固定在水箱的左侧前端表面,吸尘头右侧的水箱前侧通过管夹固定有毛刷,水箱右侧下端的底板上固定有增压泵,且增压泵的进水管与水箱的底部连通,增压泵的出水管通过导管与水箱右侧前端固定的水管连通,且水管的底部安装有喷头。本实用新型通过在可移动的底板上固定有水箱和工业吸尘器,能够方便移动在各机械设备之后,根据不同的清理需求能够选择毛刷刷灰之后使用工业吸尘器吸去粉尘,也可以使用增压泵抽水对设备进行冲洗,能够方便的对各种设备进行清洗。
The utility model discloses a novel mechanical cleaning device for building materials, which comprises a bottom plate and a water tank. The water tank is fixed on the right side surface of the bottom plate, and an industrial vacuum cleaner is fixed on the bottom plate surface on the left side of the water tank. The pipe clamp is fixed on the front surface of the left side of the water tank, the front side of the water tank on the right side of the suction head is fixed with a brush through the pipe clamp, the bottom plate at the lower end of the right side of the water tank is fixed with a booster pump, and the water inlet pipe of the booster pump is connected to the water tank. The bottom of the booster pump is connected to the bottom of the booster pump, and the water outlet pipe of the booster pump is connected to the water pipe fixed at the front end of the right side of the water tank through the conduit, and the bottom of the water pipe is installed with a nozzle. By fixing a water tank and an industrial vacuum cleaner on the movable bottom plate, the utility model can be easily moved behind various mechanical equipment. According to different cleaning requirements, the industrial vacuum cleaner can be used to absorb the dust after brushing with a brush, or a pressurization can be used. The pump draws water to flush the equipment, which can easily clean various equipment.
Description
技术领域technical field
本实用新型涉及建材机械技术领域,具体为一种新型建材机械清洗装置。The utility model relates to the technical field of building materials machinery, in particular to a novel building material machinery cleaning device.
背景技术Background technique
目前,建材机械是指生产水泥,水泥制品,玻璃,玻璃纤维,建筑陶瓷,砖瓦等建筑材料所使用的各种生产,搅拌成型机械。建材机械产业主要包括原材料产业如铝锭、金属材料、专用泥土等、建材生产技术研发产业、生产建材产品的机械制造产业等。At present, building materials machinery refers to various production, mixing and forming machinery used in the production of cement, cement products, glass, glass fiber, building ceramics, bricks and other building materials. The building materials machinery industry mainly includes the raw material industry such as aluminum ingots, metal materials, special soil, etc., the building materials production technology research and development industry, and the machinery manufacturing industry for the production of building materials products.
建材机械在工作过程中表面会染上较多的灰尘、泥沙等污渍,一些设备表面可以直接用水冲洗即可,然而还有部分机械无法适用水冲洗,导致对机械设备的表面清洗工作较为复杂。因此,我们提出一种新型建材机械清洗装置。The surface of building materials machinery will be stained with a lot of dust, sediment and other stains during the working process. The surface of some equipment can be directly washed with water. However, some machines cannot be washed with water, which makes the surface cleaning of mechanical equipment more complicated. Therefore, we propose a new type of mechanical cleaning device for building materials.
实用新型内容Utility model content
本实用新型的目的在于提供一种新型建材机械清洗装置,通过在可移动的底板上固定有水箱和工业吸尘器,能够方便移动在各机械设备之后,根据不同的清理需求能够选择毛刷刷灰之后使用工业吸尘器吸去粉尘,也可以使用增压泵抽水对设备进行冲洗,能够方便的对各种设备进行清洗,解决了背景技术中所提出的问题。The purpose of this utility model is to provide a new type of mechanical cleaning device for building materials. By fixing a water tank and an industrial vacuum cleaner on the movable bottom plate, it can be easily moved behind various mechanical equipment, and can be selected after brushing dust according to different cleaning requirements. The industrial vacuum cleaner can be used to absorb the dust, and the booster pump can also be used to pump water to wash the equipment, which can easily clean various equipment and solve the problems raised in the background art.
为实现上述目的,本实用新型提供如下技术方案:一种新型建材机械清洗装置,包括底板和水箱,所述水箱固定在底板的右侧表面,且水箱左侧的底板表面固定有工业吸尘器;In order to achieve the above purpose, the utility model provides the following technical solutions: a novel mechanical cleaning device for building materials, comprising a bottom plate and a water tank, the water tank is fixed on the right side surface of the bottom plate, and an industrial vacuum cleaner is fixed on the bottom surface of the left side of the water tank;
所述工业吸尘器的吸尘头通过管夹固定在水箱的左侧前端表面,吸尘头右侧的水箱前侧通过管夹固定有毛刷,水箱右侧下端的底板上固定有增压泵,且增压泵的进水管与水箱的底部连通,增压泵的出水管通过导管与水箱右侧前端固定的水管连通,且水管的底部安装有喷头,水管通过管夹固定在水箱的前侧,所述底板的左侧上端竖向焊接固定有推柄,底板的底部固定有蓄电池,底板的底部四角均安装固定有刹车脚轮,且刹车脚轮为四个。The dust suction head of the industrial vacuum cleaner is fixed on the left front surface of the water tank through a pipe clip, the front side of the water tank on the right side of the dust suction head is fixed with a brush through the pipe clip, and a booster pump is fixed on the bottom plate at the lower end of the right side of the water tank. And the water inlet pipe of the booster pump is connected with the bottom of the water tank, and the water outlet pipe of the booster pump is connected with the water pipe fixed at the front end of the right side of the water tank through the conduit, and the bottom of the water pipe is installed with a nozzle, and the water pipe is fixed on the front side of the water tank by a pipe clamp. The upper left end of the bottom plate is vertically welded and fixed with a push handle, the bottom of the bottom plate is fixed with a battery, and the four corners of the bottom of the bottom plate are fixed with brake casters, and there are four brake casters.
作为本实用新型的一种优选实施方式,所述水箱的前侧表面竖向设置有观察窗,且观察窗竖向设置在水箱前侧的中部表面。As a preferred embodiment of the present invention, an observation window is vertically arranged on the front side surface of the water tank, and the observation window is vertically arranged on the middle surface of the front side of the water tank.
作为本实用新型的一种优选实施方式,所述蓄电池通过固定架固定在底板的底部,且固定架焊接固定在底板的底部。As a preferred embodiment of the present invention, the battery is fixed on the bottom of the bottom plate through a fixing frame, and the fixing frame is welded and fixed on the bottom of the bottom plate.
作为本实用新型的一种优选实施方式,所述水箱的上端中部连接有进水口,且进水口与水箱内部连通。As a preferred embodiment of the present invention, a water inlet is connected to the middle of the upper end of the water tank, and the water inlet is communicated with the inside of the water tank.
作为本实用新型的一种优选实施方式,所述推柄的上端前侧固定有开关,且增压泵通过开关与蓄电池电性连接。As a preferred embodiment of the present invention, a switch is fixed on the front side of the upper end of the push handle, and the booster pump is electrically connected to the battery through the switch.
与现有技术相比,本实用新型的有益效果如下:Compared with the prior art, the beneficial effects of the present utility model are as follows:
1.本实用新型的新型建材机械清洗装置,通过在可移动的底板上固定有水箱和工业吸尘器,能够方便移动在各机械设备之后,根据不同的清理需求能够选择毛刷刷灰之后使用工业吸尘器吸去粉尘,也可以使用增压泵抽水对设备进行冲洗,能够方便的对各种设备进行清洗。1. The novel building material mechanical cleaning device of the present utility model, by fixing a water tank and an industrial vacuum cleaner on the movable bottom plate, can be easily moved after each mechanical equipment, and can choose to use an industrial vacuum cleaner after brushing dust according to different cleaning requirements. To suck off the dust, you can also use the booster pump to pump water to wash the equipment, which can easily clean various equipment.
2.本实用新型的新型建材机械清洗装置,通过使水箱的前侧表面竖向设置有观察窗,且观察窗竖向设置在水箱前侧的中部表面,在使用时,通过观察窗可以随时知晓水箱内部清洗水的剩余量,方便及时向水箱内部添加水。2. The new building material mechanical cleaning device of the present utility model, by making the front side surface of the water tank vertically arranged with an observation window, and the observation window is vertically arranged on the middle surface of the front side of the water tank, when in use, the observation window can be used to know at any time. The remaining amount of cleaning water inside the water tank is convenient to add water to the inside of the water tank in time.
附图说明Description of drawings
通过阅读参照以下附图对非限制性实施例所作的详细描述,本实用新型的其它特征、目的和优点将会变得更明显:Other features, objects and advantages of the present invention will become more apparent by reading the detailed description of non-limiting embodiments with reference to the following drawings:
图1为本实用新型新型建材机械清洗装置的整体结构示意图;Fig. 1 is the overall structure schematic diagram of the utility model building material mechanical cleaning device;
图2为本实用新型新型建材机械清洗装置的电路连接结构示意图。FIG. 2 is a schematic diagram of the circuit connection structure of the mechanical cleaning device for building materials of the utility model.
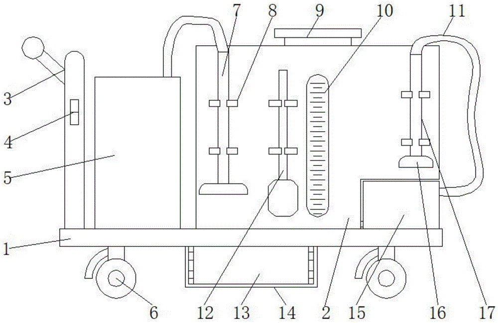
图中:1、底板;2、水箱;3、推柄;4、开关;5、工业吸尘器;6、刹车脚轮;7、吸尘头;8、管夹;9、进水口;10、观察窗;11、导管;12、毛刷;13、蓄电池;14、固定架;15、增压泵;16、喷头;17、水管。In the picture: 1. Bottom plate; 2. Water tank; 3. Push handle; 4. Switch; 5. Industrial vacuum cleaner; 6. Brake caster; 7. Vacuuming head; 8. Pipe clamp; 9. Water inlet; 10. Observation window ; 11, conduit; 12, brush; 13, battery; 14, fixing frame; 15, booster pump; 16, nozzle; 17, water pipe.
具体实施方式Detailed ways
为使本实用新型实现的技术手段、创作特征、达成目的与功效易于明白了解,下面结合具体实施方式,进一步阐述本实用新型。In order to make the technical means, creation features, achievement goals and effects of the present invention easy to understand and understand, the present invention will be further described below with reference to the specific embodiments.
在本实用新型的描述中,需要理解的是,术语“上”、“下”、“前”、“后”、“左”、“右”、“顶”、“底”、“内”、“外”等指示的方位或位置关系为基于附图所示的方位或位置关系,仅是为了便于描述本实用新型和简化描述,而不是指示或暗示所指的装置或元件必须具有特定的方位、以特定的方位构造和操作,因此不能理解为对本实用新型的限制。In the description of the present invention, it should be understood that the terms "upper", "lower", "front", "rear", "left", "right", "top", "bottom", "inside", The orientation or positional relationship indicated by "outside" is based on the orientation or positional relationship shown in the accompanying drawings, which is only for the convenience of describing the present invention and simplifying the description, rather than indicating or implying that the indicated device or element must have a specific orientation , are constructed and operated in a specific orientation, and therefore should not be construed as a limitation of the present invention.
在本实用新型的描述中,需要说明的是,除非另有明确的规定和限定,术语“安装”、“相连”、“设置”应做广义理解,例如,可以是固定相连、设置,也可以是可拆卸连接、设置,或一体地连接、设置;本实用新型中提供的用电器的型号仅供参考。对于本领域的普通技术人员而言,可以根据实际使用情况更换功能相同的不同型号用电器,对于本领域的普通技术人员而言,可以具体情况理解上述术语在本实用新型中的具体含义。In the description of the present utility model, it should be noted that, unless otherwise expressly specified and limited, the terms "installation", "connection" and "arrangement" should be understood in a broad sense, for example, it may be fixedly connected, arranged, or It is a detachable connection and setting, or an integral connection and setting; the model of the electrical appliance provided in this utility model is for reference only. For those of ordinary skill in the art, different types of electrical appliances with the same function can be replaced according to actual use conditions, and for those of ordinary skill in the art, they can understand the specific meanings of the above terms in the present invention.
请参阅图1-2,本实用新型提供一种技术方案:一种新型建材机械清洗装置,包括底板1和水箱2,所述水箱2固定在底板1的右侧表面,且水箱2左侧的底板1表面固定有工业吸尘器5;1-2, the present utility model provides a technical solution: a novel mechanical cleaning device for building materials, comprising a bottom plate 1 and a
所述工业吸尘器5的吸尘头7通过管夹8固定在水箱2的左侧前端表面,吸尘头7右侧的水箱2前侧通过管夹8固定有毛刷12,水箱2右侧下端的底板1上固定有增压泵15,且增压泵15的进水管与水箱2的底部连通,增压泵15的出水管通过导管11与水箱2右侧前端固定的水管17连通,且水管17的底部安装有喷头16,水管17通过管夹8固定在水箱2的前侧,所述底板1的左侧上端竖向焊接固定有推柄3,底板1的底部固定有蓄电池13,底板1的底部四角均安装固定有刹车脚轮6,且刹车脚轮6为四个。The dust suction head 7 of the
本实施例中(请参阅图1和图2)通过在可移动的底板1上固定有水箱2和工业吸尘器5,能够方便移动在各机械设备之后,根据不同的清理需求能够选择毛刷12刷灰之后使用工业吸尘器5吸去粉尘,也可以使用增压泵15抽水对设备进行冲洗,能够方便的对各种设备进行清洗。In this embodiment (refer to FIG. 1 and FIG. 2 ), the
其中,所述水箱2的前侧表面竖向设置有观察窗10,且观察窗10竖向设置在水箱2前侧的中部表面。Wherein, an
本实施例中(请参阅图1)通过使水箱2的前侧表面竖向设置有观察窗10,且观察窗10竖向设置在水箱2前侧的中部表面,在使用时,通过观察窗10可以随时知晓水箱2内部清洗水的剩余量,方便及时向水箱2内部添加水。In this embodiment (please refer to FIG. 1 ), an
其中,所述蓄电池13通过固定架14固定在底板1的底部,且固定架14焊接固定在底板1的底部。Wherein, the
本实施例中(请参阅图1)通过焊接的固定架14能够固定蓄电池13。In this embodiment (refer to FIG. 1 ), the
其中,所述水箱2的上端中部连接有进水口9,且进水口9与水箱2内部连通。Wherein, a water inlet 9 is connected to the middle of the upper end of the
本实施例中(请参阅图1)通过进水口9可以向水箱2内添加水。In this embodiment (refer to FIG. 1 ), water can be added to the
其中,所述推柄3的上端前侧固定有开关4,且增压泵15通过开关4与蓄电池13电性连接。A
本实施例中(请参阅图1)通过开关4可以控制增压泵15的启闭。In this embodiment (refer to FIG. 1 ), the opening and closing of the
需要说明的是,本实用新型为一种新型建材机械清洗装置,包括底板1、水箱2、推柄3、开关4、工业吸尘器5、刹车脚轮6、吸尘头7、管夹8、进水口9、观察窗10、导管11、毛刷12、蓄电池13、固定架14、增压泵15、喷头16、水管17,部件均为通用标准件或本领域技术人员知晓的部件,其结构和原理都为本领域技术人员可通过技术手册得知或通过常规实验方法获知,工作时,使蓄电池13和可充电的工业吸尘器5被充满电,然后通过进水口9向水箱2内添加水,之后通过推柄3将装置推移至需要清理的设备前,根据设备的清理需求,可以取下毛刷12刷动设备表面的灰尘,同时启动工业吸尘器5,使用吸尘头7将粉尘吸去,在清洗可以使用水冲洗的设备时,取下水管17,并使喷头16对准冲洗部位,然后通过开关4启动增压泵15,使其将水箱2内水抽出并通过喷头16冲洗在设备表面,将设备表面的污渍冲洗去,具有多种冲洗效果,使用比较方便,通过观察窗10可以知晓水箱2内水的剩余量,便于及时添加水。It should be noted that the present utility model is a novel mechanical cleaning device for building materials, including a bottom plate 1, a
以上显示和描述了本实用新型的基本原理和主要特征和本实用新型的优点,对于本领域技术人员而言,显然本实用新型不限于上述示范性实施例的细节,而且在不背离本实用新型的精神或基本特征的情况下,能够以其他的具体形式实现本实用新型。因此,无论从哪一点来看,均应将实施例看作是示范性的,而且是非限制性的,本实用新型的范围由所附权利要求而不是上述说明限定,因此旨在将落在权利要求的等同要件的含义和范围内的所有变化囊括在本实用新型内。不应将权利要求中的任何附图标记视为限制所涉及的权利要求。The basic principles and main features of the present invention and the advantages of the present invention have been shown and described above. For those skilled in the art, it is obvious that the present invention is not limited to the details of the above-mentioned exemplary embodiments, and does not deviate from the present invention. The present invention can be implemented in other specific forms under the condition of the spirit or basic features. Therefore, the embodiments are to be considered in all respects as exemplary and not restrictive, and the scope of the present invention is defined by the appended claims rather than the foregoing description, and it is therefore intended that the All changes within the meaning and range of the required equivalents are embraced within the present invention. Any reference signs in the claims shall not be construed as limiting the involved claim.
此外,应当理解,虽然本说明书按照实施方式加以描述,但并非每个实施方式仅包含一个独立的技术方案,说明书的这种叙述方式仅仅是为清楚起见,本领域技术人员应当将说明书作为一个整体,各实施例中的技术方案也可以经适当组合,形成本领域技术人员可以理解的其他实施方式。In addition, it should be understood that although this specification is described in terms of embodiments, not each embodiment only includes an independent technical solution, and this description in the specification is only for the sake of clarity, and those skilled in the art should take the specification as a whole , the technical solutions in each embodiment can also be appropriately combined to form other implementations that can be understood by those skilled in the art.
Claims (5)
Priority Applications (1)
| Application Number | Priority Date | Filing Date | Title |
|---|---|---|---|
| CN202020120464.7U CN211563774U (en) | 2020-01-19 | 2020-01-19 | Novel building materials machinery washs device |
Applications Claiming Priority (1)
| Application Number | Priority Date | Filing Date | Title |
|---|---|---|---|
| CN202020120464.7U CN211563774U (en) | 2020-01-19 | 2020-01-19 | Novel building materials machinery washs device |
Publications (1)
| Publication Number | Publication Date |
|---|---|
| CN211563774U true CN211563774U (en) | 2020-09-25 |
Family
ID=72524341
Family Applications (1)
| Application Number | Title | Priority Date | Filing Date |
|---|---|---|---|
| CN202020120464.7U Expired - Fee Related CN211563774U (en) | 2020-01-19 | 2020-01-19 | Novel building materials machinery washs device |
Country Status (1)
| Country | Link |
|---|---|
| CN (1) | CN211563774U (en) |
Cited By (1)
| Publication number | Priority date | Publication date | Assignee | Title |
|---|---|---|---|---|
| CN113426715A (en) * | 2021-05-27 | 2021-09-24 | 莆田市振芳商贸有限公司 | Surface scrubbing equipment for level instrument |
-
2020
- 2020-01-19 CN CN202020120464.7U patent/CN211563774U/en not_active Expired - Fee Related
Cited By (2)
| Publication number | Priority date | Publication date | Assignee | Title |
|---|---|---|---|---|
| CN113426715A (en) * | 2021-05-27 | 2021-09-24 | 莆田市振芳商贸有限公司 | Surface scrubbing equipment for level instrument |
| CN113426715B (en) * | 2021-05-27 | 2022-07-15 | 德州英卡纳仪表有限公司 | Surface scrubbing equipment for level instrument |
Similar Documents
| Publication | Publication Date | Title |
|---|---|---|
| JP2019528148A (en) | Self-cleaning roller mop | |
| CN205667534U (en) | Floor-cleaning machine | |
| CN211563774U (en) | Novel building materials machinery washs device | |
| CN206428634U (en) | A kind of environmental project cleaning device | |
| CN211613573U (en) | A cleaning device for mechanical parts | |
| CN108246696A (en) | A kind of production cleaning plant used for solar batteries | |
| CN203634081U (en) | Novel window wiper | |
| CN220237862U (en) | A kind of mud scraping device for filter press | |
| CN211839212U (en) | A cleaning device for glass production | |
| CN216334262U (en) | White oil collector production and storage device | |
| CN206854166U (en) | A kind of belt assembly belt cleaning device of electronic component processing | |
| CN212549205U (en) | A raw material stirring device for chemical production | |
| CN219270803U (en) | Base station | |
| CN214022470U (en) | A self-leveling mortar mixer cleaning device | |
| CN205359357U (en) | Handheld vehicle -mounted cleaner | |
| CN217827685U (en) | Handheld dust collector with mite removing floor brush | |
| CN221046706U (en) | Agricultural economic management information input terminal | |
| CN222241488U (en) | Etching machine dust removal mechanism | |
| CN214417050U (en) | Automatic cleaner for mechanical device | |
| CN111904340B (en) | Multifunctional electric floor mopping machine | |
| CN221701821U (en) | PPS base cloth belt cleaning device | |
| CN218572138U (en) | Cleaning device | |
| CN220109668U (en) | Hand-push type floor washing machine convenient to clean | |
| CN216628390U (en) | garbage collection robot | |
| CN220289528U (en) | Quality inspection device for washing solvent production |
Legal Events
| Date | Code | Title | Description |
|---|---|---|---|
| GR01 | Patent grant | ||
| GR01 | Patent grant | ||
| CB03 | Change of inventor or designer information | ||
| CB03 | Change of inventor or designer information |
Inventor after: Tan Xiaofeng Inventor after: Sun Yingxue Inventor after: Liu Shixin Inventor after: Tan Xiaowei Inventor before: Tan Xiaofeng |
|
| CF01 | Termination of patent right due to non-payment of annual fee | ||
| CF01 | Termination of patent right due to non-payment of annual fee |
Granted publication date: 20200925 Termination date: 20220119 |
