CN211563486U - Integral type sprinkler supporting mechanism joint support seat - Google Patents

Integral type sprinkler supporting mechanism joint support seat Download PDF

Info

Publication number
CN211563486U
CN211563486U CN201921502364.4U CN201921502364U CN211563486U CN 211563486 U CN211563486 U CN 211563486U CN 201921502364 U CN201921502364 U CN 201921502364U CN 211563486 U CN211563486 U CN 211563486U
Authority
CN
China
Prior art keywords
recess
supporting mechanism
integral type
fixed slot
circular shape
Prior art date
Legal status (The legal status is an assumption and is not a legal conclusion. Google has not performed a legal analysis and makes no representation as to the accuracy of the status listed.)
Expired - Fee Related
Application number
CN201921502364.4U
Other languages
Chinese (zh)
Inventor
张志锋
Current Assignee (The listed assignees may be inaccurate. Google has not performed a legal analysis and makes no representation or warranty as to the accuracy of the list.)
Chongqing Yidianjin Technology Development Co ltd
Original Assignee
Individual
Priority date (The priority date is an assumption and is not a legal conclusion. Google has not performed a legal analysis and makes no representation as to the accuracy of the date listed.)
Filing date
Publication date
Application filed by Individual filed Critical Individual
Priority to CN201921502364.4U priority Critical patent/CN211563486U/en
Application granted granted Critical
Publication of CN211563486U publication Critical patent/CN211563486U/en
Expired - Fee Related legal-status Critical Current
Anticipated expiration legal-status Critical

Links

Images

Landscapes

  • Catching Or Destruction (AREA)

Abstract

The utility model discloses an integral type sprinkler supporting mechanism joint support seat, which comprises a body, body bottom establish to the base of long cubic structure, the base left and right sides respectively be equipped with a square fixed slot, first fixed slot and second fixed slot in the middle of be equipped with a circular shape fixed orifices, base top be equipped with a square recess, the recess in the middle of be equipped with two circular shape connecting holes, the recess right side be equipped with the right connecting seat of a cylindrical structure, right connecting seat in the middle of be equipped with a circular shape second through-hole. The utility model is suitable for a this integral type sprinkler supporting mechanism has the erection joint convenience, and structural strength is high, the strong characteristics of operating stability.

Description

Integral type sprinkler supporting mechanism joint support seat
Technical Field
The utility model relates to an integral type spraying machine technical field especially relates to an integral type spraying machine supporting mechanism joint support seat.
Background
The supporting seat on the market, its structure is not applicable to this integral type sprinkler supporting mechanism, and its left and right sides is not equipped with square fixed slot and fixed orifices, and therefore the installation is fixed inconvenient, is not equipped with square recess and connecting hole in the middle of it, and consequently stability is not strong during the operation, and the left and right sides of its recess is not equipped with the fixing base and the through-hole of cylinder structure, and consequently structural strength is not high.
Therefore, it is desirable to design an integrated supporting mechanism and connecting support seat for spraying machine to solve the above problems.
SUMMERY OF THE UTILITY MODEL
The utility model aims at solving the defects existing in the prior art and providing an integral type spraying machine supporting mechanism connection supporting seat.
In order to achieve the above purpose, the utility model adopts the following technical scheme:
a connecting and supporting seat of a supporting mechanism of an integrated spraying machine comprises a body, wherein the bottom of the body is provided with a base with a cuboid structure, the left side and the right side of the base are respectively provided with a square fixing groove which is a first fixing groove and a second fixing groove, a circular fixing hole is arranged between the first fixing groove and the second fixing groove and is a first fixing hole and a second fixing hole respectively, a square groove is arranged above the base, two round connecting holes are arranged in the middle of the groove and are respectively a first connecting hole and a second connecting hole, a left connecting seat with a cylindrical structure is arranged on the left side of the groove, a circular first through hole is arranged in the middle of the left connecting seat, the right side of the groove is provided with a right connecting seat with a cylindrical structure, and the middle of the right connecting seat is provided with a circular second through hole.
The utility model discloses beneficial effect: this integral type sprinkler supporting mechanism joint support seat, its structure is applicable to this integral type sprinkler supporting mechanism, and its left and right sides is equipped with square fixed slot and fixed orifices, and consequently the installation is fixed convenient, is equipped with square recess and connecting hole in the middle of it, and stability is strong when consequently moving, and the left and right sides of its recess is equipped with the fixing base and the through-hole of cylinder structure, therefore structural strength is high.
Drawings
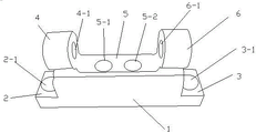
Fig. 1 is the utility model provides an integral type sprinkler supporting mechanism connection supporting seat's schematic structure.
Detailed Description
The technical solutions in the embodiments of the present invention will be described clearly and completely with reference to the accompanying drawings in the embodiments of the present invention, and it is obvious that the described embodiments are only some embodiments of the present invention, not all embodiments.
Referring to fig. 1, the support seat for connecting the support mechanism of the integrated spraying machine comprises a body 1, wherein the bottom of the body 1 is provided with a base with a rectangular structure, the left side and the right side of the base are respectively provided with a square fixing groove which is respectively a first fixing groove 2 and a second fixing groove 3, a round fixing hole which is respectively a first fixing hole 2-1 and a second fixing hole 3-1 is arranged between the first fixing groove 2 and the second fixing groove 3, a square groove 5 is arranged above the base 1, two round connecting holes which are respectively a first connecting hole 5-1 and a second connecting hole 5-2 are arranged in the middle of the groove 5, a left connecting seat 4 with a cylindrical structure is arranged on the left side of the groove 5, a round first through hole 4-1 is arranged in the middle of the left connecting seat 4, and a right connecting seat 6 with a cylindrical structure is arranged on the right side of the groove 5, the middle of the right connecting seat 6 is provided with a circular second through hole 6-1.
Above, only be the concrete implementation of the preferred embodiment of the present invention, but the protection scope of the present invention is not limited thereto, and any person skilled in the art is in the technical scope of the present invention, according to the technical solution of the present invention and the design of the present invention, equivalent replacement or change should be covered within the protection scope of the present invention.

Claims (1)

1. The utility model provides an integral type sprinkler supporting mechanism joint support seat, includes the body, its characterized in that: the body bottom establish to the base of rectangular bodily form structure, the base left and right sides respectively be equipped with a square fixed slot, be first fixed slot and second fixed slot respectively, first fixed slot and second fixed slot in the middle of be equipped with a circular shape fixed orifices, be first fixed orifices and second fixed orifices respectively, base top be equipped with a square recess, the recess in the middle of be equipped with two circular shape connecting holes, be first connecting hole and second connecting hole respectively, the recess left side be equipped with the left connecting seat of a cylinder structure, the left connecting seat in the middle of be equipped with a circular shape first through-hole, the recess right side be equipped with the right connecting seat of a cylinder structure, right connecting seat in the middle of be equipped with a circular shape second through-hole.
CN201921502364.4U 2019-09-10 2019-09-10 Integral type sprinkler supporting mechanism joint support seat Expired - Fee Related CN211563486U (en)

Priority Applications (1)

Application Number Priority Date Filing Date Title
CN201921502364.4U CN211563486U (en) 2019-09-10 2019-09-10 Integral type sprinkler supporting mechanism joint support seat

Applications Claiming Priority (1)

Application Number Priority Date Filing Date Title
CN201921502364.4U CN211563486U (en) 2019-09-10 2019-09-10 Integral type sprinkler supporting mechanism joint support seat

Publications (1)

Publication Number Publication Date
CN211563486U true CN211563486U (en) 2020-09-25

Family

ID=72522465

Family Applications (1)

Application Number Title Priority Date Filing Date
CN201921502364.4U Expired - Fee Related CN211563486U (en) 2019-09-10 2019-09-10 Integral type sprinkler supporting mechanism joint support seat

Country Status (1)

Country Link
CN (1) CN211563486U (en)

Similar Documents

Publication Publication Date Title
CN211563486U (en) Integral type sprinkler supporting mechanism joint support seat
CN211362856U (en) Square connecting seat of concrete mixer fixing mechanism
CN211344515U (en) Pump body supporting seat of concrete knockout pump
CN211520775U (en) Groove-shaped fixing seat of connecting mechanism of drum conveyor
CN213575792U (en) Rigging machine highly-compressed air valve body connecting piece
CN213361803U (en) Filter supporting mechanism fixing support frame
CN209941194U (en) Weaving jacquard machine bottom connection fixing base
CN213299257U (en) Rotating mechanism connecting outer cover of fruit and vegetable spraying machine
CN210058134U (en) Groove-shaped connecting piece for workbench of liquid material premixing machine
CN213540705U (en) Pump body connecting piece of agricultural spraying machine
CN211975585U (en) Flat-plate machine supporting mechanism fixed connection board
CN213478831U (en) Square connecting piece of quick freezer coupling mechanism
CN212052756U (en) Fixed guide rail seat of fixing mechanism of building pile driver
CN201090571Y (en) Anchor ear type table feet permanent connection ring
CN210462188U (en) Concrete knockout pump body connecting fixing base
CN213548211U (en) Connecting and fixing plate for supporting mechanism of agricultural rotary cultivator
CN213523818U (en) Feed granulator base mechanism square groove connecting seat
CN211314828U (en) Connecting rod piece of connecting rod mechanism of shoe film machine
CN211520879U (en) Fixing support seat of fixing mechanism of pipe blanking machine
CN211430127U (en) Fixing base of agricultural thresher fixing mechanism
CN211469926U (en) Positioning and fixing mechanism of pipe blanking machine
CN211763748U (en) Carbon powder make-up machine conveying mechanism supporting connection seat
CN213548300U (en) Square connecting seat of agricultural seeder connecting mechanism
CN211009399U (en) Building lift draws high mechanism arc connecting piece
CN211678167U (en) Gravel crusher supporting mechanism fixed connection seat

Legal Events

Date Code Title Description
GR01 Patent grant
GR01 Patent grant
TR01 Transfer of patent right
TR01 Transfer of patent right

Effective date of registration: 20230831

Address after: Group 10, Xingjia Village, Kuimen Street, Fengjie County, Chongqing 404600

Patentee after: Chongqing Yidianjin Technology Development Co.,Ltd.

Address before: No. 56, Yixiang, Yong'an West Street, Beiguan District, Anyang City, Henan Province, 455001

Patentee before: Zhang Zhifeng

CF01 Termination of patent right due to non-payment of annual fee
CF01 Termination of patent right due to non-payment of annual fee

Granted publication date: 20200925