CN211558403U - A automatically cleaning feeding trough device for huai nan black pig is bred - Google Patents
A automatically cleaning feeding trough device for huai nan black pig is bred Download PDFInfo
- Publication number
- CN211558403U CN211558403U CN202020160054.5U CN202020160054U CN211558403U CN 211558403 U CN211558403 U CN 211558403U CN 202020160054 U CN202020160054 U CN 202020160054U CN 211558403 U CN211558403 U CN 211558403U
- Authority
- CN
- China
- Prior art keywords
- feeding trough
- wall
- feeding
- groove
- cleaning
- Prior art date
- Legal status (The legal status is an assumption and is not a legal conclusion. Google has not performed a legal analysis and makes no representation as to the accuracy of the status listed.)
- Expired - Fee Related
Links
- 238000004140 cleaning Methods 0.000 title claims abstract description 26
- XLYOFNOQVPJJNP-UHFFFAOYSA-N water Substances O XLYOFNOQVPJJNP-UHFFFAOYSA-N 0.000 claims abstract description 36
- 238000009395 breeding Methods 0.000 claims abstract description 22
- 230000001488 breeding effect Effects 0.000 claims abstract description 22
- 238000003860 storage Methods 0.000 claims abstract description 17
- 239000000463 material Substances 0.000 claims abstract description 5
- 239000007921 spray Substances 0.000 claims 1
- 241000282887 Suidae Species 0.000 abstract description 18
- 239000002699 waste material Substances 0.000 abstract description 15
- 230000009286 beneficial effect Effects 0.000 abstract description 6
- 238000007599 discharging Methods 0.000 abstract description 5
- 239000007788 liquid Substances 0.000 abstract description 5
- 230000003749 cleanliness Effects 0.000 abstract description 4
- 238000011010 flushing procedure Methods 0.000 abstract description 4
- 230000006866 deterioration Effects 0.000 description 3
- 230000000694 effects Effects 0.000 description 3
- 238000010586 diagram Methods 0.000 description 1
- 238000005516 engineering process Methods 0.000 description 1
- 230000005802 health problem Effects 0.000 description 1
- 238000011031 large-scale manufacturing process Methods 0.000 description 1
- 238000000034 method Methods 0.000 description 1
- 238000012986 modification Methods 0.000 description 1
- 230000004048 modification Effects 0.000 description 1
Images
Landscapes
- Feeding And Watering For Cattle Raising And Animal Husbandry (AREA)
Abstract
本实用新型涉及农业黑猪养殖技术领域,公开了一种用于淮南黑猪养殖的自清洁喂料槽装置,包括喂料槽,所述喂料槽的内腔中设置有食料推板,所述食料推板的底部外壁上固定安装有刷体,所述刷体的底部与喂料槽的内腔底壁相互接触,本实用新型的整体结构设置合理,操作便捷,能够实现对喂料槽中残余废料的快速清洁和冲洗工作,保障了喂料槽内的干净,避免了饲料残渣腐败变质,有利于生猪的饲养工作;同时通过储水箱体的设置,可以实现对喂料槽内多余的水分进行收集,有利于喂料槽内食料的清洁操作,避免了废液的流失污染,以及排料槽的结构设置合理,有利于对清洁后的费料进行集中的收集处理工作。
The utility model relates to the technical field of agricultural black pig breeding, and discloses a self-cleaning feeding trough device for the breeding of Huainan black pigs, which comprises a feeding trough. A brush body is fixedly installed on the bottom outer wall of the food push plate, and the bottom of the brush body is in contact with the bottom wall of the inner cavity of the feeding trough. The quick cleaning and flushing of the residual waste in the feeding tank ensures the cleanliness of the feeding trough, avoids the spoilage of feed residues, and is beneficial to the feeding of live pigs; at the same time, through the setting of the water storage tank, it is possible to realize the removal of excess material in the feeding trough. The collected water is conducive to the cleaning operation of the food in the feeding trough, avoiding the loss of waste liquid and pollution, and the structure of the discharging trough is reasonable, which is conducive to the centralized collection and processing of the cleaned waste materials.
Description
技术领域technical field
本实用新型涉及农业黑猪养殖技术领域,尤其涉及一种用于淮南黑猪养殖的自清洁喂料槽装置。The utility model relates to the technical field of agricultural black pig breeding, in particular to a self-cleaning feeding trough device used for the breeding of Huainan black pigs.
背景技术Background technique
目前,生猪养殖业已经成了我国农业经济的支柱产业。随着生猪养殖业的迅速发展,配套养殖设施和技术也需要稳步发展,以不断满足规模化养殖的需要。传统的养殖场中,一般采用人工喂料的方式对生猪进行投料喂养,随着养殖规模的不断扩大,人工喂料的方式其弊端日益显现。在养殖车间中,通常为每一个围栏配置独立的一个喂料槽,该喂料槽作为该围栏内多头生猪的食槽,饲料放置在喂料槽内供生猪食用。At present, the pig breeding industry has become the pillar industry of my country's agricultural economy. With the rapid development of pig breeding industry, supporting breeding facilities and technologies also need to develop steadily to continuously meet the needs of large-scale breeding. In traditional farms, artificial feeding is generally used to feed live pigs. With the continuous expansion of the breeding scale, the disadvantages of artificial feeding are increasingly apparent. In a breeding workshop, an independent feeding trough is usually configured for each pen. The feeding trough is used as a feeding trough for multiple pigs in the pen, and the feed is placed in the feeding trough for the pigs to eat.
现有的喂料槽一般只具有简单的辅助喂料功能,现有的喂料槽装置无法进行清洁,这导致饲料残渣腐败变质,进而导致生猪的健康问题,不利于进行生猪大规模的生产。为此,我们提出了一种用于淮南黑猪养殖的自清洁喂料槽装置。The existing feeding trough generally only has a simple auxiliary feeding function, and the existing feeding trough device cannot be cleaned, which leads to the spoilage and deterioration of the feed residue, which in turn leads to health problems of live pigs, which is not conducive to large-scale production of live pigs. To this end, we propose a self-cleaning feeding trough device for Huainan black pig breeding.
发明内容SUMMARY OF THE INVENTION
本实用新型提供了一种用于淮南黑猪养殖的自清洁喂料槽装置,目的在于易于进行清洁冲洗操作,保障了喂料槽的干净,有利于生猪的饲养工作。The utility model provides a self-cleaning feeding trough device for the breeding of Huainan black pigs, which aims to facilitate cleaning and flushing operations, ensure the cleanliness of the feeding trough, and facilitate the feeding of live pigs.
为实现上述技术目的,达到上述技术效果,本实用新型是通过以下技术方案实现:In order to realize the above-mentioned technical purpose and achieve the above-mentioned technical effect, the present invention is realized through the following technical solutions:
一种用于淮南黑猪养殖的自清洁喂料槽装置,包括喂料槽,所述喂料槽的内腔中设置有食料推板,所述食料推板的底部外壁上固定安装有刷体,所述刷体的底部与喂料槽的内腔底壁相互接触,所述食料推板的顶部外壁上固定安装有竖杆,所述竖杆的顶端固定安装有推杆,所述推杆的左方设置有喷头卡座,所述喷头卡座固定安装在喂料槽的顶部外壁上,所述喷头卡座中设置有水管,所述水管的末端接通有与喷头卡座匹配的喷头主体,所述喂料槽的右方设置有排料槽,所述排料槽的底部外壁上活动连接有支撑腿,所述排料槽的左侧底部通过销轴活动连接喂料槽的侧壁,所述排料槽和喂料槽的连接处均开设有通孔,所述喂料槽上设置有挡板,所述挡板设置在喂料槽的通孔中,且挡板与通孔的内壁活动连接。A self-cleaning feeding trough device for breeding of Huainan black pigs, comprising a feeding trough, a food pushing plate is arranged in the inner cavity of the feeding trough, and a brush body is fixedly installed on the bottom outer wall of the feeding trough , the bottom of the brush body is in contact with the bottom wall of the inner cavity of the feeding trough, the top outer wall of the food push plate is fixedly installed with a vertical rod, the top of the vertical rod is fixedly installed with a push rod, and the push rod The left side of the nozzle is provided with a nozzle holder, the nozzle holder is fixedly installed on the top outer wall of the feeding trough, the nozzle holder is provided with a water pipe, and the end of the water pipe is connected with a nozzle that matches the nozzle holder. The main body, the right side of the feeding trough is provided with a discharging trough, the bottom outer wall of the discharging trough is movably connected with a support leg, and the left bottom of the discharging trough is movably connected to the side of the feeding trough through a pin shaft The connection between the discharge chute and the feeding chute is provided with a through hole, the feeding chute is provided with a baffle plate, the baffle plate is arranged in the through hole of the feeding chute, and the baffle plate is connected to the through hole of the feeding chute. The inner wall of the hole is flexibly connected.
优选地,上述一种用于淮南黑猪养殖的自清洁喂料槽装置中,所述竖杆的外壁上固定安装有导块,所述喂料槽的内腔壁上开设有与导块匹配的导槽,所述导块活动连接导槽的内壁。Preferably, in the above-mentioned self-cleaning feeding trough device for breeding of Huainan black pigs, a guide block is fixedly installed on the outer wall of the vertical rod, and a guide block is provided on the inner cavity wall of the feeding trough to match the guide block. The guide groove, the guide block is movably connected to the inner wall of the guide groove.
基于上述技术特征,通过导块和导槽的设置,能够实现食料推板更好的移动工作,限位效果佳。Based on the above technical features, through the arrangement of the guide block and the guide groove, the food push plate can be better moved, and the limit effect is good.
优选地,上述一种用于淮南黑猪养殖的自清洁喂料槽装置中,所述喷头卡座的右侧外壁上安装有弹簧夹,所述弹簧夹套设在竖杆的外壁上。Preferably, in the above-mentioned self-cleaning feeding trough device for breeding of Huainan black pigs, a spring clip is installed on the right outer wall of the nozzle holder, and the spring clip is sleeved on the outer wall of the vertical rod.
基于上述技术特征,通过弹簧夹的设置,可以实现对竖杆的限位和固定操作,以便于收纳。Based on the above technical features, through the arrangement of the spring clip, the positioning and fixing operations of the vertical rod can be realized, so as to facilitate the storage.
优选地,上述一种用于淮南黑猪养殖的自清洁喂料槽装置中,所述喂料槽的内腔底部开槽安装有滤网,所述滤网的下方呈线性等分安装有漏水管,所述喂料槽的底部外壁上固定安装有储水箱体,所述漏水管的底端接通储水箱体的内腔,所述储水箱体的外壁上开设有排水孔。Preferably, in the above-mentioned self-cleaning feeding trough device for breeding of Huainan black pigs, the bottom of the inner cavity of the feeding trough is slotted and installed with a filter screen, and the bottom of the filter screen is linearly installed with water leakage A water storage tank is fixedly installed on the bottom outer wall of the feeding trough, the bottom end of the leaking pipe is connected to the inner cavity of the water storage tank, and a drainage hole is opened on the outer wall of the water storage tank.
基于上述技术特征,通过储水箱体的设置,可以实现对喂料槽内多余的水分进行收集,有利于喂料槽内食料的清洁操作,避免了废液的流失污染。Based on the above technical features, through the arrangement of the water storage tank, the excess water in the feeding trough can be collected, which is beneficial to the cleaning operation of the food in the feeding trough, and avoids the loss of waste liquid pollution.
优选地,上述一种用于淮南黑猪养殖的自清洁喂料槽装置中,所述排料槽的内腔右侧壁为向右倾斜设置。Preferably, in the above-mentioned self-cleaning feeding trough device for breeding of Huainan black pigs, the right side wall of the inner cavity of the discharging trough is inclined to the right.
基于上述技术特征,排料槽的结构设置合理,有利于对清洁后的费料进行集中的收集处理工作。Based on the above technical features, the structure of the discharge chute is reasonable, which is conducive to the centralized collection and processing of the cleaned waste materials.
本实用新型的有益效果是:本实用新型的整体结构设置合理,操作便捷,能够实现对喂料槽中残余废料的快速清洁和冲洗工作,保障了喂料槽内的干净,避免了饲料残渣腐败变质,有利于生猪的饲养工作;同时通过储水箱体的设置,可以实现对喂料槽内多余的水分进行收集,有利于喂料槽内食料的清洁操作,避免了废液的流失污染,以及排料槽的结构设置合理,有利于对清洁后的费料进行集中的收集处理工作。The beneficial effects of the utility model are as follows: the overall structure of the utility model is reasonable, and the operation is convenient, which can realize the rapid cleaning and flushing of the residual waste in the feeding trough, ensure the cleanliness of the feeding trough, and avoid the spoilage of the feed residue. Deterioration is beneficial to the feeding of live pigs; at the same time, through the setting of the water storage tank, the excess water in the feeding trough can be collected, which is conducive to the cleaning operation of the food in the feeding trough, and avoids the loss of waste liquid and pollution. And the structure of the discharge chute is reasonable, which is conducive to the centralized collection and processing of the cleaned waste materials.
附图说明Description of drawings
为了更清楚地说明本实用新型实施例的技术方案,下面将对实施例描述所需要使用的附图作简单地介绍,显而易见地,下面描述中的附图仅仅是本实用新型的一些实施例,对于本领域普通技术人员来讲,在不付出创造性劳动的前提下,还可以根据这些附图获得其他的附图。In order to illustrate the technical solutions of the embodiments of the present invention more clearly, the accompanying drawings required for the description of the embodiments will be briefly introduced below. Obviously, the drawings in the following description are only some embodiments of the present invention. For those of ordinary skill in the art, other drawings can also be obtained from these drawings without creative effort.
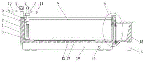
图1为本实用新型的整体结构示意图;Fig. 1 is the overall structure schematic diagram of the present utility model;
图2为本实用新型图1处A的放大图;Fig. 2 is the enlarged view of the utility model Fig. 1 place A;
图3为本实用新型喂食槽和食料推板部位的侧面结构剖视图。FIG. 3 is a sectional view of the side structure of the feeding trough and the food pushing plate of the present invention.
附图中,各标号所代表的部件列表如下:In the accompanying drawings, the list of components represented by each number is as follows:
1、喂料槽;2、食料推板;3、刷体;4、竖杆;5、导块;6、导槽;7、推杆;8、弹簧夹;9、喷头卡座;10、水管;11、喷头主体;12、滤网;13、漏水管;14、排水孔;15、排料槽;16、支撑腿;17、销轴;18、通孔;19、挡板;20、储水箱体。1. Feeding trough; 2. Food push plate; 3. Brush body; 4. Vertical rod; 5. Guide block; 6. Guide groove; 7. Push rod; 8. Spring clip; 9. Nozzle holder; 10. Water pipe; 11. Main body of sprinkler; 12. Filter screen; 13. Water leakage pipe; 14. Drainage hole; 15. Discharge chute; 16. Support leg; 17. Pin shaft; 18. Through hole; 19. Baffle plate; 20. Water storage tank.
具体实施方式Detailed ways
下面将结合本实用新型实施例中的附图,对本实用新型实施例中的技术方案进行清楚、完整地描述,显然,所描述的实施例仅仅是本实用新型一部分实施例,而不是全部的实施例。基于本实用新型中的实施例,本领域普通技术人员在没有作出创造性劳动前提下所获得的所有其它实施例,都属于本实用新型保护的范围。The technical solutions in the embodiments of the present utility model will be clearly and completely described below with reference to the accompanying drawings in the embodiments of the present utility model. Obviously, the described embodiments are only a part of the embodiments of the present utility model, rather than all the implementations. example. Based on the embodiments of the present invention, all other embodiments obtained by those of ordinary skill in the art without creative work fall within the protection scope of the present invention.
请参阅图1-3所示,本实施例为一种用于淮南黑猪养殖的自清洁喂料槽装置,包括喂料槽1,喂料槽1的内腔中设置有食料推板2,食料推板2的底部外壁上固定安装有刷体3,刷体3的底部与喂料槽1的内腔底壁相互接触,食料推板2的顶部外壁上固定安装有竖杆4,竖杆4的顶端固定安装有推杆7,竖杆4的外壁上固定安装有导块5,喂料槽1的内腔壁上开设有与导块5匹配的导槽6,导块5活动连接导槽6的内壁,通过导块5和导槽6的设置,能够实现食料推板2更好的移动工作,限位效果佳,推杆7的左方设置有喷头卡座9,喷头卡座9的右侧外壁上安装有弹簧夹8,弹簧夹8套设在竖杆4的外壁上,通过弹簧夹8的设置,可以实现对竖杆4的限位和固定操作,以便于收纳,喷头卡座9固定安装在喂料槽1的顶部外壁上,喷头卡座9中设置有水管10,水管10的末端接通有与喷头卡座9匹配的喷头主体11,喂料槽1的右方设置有排料槽15,排料槽15的底部外壁上活动连接有支撑腿16,排料槽15的左侧底部通过销轴17活动连接喂料槽1的侧壁,排料槽15和喂料槽1的连接处均开设有通孔18,喂料槽1上设置有挡板19,挡板19设置在喂料槽1的通孔18中,且挡板19与通孔18的内壁活动连接,排料槽15的内腔右侧壁为向右倾斜设置,排料槽15的结构设置合理,有利于对清洁后的费料进行集中的收集处理工作,喂料槽1的内腔底部开槽安装有滤网12,滤网12的下方呈线性等分安装有漏水管13,喂料槽1的底部外壁上固定安装有储水箱体20,漏水管13的底端接通储水箱体20的内腔,储水箱体20的外壁上开设有排水孔14,通过储水箱体20的设置,可以实现对喂料槽1内多余的水分进行收集,有利于喂料槽1内食料的清洁操作,避免了废液的流失污染。Please refer to FIGS. 1-3. This embodiment is a self-cleaning feeding trough device for breeding of Huainan black pigs, including a
本实用新型的一种具体实施,本实用新型的整体结构设置合理,操作便捷,能够实现对喂料槽1中残余废料的快速清洁和冲洗工作,保障了喂料槽1内的干净,在使用时,可以推动推杆7,竖杆4通过导块5和导槽6的设置,食料推板2可以稳固均匀的在喂料槽1中运动,推动喂料槽1中残余废料进行运动,通过水管10水源的接通,打开外部水龙头,取下喷头卡座9上的喷头主体11,可以实现对喂料槽1底部的清洁操作,同时通过喂料槽1下方储水箱体20的设置,通过漏水管13的导通可以实现对喂料槽1内多余的水分进行收集,有利于喂料槽1内食料的清洁操作,避免了废液的流失污染,进而避免了饲料残渣腐败变质,有利于生猪的饲养工作,最后排出的废料均通过通孔18进入排料槽15的内腔中,旋转排料槽15即可实现对排料槽15内的残余废料进行集中的收集处理工作。A specific implementation of the present utility model, the overall structure of the present utility model is reasonable and convenient to operate, which can realize the rapid cleaning and flushing of the residual waste in the
在本说明书的描述中,参考术语“一个实施例”、“示例”、“具体示例”等的描述意指结合该实施例或示例描述的具体特征、结构、材料或者特点包含于本实用新型的至少一个实施例或示例中。在本说明书中,对上述术语的示意性表述不一定指的是相同的实施例或示例。而且,描述的具体特征、结构、材料或者特点可以在任何的一个或多个实施例或示例中以合适的方式结合。In the description of this specification, description with reference to the terms "one embodiment", "example", "specific example", etc. means that a specific feature, structure, material or characteristic described in connection with the embodiment or example is included in the present invention. in at least one embodiment or example. In this specification, schematic representations of the above terms do not necessarily refer to the same embodiment or example. Furthermore, the particular features, structures, materials or characteristics described may be combined in any suitable manner in any one or more embodiments or examples.
以上公开的本实用新型优选实施例只是用于帮助阐述本实用新型。优选实施例并没有详尽叙述所有的细节,也不限制该实用新型仅为的具体实施方式。显然,根据本说明书的内容,可作很多的修改和变化。本说明书选取并具体描述这些实施例,是为了更好地解释本实用新型的原理和实际应用,从而使所属技术领域技术人员能很好地理解和利用本实用新型。本实用新型仅受权利要求书及其全部范围和等效物的限制。The preferred embodiments of the present invention disclosed above are only used to help illustrate the present invention. The preferred embodiments do not exhaustively describe all the details, nor do they limit the invention to specific embodiments only. Obviously, many modifications and variations are possible in light of the contents of this specification. This specification selects and describes these embodiments in order to better explain the principle and practical application of the present invention, so that those skilled in the art can well understand and utilize the present invention. The present invention is limited only by the claims and their full scope and equivalents.
Claims (5)
Priority Applications (1)
| Application Number | Priority Date | Filing Date | Title |
|---|---|---|---|
| CN202020160054.5U CN211558403U (en) | 2020-02-11 | 2020-02-11 | A automatically cleaning feeding trough device for huai nan black pig is bred |
Applications Claiming Priority (1)
| Application Number | Priority Date | Filing Date | Title |
|---|---|---|---|
| CN202020160054.5U CN211558403U (en) | 2020-02-11 | 2020-02-11 | A automatically cleaning feeding trough device for huai nan black pig is bred |
Publications (1)
| Publication Number | Publication Date |
|---|---|
| CN211558403U true CN211558403U (en) | 2020-09-25 |
Family
ID=72525058
Family Applications (1)
| Application Number | Title | Priority Date | Filing Date |
|---|---|---|---|
| CN202020160054.5U Expired - Fee Related CN211558403U (en) | 2020-02-11 | 2020-02-11 | A automatically cleaning feeding trough device for huai nan black pig is bred |
Country Status (1)
| Country | Link |
|---|---|
| CN (1) | CN211558403U (en) |
Cited By (1)
| Publication number | Priority date | Publication date | Assignee | Title |
|---|---|---|---|---|
| CN113854191A (en) * | 2021-10-28 | 2021-12-31 | 安徽科瑞达禽业有限公司 | Huainan spotted-brown chicken breeds and uses cage loading attachment |
-
2020
- 2020-02-11 CN CN202020160054.5U patent/CN211558403U/en not_active Expired - Fee Related
Cited By (1)
| Publication number | Priority date | Publication date | Assignee | Title |
|---|---|---|---|---|
| CN113854191A (en) * | 2021-10-28 | 2021-12-31 | 安徽科瑞达禽业有限公司 | Huainan spotted-brown chicken breeds and uses cage loading attachment |
Similar Documents
| Publication | Publication Date | Title |
|---|---|---|
| CN209490843U (en) | An operation table for draining and collecting inspection waste liquid | |
| CN107372191B (en) | Push-pull feeding device for cage chicken house | |
| CN211558403U (en) | A automatically cleaning feeding trough device for huai nan black pig is bred | |
| CN206686861U (en) | A kind of pig house blowdown apparatus | |
| CN203934466U (en) | A kind of saving type feeder trough with cleaning apparatus for self | |
| CN211983144U (en) | Excrement cleaning device for large-scale breeding of meat rabbits | |
| CN220191760U (en) | Piglet feeding device for farm | |
| CN209359280U (en) | A kind of sheep cultivation feeding trough easy to clean | |
| CN210298962U (en) | Animal feeding device | |
| CN210876511U (en) | Artificial tooth model belt cleaning device | |
| CN219503387U (en) | Trough with automatic cleaning mechanism | |
| CN218855089U (en) | A fast cleaning mechanism for a feed trough | |
| CN221515540U (en) | Flusher for urinary nursing appliance | |
| CN220137123U (en) | A water quality testing equipment for aquaculture | |
| CN107755384B (en) | Auxiliary device for cleaning milk substitute trough | |
| CN220936255U (en) | Feeding table for chickens | |
| CN213306756U (en) | Animal doctor pet fecal treatment device | |
| CN221864088U (en) | Murine breeding device convenient to clearance excrement and urine | |
| CN206481771U (en) | A kind of device for breeding house ground cleaning | |
| CN211526925U (en) | Laboratory glass instrument and cleaning means strorage device | |
| CN220557185U (en) | Feeding device for chicken raising | |
| CN109392740B (en) | A convenient-to-clean feeding trough for sheep breeding | |
| CN211861477U (en) | Poultry breeding device | |
| CN221754158U (en) | Earthworm cleaning equipment | |
| CN211461006U (en) | Liftable and inclinable small animal dissecting table for function experiment teaching |
Legal Events
| Date | Code | Title | Description |
|---|---|---|---|
| GR01 | Patent grant | ||
| GR01 | Patent grant | ||
| CF01 | Termination of patent right due to non-payment of annual fee |
Granted publication date: 20200925 |
|
| CF01 | Termination of patent right due to non-payment of annual fee |
