CN211535397U - A fixation device for clinical orthopedic surgery - Google Patents
A fixation device for clinical orthopedic surgery Download PDFInfo
- Publication number
- CN211535397U CN211535397U CN201922480161.6U CN201922480161U CN211535397U CN 211535397 U CN211535397 U CN 211535397U CN 201922480161 U CN201922480161 U CN 201922480161U CN 211535397 U CN211535397 U CN 211535397U
- Authority
- CN
- China
- Prior art keywords
- rod
- bottom plate
- fixing
- plate
- screw
- Prior art date
- Legal status (The legal status is an assumption and is not a legal conclusion. Google has not performed a legal analysis and makes no representation as to the accuracy of the status listed.)
- Expired - Fee Related
Links
Images
Landscapes
- Accommodation For Nursing Or Treatment Tables (AREA)
Abstract
本实用新型提供了一种临床骨科手术用的固定装置,涉及医疗设备技术领域,包括手术台、固定机构和调整机构,所述固定座滑动连接在滑杆上,所述第一螺杆转动连接在固定座内腔的下方,所述第二螺杆转动连接在第一螺杆的上方,所述支撑杆的一端固定连接在第二螺杆的外侧,所述连接杆固定连接在支撑杆的另一端,所述固定槽底部的两侧设有通槽,所述固定板固定连接在连接杆的一端,所述支撑板通过支杆固定连接在固定槽内腔的底部,本实用新型通过设计的固定机构,通过滑杆和固定座件的活动设置,以及螺杆间的传动,连接固定板和支撑板将患者的腿部固定,使得整个固定装置能够适应不同的患者的使用,且调整便携,有利于临床手术的进行。
The utility model provides a fixing device for clinical orthopaedic surgery, which relates to the technical field of medical equipment and comprises an operating table, a fixing mechanism and an adjusting mechanism. Below the inner cavity of the fixed seat, the second screw rod is rotatably connected above the first screw rod, one end of the support rod is fixedly connected to the outside of the second screw rod, and the connecting rod is fixedly connected to the other end of the support rod, so The two sides of the bottom of the fixing groove are provided with through grooves, the fixing plate is fixedly connected to one end of the connecting rod, and the supporting plate is fixedly connected to the bottom of the inner cavity of the fixing groove through the support rod. Through the movable setting of the sliding rod and the fixed seat, as well as the transmission between the screws, the fixed plate and the support plate are connected to fix the patient's leg, so that the entire fixing device can be adapted to different patients, and the adjustment is portable, which is beneficial to clinical operations. conduct.
Description
技术领域technical field
本实用新型涉及医疗设备技术领域,具体为一种临床骨科手术用的固定装置。The utility model relates to the technical field of medical equipment, in particular to a fixing device for clinical orthopedic surgery.
背景技术Background technique
骨科是各大医院最常见的科室之一,主要研究骨骼肌肉系统的解剖、生理与病理,运用药物、手术及物理方法保持和发展这一系统的正常形态与功能,其中,在骨科临床手术中,骨折患者需在骨头受损处采用固定装置进行固定,便于医生纠正骨骼肌肉系统,使其维持正常形态。Orthopedics is one of the most common departments in major hospitals. It mainly studies the anatomy, physiology and pathology of the musculoskeletal system, and uses drugs, surgery and physical methods to maintain and develop the normal form and function of this system. , Fracture patients need to use a fixation device to fix the damaged part of the bone, so that the doctor can correct the musculoskeletal system and maintain the normal shape.
但是,现有的固定装置在固定时并不方便调整,对于不同身形的患者固定的效果不一,且在临床手术时,需要耗费多余的时间来调整位置,影响治疗,此外,基于此,本实用新型设计了一种临床骨科手术用的固定装置,以解决上述问题。However, the existing fixation device is inconvenient to adjust during fixation, and the fixation effect for patients with different body shapes is different, and during clinical operations, it takes extra time to adjust the position, which affects the treatment. In addition, based on this, The utility model designs a fixation device for clinical orthopaedic surgery to solve the above problems.
实用新型内容Utility model content
本实用新型的目的在于提供一种临床骨科手术用的固定装置,以解决上述背景技术中提出的问题。The purpose of the present invention is to provide a fixation device for clinical orthopaedic surgery to solve the problems raised in the above background technology.
为实现上述目的,本实用新型提供如下技术方案:一种临床骨科手术用的固定装置,包括手术台、固定机构和调整机构,所述固定机构包括底板、定位杆、连接球、滑杆、固定座、第一螺杆、第二螺杆、连接杆、支撑杆、固定板和支撑板,所述底板固定连接在手术台的顶部,所述底板的左侧开设有通孔,所述定位杆固定连接在底板内腔靠近通孔的一侧,所述滑杆铰接在定位杆的顶部,且通过通孔延伸至底板的外侧,所述连接球固定连接在滑杆远离定位杆的一端,所述固定座滑动连接在滑杆上,且活动设置在手术台的顶部,所述第一螺杆转动连接在固定座内腔的下方,所述第二螺杆转动连接在第一螺杆的上方,且与第一螺杆螺纹连接,所述支撑杆的一端固定连接在第二螺杆的外侧,所述连接杆固定连接在支撑杆的另一端,所述固定座的顶部设有固定槽,所述固定槽底部的两侧设有通槽,所述固定板固定连接在连接杆的一端,所述支撑板通过支杆固定连接在固定槽内腔的底部。In order to achieve the above purpose, the utility model provides the following technical solutions: a fixation device for clinical orthopaedic surgery, including an operating table, a fixation mechanism and an adjustment mechanism, the fixation mechanism includes a base plate, a positioning rod, a connecting ball, a sliding rod, a fixed seat, first screw rod, second screw rod, connecting rod, support rod, fixing plate and support plate, the bottom plate is fixedly connected to the top of the operating table, the left side of the bottom plate is provided with a through hole, and the positioning rod is fixedly connected On the side of the inner cavity of the bottom plate close to the through hole, the sliding rod is hinged on the top of the positioning rod, and extends to the outside of the bottom plate through the through hole, and the connecting ball is fixedly connected to the end of the sliding rod away from the positioning rod. The seat is slidably connected to the sliding rod and is movably arranged on the top of the operating table, the first screw rod is rotatably connected below the inner cavity of the fixed seat, and the second screw rod is rotatably connected above the first screw rod, and is connected with the first screw rod. The screw is connected by screw thread, one end of the support rod is fixedly connected to the outside of the second screw rod, the connecting rod is fixedly connected to the other end of the support rod, the top of the fixing seat is provided with a fixing groove, and the two bottoms of the fixing groove are fixed. The side is provided with a through groove, the fixing plate is fixedly connected to one end of the connecting rod, and the supporting plate is fixedly connected to the bottom of the inner cavity of the fixing groove through the support rod.
优选的,所述调整机构包括伺服电机、隔板、丝杆、滑块、活动杆和枕形块,所述隔板固定连接在底板内腔的中间位置,所述伺服电机固定连接在底板内腔的右侧,所述丝杆的一端安装在伺服电机的输出端,另一端转动连接在隔板上,所述滑块螺纹连接在丝杆上,所述底板的顶部设有凹槽,所述活动杆固定连接在滑块的顶部,且顶端通过凹槽延伸至底板的上方,所述枕形块固定连接在活动杆的顶端。Preferably, the adjustment mechanism includes a servo motor, a partition plate, a screw rod, a slider, a movable rod and a pillow block, the partition plate is fixedly connected to the middle position of the inner cavity of the bottom plate, and the servo motor is fixedly connected in the bottom plate On the right side of the cavity, one end of the screw rod is installed on the output end of the servo motor, the other end is rotatably connected to the partition plate, the slider is threaded on the screw rod, and the top of the bottom plate is provided with a groove, so The movable rod is fixedly connected to the top of the sliding block, and the top end extends to the top of the bottom plate through the groove, and the pillow block is fixedly connected to the top of the movable rod.
优选的,所述第二螺杆、支撑杆、连接杆和固定板均设有两组,对称设置在支撑板的两侧。Preferably, there are two sets of the second screw rod, the support rod, the connecting rod and the fixing plate, which are symmetrically arranged on both sides of the support plate.
优选的,所述固定座的高度高于底板的高度,所述底板顶部远离凹槽的一侧还粘接有坐垫。Preferably, the height of the fixing seat is higher than the height of the bottom plate, and a seat cushion is adhered to the side of the top of the bottom plate away from the groove.
优选的,所述第一螺杆靠近固定座外侧的一端安装有旋盘,所述固定座的外侧还安装有拉手。Preferably, a rotary plate is installed at one end of the first screw rod close to the outer side of the fixing base, and a handle is also installed at the outer side of the fixing base.
与现有技术相比,本实用新型的有益效果是:本实用新型通过设计的固定机构,通过滑杆和固定座件的活动设置,以及螺杆间的传动,连接固定板和支撑板将患者的腿部固定,使得整个固定装置能够适应不同的患者的使用,且调整便携,有利于临床手术的进行,同时,设置的调整机构可以调节枕形块的位置,方便不同体型的患者的使用,也使得缓和躺在手术台上更加地舒适,从而降低手术的紧张感。Compared with the prior art, the beneficial effects of the present utility model are: the utility model connects the fixed plate and the support plate to the patient's body through the designed fixing mechanism, the movable setting of the sliding rod and the fixed seat, and the transmission between the screws. The legs are fixed, so that the whole fixing device can be used by different patients, and the adjustment is portable, which is beneficial to the clinical operation. At the same time, the set adjustment mechanism can adjust the position of the pillow block, which is convenient for patients of different sizes. It makes it more comfortable to lie down on the operating table, thereby reducing the tension of the operation.
当然,实施本实用新型的任一产品并不一定需要同时达到以上所述的所有优点。Of course, any product implementing the present invention does not necessarily need to simultaneously achieve all of the above-mentioned advantages.
附图说明Description of drawings
为了更清楚地说明本实用新型实施例的技术方案,下面将对实施例描述所需要使用的附图作简单地介绍,显而易见地,下面描述中的附图仅仅是本实用新型的一些实施例,对于本领域普通技术人员来讲,在不付出创造性劳动的前提下,还可以根据这些附图获得其他的附图。In order to illustrate the technical solutions of the embodiments of the present invention more clearly, the accompanying drawings required for the description of the embodiments will be briefly introduced below. Obviously, the drawings in the following description are only some embodiments of the present invention. For those of ordinary skill in the art, other drawings can also be obtained from these drawings without creative effort.
图1为本实用新型结构示意图;Fig. 1 is the structural representation of the utility model;
图2为本实用新型固定座结构示意图;FIG. 2 is a schematic diagram of the structure of the fixed seat of the present invention;
图3为本实用新型俯视结构示意图(固定板未画出)。FIG. 3 is a schematic top view of the structure of the utility model (the fixing plate is not shown).
附图中,各标号所代表的部件列表如下:In the accompanying drawings, the list of components represented by each number is as follows:
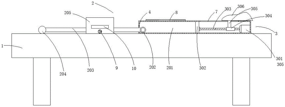
1-手术台,2-固定机构,201-底板,202-定位杆,203-连接球,204- 滑杆,205-固定座,206-第一螺杆,207-第二螺杆,208-连接杆,209- 支撑杆,210-固定板,211-支撑板,3-调整机构,301-伺服电机,302- 隔板,303-丝杆,304-滑块,305-活动杆,306-枕形块,4-通孔,5-固定槽,6-通槽,7-凹槽,8-坐垫,9-旋盘,10-拉手。1-Operating table, 2-Fixing mechanism, 201-Bottom plate, 202-Locating rod, 203-Connecting ball, 204-Sliding rod, 205-Fixing seat, 206-First screw, 207-Second screw, 208-Connecting rod , 209- Support rod, 210- Fixed plate, 211- Support plate, 3- Adjustment mechanism, 301- Servo motor, 302- Spacer, 303- Screw, 304- Slider, 305- Active rod, 306- Pillow Block, 4-through hole, 5-fixed slot, 6-through slot, 7-groove, 8-seat cushion, 9-rotating disc, 10-handle.
具体实施方式Detailed ways
下面将结合本实用新型实施例中的附图,对本实用新型实施例中的技术方案进行清楚、完整地描述,显然,所描述的实施例仅仅是本实用新型一部分实施例,而不是全部的实施例。基于本实用新型中的实施例,本领域普通技术人员在没有作出创造性劳动前提下所获得的所有其它实施例,都属于本实用新型保护的范围。The technical solutions in the embodiments of the present utility model will be clearly and completely described below with reference to the accompanying drawings in the embodiments of the present utility model. Obviously, the described embodiments are only a part of the embodiments of the present utility model, rather than all the implementations. example. Based on the embodiments of the present invention, all other embodiments obtained by those of ordinary skill in the art without creative work fall within the protection scope of the present invention.
请参阅图1-3,本实用新型提供一种技术方案:一种临床骨科手术用的固定装置,包括手术台1、固定机构2和调整机构3,固定机构2 包括底板201、定位杆202、连接球203、滑杆204、固定座205、第一螺杆206、第二螺杆207、连接杆208、支撑杆209、固定板210和支撑板211,底板201固定连接在手术台1的顶部,底板201的左侧开设有通孔4,定位杆202固定连接在底板201内腔靠近通孔4的一侧,滑杆204铰接在定位杆202的顶部,且通过通孔4延伸至底板201的外侧,连接球203固定连接在滑杆204远离定位杆202的一端,固定座 205滑动连接在滑杆204上,且活动设置在手术台1的顶部,第一螺杆 206转动连接在固定座205内腔的下方,第二螺杆207转动连接在第一螺杆206的上方,且与第一螺杆206螺纹连接,支撑杆209的一端固定连接在第二螺杆207的外侧,连接杆208固定连接在支撑杆209的另一端,固定座205的顶部设有固定槽5,固定槽5底部的两侧设有通槽6,固定板210固定连接在连接杆208的一端,支撑板211通过支杆固定连接在固定槽5内腔的底部。1-3, the present invention provides a technical solution: a fixation device for clinical orthopaedic surgery, comprising an operating table 1, a fixation mechanism 2 and an adjustment mechanism 3, the fixation mechanism 2 includes a
其中,调整机构3包括伺服电机301、隔板302、丝杆303、滑块304、活动杆305和枕形块306,隔板302固定连接在底板201内腔的中间位置,伺服电机301固定连接在底板201内腔的右侧,丝杆303 的一端安装在伺服电机301的输出端,另一端转动连接在隔板302上,滑块304螺纹连接在丝杆303上,底板201的顶部设有凹槽7,活动杆 305固定连接在滑块304的顶部,且顶端通过凹槽7延伸至底板201 的上方,枕形块306固定连接在活动杆305的顶端。The adjustment mechanism 3 includes a
其中,第二螺杆207、支撑杆209、连接杆208和固定板210均设有两组,对称设置在支撑板211的两侧,两组螺杆的螺纹方向相反,从而使得两侧的连接杆转动方向相反,从而带动固定板210实现夹紧功能。There are two sets of the
其中,固定座205的高度高于底板201的高度,底板201顶部远离凹槽7的一侧还粘接有坐垫8,使得患者腿部进行固定时,更加舒适。The height of the
其中,第一螺杆206靠近固定座205外侧的一端安装有旋盘9,固定座205的外侧还安装有拉手10,设置的拉手10便于移动固定座205,实现调整功能。One end of the
本实施例的一个具体应用为:本装置通过外接电源给伺服电机301 提供电能,并通过控制开关控制它的开闭;A specific application of this embodiment is as follows: the device provides electrical energy to the
使用时,根据患者的身形,通过打开伺服电机301,使得丝杆303 转动,调节滑块304,从而调节枕形块306的位置,使得患者躺在坐垫 8上时,头部枕在枕形块306上,再通过把手10拉动固定座205,调节固定座205在滑杆204上的合适位置,并将患者的腿部放在固定座205的固定槽5内,支撑板211位于腿部的下方,然后,通过手动转动旋盘9,使得第一螺杆206转动,带动第二螺杆207转动,且固定座 205内两侧的第二螺杆207螺纹相反,即转动时方向相反,从而带动两侧支撑杆209和连接杆208相向或背向移动,并通过固定板210将患者腿部夹紧固定,即可进行后续手术步骤,且在手术过程中,可通过把手移动固定座205,便于医生手术操作,且不影响固定效果。During use, according to the body shape of the patient, by turning on the
在本说明书的描述中,参考术语“一个实施例”、“示例”、“具体示例”等的描述意指结合该实施例或示例描述的具体特征、结构、材料或者特点包含于本实用新型的至少一个实施例或示例中。在本说明书中,对上述术语的示意性表述不一定指的是相同的实施例或示例。而且,描述的具体特征、结构、材料或者特点可以在任何的一个或多个实施例或示例中以合适的方式结合。In the description of this specification, description with reference to the terms "one embodiment", "example", "specific example", etc. means that a specific feature, structure, material or characteristic described in connection with the embodiment or example is included in the present invention. in at least one embodiment or example. In this specification, schematic representations of the above terms do not necessarily refer to the same embodiment or example. Furthermore, the particular features, structures, materials or characteristics described may be combined in any suitable manner in any one or more embodiments or examples.
以上公开的本实用新型优选实施例只是用于帮助阐述本实用新型。优选实施例并没有详尽叙述所有的细节,也不限制该实用新型仅为所述的具体实施方式。显然,根据本说明书的内容,可作很多的修改和变化。本说明书选取并具体描述这些实施例,是为了更好地解释本实用新型的原理和实际应用,从而使所属技术领域技术人员能很好地理解和利用本实用新型。本实用新型仅受权利要求书及其全部范围和等效物的限制。The preferred embodiments of the present invention disclosed above are only used to help illustrate the present invention. The preferred embodiments do not describe all the details, nor do they limit the invention to only the described embodiments. Obviously, many modifications and variations are possible in light of the contents of this specification. This specification selects and specifically describes these embodiments in order to better explain the principle and practical application of the present invention, so that those skilled in the art can well understand and utilize the present invention. The present invention is limited only by the claims and their full scope and equivalents.
Claims (5)
Priority Applications (1)
| Application Number | Priority Date | Filing Date | Title |
|---|---|---|---|
| CN201922480161.6U CN211535397U (en) | 2019-12-31 | 2019-12-31 | A fixation device for clinical orthopedic surgery |
Applications Claiming Priority (1)
| Application Number | Priority Date | Filing Date | Title |
|---|---|---|---|
| CN201922480161.6U CN211535397U (en) | 2019-12-31 | 2019-12-31 | A fixation device for clinical orthopedic surgery |
Publications (1)
| Publication Number | Publication Date |
|---|---|
| CN211535397U true CN211535397U (en) | 2020-09-22 |
Family
ID=72512765
Family Applications (1)
| Application Number | Title | Priority Date | Filing Date |
|---|---|---|---|
| CN201922480161.6U Expired - Fee Related CN211535397U (en) | 2019-12-31 | 2019-12-31 | A fixation device for clinical orthopedic surgery |
Country Status (1)
| Country | Link |
|---|---|
| CN (1) | CN211535397U (en) |
-
2019
- 2019-12-31 CN CN201922480161.6U patent/CN211535397U/en not_active Expired - Fee Related
Similar Documents
| Publication | Publication Date | Title |
|---|---|---|
| CN107348996A (en) | A kind of scalpel of blade easy to disassemble | |
| CN108652811B (en) | Orthopedics support that resets | |
| CN211535397U (en) | A fixation device for clinical orthopedic surgery | |
| CN211484817U (en) | Thoracic-heart surgery drainage puncture positioning device | |
| CN211355569U (en) | An examination bed for easy adjustment of patient's body position for cardiac ultrasound examination | |
| CN210532155U (en) | Multi-angle shadowless lamp for ophthalmologic clinical diagnosis and treatment | |
| CN222055838U (en) | Adjustable ophthalmic surgery head position fixer | |
| CN217489156U (en) | A kind of auxiliary mechanical support for medical orthopedic surgery | |
| CN217611448U (en) | Orthopedics arthroscopic surgery auxiliary device | |
| CN214434559U (en) | A brain surgery support frame | |
| CN213758824U (en) | An orthopaedic clinical fixation device with drug therapy function | |
| CN115596952A (en) | External shock wave therapeutic instrument aircraft nose fixing device | |
| CN219109579U (en) | Incision traction device for orthopedic surgery | |
| CN213821949U (en) | Adjustable medical external fixation splint | |
| CN221286214U (en) | Head fixing device for ophthalmic surgery | |
| CN222398518U (en) | Retractor for general surgery department clinic | |
| CN215079753U (en) | Anesthesia appliance placement box for anesthesiology | |
| CN221470274U (en) | Head auxiliary support device | |
| CN221830739U (en) | A multifunctional thyroid puncture device | |
| CN211584042U (en) | an operating bed | |
| CN219090020U (en) | Rheumatism patient nursing device | |
| CN213606824U (en) | Femoral neck anteversion angle device | |
| CN207804795U (en) | Cancer of pancreas radiotherapeutic positioning device | |
| CN221083663U (en) | Posture auxiliary device | |
| CN214129266U (en) | A portable orthopedic nursing support |
Legal Events
| Date | Code | Title | Description |
|---|---|---|---|
| GR01 | Patent grant | ||
| GR01 | Patent grant | ||
| CB03 | Change of inventor or designer information | ||
| CB03 | Change of inventor or designer information |
Inventor after: Li Bo Inventor after: Wu Dan Inventor after: Ma Shengqian Inventor before: Ma Shengqian |
|
| TR01 | Transfer of patent right | ||
| TR01 | Transfer of patent right |
Effective date of registration: 20240820 Address after: Room 301, No. 3, Lane 2778, Pudong Avenue, Pudong New Area, Shanghai, 200120 Patentee after: Li Bo Country or region after: China Address before: 274700 Yuncheng County Traditional Chinese Medicine Hospital, North Section of Ximen Street, Yuncheng County, Heze City, Shandong Province Patentee before: Ma Shengqian Country or region before: China |
|
| CF01 | Termination of patent right due to non-payment of annual fee | ||
| CF01 | Termination of patent right due to non-payment of annual fee |
Granted publication date: 20200922 |
