CN211523382U - Toilet descending plate type same-floor drainage structure - Google Patents
Toilet descending plate type same-floor drainage structure Download PDFInfo
- Publication number
- CN211523382U CN211523382U CN201921969797.0U CN201921969797U CN211523382U CN 211523382 U CN211523382 U CN 211523382U CN 201921969797 U CN201921969797 U CN 201921969797U CN 211523382 U CN211523382 U CN 211523382U
- Authority
- CN
- China
- Prior art keywords
- drainage
- toilet
- pipe
- descending plate
- drain
- Prior art date
- Legal status (The legal status is an assumption and is not a legal conclusion. Google has not performed a legal analysis and makes no representation as to the accuracy of the status listed.)
- Expired - Fee Related
Links
- XLYOFNOQVPJJNP-UHFFFAOYSA-N water Substances O XLYOFNOQVPJJNP-UHFFFAOYSA-N 0.000 claims abstract description 97
- 239000011083 cement mortar Substances 0.000 claims abstract description 42
- 239000002781 deodorant agent Substances 0.000 claims abstract description 15
- 238000003287 bathing Methods 0.000 claims abstract description 10
- 238000005538 encapsulation Methods 0.000 claims description 7
- 239000000463 material Substances 0.000 claims description 5
- 238000004332 deodorization Methods 0.000 claims description 3
- 239000010410 layer Substances 0.000 description 33
- 238000012423 maintenance Methods 0.000 description 4
- 238000000034 method Methods 0.000 description 4
- 238000004891 communication Methods 0.000 description 3
- 238000010276 construction Methods 0.000 description 3
- 108010085603 SFLLRNPND Proteins 0.000 description 2
- 239000011449 brick Substances 0.000 description 2
- 238000010586 diagram Methods 0.000 description 2
- 238000009434 installation Methods 0.000 description 2
- 239000003562 lightweight material Substances 0.000 description 2
- 239000004570 mortar (masonry) Substances 0.000 description 2
- 229910000831 Steel Inorganic materials 0.000 description 1
- 238000009825 accumulation Methods 0.000 description 1
- XAGFODPZIPBFFR-UHFFFAOYSA-N aluminium Chemical compound [Al] XAGFODPZIPBFFR-UHFFFAOYSA-N 0.000 description 1
- 229910052782 aluminium Inorganic materials 0.000 description 1
- 230000009286 beneficial effect Effects 0.000 description 1
- 230000001680 brushing effect Effects 0.000 description 1
- 239000004568 cement Substances 0.000 description 1
- 239000000919 ceramic Substances 0.000 description 1
- 239000005022 packaging material Substances 0.000 description 1
- 239000011241 protective layer Substances 0.000 description 1
- 239000010959 steel Substances 0.000 description 1
Images
Landscapes
- Sink And Installation For Waste Water (AREA)
Abstract
本实用新型涉及建筑排水技术领域,公开了一种卫生间降板式同层排水结构,包括卫生间降板和管井降板;管井降板上设有排水立管,排水立管穿过管井降板与下层排水立管连接;卫生间降板上铺设有第一排水管和第二排水管,第一排水管设有第一水泥砂浆层,第二排水管外设有位于第一水泥砂浆层的上方的第二水泥砂浆层,第一排水管的进水端与洗浴器具的出水口连通,第一排水管的排水端伸至管井降板,且其末端设有防臭存水器,防臭存水器设有第一进水口和排水口,第一排水管与第一进水口连通,排水口与排水立管连通;第二排水管的进水端与后排式马桶的出水口连通,第二排水管与排水立管连接。采用本实用新型具有室内净高高、舒适度好和成本低的优点。
The utility model relates to the technical field of building drainage, and discloses a toilet descending plate type same-layer drainage structure, which comprises a toilet descending plate and a pipe well descending plate; the pipe well descending plate is provided with a drainage riser, and the drainage riser passes through the pipe well descending plate and is connected with the lower drainage riser A first drainage pipe and a second drainage pipe are laid on the descending plate of the toilet, the first drainage pipe is provided with a first cement mortar layer, and the second drainage pipe is provided with a second cement mortar layer located above the first cement mortar layer, The water inlet end of the first drainage pipe is communicated with the water outlet of the bathing utensil, the drainage end of the first drainage pipe extends to the down plate of the tube well, and the end of the first drainage pipe is provided with a deodorant water storage device, and the deodorized water storage device is provided with a first water inlet and a drainage The first drain pipe is connected with the first water inlet, and the drain port is connected with the drain riser; the water inlet end of the second drain pipe is connected with the water outlet of the rear-row toilet, and the second drain pipe is connected with the drain riser. The utility model has the advantages of high indoor clear height, good comfort and low cost.
Description
技术领域technical field
本实用新型涉及建筑排水技术领域,特别是涉及一种卫生间降板式同层排水结构。The utility model relates to the technical field of building drainage, in particular to a toilet descending plate type same-layer drainage structure.
背景技术Background technique
目前卫生间的降板区的通常做法是在底部设置沉箱,即在建造卫生间时将结构层整体下沉距离楼面一定高度,下沉高度一般为350mm~400mm,以便于将卫生间的排水横管埋入其中,然后做架空板或用轻质材料进行回填,其中采用架空板回填沉箱的卫生间做法需先刷防水层,再铺设防水层保护层并找坡至二次排水口,布置好排水管后,在砌筑砖支撑柱,然后盖上水泥预制板材,最后施工防水砂浆铺贴地砖,这种做法的沉箱卫生间的降板的高度高,预制盖板钢筋用量多,且砖砌的使用量多,工序多,施工复杂,造价高;其中,出现漏水现象时,需要砸开全部地面才能进行检修,后续维修成本高;而采用轻质材料回填沉箱卫生间做法需先刷防水层,布置好排水管后,用水泥砂浆在沉箱底部找坡,最低处为二次排水口,然后回填轻质材料,最后施工防水砂浆铺贴地砖,这种做法的沉箱卫生间的降板的高度高,回填量多,建筑物的自重大,且施工工序多,施工复杂,造价较高;其中,出现漏水现象时,需要砸开全部地面才能进行检修,后续维修成本高。At present, the common practice of the descending plate area of the toilet is to set a caisson at the bottom, that is, when the toilet is built, the entire structure layer is sunk to a certain height from the floor, and the sinking height is generally 350mm to 400mm, so as to bury the horizontal drainage pipe of the toilet. Among them, make an overhead board or backfill with lightweight materials. The toilet method of backfilling a caisson with an overhead board needs to first brush the waterproof layer, then lay the waterproof layer protective layer and find a slope to the secondary drainage outlet. After arranging the drainage pipe, The brick support column is built, then the cement prefabricated board is covered, and finally the waterproof mortar is applied to lay the floor tiles. In this way, the height of the descending board of the caisson bathroom is high, the amount of steel bars for the prefabricated cover board is large, and the use of bricks is large. The process The construction is complicated and the cost is high; among them, when water leakage occurs, all the ground needs to be broken open for maintenance, and the follow-up maintenance cost is high; and the use of lightweight materials to backfill the caisson bathroom requires first brushing the waterproof layer, and after arranging the drainage pipes, Use cement mortar to find a slope at the bottom of the caisson, and the lowest point is the secondary drainage outlet, then backfill with light materials, and finally construct waterproof mortar and lay the floor tiles. In this way, the height of the descending plate of the caisson bathroom is high, the amount of backfill is large, and the building's It is self-heavy, and has many construction procedures, complex construction and high cost. Among them, when water leakage occurs, it is necessary to smash all the ground to carry out maintenance, and the follow-up maintenance cost is high.
实用新型内容Utility model content
本实用新型要解决的技术问题是:提供一种卫生间的室内净高高、舒适度好和成本低的卫生间降板式同层排水结构。The technical problem to be solved by the utility model is to provide a toilet descending plate type same-layer drainage structure with high indoor clear height, good comfort and low cost.
为了解决上述技术问题,本实用新型提供了一种卫生间降板式同层排水结构,包括卫生间降板和管井降板,所述卫生间降板低于同层的结构楼板100mm~150mm,所述管井降板低于同层的所述卫生间降板280mm~330mm,所述卫生间降板和所述管井降板上均设有防水层;In order to solve the above technical problems, the utility model provides a toilet descending plate type same-floor drainage structure, which includes a toilet descending plate and a tube well descending plate, the toilet descending plate is 100mm to 150 mm lower than the structural floor of the same layer, and the pipe well descending plate is lower than the same floor. The toilet descending plate on the first floor is 280mm-330 mm, and both the toilet descending plate and the tube well descending plate are provided with a waterproof layer;
所述管井降板上设有排水立管,所述排水立管穿过所述管井降板与下层的排水立管连接;The pipe well descender is provided with a drainage riser, and the drainage riser passes through the pipe well descender and is connected to the drainage riser on the lower layer;
所述卫生间降板上铺设有与洗浴器具连接第一排水管和与后排式马桶连接的第二排水管,所述第一排水管位于所述卫生间降板上的部分外包覆有水泥砂浆形成第一水泥砂浆层,所述第二排水管外包覆有水泥砂浆形成第二水泥砂浆层,且所述第二水泥砂浆层位于所述第一水泥砂浆层的上方,所述第一排水管的进水端与所述洗浴器具的出水口连通,所述第一排水管的排水端伸至所述管井降板,且其末端设有防臭存水器,所述防臭存水器设有第一进水口和排水口,所述第一排水管的排水端与所述第一进水口连通,所述排水口与所述排水立管连通;所述第二排水管的排水端与所述排水立管连接,且所述第二排水管的进水端高于所述第二排水管的出水端。The toilet descending plate is laid with a first drainage pipe connected to the bathing utensils and a second drainage pipe connected to the rear-row toilet, and the part of the first drainage pipe located on the toilet descending plate is covered with cement mortar to form a second drainage pipe. A cement mortar layer, the second drainage pipe is covered with cement mortar to form a second cement mortar layer, and the second cement mortar layer is located above the first cement mortar layer, and the first drainage pipe is The water inlet end is communicated with the water outlet of the bathing utensil, and the drainage end of the first drainage pipe extends to the lowering plate of the tube well, and the end of the water inlet is provided with a deodorant water storage device, and the deodorization water storage device is provided with a first inlet and outlet. A water outlet and a water outlet, the drain end of the first drain pipe is communicated with the first water inlet, the water outlet is communicated with the drain riser; the drain end of the second drain pipe is connected with the drain riser connected, and the water inlet end of the second drain pipe is higher than the water outlet end of the second drain pipe.
作为本实用新型优选的方案,所述卫生间降板上设有第一地漏,所述防臭存水器设有第二进水口,所述第二进水口与所述第一地漏的出水口连接。As a preferred solution of the present invention, the toilet descending plate is provided with a first floor drain, the deodorant water storage device is provided with a second water inlet, and the second water inlet is connected with the water outlet of the first floor drain.
作为本实用新型优选的方案,所述洗浴器具包括洗手盆,所述洗手盆的出水口处连接有冼脸盆排水管,所述冼脸盆排水管与所述第一排水管可拆卸连接。As a preferred solution of the present invention, the bathing utensil includes a wash basin, and a wash basin drain pipe is connected to the water outlet of the wash basin, and the wash basin drain pipe is detachably connected to the first drain pipe.
作为本实用新型优选的方案,所述卫生间降板和所述管井降板之间通过墙板隔开,所述墙板靠近所述卫生间降板处设有可供排水管穿过的通孔。As a preferred solution of the present invention, the toilet descending plate and the tube well descending plate are separated by a wall plate, and the wall plate is provided with a through hole for the drainage pipe to pass through near the toilet descending plate.
作为本实用新型优选的方案,所述防臭存水器通过第三排水管与所述排水立管连接,所述第三排水管外包覆有水泥砂浆形成第三水泥砂浆层。As a preferred solution of the present invention, the deodorant water storage device is connected to the drainage riser through a third drainage pipe, and the third drainage pipe is covered with cement mortar to form a third cement mortar layer.
作为本实用新型优选的方案,所述第三水泥砂浆层上设有第二地漏,所述第二地漏的出水口与所述第三排水管连通。As a preferred solution of the present invention, the third cement mortar layer is provided with a second floor drain, and the water outlet of the second floor drain is communicated with the third drainage pipe.
作为本实用新型优选的方案,所述第三水泥砂浆层的坡度为0.9%~1.1%。As a preferred solution of the present invention, the gradient of the third cement mortar layer is 0.9% to 1.1%.
作为本实用新型优选的方案,所述第二水泥砂浆层外覆有封包材料进行封包。As a preferred solution of the present invention, the second cement mortar layer is covered with an encapsulation material for encapsulation.
作为本实用新型优选的方案,所述墙板包括第一墙板和第二墙板,所述后排式马桶与所述第二墙板相互平行摆放。As a preferred solution of the present invention, the wall panel includes a first wall panel and a second wall panel, and the rear-row toilet and the second wall panel are placed in parallel with each other.
作为本实用新型优选的方案,所述墙板包括第一墙板和第二墙板,所述后排式马桶与所述第二墙板之间的夹角的角度为45°~60°。As a preferred solution of the present invention, the wall panel includes a first wall panel and a second wall panel, and the included angle between the rear-row toilet and the second wall panel is 45° to 60°.
本实用新型实施例一种卫生间降板式同层排水结构与现有技术相比,其有益效果在于:Compared with the prior art, a toilet descending plate type same-layer drainage structure according to the embodiment of the present utility model has the following beneficial effects:
本实用新型将管道集中设置在管井降板内,减少了管道在卫生间内的铺设量,减少了卫生间内渗漏现象的发生,保持卫生间降板的干燥,以免用户滑倒,且卫生间降板低于同层的结构楼板100mm~150mm,管井降板低于同层的卫生间降板280mm~330mm,卫生间降板与结构楼板之间和管井降板与卫生间降板之间的高度差,能使第一排水管和第二排水管有足够的空间安装,还能使排水横管的进水端比出水端高,以及第二排水管的进水端比出水端高,保证了排水横管内的水和第二排水管内的水能从进水端流至出水端并从排水立管排出,提高了管道排水的流畅度,大大地减少了水泥砂浆的使用量,成本低,减少建筑物的自重,同时,卫生间降板的下沉高度比现有的卫生间降板的下沉高度低,增加了卫生间的室内净高,提高了居住空间,提高了居住空间的舒适度;此外,防臭存水弯头的设置,能防止管道内的臭气溢出,成本低。The utility model centrally arranges the pipelines in the lowering plate of the tube well, reduces the laying amount of the pipelines in the toilet, reduces the occurrence of leakage in the toilet, keeps the lowering plate of the toilet dry to prevent users from slipping, and the lowering plate of the toilet is lower than the same floor The structural floor is 100mm~150mm, the tube well descender is 280mm~330mm lower than the toilet descender on the same floor, and the height difference between the toilet descender and the structural floor and between the tube well descender and the toilet descender can make the first drain pipe and the second drain pipe. There is enough space for installation, and the water inlet end of the horizontal drainage pipe can be higher than the water outlet end, and the water inlet end of the second drainage pipe can be higher than the water outlet end, so as to ensure the water in the horizontal drainage pipe and the water in the second drainage pipe. It flows from the water inlet end to the water outlet end and is discharged from the drainage riser, which improves the smoothness of pipeline drainage, greatly reduces the use of cement mortar, reduces the cost, and reduces the weight of the building. At the same time, the sinking height of the toilet descending board Compared with the existing toilet descending plate, the sinking height is lower, which increases the indoor net height of the toilet, improves the living space, and improves the comfort of the living space; in addition, the setting of the odor-proof water elbow can prevent the odor in the pipeline Overflow, low cost.
附图说明Description of drawings
图1是本实用新型实施例提供的一种卫生间降板式同层排水结构的俯视图;Fig. 1 is a top view of a toilet descending plate type same-floor drainage structure provided by an embodiment of the present invention;
图2是本实用新型实施例提供的一种卫生间降板式同层排水结构的结构示意图;2 is a schematic structural diagram of a toilet descending plate type same-floor drainage structure provided by an embodiment of the present invention;
图3是本实用新型实施例提供的一种卫生间降板式同层排水结构的剖面示意图;3 is a schematic cross-sectional view of a toilet descending plate type same-level drainage structure provided by an embodiment of the present invention;
图4是本实用新型实施例提供的另一种卫生间降板式同层排水结构的俯视图;4 is a top view of another toilet descending plate type same-layer drainage structure provided by an embodiment of the present invention;
图5是本实用新型实施例提供的另一种卫生间降板式同层排水结构的结构示意图;5 is a schematic structural diagram of another toilet descending plate type same-floor drainage structure provided by an embodiment of the present invention;
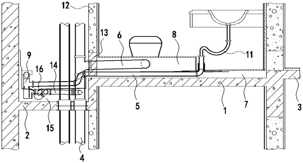
图中,1、卫生间降板;2、管井降板;3、结构楼板;4、排水立管;5、第一排水管;6、第二排水管;7、第一水泥砂浆层;8、第二水泥砂浆层;9、防臭存水器;10、第一地漏;11、冼脸盆排水管;12、墙板;13、通孔;14、第三排水管;15、第三水泥砂浆层;16、第二地漏;17、第二墙板。In the figure, 1, toilet descending plate; 2, tube well descending plate; 3, structural floor; 4, drainage riser; 5, first drainage pipe; 6, second drainage pipe; 7, first cement mortar layer; 8, second Cement mortar layer; 9. Deodorant water trap; 10. First floor drain; 11. Xian washbasin drainage pipe; 12. Wall board; 13. Through hole; 14. Third drainage pipe; 15. Third cement mortar layer; 16. The second floor drain; 17. The second wall panel.
具体实施方式Detailed ways
下面结合附图和实施例,对本实用新型的具体实施方式作进一步详细描述。以下实施例用于说明本实用新型,但不用来限制本实用新型的范围。The specific embodiments of the present utility model will be described in further detail below with reference to the accompanying drawings and embodiments. The following examples are used to illustrate the present invention, but are not intended to limit the scope of the present invention.
在本实用新型的描述中,应当理解的是,本实用新型中采用术语“中心”、“纵向”、“横向”、“上”、“下”、“前”、“后”、“左”、“右”、“竖直”、“水平”、“顶”、“底”“内”、“外”等指示的方位或位置关系为基于附图所示的方位或位置关系,仅是为了便于描述本实用新型和简化描述,而不是指示或暗示所指的装置或元件必须具有特定的方位、以特定的方位构造和操作,因此不能理解为对本实用新型的限制。此外,术语“第一”、“第二”、“第三”仅用于描述目的,而不能理解为指示或暗示相对重要性。In the description of the present invention, it should be understood that the terms "center", "longitudinal", "horizontal", "top", "bottom", "front", "rear" and "left" are used in the present invention , "right", "vertical", "horizontal", "top", "bottom", "inside", "outside" and other indicated orientations or positional relationships are based on the orientations or positional relationships shown in the accompanying drawings, only for the purpose of It is for the convenience of describing the present invention and simplifying the description, rather than indicating or implying that the referred device or element must have a specific orientation, be constructed and operate in a specific orientation, and therefore should not be construed as a limitation of the present invention. Furthermore, the terms "first", "second", and "third" are used for descriptive purposes only and should not be construed to indicate or imply relative importance.
如图1至图5所示,本实用新型实施例优选实施例的一种卫生间降板1式同层排水结构的优选实施例,其包括卫生间降板1和管井降板2,所述卫生间降板1低于同层的结构楼板3,且高度差为100mm~150mm,所述管井降板2低于同层的所述卫生间降板1,且高度差为280mm~330mm,所述卫生间降板1和所述管井降板2上均设有防水层;所述管井降板2上设有排水立管4,所述排水立管4穿过所述管井降板2与下层的排水立管4连接;所述卫生间降板1上铺设有与洗浴器具连接第一排水管5和与后排式马桶连接的第二排水管6,所述第一排水管5位于所述卫生间降板1上的部分外包覆有水泥砂浆形成第一水泥砂浆层7,所述第二排水管6外包覆有水泥砂浆形成第二水泥砂浆层8,且所述第二水泥砂浆层8位于所述第一水泥砂浆层7的上方,所述第一排水管5的进水端与所述洗浴器具的出水口连通,所述第一排水管5的排水端伸至所述管井降板2,且其末端设有防臭存水器9,所述防臭存水器9设有第一进水口和排水口,所述第一排水管5的排水端与所述第一进水口连通,所述排水口与所述排水立管4连通;所述第二排水管6的排水端与所述排水立管4连接,且所述第二排水管6的进水端高于所述第二排水管6的出水端。As shown in FIGS. 1 to 5 , a preferred embodiment of a toilet descending plate 1 type same-level drainage structure according to the preferred embodiment of the present invention includes a toilet descending plate 1 and a tube well descending plate 2 , and the toilet descending plate 1 is lower than Structural floor 3 on the same floor, and the height difference is 100mm-150mm, the tube well descender 2 is lower than the toilet descender 1 on the same floor, and the height difference is 280mm-330mm, the toilet descender 1 and the tube well descender 2 A waterproof layer is provided on the top; a drainage standpipe 4 is arranged on the tube well descender 2, and the drainage standpipe 4 passes through the pipe well descender 2 and is connected with the drainage standpipe 4 of the lower layer; the toilet descender 1 is laid with The
由此,本实用新型将管道集中设置在管井降板2内,减少了管道在卫生间内的铺设量,减少了卫生间内渗漏现象的发生,保持卫生间降板1的干燥,以免用户滑倒,且卫生间降板1低于同层的结构楼板3100mm~150mm,管井降板2低于同层的卫生间降板1280mm~330mm,卫生间降板1与结构楼板3之间和管井降板2与卫生间降板1之间的高度差,能使第一排水管5和第二排水管6有足够的空间安装,还能使排水横管的进水端比出水端高,以及第二排水管6的进水端比出水端高,保证了排水横管内的水和第二排水管6内的水能从进水端流至出水端并从排水立管4排出,提高了管道排水的流畅度,大大地减少了水泥砂浆的使用量,成本低,减少建筑物的自重,同时,卫生间降板1的下沉高度比现有的卫生间降板1的下沉高度低,增加了卫生间的室内净高,提高了居住空间,提高了居住空间的舒适度;此外,防臭存水弯头的设置,能防止管道内的臭气溢出,成本低;而防水层的设置能有效地防止室内用水或其他用水渗入墙板或降板。Therefore, the utility model centrally arranges the pipelines in the tube well descending plate 2, reduces the laying amount of the pipeline in the toilet, reduces the occurrence of leakage in the toilet, keeps the toilet descending plate 1 dry to prevent users from slipping, and the toilet The lowering plate 1 is 3100mm to 150mm lower than the structural floor on the same floor, and the tube well lowering plate 2 is 1280mm to 330mm lower than the toilet lowering plate on the same floor. It can make the
示例性的,所述卫生间降板1上设有第一地漏10,具体的,第一地漏10设置在卫生间降板1对应卫生间的淋浴间的位置,所述防臭存水器9设有第二进水口,所述第二进水口与所述第一地漏10的出水口连接;由此,淋浴间内的水能通过第一地漏10经过防臭存水器9流至排水立管4内并排出,使得淋浴间内不会产生积水,保持干燥;此外,防臭存水器9。Exemplarily, the toilet descender 1 is provided with a
示例性的,所述洗浴器具包括洗手盆,所述洗手盆的出水口处连接有冼脸盆排水管11,所述冼脸盆排水管11与所述第一排水管5可拆卸连接,由此,冼脸盆内的水能通过冼脸盆排水管11依次经过连接立管、第一排水管5流至排水立管4并排出,能根据实际使用需求将不同的卫生器具的排水管放置在连接立管内进行排水,使用方便灵活。Exemplarily, the bathing utensil includes a wash basin, and a wash
示例性的,所述卫生间降板1和所述管井降板2之间通过墙板12隔开,所述墙板12靠近所述卫生间降板1处设有可供排水管穿过的通孔13,由此,将卫生间降板1和所述管井降板2分隔开来,使得卫生间降板1和管井降板2各自形成独立的空间,在使用卫生间内的器具时不会将水飞溅到管道上,同时,用户不容易磕碰到管道,进一步防止管道内的臭气溢出,且这样的设计也增加了卫生间的美观性。Exemplarily, the toilet descending plate 1 and the tube well descending plate 2 are separated by a
示例性的,所述防臭存水器9通过第三排水管14与所述排水立管4连接,所述第三排水管14外包覆有水泥砂浆形成第三水泥砂浆层15,所述第三水泥砂浆层15上设有第二地漏16,所述第二地漏16的出水口与所述第三排水管14连通,由此,从通孔13渗到管井处的水能通过第二地漏16经过防臭存水器9流至排水立管4内并排出,即使使得管井内不会产生积水,保持干燥,同时,使防臭存水器9能同时接纳管井地面的积水和洗浴器具(如洗脸盆等)的排放水;且所述第三水泥砂浆层15的坡度为0.9%~1.1%,能加快管井内的水流到第二地漏16的速度,减少管井内的存水。Exemplarily, the deodorant
示例性的,所述第二水泥砂浆层8外覆有封包材料进行封包,所述封包材料为瓷砖、铝板或铝塑板,进一步减少渗水现象,外型美观。Exemplarily, the second
示例性的,如图1和图2所示,所述墙板12包括第一墙板和第二墙板17,所述后排式马桶与所述第二墙板17相互平行摆放,使卫生间看起来规整。Exemplarily, as shown in FIG. 1 and FIG. 2 , the
示例性的,如图3和图4所示,所述墙板12包括第一墙板和第二墙板17,所述后排式马桶与所述第二墙板17之间的夹角的角度为45°~60°,使后排式马桶的出水口靠近第二墙板17,减少往管井内渗水,减少第二排水管6的铺设长度,减少封包材料使用量,降低成本。Exemplarily, as shown in FIG. 3 and FIG. 4 , the
在本实用新型的描述中,应当理解的是,除非另有明确的规定和限定,本实用新型中采用术语“安装”、“相连”、“连接”应做广义理解,例如,可以是固定连接,也可以是可拆卸连接,或一体地连接;可以是机械连接,也可以是电连接;可以是直接相连,也可以通过中间媒介间接相连,可以是两个元件内部的连通。对于本领域的普通技术人员而言,可以具体情况理解上述术语在本实用新型中的具体含义。In the description of the present invention, it should be understood that, unless otherwise expressly specified and limited, the terms "installed", "connected" and "connected" in the present invention should be understood in a broad sense, for example, it may be a fixed connection It can also be a detachable connection or an integral connection; it can be a mechanical connection or an electrical connection; it can be a direct connection, or an indirect connection through an intermediate medium, or the internal communication between the two components. For those of ordinary skill in the art, the specific meanings of the above terms in the present invention can be understood in specific situations.
以上所述仅是本实用新型的优选实施方式,应当指出,对于本技术领域的普通技术人员来说,在不脱离本实用新型技术原理的前提下,还可以做出若干改进和替换,这些改进和替换也应视为本实用新型的保护范围。The above are only the preferred embodiments of the present invention. It should be pointed out that for those skilled in the art, without departing from the technical principles of the present invention, several improvements and replacements can be made. These improvements And replacement should also be regarded as the protection scope of the present invention.
Claims (10)
Priority Applications (1)
| Application Number | Priority Date | Filing Date | Title |
|---|---|---|---|
| CN201921969797.0U CN211523382U (en) | 2019-11-14 | 2019-11-14 | Toilet descending plate type same-floor drainage structure |
Applications Claiming Priority (1)
| Application Number | Priority Date | Filing Date | Title |
|---|---|---|---|
| CN201921969797.0U CN211523382U (en) | 2019-11-14 | 2019-11-14 | Toilet descending plate type same-floor drainage structure |
Publications (1)
| Publication Number | Publication Date |
|---|---|
| CN211523382U true CN211523382U (en) | 2020-09-18 |
Family
ID=72463046
Family Applications (1)
| Application Number | Title | Priority Date | Filing Date |
|---|---|---|---|
| CN201921969797.0U Expired - Fee Related CN211523382U (en) | 2019-11-14 | 2019-11-14 | Toilet descending plate type same-floor drainage structure |
Country Status (1)
| Country | Link |
|---|---|
| CN (1) | CN211523382U (en) |
Cited By (1)
| Publication number | Priority date | Publication date | Assignee | Title |
|---|---|---|---|---|
| CN114856191A (en) * | 2022-04-24 | 2022-08-05 | 广东腾越建筑工程有限公司 | Construction method of same-layer drainage toilet structure of micro-drop plate |
-
2019
- 2019-11-14 CN CN201921969797.0U patent/CN211523382U/en not_active Expired - Fee Related
Cited By (1)
| Publication number | Priority date | Publication date | Assignee | Title |
|---|---|---|---|---|
| CN114856191A (en) * | 2022-04-24 | 2022-08-05 | 广东腾越建筑工程有限公司 | Construction method of same-layer drainage toilet structure of micro-drop plate |
Similar Documents
| Publication | Publication Date | Title |
|---|---|---|
| CN205062922U (en) | Installation is with layer drainage system's bathroom | |
| CN208501802U (en) | A kind of bathroom caisson internal drainage construction | |
| CN100497848C (en) | Kitchen-toilet modularized same floor water feeding and draining device | |
| CN100554604C (en) | Indoor single riser drainage system and installation method thereof | |
| CN107882124A (en) | Toilet | |
| CN211523382U (en) | Toilet descending plate type same-floor drainage structure | |
| CN204491758U (en) | A kind of drainage system of bathing room and bathing room | |
| CN207499071U (en) | toilet | |
| CN201588268U (en) | Multi-passage wastewater collector for interlayer floor drainage and lower floor drainage | |
| KR101313848B1 (en) | Drainage System on Floor of Flat Slab Type and Toilet Stool Sleeve Using the Same | |
| CN216616161U (en) | Concealed floor drain | |
| CN210395589U (en) | Caisson type bathroom drainage structures | |
| CN207499072U (en) | toilet | |
| CN214738557U (en) | Same-floor drainage system for micro-drop plate | |
| CN212053032U (en) | Drainage system capable of preventing water accumulation | |
| CN214740218U (en) | Integrated bathroom of ready-package assembled | |
| CN203821522U (en) | Caisson secondary water discharging system with air returning pipeline | |
| CN211447926U (en) | Lavatory with better waterproof and drainage effect | |
| CN211080429U (en) | Novel toilet water supply and drainage pipe packaging structure | |
| CN101881041A (en) | Floor drain sunk same-layer drainage construction method | |
| CN206530009U (en) | A kind of bathroom bottom plate | |
| CN208950030U (en) | A kind of precast floor slab toilet co-layer draining structure | |
| CN206530084U (en) | A kind of bathroom bottom plate | |
| CN207004112U (en) | A kind of assembled toilet suitable for timber structure | |
| CN214246027U (en) | Toilet drainage structure |
Legal Events
| Date | Code | Title | Description |
|---|---|---|---|
| GR01 | Patent grant | ||
| GR01 | Patent grant | ||
| CF01 | Termination of patent right due to non-payment of annual fee | ||
| CF01 | Termination of patent right due to non-payment of annual fee |
Granted publication date: 20200918 |
