CN211521289U - Automatic oil spraying device for steel wire rope of dry quenching hoister - Google Patents
Automatic oil spraying device for steel wire rope of dry quenching hoister Download PDFInfo
- Publication number
- CN211521289U CN211521289U CN201920873700.XU CN201920873700U CN211521289U CN 211521289 U CN211521289 U CN 211521289U CN 201920873700 U CN201920873700 U CN 201920873700U CN 211521289 U CN211521289 U CN 211521289U
- Authority
- CN
- China
- Prior art keywords
- oil
- wire rope
- steel wire
- main pipe
- pipe
- Prior art date
- Legal status (The legal status is an assumption and is not a legal conclusion. Google has not performed a legal analysis and makes no representation as to the accuracy of the status listed.)
- Expired - Fee Related
Links
Images
Landscapes
- Lift-Guide Devices, And Elevator Ropes And Cables (AREA)
Abstract
本实用新型公开了一种干熄焦提升机钢丝绳自动淋油装置,包括油箱、设于油箱内的油泵、控制器、弧形支架、输油管、喷油主管和喷油嘴;控制器线路连接于油泵,弧形支架的弧形端安装有喷油主管,输油管内置于弧形支架且输油管的一端连接于油箱的出油口,另一端延伸至喷油主管内,喷油主管下部开孔连接若干根喷油嘴;其控制器通过编码器设计的给油程序控制油泵作业,在设计时间段抽取油箱的润滑油,通过弧形支架内布置的输油管传送到喷油主管和喷油嘴,对盘绕在提升机滚筒上的钢丝绳进行喷油作业。本实用新型的干熄焦提升机钢丝绳自动淋油装置实现了提升机钢丝绳不间断供油,增强了钢丝绳的润滑效果,其结构简单、安装方便、控制程序安全可靠。
The utility model discloses an automatic oil-spraying device for a steel wire rope of a CDQ hoist, which comprises an oil tank, an oil pump arranged in the oil tank, a controller, an arc support, an oil delivery pipe, an oil injection main pipe and an oil injection nozzle; The oil pump, the arc end of the arc bracket is installed with the fuel injection main pipe, the oil transmission pipe is built in the arc bracket, and one end of the oil transmission pipe is connected to the oil outlet of the fuel tank, and the other end extends into the fuel injection main pipe. The lower part of the fuel injection main pipe is connected to several Root fuel injector; its controller controls the operation of the oil pump through the oil feeding program designed by the encoder, extracts the lubricating oil in the fuel tank during the design time period, and transmits it to the fuel injection main pipe and the fuel injection nozzle through the fuel pipe arranged in the arc bracket, and corrects the coiling. The wire rope on the hoist drum carries out the oil injection operation. The automatic oil spraying device of the CDQ hoist wire rope of the utility model realizes the uninterrupted oil supply of the hoist wire rope, enhances the lubricating effect of the wire rope, and has the advantages of simple structure, convenient installation and safe and reliable control program.
Description
技术领域technical field
本实用新型属于煤矿焦化行业领域,具体涉及一种干熄焦提升机钢丝绳自动淋油装置。The utility model belongs to the field of coal mine coking industry, in particular to an automatic oil-spraying device for a wire rope of a CDQ hoist.
背景技术Background technique
节能环保目前已是国家的整体战略目标,作为焦化行业中干熄焦技术已经是近年炼焦工段非常重要的一环。干熄焦提升系统作为干熄焦特种设备其安全和稳定性非常重要,其直接关系到煤矿正常生产、人员生命安全及经济运转,这之中提升钢丝绳的性能状态是提升系统安全的重要保障,由于长期使用,钢丝绳逐渐磨损,寿命大大缩短,不仅带来了很大的经济损失,更产生了很严重的安全隐患。因而为确保煤矿提升的安全,《煤矿安全规程》对提升机钢丝绳有详细的规定,使用中的钢丝绳必须涂油润滑,根据井巷条件及锈蚀情况每月至少涂油一次。目前普遍采用人工方式对提升机钢丝绳进行加油,人工加油效率低,且影响生产效率。Energy saving and environmental protection is currently the overall strategic goal of the country. As a coking industry, CDQ technology has become a very important part of the coking section in recent years. As a special CDQ equipment, the safety and stability of the CDQ hoisting system is very important, which is directly related to the normal production of coal mines, personnel safety and economic operation. Among them, improving the performance status of the wire rope is an important guarantee for improving the safety of the system. Due to long-term use, the steel wire rope is gradually worn out and its life is greatly shortened, which not only brings great economic losses, but also produces serious safety hazards. Therefore, in order to ensure the safety of coal mine hoisting, the "Coal Mine Safety Regulations" has detailed regulations on the wire rope of hoisting machine. At present, manual refueling of the hoist wire rope is generally used, and the manual refueling efficiency is low and affects the production efficiency.
实用新型内容Utility model content
针对现有干熄焦提升机钢丝绳润滑不均、润滑效果差的技术问题,本实用新型提供了一种干熄焦提升机钢丝绳自动淋油装置,其结构简单、安装方便、控制程序安全可靠。Aiming at the technical problems of uneven lubrication and poor lubricating effect of the wire rope of the existing CDQ hoist, the utility model provides an automatic oil-spraying device for the wire rope of the CDQ hoist, which is simple in structure, convenient in installation and safe and reliable in control program.
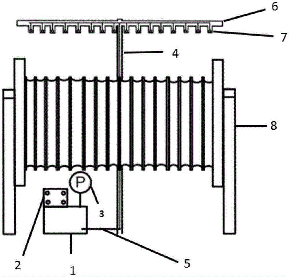
为了实现上述目的,本实用新型采用的技术方案为:一种干熄焦提升机钢丝绳自动淋油装置,包括油箱、设于油箱内的油泵、控制器、弧形支架、输油管、喷油主管和喷油嘴;所述控制器线路连接于油泵,所述弧形支架的弧形端安装有喷油主管,所述输油管内置于所述弧形支架且输油管的一端连接于油箱的出油口,另一端延伸至喷油主管内,所述喷油主管下部开孔连接若干根喷油嘴。In order to achieve the above purpose, the technical scheme adopted by the present utility model is as follows: an automatic oil-spraying device for a wire rope of a CDQ hoist, comprising an oil tank, an oil pump arranged in the oil tank, a controller, an arc support, an oil delivery pipe, an oil injection main pipe and an oil injection nozzle; the controller circuit is connected to an oil pump, an oil injection main pipe is installed on the arc-shaped end of the arc-shaped bracket, the oil delivery pipe is built in the arc-shaped bracket, and one end of the oil delivery pipe is connected to the oil outlet of the fuel tank, The other end extends into the fuel injection main pipe, and the lower part of the fuel injection main pipe is connected with a plurality of fuel injection nozzles.
所述的控制器通过编码器设计的给油程序控制油泵作业,在设计时间段抽取油箱的润滑油,通过弧形支架内布置的输油管传送到喷油主管和喷油嘴,对盘绕在提升机滚筒上的钢丝绳进行喷油作业。The controller controls the operation of the oil pump through the oil feeding program designed by the encoder, extracts the lubricating oil in the oil tank during the design time period, and transmits it to the fuel injection main pipe and the fuel injection nozzle through the oil pipe arranged in the arc bracket, and corrects the coiled oil in the hoist. The wire rope on the drum is used for oil injection.
所述的油泵为微型可调节柱塞泵,流量范围为0.15ml/min-500ml/min。The oil pump is a miniature adjustable plunger pump with a flow range of 0.15ml/min-500ml/min.
所述的控制器设计供油时间为每两小时一次,供油量为2ml/h。The designed oil supply time of the controller is once every two hours, and the oil supply amount is 2ml/h.
所述连接方式为焊接或者粘接。The connection method is welding or bonding.
所述的若干根喷油嘴为16根;16根喷油嘴设置的位置与干熄焦提升机滚筒上盘绕钢丝绳的16个圆形凹槽相适应。The number of the several fuel injection nozzles is 16; the positions of the 16 fuel injection nozzles are adapted to the 16 circular grooves of the wire rope coiled on the drum of the CDQ hoist.
本实用新型的工作原理为:通过带有编码器的控制器线路连接于油泵,然后编码器设计给油程序(钢丝绳的给油时间和给油量)控制油泵作业,在设计时间段抽取油箱的润滑油,通过输油管传送到喷油主管和喷油嘴,对盘绕在提升机滚筒上的钢丝绳进行喷油作业。The working principle of the utility model is as follows: the controller circuit with the encoder is connected to the oil pump, and then the encoder designs the oil supply program (oil supply time and oil supply amount of the wire rope) to control the oil pump operation, and extract the oil tank during the design time period. The lubricating oil is sent to the fuel injection main pipe and the fuel injection nozzle through the oil pipeline, and the wire rope coiled on the hoist drum is sprayed with oil.
本实用新型的有益效果:本实用新型的优点是在干熄焦提升机长时间高负荷生产中,通过自动给油保证了提升系统运行时钢丝绳的给油量和给油时间,确保钢丝绳润滑效果,避免了作业人员的手动加油的不确定性,实现了干熄焦提升系统稳定运行的目的。Beneficial effects of the utility model: The advantage of the utility model is that in the long-term high-load production of the CDQ hoist, the oil supply amount and oil supply time of the wire rope during the operation of the hoisting system are ensured by automatic oil supply, and the lubrication effect of the wire rope is ensured. , avoiding the uncertainty of manual refueling by operators, and realizing the purpose of stable operation of the CDQ lifting system.
附图说明Description of drawings
图1为本实用新型提供的干熄焦提升机钢丝绳自动淋油装置的主视图;Fig. 1 is the front view of CDQ hoist wire rope automatic oil-spraying device provided by the utility model;
图2为本实用新型提供的干熄焦提升机钢丝绳自动淋油装置的左视图;Fig. 2 is the left side view of CDQ hoist wire rope automatic oil-spraying device provided by the utility model;
图3为本实用新型提供的干熄焦提升机钢丝绳自动淋油装置的控制器内部设定程序图;Fig. 3 is the internal setting program diagram of the controller of the CDQ hoist wire rope automatic oil-spraying device provided by the utility model;
其中,1-油箱,2-控制器,3-油泵,4-弧形支架,5-输油管,6-喷油主管,7-喷油嘴,8-干熄焦提升机滚筒。Among them, 1-fuel tank, 2-controller, 3-oil pump, 4-arc bracket, 5-fuel delivery pipe, 6-fuel injection main pipe, 7-fuel injection nozzle, 8-CDQ elevator drum.
具体实施方式Detailed ways
下面结合附图对本实用新型进一步说明。The present utility model will be further described below in conjunction with the accompanying drawings.
如图1-3所示,一种干熄焦提升机钢丝绳自动淋油装置,包括油箱、设于油箱内的油泵、控制器、弧形支架、输油管、喷油主管和喷油嘴;所述控制器线路连接于油泵,弧形支架的弧形端安装有喷油主管,输油管内置于所述弧形支架且输油管的一端连接于油箱的出油口,另一端延伸至喷油主管内,喷油主管下部开孔连接16根喷油嘴(16根喷油嘴设置的位置与干熄焦提升机滚筒上盘绕钢丝绳的16个圆形凹槽相适应);其控制器通过编码器设计的给油程序控制油泵作业,在设计时间段抽取油箱的润滑油,通过弧形支架内布置的输油管传送到喷油主管和喷油嘴,对盘绕在提升机滚筒上的钢丝绳进行喷油作业。As shown in Figure 1-3, an automatic oil-spraying device for a wire rope of a CDQ hoist includes an oil tank, an oil pump arranged in the oil tank, a controller, an arc-shaped bracket, an oil delivery pipe, an oil injection main pipe and an oil injection nozzle; the The controller circuit is connected to the oil pump, the arc end of the arc bracket is installed with the fuel injection main pipe, the oil transmission pipe is built in the arc bracket and one end of the oil transmission pipe is connected to the oil outlet of the fuel tank, and the other end extends into the fuel injection main pipe, and the injection pipe is The lower part of the oil main pipe is opened to connect 16 fuel injection nozzles (the positions of the 16 fuel injection nozzles are adapted to the 16 circular grooves of the coiled wire rope on the drum of the CDQ hoist); The oil program controls the operation of the oil pump, extracts the lubricating oil in the oil tank during the design time period, and transmits it to the oil injection main pipe and the oil injection nozzle through the oil pipeline arranged in the arc bracket, and performs the oil injection operation on the wire rope coiled on the hoist drum.
所述的油泵为微型可调节柱塞泵,流量范围为0.15ml/min-500ml/min。The oil pump is a miniature adjustable plunger pump with a flow range of 0.15ml/min-500ml/min.
所述的控制器设计供油时间为每两小时一次,供油量为2ml/h。The designed oil supply time of the controller is once every two hours, and the oil supply amount is 2ml/h.
工作原理为:通过带有编码器的控制器线路连接于油泵,然后编码器设计给油程序(钢丝绳的给油时间和给油量)控制油泵作业,在设计时间段抽取油箱的润滑油,通过输油管传送到喷油主管和喷油嘴,对盘绕在提升机滚筒上的钢丝绳进行喷油作业。The working principle is: connect to the oil pump through the controller circuit with the encoder, and then the encoder designs the oil supply program (the oil supply time and oil supply amount of the wire rope) to control the oil pump operation, and extract the lubricating oil in the oil tank during the design time period, and pass The oil pipe is sent to the main fuel injection pipe and the fuel injection nozzle, and the wire rope coiled on the hoist drum is sprayed with oil.
本实用新型的有益效果:本实用新型的优点是在干熄焦提升机长时间高负荷生产中,通过自动给油保证了提升系统运行时钢丝绳的给油量和给油时间,确保钢丝绳润滑效果,避免了作业人员的手动加油的不确定性,实现了干熄焦提升系统稳定运行的目的。Beneficial effects of the utility model: The advantage of the utility model is that in the long-term high-load production of the CDQ hoist, the oil supply amount and oil supply time of the wire rope during the operation of the hoisting system are ensured by automatic oil supply, and the lubrication effect of the wire rope is ensured. , avoiding the uncertainty of manual refueling by operators, and realizing the purpose of stable operation of the CDQ lifting system.
上面结合附图对本实用新型进行了示例性描述,显然本实用新型具体实现并不受上述方式的限制,只要采用了本实用新型的方法构思和技术方案进行的各种非实质性的改进,或未经改进将本实用新型的构思和技术方案直接应用于其它场合的,均在本实用新型的保护范围之内。The present utility model has been exemplarily described above in conjunction with the accompanying drawings. Obviously, the specific implementation of the present utility model is not limited by the above-mentioned methods, as long as various non-substantial improvements made by the method concept and technical solutions of the present utility model are adopted, or If the concept and technical solutions of the present invention are directly applied to other occasions without improvement, they all fall within the protection scope of the present invention.
Claims (6)
Priority Applications (1)
| Application Number | Priority Date | Filing Date | Title |
|---|---|---|---|
| CN201920873700.XU CN211521289U (en) | 2019-06-12 | 2019-06-12 | Automatic oil spraying device for steel wire rope of dry quenching hoister |
Applications Claiming Priority (1)
| Application Number | Priority Date | Filing Date | Title |
|---|---|---|---|
| CN201920873700.XU CN211521289U (en) | 2019-06-12 | 2019-06-12 | Automatic oil spraying device for steel wire rope of dry quenching hoister |
Publications (1)
| Publication Number | Publication Date |
|---|---|
| CN211521289U true CN211521289U (en) | 2020-09-18 |
Family
ID=72458520
Family Applications (1)
| Application Number | Title | Priority Date | Filing Date |
|---|---|---|---|
| CN201920873700.XU Expired - Fee Related CN211521289U (en) | 2019-06-12 | 2019-06-12 | Automatic oil spraying device for steel wire rope of dry quenching hoister |
Country Status (1)
| Country | Link |
|---|---|
| CN (1) | CN211521289U (en) |
Cited By (1)
| Publication number | Priority date | Publication date | Assignee | Title |
|---|---|---|---|---|
| CN110304520A (en) * | 2019-06-12 | 2019-10-08 | 临涣焦化股份有限公司 | An automatic oil spraying device for the wire rope of the coke CDQ hoist |
-
2019
- 2019-06-12 CN CN201920873700.XU patent/CN211521289U/en not_active Expired - Fee Related
Cited By (1)
| Publication number | Priority date | Publication date | Assignee | Title |
|---|---|---|---|---|
| CN110304520A (en) * | 2019-06-12 | 2019-10-08 | 临涣焦化股份有限公司 | An automatic oil spraying device for the wire rope of the coke CDQ hoist |
Similar Documents
| Publication | Publication Date | Title |
|---|---|---|
| CN203944254U (en) | A kind of tower crane water injection system | |
| CN211521289U (en) | Automatic oil spraying device for steel wire rope of dry quenching hoister | |
| CN106400882B (en) | Device for protecting water hammer of long-distance pump water supply system | |
| CN201884619U (en) | Automatic lubricating device of pressurizing chain of bit hole rig | |
| CN103089262B (en) | Self-adsorption air type foam dust suspension system for coal mining working face | |
| CN205677656U (en) | Comprehesive coal mining frame spraying device | |
| CN110304520A (en) | An automatic oil spraying device for the wire rope of the coke CDQ hoist | |
| CN202338757U (en) | Automatic reel lubrication device | |
| CN214087472U (en) | Novel head of head sheave refueling device | |
| CN205036305U (en) | Trepan derrick hydraulic pressure plays to rise device | |
| CN203517856U (en) | Coal bin | |
| CN204851258U (en) | Combine and adopt working face high pressure spraying dust device | |
| CN205350796U (en) | Lubricating grease device of maring | |
| CN202542636U (en) | Steel wire rope greasing device | |
| CN108266220A (en) | One kind is for the integrated dust falling system of underground coal mine fully-mechanized mining working spraying linkage | |
| CN214787507U (en) | Spraying device for underground coal mine hand-held pneumatic stopping agent | |
| CN201635683U (en) | Gas drilling dust device | |
| CN103629688B (en) | Coal bunker | |
| CN207004564U (en) | A kind of automatic sprayer | |
| CN219389351U (en) | Automatic lubrication device for pressurized chain of rotary drill | |
| CN204475036U (en) | Wind pressure type steel wire rope fueling injection equipment | |
| CN219751299U (en) | Automatic spraying dust device suitable for on crossheading belt feeder | |
| CN210657741U (en) | Steel wire closes rope fueling injection equipment | |
| CN203517312U (en) | Coal gas backflow processing pipeline system of CCPP gas turbine | |
| CN215722429U (en) | Automatic oil injection system for rotary kiln wheel belt |
Legal Events
| Date | Code | Title | Description |
|---|---|---|---|
| GR01 | Patent grant | ||
| GR01 | Patent grant | ||
| CF01 | Termination of patent right due to non-payment of annual fee | ||
| CF01 | Termination of patent right due to non-payment of annual fee |
Granted publication date: 20200918 |
