CN211518702U - A fire retardant wood veneer panel - Google Patents
A fire retardant wood veneer panel Download PDFInfo
- Publication number
- CN211518702U CN211518702U CN201922101683.0U CN201922101683U CN211518702U CN 211518702 U CN211518702 U CN 211518702U CN 201922101683 U CN201922101683 U CN 201922101683U CN 211518702 U CN211518702 U CN 211518702U
- Authority
- CN
- China
- Prior art keywords
- layer
- groove
- plywood
- fire
- fireproof
- Prior art date
- Legal status (The legal status is an assumption and is not a legal conclusion. Google has not performed a legal analysis and makes no representation as to the accuracy of the status listed.)
- Expired - Fee Related
Links
Images
Landscapes
- Building Environments (AREA)
- Veneer Processing And Manufacture Of Plywood (AREA)
Abstract
本实用新型公开了一种防火阻燃木饰面板,包括胶合板层、两层面层,胶合板层上表面开设有沿着胶合板层长度方向排列分布的第一凹槽,胶合板层下表面开设有沿着胶合板层长度方向排列分布的第二凹槽,第一凹槽的正投影覆盖下方相邻的两个第二凹槽之间的间隔部分,第一凹槽、第二凹槽内均设置有防火网格布层。本实用新型具有以下优点和效果:因第一凹槽的正投影覆盖下方相邻的两个第二凹槽之间的间隔部分,此时位于第一凹槽、第二凹槽内的防火网格布层相互交错,以保证防火阻燃效果;且因面层不会直接覆盖在防火网格布层上,可提高面层复合后的结构稳固性;同时因第一凹槽、第二凹槽处形成有空腔,具有一定的保温效果。
The utility model discloses a fire-resistant and flame-retardant wood decorative panel, which comprises a plywood layer and two-layer layers. The upper surface of the plywood layer is provided with first grooves arranged and distributed along the length direction of the plywood layer, and the lower surface of the plywood layer is provided with first grooves along the length direction of the plywood layer. The second grooves are arranged and distributed in the length direction of the plywood layer, the orthographic projection of the first groove covers the space between the two adjacent second grooves below, and the first groove and the second groove are provided with fireproof Mesh layer. The utility model has the following advantages and effects: because the orthographic projection of the first groove covers the space between two adjacent second grooves below, the fireproof net located in the first groove and the second groove at this time The grid cloth layers are staggered to ensure the fireproof and flame retardant effect; and because the surface layer is not directly covered on the fireproof grid cloth layer, the structural stability after the surface layer is compounded can be improved; A cavity is formed at the groove, which has a certain thermal insulation effect.
Description
技术领域technical field
本实用新型涉及装修工程技术领域,特别涉及一种防火阻燃木饰面板。The utility model relates to the technical field of decoration engineering, in particular to a fire-retardant and flame-retardant wood decorative panel.
背景技术Background technique
木饰面板是将实木精密刨切成厚度为0.2mm以上的薄木皮,以胶合板为基材,经过胶粘工艺制作而成的具有单面装饰作用的装饰板材,可用于室内装修或家具制造。Wood veneer is a single-sided decorative panel made by precision slicing solid wood into thin veneer with a thickness of more than 0.2mm, plywood as the base material, and can be used for interior decoration or furniture manufacturing.
目前,授权公告号为CN208930870U,授权公告日为2019年6月4日的中国专利公开了一种防潮的三聚氰胺饰面层,包括基板,基板的下表面设有塑料泡沫板,塑料泡沫板与基板固定连接,塑料泡沫板的下表面设有防虫板,防虫板与塑料泡沫板固定连接,防虫板的下表面设有防水板,防水板与防虫板固定连接,防水板的下表面设有防潮板,防潮板与防水板固定连接。At present, the Chinese patent with the authorization announcement number of CN208930870U and the authorization announcement date of June 4, 2019 discloses a moisture-proof melamine facing layer, including a substrate, the lower surface of the substrate is provided with a plastic foam board, the plastic foam board and the substrate Fixed connection, the lower surface of the plastic foam board is provided with an anti-insect board, the anti-insect board is fixedly connected with the plastic foam board, the bottom surface of the anti-insect board is provided with a waterproof board, the waterproof board is fixedly connected with the anti-insect board, and the lower surface of the waterproof board is provided with a moisture-proof board , The moisture-proof board is fixedly connected with the waterproof board.
现代装修中采用大量木质材料,火灾隐患较大,防火阻燃也成为装修材料的重要指标,但是上述防潮的三聚氰胺饰面层不具备防火阻燃的功能,从而在使用过程中存在不足之处。A large number of wood materials are used in modern decoration, and the fire hazard is relatively large. Fire and flame retardant have also become important indicators of decoration materials. However, the above-mentioned moisture-proof melamine finishing layer does not have the function of fire and flame retardant, so there are shortcomings in the use process.
实用新型内容Utility model content
本实用新型的目的是提供一种防火阻燃木饰面板,具有防火阻燃的功能。The purpose of the utility model is to provide a fire-retardant and flame-retardant wood decorative panel, which has the function of fire-retardant and flame-retardant.
本实用新型的上述技术目的是通过以下技术方案得以实现的:一种防火阻燃木饰面板,包括胶合板层、两层复合在胶合板层上下两表面的面层,所述胶合板层上表面开设有多个沿着胶合板层长度方向排列分布的第一凹槽,所述胶合板层下表面开设有多个沿着胶合板层长度方向排列分布的第二凹槽,所述第一凹槽的正投影覆盖下方相邻的两个第二凹槽之间的间隔部分,所述第一凹槽、第二凹槽内均设置有防火网格布层。The above-mentioned technical purpose of the present utility model is achieved through the following technical solutions: a fire-resistant and flame-retardant wood veneer panel, comprising a plywood layer, two surface layers compounded on the upper and lower surfaces of the plywood layer, and the upper surface of the plywood layer is provided with A plurality of first grooves arranged and distributed along the length direction of the plywood layer, the lower surface of the plywood layer is provided with a plurality of second grooves arranged and distributed along the length direction of the plywood layer, the orthographic projection of the first grooves covers In the space between two adjacent second grooves below, a fireproof mesh cloth layer is arranged in the first groove and the second groove.
本实用新型的进一步设置为:所述第一凹槽的深度和第二凹槽的深度相同,所述防火网格布层的厚度与第一凹槽的深度相同。The utility model is further configured as follows: the depth of the first groove is the same as the depth of the second groove, and the thickness of the fireproof mesh cloth layer is the same as the depth of the first groove.
本实用新型的进一步设置为:所述胶合板层上下两表面除去第一凹槽、第二凹槽处均涂刷有防火漆层。The utility model is further arranged as follows: the upper and lower surfaces of the plywood layer are coated with a fireproof paint layer except for the first groove and the second groove.
本实用新型的进一步设置为:所述胶合板层包括依次复合的上基板层、中间阻燃板层、下基板层,所述第一凹槽开设在上基板层上表面,所述第二凹槽开设在下基板层下表面。The utility model is further configured as follows: the plywood layer comprises an upper substrate layer, a middle flame-retardant plate layer, and a lower substrate layer that are sequentially compounded, the first groove is opened on the upper surface of the upper substrate layer, and the second groove Opened on the lower surface of the lower substrate layer.
本实用新型的进一步设置为:所述中间阻燃板层上下两表面均排列设置有分别嵌入在上基板层、下基板层内的嵌入部。The utility model is further provided as follows: the upper and lower surfaces of the middle flame retardant plate layer are arranged with embedded parts respectively embedded in the upper substrate layer and the lower substrate layer.
综上所述,本实用新型具有以下有益效果:To sum up, the utility model has the following beneficial effects:
1、通过在胶合板层上下两表面分别开设多个第一凹槽、第二凹槽,且第一凹槽的正投影覆盖下方相邻的两个第二凹槽之间的间隔部分,此时位于第一凹槽、第二凹槽内的防火网格布层相互交错,以保证防火阻燃效果;且因面层不会直接覆盖在防火网格布层上,可提高面层复合后的结构稳固性;同时因第一凹槽、第二凹槽处形成有空腔,具有一定的保温效果;1. By opening a plurality of first grooves and second grooves on the upper and lower surfaces of the plywood layer, and the orthographic projection of the first groove covers the space between the two adjacent second grooves below, at this time The fireproof mesh cloth layers located in the first groove and the second groove are interlaced to ensure the fireproof and flame retardant effect; and because the surface layer will not be directly covered on the fireproof mesh cloth layer, it can improve the performance of the composite surface layer. Structural stability; at the same time, due to the cavity formed at the first groove and the second groove, it has a certain thermal insulation effect;
2、第一凹槽和第二凹槽的深度相同,且防火网格布层的厚度与第一凹槽的厚度相同,此时防火网格布层填充满第一凹槽、第二凹槽,使得防火网格布层在面层复合时可被面层压紧,实现固定防火网格布层;2. The depth of the first groove and the second groove are the same, and the thickness of the fireproof mesh cloth layer is the same as the thickness of the first groove. At this time, the fireproof mesh cloth layer is filled with the first groove and the second groove. , so that the fireproof mesh cloth layer can be compressed by the surface layer when the surface layer is compounded, so as to realize the fixed fireproof mesh cloth layer;
3、因防火网格布层的防火阻燃性能高于防火漆层的阻燃性能,但是面层直接覆盖在防火网格布层上会导致复合后的结构稳固性较差,此时通过胶合板层上下两表面处于第一凹槽、第二凹槽处均涂刷有防火漆层,再配合第一凹槽、第二凹槽内设置的防火网格布层,最终实现在提高防火阻燃性能的情况下保证面层复合后的结构稳固性;3. Because the fire retardant performance of the fireproof mesh cloth layer is higher than that of the fireproof paint layer, but the surface layer directly covered on the fireproof mesh cloth layer will lead to poor structural stability after compounding. At this time, through the plywood The upper and lower surfaces of the layer are both coated with a fireproof paint layer at the first groove and the second groove, and then cooperate with the fireproof mesh cloth layer arranged in the first groove and the second groove, and finally realize the improvement of fire resistance and flame retardant. Ensure the structural stability of the surface layer after compounding under the condition of performance;
4、胶合板层包括上基板层、中间阻燃板层、下基板层,此时胶合板内部可通过中间阻燃板层进行阻燃,从而提高防火阻燃效果;同时中间阻燃层上的嵌入部嵌入在上基板层、下基板层内,可提高胶合板层的结构强度。4. The plywood layer includes the upper substrate layer, the middle flame retardant layer, and the lower substrate layer. At this time, the interior of the plywood can be flame retardant through the middle flame retardant layer, so as to improve the fire retardant effect; at the same time, the embedded part on the middle flame retardant layer Embedded in the upper substrate layer and the lower substrate layer can improve the structural strength of the plywood layer.
附图说明Description of drawings
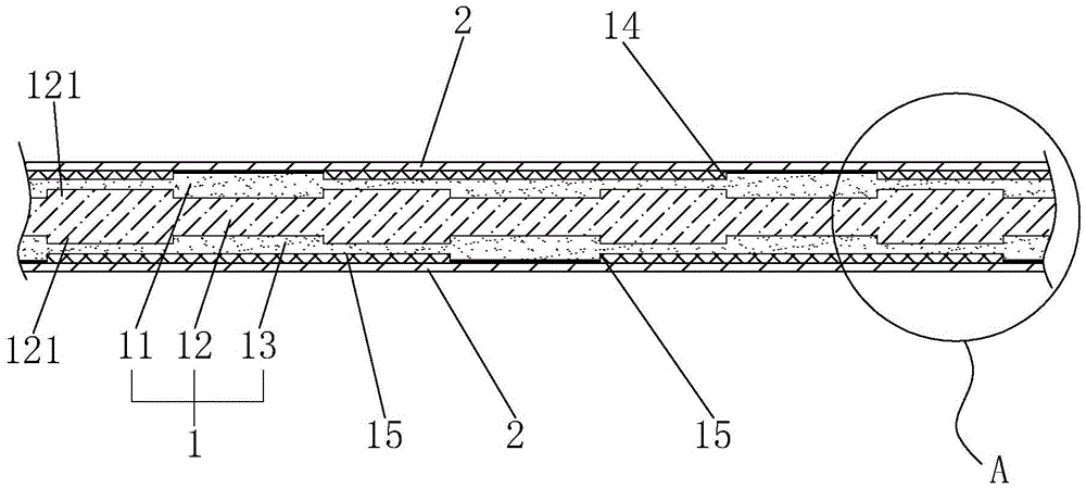
图1是本实用新型的结构剖视图;Fig. 1 is the structural sectional view of the present utility model;
图2是图1中位于A处的局部放大图。FIG. 2 is an enlarged view of a part located at A in FIG. 1 .
附图标记:1、胶合板层;11、上基板层;12、中间阻燃板层;121、嵌入部;13、下基板层;14、第一凹槽;15、第二凹槽;16、防火网格布层;17、防火漆层;2、面层。Reference numerals: 1, plywood layer; 11, upper substrate layer; 12, middle flame retardant plate layer; 121, embedded part; 13, lower substrate layer; 14, first groove; 15, second groove; 16, Fireproof mesh cloth layer; 17. Fireproof paint layer; 2. Surface layer.
具体实施方式Detailed ways
以下结合附图对本实用新型作进一步详细说明。The present utility model will be described in further detail below in conjunction with the accompanying drawings.
实施例1:一种防火阻燃木饰面板,包括胶合板层1、两层复合在胶合板层1上下两表面的面层2。Example 1: A fire-retardant and flame-retardant wood veneer panel, comprising a plywood layer 1 and a two-
如图1所示,胶合板层1包括依次复合的上基板层11、中间阻燃板层12、下基板层13。上基板层11、中间阻燃板层12、下基板层13通过胶水复合。中间阻燃板层12上下两表面均排列设置有多个分别嵌入在上基板层11、下基板层13内的嵌入部121,嵌入部121一体成型在中间阻燃板层12上。As shown in FIG. 1 , the plywood layer 1 includes an
如图1和图2所示,在胶合板层1的上基板层11的上表面开设有多个沿着胶合板层1长度方向排列分布的第一凹槽14。在胶合板层1的下基板层13的下表面开设有多个沿着胶合板层1长度方向排列分布的第二凹槽15。第一凹槽14和第二凹槽15的深度相同。且第一凹槽14的正投影覆盖下方相邻的两个第二凹槽15之间的间隔部分。As shown in FIGS. 1 and 2 , a plurality of
如图1和图2所示,同时在第一凹槽14、第二凹槽15内均设置有防火网格布层16。在上基板层11上表面除去第一凹槽14处、在下基板层13下表面除去第二凹槽15处均涂刷有防火漆层17,且防火网格布层16的厚度与第一凹槽14深度结合防火漆层17的深度相同。As shown in FIG. 1 and FIG. 2 , a fireproof
如图1和图2所示,两个面层2分别通过胶水复合在上基板层11和下基板层13上,且面层2在复合后压紧防火网格布层16。As shown in FIG. 1 and FIG. 2 , the two
实施效果:(1)通过在胶合板层1上下两表面分别开设多个第一凹槽14、第二凹槽15,且第一凹槽14的正投影覆盖下方相邻的两个第二凹槽15之间的间隔部分,此时位于第一凹槽14、第二凹槽15内的防火网格布层16相互交错,以保证防火阻燃效果;且因面层2不会直接覆盖在防火网格布层16上,可提高面层2复合后的结构稳固性;同时因第一凹槽14、第二凹槽15处形成有空腔,具有一定的保温效果。(2)第一凹槽14和第二凹槽15的深度相同,且防火网格布层16的厚度与第一凹槽14的厚度相同,此时防火网格布层16填充满第一凹槽14、第二凹槽15,使得防火网格布层16在面层2复合时可被面层2压紧,实现固定防火网格布层16。(3)因防火网格布层16的防火阻燃性能高于防火漆层17的阻燃性能,但是面层2直接覆盖在防火网格布层16上会导致复合后的结构稳固性较差,此时通过胶合板层1上下两表面处于第一凹槽14、第二凹槽15处均涂刷有防火漆层17,再配合第一凹槽14、第二凹槽15内设置的防火网格布层16,最终实现在提高防火阻燃性能的情况下保证面层2复合后的结构稳固性。(4)胶合板层1包括上基板层11、中间阻燃板层12、下基板层13,此时胶合板内部可通过中间阻燃板层12进行阻燃,从而提高防火阻燃效果;同时中间阻燃层上的嵌入部121嵌入在上基板层11、下基板层13内,可提高胶合板层1的结构强度。Implementation effect: (1) By opening a plurality of
本具体实施例仅仅是对本实用新型的解释,其并不是对本实用新型的限制,本领域技术人员在阅读完本说明书后可以根据需要对本实施例做出没有创造性贡献的修改,但只要在本实用新型的权利要求范围内都受到专利法的保护。This specific embodiment is only an explanation of the present utility model, and it is not a limitation of the present utility model. Those skilled in the art can make modifications to the present embodiment without creative contribution as needed after reading this specification, but as long as the utility model is used in the present invention All new types of claims are protected by the patent law.
Claims (5)
Priority Applications (1)
| Application Number | Priority Date | Filing Date | Title |
|---|---|---|---|
| CN201922101683.0U CN211518702U (en) | 2019-11-29 | 2019-11-29 | A fire retardant wood veneer panel |
Applications Claiming Priority (1)
| Application Number | Priority Date | Filing Date | Title |
|---|---|---|---|
| CN201922101683.0U CN211518702U (en) | 2019-11-29 | 2019-11-29 | A fire retardant wood veneer panel |
Publications (1)
| Publication Number | Publication Date |
|---|---|
| CN211518702U true CN211518702U (en) | 2020-09-18 |
Family
ID=72464250
Family Applications (1)
| Application Number | Title | Priority Date | Filing Date |
|---|---|---|---|
| CN201922101683.0U Expired - Fee Related CN211518702U (en) | 2019-11-29 | 2019-11-29 | A fire retardant wood veneer panel |
Country Status (1)
| Country | Link |
|---|---|
| CN (1) | CN211518702U (en) |
Cited By (1)
| Publication number | Priority date | Publication date | Assignee | Title |
|---|---|---|---|---|
| CN112663896A (en) * | 2020-12-19 | 2021-04-16 | 孙莉莉 | Fireproof bottom plate and preparation method thereof |
-
2019
- 2019-11-29 CN CN201922101683.0U patent/CN211518702U/en not_active Expired - Fee Related
Cited By (1)
| Publication number | Priority date | Publication date | Assignee | Title |
|---|---|---|---|---|
| CN112663896A (en) * | 2020-12-19 | 2021-04-16 | 孙莉莉 | Fireproof bottom plate and preparation method thereof |
Similar Documents
| Publication | Publication Date | Title |
|---|---|---|
| CN211518702U (en) | A fire retardant wood veneer panel | |
| CN206217278U (en) | The composite plate structure that a kind of inorganic material belongs to wooden gilding | |
| CN205444788U (en) | Heat retaining concatenation floor | |
| CN106113796A (en) | The composite plate structure that a kind of inorganic material belongs to wood gilding | |
| CN201943520U (en) | Low carbon fireproof door board | |
| CN103967238A (en) | Novel inflaming retarding fire-proof plate | |
| CN205778352U (en) | A kind of dual quiet door | |
| CN209603438U (en) | Insulated Waterproof and Flame Retardant Composite Flooring | |
| CN204820524U (en) | A flame retardant board with electromagnetic shielding function | |
| CN211200999U (en) | Decorative wall board | |
| CN204827108U (en) | Compound wood door | |
| CN212534791U (en) | A new type of lightweight, environmentally friendly, waterproof, fireproof, moisture-proof wallboard | |
| CN210211635U (en) | Plywood for wall surface heat preservation | |
| CN209987091U (en) | Multilayer plywood of LVT veneer | |
| KR20130029509A (en) | Partition wall for tiolet with excellent durability and workability | |
| CN203141972U (en) | Environmentally friendly and fireproof multifunctional board structure | |
| CN211647067U (en) | A kind of insect-proof and moisture-proof wood veneer panel | |
| CN203267307U (en) | Sound isolation and flame retardance aluminum honeycomb plate | |
| CN205033662U (en) | Composite sheet structure | |
| CN215406675U (en) | Fire protection system board | |
| CN207842222U (en) | A kind of interior sound insulating sheet material | |
| CN215802374U (en) | High-efficient abatvoix with anticollision structure | |
| CN205272700U (en) | Fire -resistant noise proof PLASTIC LAMINATED | |
| CN218366858U (en) | High strength fire prevention wood decorative board of making an uproar that falls | |
| CN222574569U (en) | Electromagnetic radiation resistant impregnated paper |
Legal Events
| Date | Code | Title | Description |
|---|---|---|---|
| GR01 | Patent grant | ||
| GR01 | Patent grant | ||
| CF01 | Termination of patent right due to non-payment of annual fee |
Granted publication date: 20200918 |
|
| CF01 | Termination of patent right due to non-payment of annual fee |
