CN211511027U - A filing cabinet for student management work - Google Patents
A filing cabinet for student management work Download PDFInfo
- Publication number
- CN211511027U CN211511027U CN202020134623.9U CN202020134623U CN211511027U CN 211511027 U CN211511027 U CN 211511027U CN 202020134623 U CN202020134623 U CN 202020134623U CN 211511027 U CN211511027 U CN 211511027U
- Authority
- CN
- China
- Prior art keywords
- cabinet
- connecting frame
- management work
- student management
- limiting plate
- Prior art date
- Legal status (The legal status is an assumption and is not a legal conclusion. Google has not performed a legal analysis and makes no representation as to the accuracy of the status listed.)
- Expired - Fee Related
Links
- 238000005192 partition Methods 0.000 claims abstract description 11
- 239000003795 chemical substances by application Substances 0.000 claims description 7
- 239000000428 dust Substances 0.000 claims description 5
- 230000004888 barrier function Effects 0.000 claims 1
- 230000000694 effects Effects 0.000 abstract description 5
- 238000010586 diagram Methods 0.000 description 4
- 238000012986 modification Methods 0.000 description 2
- 230000004048 modification Effects 0.000 description 2
- 230000004075 alteration Effects 0.000 description 1
- 230000009286 beneficial effect Effects 0.000 description 1
- 239000000463 material Substances 0.000 description 1
- 238000000034 method Methods 0.000 description 1
- 238000006467 substitution reaction Methods 0.000 description 1
- 238000009423 ventilation Methods 0.000 description 1
Images
Landscapes
- Drawers Of Furniture (AREA)
Abstract
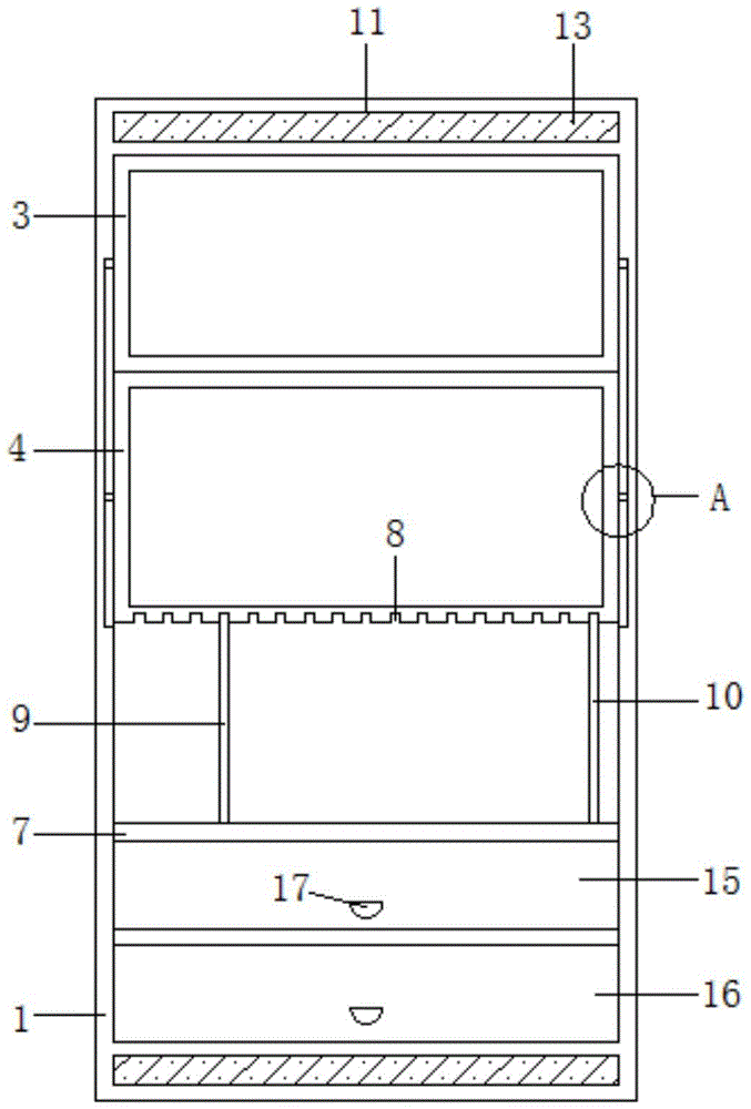
本实用新型公开了一种用于学生管理工作的档案柜,包括柜体,所述柜体前侧面两端均通过铰链转动连接有柜门,且所述柜体内部设有第一连接架与第二连接架,所述第一连接架与第二连接架两侧均固定连接有滑块,且所述柜体两侧内壁均设有滑槽,所述滑块与滑槽滑动相连,所述第二连接架下方设有隔板,所述隔板两端均与柜体内壁固定相连,所述第二连接架底部设有多个连接槽,且所述第二连接架下方设有第一限位板与第二限位板,所述第一限位板与第二限位板一端均与连接槽活动相连,该种用于学生管理工作的档案柜,结构简单,方便取放档案,且能够轻易取放上方的文档,防潮效果较好,造价较低。
The utility model discloses a filing cabinet for student management work, which comprises a cabinet body. Both ends of the front side of the cabinet body are pivotally connected with cabinet doors through hinges, and the cabinet body is provided with a first connecting frame and The second connecting frame, the sliding blocks are fixedly connected to both sides of the first connecting frame and the second connecting frame, and the inner walls on both sides of the cabinet are provided with sliding grooves, and the sliding blocks are slidably connected to the sliding grooves, so There is a partition plate below the second connection frame, both ends of the partition plate are fixedly connected to the inner wall of the cabinet, the bottom of the second connection frame is provided with a plurality of connection grooves, and the bottom of the second connection frame is provided with a third A limit board and a second limit board, one end of the first limit board and the second limit board are movably connected with the connecting groove, this kind of filing cabinet for student management work has a simple structure and is convenient for taking and placing files , and can easily take and place the documents above, the moisture-proof effect is better, and the cost is lower.
Description
技术领域technical field
本实用新型涉及档案柜技术领域,具体为一种用于学生管理工作的档案柜。The utility model relates to the technical field of filing cabinets, in particular to a filing cabinet used for student management work.
背景技术Background technique
档案柜是很多行业经常使用的办公设备,尤其是在学生管理的工作中,能够存放各种纸质资料,非常方便使用和管理。但是重要纸质档案的存放温度和湿度都有要求,通常的档案柜由于通风性能差会使纸张发黄、霉变,从而使重要文件损坏,且现有的档案柜设置的较高,最上层的文档难以取放,不便于管理者管理,这样远远无法满足当前人们对该产品的要求。File cabinets are often used office equipment in many industries, especially in the work of student management. They can store various paper materials, which are very convenient to use and manage. However, the storage temperature and humidity of important paper files have requirements. Usually, due to the poor ventilation performance of the file cabinet, the paper will turn yellow and mildew, which will damage the important files, and the existing file cabinet is set higher, and the uppermost layer The documents are difficult to pick and place, and it is not convenient for managers to manage, which is far from meeting the current requirements of the product.
实用新型内容Utility model content
本实用新型的目的在于提供一种用于学生管理工作的档案柜,结构简单,方便取放档案,且能够轻易取放上方的文档,防潮效果较好,造价较低,以解决上述背景技术中提出的问题。The purpose of the utility model is to provide a filing cabinet for student management work, which has a simple structure, is convenient for taking and placing files, and can easily take and place documents on the top, with better moisture-proof effect and lower cost, so as to solve the problems in the above-mentioned background technology. proposed question.
为实现上述目的,本实用新型提供如下技术方案:一种用于学生管理工作的档案柜,包括柜体,其特征在于:所述柜体前侧面两端均通过铰链转动连接有柜门,且所述柜体内部设有第一连接架与第二连接架,所述第一连接架与第二连接架两侧均固定连接有滑块,且所述柜体两侧内壁均设有滑槽,所述滑块与滑槽滑动相连,所述第二连接架下方设有隔板,所述隔板两端均与柜体内壁固定相连,所述第二连接架底部设有多个连接槽,且所述第二连接架下方设有第一限位板与第二限位板,所述第一限位板与第二限位板一端均与连接槽活动相连,且所述第一限位板与第二限位板一端均与底板顶部活动相连。In order to achieve the above purpose, the utility model provides the following technical solutions: a filing cabinet for student management work, comprising a cabinet body, characterized in that: both ends of the front side of the cabinet body are connected with cabinet doors through hinges, and The inside of the cabinet is provided with a first connecting frame and a second connecting frame, sliders are fixedly connected on both sides of the first connecting frame and the second connecting frame, and the inner walls on both sides of the cabinet are provided with sliding grooves , the slider is slidably connected to the chute, a partition is arranged below the second connecting frame, both ends of the partition are fixedly connected to the inner wall of the cabinet, and the bottom of the second connecting frame is provided with a plurality of connecting grooves , and a first limit plate and a second limit plate are arranged below the second connecting frame, and one end of the first limit plate and the second limit plate are movably connected to the connecting groove, and the first limit plate and the second limit plate are movably connected One end of the position plate and the second limit plate is movably connected with the top of the bottom plate.
进一步的,所述柜体内腔顶部与底部均设有连接腔,所述连接腔内部滑动连接有盒体,所述盒体内部设有防潮剂。Further, the top and bottom of the inner cavity of the cabinet are provided with connecting cavities, the inside of the connecting cavity is slidably connected with a box body, and the inside of the box body is provided with a moisture-proof agent.
进一步的,所述第一限位板与第二限位板表面均分布有多个通孔。Further, a plurality of through holes are distributed on the surfaces of the first limiting plate and the second limiting plate.
进一步的,所述隔板下方设有第一抽屉与第二抽屉,所述第一抽屉与第二抽屉一侧均设有第一把手。Further, a first drawer and a second drawer are arranged under the partition, and a first handle is arranged on one side of the first drawer and the second drawer.
进一步的,所述柜门上均设有观察窗,且所述观察窗下方均设有第二把手。Further, observation windows are provided on the cabinet doors, and second handles are provided below the observation windows.
进一步的,所述柜体两侧均设有防尘隔栅。Further, both sides of the cabinet body are provided with dust-proof grilles.
与现有技术相比,本实用新型的有益效果是:Compared with the prior art, the beneficial effects of the present utility model are:
1、通过设置第一连接架与第二连接架,将档案分类存放,通过设置滑块与滑槽,使第一连接架与第二连接架能够上下移动。1. By setting the first connecting frame and the second connecting frame, the files are classified and stored, and by setting the slider and the chute, the first connecting frame and the second connecting frame can move up and down.
2、通过设置第一限位板、第二限位板与连接槽,能够对第一连接架与第二连接架起到支撑作用。2. By arranging the first limit plate, the second limit plate and the connecting groove, the first connecting frame and the second connecting frame can be supported.
3、通过设置盒体与防潮剂,增加该档案柜的防潮效果,通过设置防尘隔栅,减少灰尘进入柜体内部。3. By setting the box body and the moisture-proof agent, the moisture-proof effect of the file cabinet is increased, and the dust-proof grille is set to reduce the dust entering the interior of the cabinet.
附图说明Description of drawings
附图用来提供对本实用新型的进一步理解,并且构成说明书的一部分,与本实用新型的具体实施方式一起用于解释本实用新型,并不构成对本实用新型的限制。The accompanying drawings are used to provide a further understanding of the present invention, and constitute a part of the specification. Together with the specific embodiments of the present invention, the accompanying drawings are used to explain the present invention, and do not constitute a limitation to the present invention.
图1是本实用新型的柜体内部结构示意图;1 is a schematic diagram of the internal structure of the cabinet of the present invention;
图2是本实用新型的柜体外部结构示意图;2 is a schematic diagram of the external structure of the cabinet of the present invention;
图3是本实用新型的第一限位板结构示意图;3 is a schematic structural diagram of the first limit plate of the present invention;
图4是本实用新型的A的放大图;Fig. 4 is the enlarged view of A of the present utility model;
图中标号:1、柜体;2、柜门;3、第一连接架;4、第二连接架;5、滑块;6、滑槽;7、隔板;8、连接槽;9、第一限位板;10、第二限位板;11、连接腔;12、盒体;13、防潮剂;14、通孔;15、第一抽屉;16、第二抽屉;17、第一把手;18、第二把手;19、防尘隔栅;20、观察窗。Labels in the figure: 1. Cabinet body; 2. Cabinet door; 3. First connecting frame; 4. Second connecting frame; 5. Slider; 6. Chute; The first limit plate; 10, the second limit plate; 11, the connecting cavity; 12, the box body; 13, the moisture-proof agent; 14, the through hole; 15, the first drawer; 16, the second drawer; 17, the first handle ; 18, the second handle; 19, dust grille; 20, observation window.
具体实施方式Detailed ways
下面结合具体实施方式对本实用新型作进一步的说明,其中,附图仅用于示例性说明,表示的仅是示意图,而非实物图,不能理解为对本专利的限制,为了更好地说明本实用新型的具体实施方式,附图某些部件会有省略、放大或缩小,并不代表实际产品的尺寸,对本领域技术人员来说,附图中某些公知结构及其说明可能省略是可以理解的,基于本实用新型中的具体实施方式,本领域普通技术人员在没有做出创造性劳动前提下所获得的所有其他具体实施方式,都属于本实用新型保护的范围。The present utility model will be further described below in conjunction with the specific embodiments, wherein, the accompanying drawings are only used for exemplary description, and are only schematic diagrams rather than physical drawings, which should not be construed as limitations on the present patent, in order to better illustrate the present utility model. In the specific embodiment of the new type, some components in the accompanying drawings may be omitted, enlarged or reduced, which do not represent the size of the actual product. For those skilled in the art, it is understandable that some well-known structures and their descriptions in the accompanying drawings may be omitted. , based on the specific implementations of the present invention, all other specific implementations obtained by those of ordinary skill in the art without making creative efforts shall fall within the protection scope of the present invention.
实施例一:Example 1:
如图1-图4所示,一种用于学生管理工作的档案柜,包括柜体1,所述柜体1前侧面两端均通过铰链转动连接有柜门2,且所述柜体1内部设有第一连接架3与第二连接架4,将档案分类存放,所述第一连接架3与第二连接架4两侧均固定连接有滑块5,且所述柜体1两侧内壁均设有滑槽6,所述滑块5与滑槽6滑动相连,使第一连接架3与第二连接架4能够上下移动,所述第二连接架4下方设有隔板7,所述隔板7两端均与柜体1内壁固定相连,所述第二连接架4底部设有多个连接槽8,且所述第二连接架4下方设有第一限位板9与第二限位板10,所述第一限位板9与第二限位板10一端均与连接槽8活动相连,能够对第一连接架3与第二连接架4起到支撑作用,且所述第一限位板9与第二限位板10一端均与底板顶部活动相连。As shown in FIGS. 1-4 , a filing cabinet for student management work includes a
更具体而言,所述第一限位板9与第二限位板10表面均分布有多个通孔14,所述隔板7下方设有第一抽屉15与第二抽屉16,所述第一抽屉15与第二抽屉16一侧均设有第一把手17,便于移动抽屉,所述柜门2上均设有观察窗20,且所述观察窗20下方均设有第二把手18,所述柜体1两侧均设有防尘隔栅19,减少灰尘进入柜体1内部。More specifically, a plurality of through
实施例二:Embodiment 2:
如图1-图2所示,所述柜体1内腔顶部与底部均设有连接腔11,所述连接腔11内部滑动连接有盒体12,所述盒体12内部设有防潮剂13,增加该档案柜的防潮效果,且便于更换防潮剂13。As shown in FIGS. 1-2 , the top and bottom of the inner cavity of the
工作原理:该种用于学生管理工作的档案柜,通过设置第一连接架3与第二连接架4,将档案分类存放,通过设置滑块5与滑槽6,使第一连接架3与第二连接架4能够上下移动,通过设置第一限位板9、第二限位板10与连接槽8,能够对第一连接架3与第二连接架4起到支撑作用,通过设置盒体12与防潮剂13,增加该档案柜的防潮效果,通过设置防尘隔栅19,减少灰尘进入柜体1内部。Working principle: This kind of filing cabinet used for student management work, by setting the first connecting
尽管已经示出和描述了本实用新型的具体实施方式,对于本领域的普通技术人员而言,可以理解在不脱离本实用新型的原理和精神的情况下,可以对这些具体实施方式进行多种变化、修改、替换和变型,本实用新型的范围由所附权利要求及其等同物限定。Although specific embodiments of the present invention have been shown and described, it will be understood by those of ordinary skill in the art that various modifications may be made to these specific embodiments without departing from the principles and spirit of the present invention. Variations, modifications, substitutions and alterations, the scope of the present invention is defined by the appended claims and their equivalents.
Claims (6)
Priority Applications (1)
| Application Number | Priority Date | Filing Date | Title |
|---|---|---|---|
| CN202020134623.9U CN211511027U (en) | 2020-01-21 | 2020-01-21 | A filing cabinet for student management work |
Applications Claiming Priority (1)
| Application Number | Priority Date | Filing Date | Title |
|---|---|---|---|
| CN202020134623.9U CN211511027U (en) | 2020-01-21 | 2020-01-21 | A filing cabinet for student management work |
Publications (1)
| Publication Number | Publication Date |
|---|---|
| CN211511027U true CN211511027U (en) | 2020-09-18 |
Family
ID=72459676
Family Applications (1)
| Application Number | Title | Priority Date | Filing Date |
|---|---|---|---|
| CN202020134623.9U Expired - Fee Related CN211511027U (en) | 2020-01-21 | 2020-01-21 | A filing cabinet for student management work |
Country Status (1)
| Country | Link |
|---|---|
| CN (1) | CN211511027U (en) |
-
2020
- 2020-01-21 CN CN202020134623.9U patent/CN211511027U/en not_active Expired - Fee Related
Similar Documents
| Publication | Publication Date | Title |
|---|---|---|
| CN211833473U (en) | Multi-functional agricultural economic management filing cabinet | |
| CN211511027U (en) | A filing cabinet for student management work | |
| CN209898680U (en) | Assembled house wardrobe | |
| CN206414023U (en) | A kind of multifunctional trolley with storage door leaf | |
| CN204427208U (en) | A moisture-proof filing management cabinet for offices | |
| CN218869769U (en) | Intelligent file compact shelf | |
| CN108158237A (en) | A kind of file cabinet of management easy to use | |
| CN113261786A (en) | Cabinet is placed to enterprise's consultation management material | |
| CN114532761A (en) | Data storage cabinet convenient to get and take | |
| CN220141118U (en) | A filing cabinet that facilitates classification | |
| CN220024552U (en) | Multifunctional storage cabinet | |
| CN221902889U (en) | Dampproofing archives frame is used in archives management | |
| CN222516446U (en) | A moisture-proof filing cabinet for office file management | |
| CN209003085U (en) | A new multifunctional platform for management science and engineering teaching | |
| CN220898265U (en) | Corner cabinet | |
| CN220876294U (en) | Combined file cabinet | |
| CN209644352U (en) | A new storage cabinet | |
| CN219961077U (en) | Big data equipment protection device | |
| CN221616553U (en) | A new type of assembled file cabinet | |
| CN212037108U (en) | An efficient and convenient community logistics management box | |
| CN205513365U (en) | Special filing cabinet of financial management | |
| CN219803493U (en) | File storage cabinet with good ventilation effect | |
| CN222303403U (en) | Mortice structural solid wood wardrobe | |
| CN221153461U (en) | A filing cabinet | |
| CN213644159U (en) | A laboratory information management device |
Legal Events
| Date | Code | Title | Description |
|---|---|---|---|
| GR01 | Patent grant | ||
| GR01 | Patent grant | ||
| CF01 | Termination of patent right due to non-payment of annual fee |
Granted publication date: 20200918 Termination date: 20220121 |
|
| CF01 | Termination of patent right due to non-payment of annual fee |
