CN211489761U - 一种汽车底盘加工装置 - Google Patents
一种汽车底盘加工装置 Download PDFInfo
- Publication number
- CN211489761U CN211489761U CN202020050746.4U CN202020050746U CN211489761U CN 211489761 U CN211489761 U CN 211489761U CN 202020050746 U CN202020050746 U CN 202020050746U CN 211489761 U CN211489761 U CN 211489761U
- Authority
- CN
- China
- Prior art keywords
- chassis
- plate
- sliding
- fixedly connected
- component
- Prior art date
- Legal status (The legal status is an assumption and is not a legal conclusion. Google has not performed a legal analysis and makes no representation as to the accuracy of the status listed.)
- Active
Links
- 238000003754 machining Methods 0.000 title claims description 9
- 238000001125 extrusion Methods 0.000 claims abstract description 30
- 230000005540 biological transmission Effects 0.000 claims description 23
- 230000003028 elevating effect Effects 0.000 claims description 8
- 238000004080 punching Methods 0.000 claims description 8
- 239000007858 starting material Substances 0.000 abstract description 4
- 238000005457 optimization Methods 0.000 description 6
- 238000005516 engineering process Methods 0.000 description 3
- 238000005553 drilling Methods 0.000 description 2
- 238000007792 addition Methods 0.000 description 1
- 230000000712 assembly Effects 0.000 description 1
- 238000000429 assembly Methods 0.000 description 1
- 230000009286 beneficial effect Effects 0.000 description 1
- 238000009434 installation Methods 0.000 description 1
- 238000012986 modification Methods 0.000 description 1
- 230000004048 modification Effects 0.000 description 1
Images
Landscapes
- Vehicle Cleaning, Maintenance, Repair, Refitting, And Outriggers (AREA)
Abstract
本实用新型涉及加工技术领域,更具体的说是一种汽车底盘加工装置,包括底盘放置底架、挤压固定构件、左右滑动滑道构件、连接滑板构件、底盘打孔装置和打孔升降装置,把汽车底盘放置到放置框上并启动四个伸缩杆I,把底盘固定在放置框与挤压板之间,这时根据孔的坐标位置,启动两个电动机I,通过传动丝杠I带动连接滑板移动,让钻头处于正确横坐标的位置,在启动电动机II,通过顶板带动升降板进行移动,从而让钻头处于正确纵坐标的位置,启动电动机III和伸缩杆II,电动机III带动钻头转动,伸缩杆II通过升降板带动钻头向下移动,从而对底盘进行精准的孔加工。
Description
技术领域
本实用新型涉及加工技术领域,更具体的说是一种汽车底盘加工装置。
背景技术
汽车,即本身具有动力得以驱动,不须依轨道或电力架设,得以机动行驶之车辆。汽车由发动机、底盘、车身和电气设备等组成,而汽车底盘由传动系、行驶系、转向系和制动系四部分组成。底盘作用是支承、安装汽车发动机及其各部件、总成,形成汽车的整体造型,并接受发动机的动力,使汽车产生运动,保证正常行驶。所以汽车底盘是汽车不可缺少的零件,所以设计一种可对汽车底盘进行孔加工的装置尤为重要。
发明内容
本实用新型涉及加工技术领域,更具体的说是一种汽车底盘加工装置,包括底盘放置底架、挤压固定构件、左右滑动滑道构件、连接滑板构件、底盘打孔装置和打孔升降装置,使用本装置可对汽车底盘进行精准的孔加工。
一种汽车底盘加工装置,包括底盘放置底架,该一种汽车底盘加工装置还包括挤压固定构件、左右滑动滑道构件、连接滑板构件、底盘打孔装置和打孔升降装置,所述的底盘放置底架上固定连接有挤压固定构件,挤压固定构件上固定连接有两个左右滑动滑道构件,连接滑板构件与两个左右滑动滑道构件滑动连接,连接滑板构件上滑动连接有底盘打孔装置,打孔升降装置固定连接在底盘打孔装置上并与连接滑板构件通过螺纹连接。
作为本技术方案的进一步优化,本实用新型一种汽车底盘加工装置所述的底盘放置底架包括支撑底板、放置框和伸缩杆I,支撑底板上固定连接有放置框,支撑底板上表面的四角出均固定连接有伸缩杆I。
作为本技术方案的进一步优化,本实用新型一种汽车底盘加工装置所述的挤压固定构件包括挤压板、加工口和电动机I,挤压板固定连接在四个伸缩杆I的上方,挤压板上设置有加工口,挤压板左端的前后两端均固定连接有电动机I。
作为本技术方案的进一步优化,本实用新型一种汽车底盘加工装置所述的左右滑动滑道构件包括固定块、限位滑柱、传动丝杠I和联动框,所述的固定块设置有两个,两个固定块之间固定连接有限位滑柱,传动丝杠I的两端与两个固定块转动连接,联动框与限位滑柱滑动连接并与传动丝杠I通过螺纹连接,两组固定块均固定连接在挤压板上,两个电动机I的输出轴分别与两个传动丝杠I固定连接。
作为本技术方案的进一步优化,本实用新型一种汽车底盘加工装置所述的连接滑板构件包括连接滑板、滑口、轴承座、传动丝杠II和电动机II,连接滑板的两端分别与两个限位滑柱滑动连接,连接滑板的两端位于两个联动框内,连接滑板上设置有滑口,连接滑板上固定连接有两个轴承座,传动丝杠II的两端分别与两个轴承座转动连接,电动机II固定连接在位于后端的轴承座上并与传动丝杠II固定连接。
作为本技术方案的进一步优化,本实用新型一种汽车底盘加工装置所述的底盘打孔装置包括滑块板、电动机III和钻头,滑块板滑动连接在滑口内,滑块板内滑动连接有电动机III,电动机III的输出轴上固定连接有钻头。
作为本技术方案的进一步优化,本实用新型一种汽车底盘加工装置所述的打孔升降装置包括顶板、竖柱、伸缩杆II和升降板,顶板与传动丝杠II通过螺纹连接,顶板下端的四个角和中心位置上分别固定连接有四个竖柱和一个伸缩杆II,升降板与四个竖柱滑动连接并与伸缩杆II的下方固定连接,电动机III与升降板固定连接。
本实用新型一种汽车底盘加工装置的有益效果为:
把汽车底盘放置到放置框上并启动四个伸缩杆I,把底盘固定在放置框与挤压板之间,这时根据孔的坐标位置,启动两个电动机I,通过传动丝杠I带动连接滑板移动,让钻头处于正确横坐标的位置,在启动电动机II,通过顶板带动升降板进行移动,从而让钻头处于正确纵坐标的位置,启动电动机III和伸缩杆II,电动机III带动钻头转动,伸缩杆II通过升降板带动钻头向下移动,从而对底盘进行精准的孔加工。
附图说明
下面结合附图和具体实施方法对本实用新型做进一步详细的说明。
图1为本实用新型一种汽车底盘加工装置结构示意图;
图2为底盘放置底架结构示意图;
图3为挤压固定构件结构示意图;
图4为左右滑动滑道构件结构示意图;
图5为连接滑板构件结构示意图;
图6为底盘打孔装置结构示意图;
图7为打孔升降装置结构示意图。
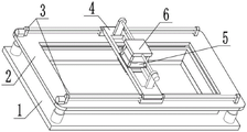
图中:底盘放置底架1;支撑底板1-1;放置框1-2;伸缩杆I1-3;挤压固定构件2;挤压板2-1;加工口2-2;电动机I2-3;左右滑动滑道构件3;固定块3-1;限位滑柱3-2;传动丝杠I3-3;联动框3-4;连接滑板构件4;连接滑板4-1;滑口4-2;轴承座4-3;传动丝杠II4-4;电动机II4-5;底盘打孔装置5;滑块板5-1;电动机III5-2;钻头5-3;打孔升降装置6;顶板6-1;竖柱6-2;伸缩杆II6-3;升降板6-4。
具体实施方式
具体实施方式一:
下面结合图1-7说明本实施方式,本实用新型涉及加工技术领域,更具体的说是一种汽车底盘加工装置,包括底盘放置底架1、挤压固定构件2、左右滑动滑道构件3、连接滑板构件4、底盘打孔装置5和打孔升降装置6,把汽车底盘放置到放置框1-2上并启动四个伸缩杆I1-3,把底盘固定在放置框1-2与挤压板2-1之间,这时根据孔的坐标位置,启动两个电动机I2-3,通过传动丝杠I3-3带动连接滑板4-1移动,让钻头5-3处于正确横坐标的位置,在启动电动机II4-5,通过顶板6-1带动升降板6-4进行移动,从而让钻头5-3处于正确纵坐标的位置,启动电动机III5-2和伸缩杆II6-3,电动机III5-2带动钻头5-3转动,伸缩杆II6-3通过升降板6-4带动钻头5-3向下移动,从而对底盘进行精准的孔加工;
一种汽车底盘加工装置,包括底盘放置底架1,该一种汽车底盘加工装置还包括挤压固定构件2、左右滑动滑道构件3、连接滑板构件4、底盘打孔装置5和打孔升降装置6,所述的底盘放置底架1上固定连接有挤压固定构件2,挤压固定构件2上固定连接有两个左右滑动滑道构件3,连接滑板构件4与两个左右滑动滑道构件3滑动连接,连接滑板构件4上滑动连接有底盘打孔装置5,打孔升降装置6固定连接在底盘打孔装置5上并与连接滑板构件4通过螺纹连接。
具体实施方式二:
下面结合图1-7说明本实施方式,本实施方式对实施方式一作进一步说明所述的底盘放置底架1包括支撑底板1-1、放置框1-2和伸缩杆I1-3,支撑底板1-1起到承载支撑固定的作用,支撑底板1-1上固定连接有放置框1-2,放置框1-2可为底盘提供放置的空间并对其进行固定,支撑底板1-1上表面的四角出均固定连接有伸缩杆I1-3,伸缩杆I1-3可带动挤压板2-1向下移动。
具体实施方式三:
下面结合图1-7说明本实施方式,本实施方式对实施方式二作进一步说明,所述的挤压固定构件2包括挤压板2-1、加工口2-2和电动机I2-3,挤压板2-1固定连接在四个伸缩杆I1-3的上方,利用挤压板2-1对底盘进行固定,挤压板2-1上设置有加工口2-2,在加工口2-2内对底盘进行打孔加工,挤压板2-1左端的前后两端均固定连接有电动机I2-3,两个电动机I2-3可带动两个传动丝杠I3-3转动。
具体实施方式四:
下面结合图1-7说明本实施方式,本实施方式对实施方式三作进一步说明所述的左右滑动滑道构件3包括固定块3-1、限位滑柱3-2、传动丝杠I3-3和联动框3-4,所述的固定块3-1设置有两个,固定块3-1可为限位滑柱3-2和传动丝杠I3-3提供连接的空间,两个固定块3-1之间固定连接有限位滑柱3-2,限位滑柱3-2可为连接滑板4-1提供滑动的空间,传动丝杠I3-3的两端与两个固定块3-1转动连接,转动的传动丝杠I3-3可带动联动框3-4左右滑动,联动框3-4与限位滑柱3-2滑动连接并与传动丝杠I3-3通过螺纹连接,联动框3-4可带动连接滑板4-1左右滑动,两组固定块3-1均固定连接在挤压板2-1上,两个电动机I2-3的输出轴分别与两个传动丝杠I3-3固定连接。
具体实施方式五:
下面结合图1-7说明本实施方式,本实施方式对实施方式四作进一步说明所述的连接滑板构件4包括连接滑板4-1、滑口4-2、轴承座4-3、传动丝杠II4-4和电动机II4-5,连接滑板4-1的两端分别与两个限位滑柱3-2滑动连接,连接滑板4-1的两端位于两个联动框3-4内,连接滑板4-1可带动底盘打孔装置5进行横向移动,从而改变钻头5-3的横向位置,连接滑板4-1上设置有滑口4-2,滑口4-2可为滑块板5-1提供滑动的空间,连接滑板4-1上固定连接有两个轴承座4-3,两个轴承座4-3可为传动丝杠II4-4提供转动的空间并对其进行限位,让传动丝杠II4-4只能绕自身的轴线转动,传动丝杠II4-4的两端分别与两个轴承座4-3转动连接,转动的传动丝杠II4-4可带动顶板6-1前后滑动,电动机II4-5固定连接在位于后端的轴承座4-3上并与传动丝杠II4-4固定连接,电动机II4-5可带动传动丝杠II4-4转动。
具体实施方式六:
下面结合图1-7说明本实施方式,本实施方式对实施方式五作进一步说明所述的底盘打孔装置5包括滑块板5-1、电动机III5-2和钻头5-3,滑块板5-1滑动连接在滑口4-2内,滑块板5-1可为电动机III5-2提供滑动的空间,滑块板5-1内滑动连接有电动机III5-2,电动机III5-2可带动钻头5-3转动,电动机III5-2的输出轴上固定连接有钻头5-3,转动的钻头5-3在向下移动的话可对底盘进行打孔。
具体实施方式七:
下面结合图1-7说明本实施方式,本实施方式对实施方式六作进一步说明所述的打孔升降装置6包括顶板6-1、竖柱6-2、伸缩杆II6-3和升降板6-4,顶板6-1与传动丝杠II4-4通过螺纹连接,顶板6-1可带动滑块板5-1前后移动,从而改变钻头5-3的纵坐标,这样钻头5-3的位置进行被精准的定位,顶板6-1下端的四个角和中心位置上分别固定连接有四个竖柱6-2和一个伸缩杆II6-3,四个竖柱6-2可为升降板6-4进行限位,让升降板6-4只能上下滑动,伸缩杆II6-3可带动升降板6-4进行上下移动,升降板6-4与四个竖柱6-2滑动连接并与伸缩杆II6-3的下方固定连接,升降板6-4可带动电动机III5-2上下移动,从而带动钻头5-3上下,电动机III5-2与升降板6-4固定连接。
本实用新型一种汽车底盘加工装置的工作原理:
把汽车底盘放置到放置框1-2上并启动四个伸缩杆I1-3,把底盘固定在放置框1-2与挤压板2-1之间,这时根据孔的坐标位置,启动两个电动机I2-3,两个电动机I2-3带动两个传动丝杠I3-3转动,转动的两个传动丝杠I3-3通过两个联动框3-4带动连接滑板4-1进行左右移动,让钻头5-3处于正确横坐标的位置,在启动电动机II4-5,通过顶板6-1带动升降板6-4进行移动,升降板6-4通过升降板6-4带动钻头5-3移动,让钻头5-3处于正确纵坐标的位置,启动电动机III5-2和伸缩杆II6-3,电动机III5-2带动钻头5-3转动,伸缩杆II6-3通过升降板6-4带动钻头5-3向下移动,从而对底盘进行精准的孔加工。
当然,上述说明并非对本实用新型的限制,本实用新型也不仅限于上述举例,本技术领域的普通技术人员在本实用新型的实质范围内所做出的变化、改型、添加或替换,也属于本实用新型的保护范围。
Claims (7)
1.一种汽车底盘加工装置,包括底盘放置底架(1),其特征在于:该一种汽车底盘加工装置还包括挤压固定构件(2)、左右滑动滑道构件(3)、连接滑板构件(4)、底盘打孔装置(5)和打孔升降装置(6),所述的底盘放置底架(1)上固定连接有挤压固定构件(2),挤压固定构件(2)上固定连接有两个左右滑动滑道构件(3),连接滑板构件(4)与两个左右滑动滑道构件(3)滑动连接,连接滑板构件(4)上滑动连接有底盘打孔装置(5),打孔升降装置(6)固定连接在底盘打孔装置(5)上并与连接滑板构件(4)通过螺纹连接。
2.根据权利要求1所述的一种汽车底盘加工装置,其特征在于:所述的底盘放置底架(1)包括支撑底板(1-1)、放置框(1-2)和伸缩杆I(1-3),支撑底板(1-1)上固定连接有放置框(1-2),支撑底板(1-1)上表面的四角出均固定连接有伸缩杆I(1-3)。
3.根据权利要求2所述的一种汽车底盘加工装置,其特征在于:所述的挤压固定构件(2)包括挤压板(2-1)、加工口(2-2)和电动机I(2-3),挤压板(2-1)固定连接在四个伸缩杆I(1-3)的上方,挤压板(2-1)上设置有加工口(2-2),挤压板(2-1)左端的前后两端均固定连接有电动机I(2-3)。
4.根据权利要求3所述的一种汽车底盘加工装置,其特征在于:所述的左右滑动滑道构件(3)包括固定块(3-1)、限位滑柱(3-2)、传动丝杠I(3-3)和联动框(3-4),所述的固定块(3-1)设置有两个,两个固定块(3-1)之间固定连接有限位滑柱(3-2),传动丝杠I(3-3)的两端与两个固定块(3-1)转动连接,联动框(3-4)与限位滑柱(3-2)滑动连接并与传动丝杠I(3-3)通过螺纹连接,两组固定块(3-1)均固定连接在挤压板(2-1)上,两个电动机I(2-3)的输出轴分别与两个传动丝杠I(3-3)固定连接。
5.根据权利要求4所述的一种汽车底盘加工装置,其特征在于:所述的连接滑板构件(4)包括连接滑板(4-1)、滑口(4-2)、轴承座(4-3)、传动丝杠II(4-4)和电动机II(4-5),连接滑板(4-1)的两端分别与两个限位滑柱(3-2)滑动连接,连接滑板(4-1)的两端位于两个联动框(3-4)内,连接滑板(4-1)上设置有滑口(4-2),连接滑板(4-1)上固定连接有两个轴承座(4-3),传动丝杠II(4-4)的两端分别与两个轴承座(4-3)转动连接,电动机II(4-5)固定连接在位于后端的轴承座(4-3)上并与传动丝杠II(4-4)固定连接。
6.根据权利要求5所述的一种汽车底盘加工装置,其特征在于:所述的底盘打孔装置(5)包括滑块板(5-1)、电动机III(5-2)和钻头(5-3),滑块板(5-1)滑动连接在滑口(4-2)内,滑块板(5-1)内滑动连接有电动机III(5-2),电动机III(5-2)的输出轴上固定连接有钻头(5-3)。
7.根据权利要求6所述的一种汽车底盘加工装置,其特征在于:所述的打孔升降装置(6)包括顶板(6-1)、竖柱(6-2)、伸缩杆II(6-3)和升降板(6-4),顶板(6-1)与传动丝杠II(4-4)通过螺纹连接,顶板(6-1)下端的四个角和中心位置上分别固定连接有四个竖柱(6-2)和一个伸缩杆II(6-3),升降板(6-4)与四个竖柱(6-2)滑动连接并与伸缩杆II(6-3)的下方固定连接,电动机III(5-2)与升降板(6-4)固定连接。
Priority Applications (1)
| Application Number | Priority Date | Filing Date | Title |
|---|---|---|---|
| CN202020050746.4U CN211489761U (zh) | 2020-01-10 | 2020-01-10 | 一种汽车底盘加工装置 |
Applications Claiming Priority (1)
| Application Number | Priority Date | Filing Date | Title |
|---|---|---|---|
| CN202020050746.4U CN211489761U (zh) | 2020-01-10 | 2020-01-10 | 一种汽车底盘加工装置 |
Publications (1)
| Publication Number | Publication Date |
|---|---|
| CN211489761U true CN211489761U (zh) | 2020-09-15 |
Family
ID=72399330
Family Applications (1)
| Application Number | Title | Priority Date | Filing Date |
|---|---|---|---|
| CN202020050746.4U Active CN211489761U (zh) | 2020-01-10 | 2020-01-10 | 一种汽车底盘加工装置 |
Country Status (1)
| Country | Link |
|---|---|
| CN (1) | CN211489761U (zh) |
Cited By (1)
| Publication number | Priority date | Publication date | Assignee | Title |
|---|---|---|---|---|
| CN113333574A (zh) * | 2021-06-07 | 2021-09-03 | 哈尔滨商业大学 | 一种台式电脑机箱侧板冲压装置 |
-
2020
- 2020-01-10 CN CN202020050746.4U patent/CN211489761U/zh active Active
Cited By (1)
| Publication number | Priority date | Publication date | Assignee | Title |
|---|---|---|---|---|
| CN113333574A (zh) * | 2021-06-07 | 2021-09-03 | 哈尔滨商业大学 | 一种台式电脑机箱侧板冲压装置 |
Similar Documents
| Publication | Publication Date | Title |
|---|---|---|
| CN211614387U (zh) | 一种飞机零部件加工用钻孔装置 | |
| CN111515878A (zh) | 一种柴油发电机加工用夹持组件及其工作方法 | |
| CN211489761U (zh) | 一种汽车底盘加工装置 | |
| CN207138904U (zh) | 一种钣金件冲压钻孔装置 | |
| CN115816100A (zh) | 车辆悬架横梁加工用钻孔定位装置 | |
| CN211028191U (zh) | 一种幕墙曲面型材冲孔用定位装置 | |
| CN213003006U (zh) | 一种具有防夹锯功能的型材切割装置 | |
| CN210111491U (zh) | 电缆头自动化制作装置锯切机 | |
| CN218053004U (zh) | 一种保险杠加工用冲孔设备 | |
| CN110303174B (zh) | 新能源汽车电池支架用龙门钻床 | |
| CN220515501U (zh) | 一种机械零件钻孔装置 | |
| CN217226170U (zh) | 一种房屋维修施工墙体钻孔装置 | |
| CN113618674B (zh) | 一种铁路机车车辆配件拆卸设备 | |
| CN213318715U (zh) | 一种可自动调节角度的产品埋钉机 | |
| CN212976730U (zh) | 一种汽车传动轴车削加工用固定装置 | |
| CN210451252U (zh) | 一种变速箱齿轮加工夹紧装置 | |
| CN211277373U (zh) | 一种机器人电池箱体用集铣磨钻一体化的加工装置 | |
| CN215392609U (zh) | 一种汽车副车架零部件的冲孔机构 | |
| CN219446184U (zh) | 一种电脑后壳自动埋钉的装置 | |
| CN223465639U (zh) | 一种冲切对中结构 | |
| CN220240070U (zh) | 一种车削设备 | |
| CN220480305U (zh) | 一种汽车配件打孔机 | |
| CN216575626U (zh) | 一种传动轴钻孔打磨喷涂一体机 | |
| CN221110002U (zh) | 一种曲轴加工用夹持式调节钻孔装置 | |
| CN222717842U (zh) | 一种矿山机械设备支撑平台 |
Legal Events
| Date | Code | Title | Description |
|---|---|---|---|
| GR01 | Patent grant | ||
| GR01 | Patent grant | ||
| TR01 | Transfer of patent right |
Effective date of registration: 20220927 Address after: No. 1155 Yanshan Road, Bengbu City, Anhui Province 233010 Patentee after: Auto Sergeant School of Military Transportation College of PLA Army Address before: 233000 Room 502, unit 3, building 2, high-rise apartment of Bengbu auto Sergeant school, Anhui Province Patentee before: Hou Jieqiong |
|
| TR01 | Transfer of patent right |