CN211489366U - Limiting device of plate rolling machine - Google Patents
Limiting device of plate rolling machine Download PDFInfo
- Publication number
- CN211489366U CN211489366U CN202020035691.XU CN202020035691U CN211489366U CN 211489366 U CN211489366 U CN 211489366U CN 202020035691 U CN202020035691 U CN 202020035691U CN 211489366 U CN211489366 U CN 211489366U
- Authority
- CN
- China
- Prior art keywords
- fixing
- plate
- fixed
- block
- limit
- Prior art date
- Legal status (The legal status is an assumption and is not a legal conclusion. Google has not performed a legal analysis and makes no representation as to the accuracy of the status listed.)
- Active
Links
Images
Landscapes
- Veneer Processing And Manufacture Of Plywood (AREA)
Abstract
本实用新型公开了一种卷板机限位装置,涉及限位装置技术领域,为解决现有的卷板机在工作时,后端板料传送性能还不够稳定,在卷板时,板料容易翘起的问题。所述主传送工作台下方的两侧均安装有支撑固定腿,且支撑固定腿与主传送工作台通过螺栓连接,所述主传送工作台下方的中间位置处安装有安装固定板,所述主传送工作台上方的中间位置处安装有限位导流机构,所述主传送工作台下方一侧支撑固定腿的前端安装有固定安装块,所述固定安装块的上方安装有电动伸缩杆,所述主传送工作台前端的一侧安装有固定限位块。
The utility model discloses a limit device for a plate rolling machine, which relates to the technical field of the limit device. The problem of easy warping. Supporting and fixing legs are installed on both sides under the main conveying table, and the supporting and fixing legs are connected with the main conveying table by bolts. An installation and fixing plate is installed at the middle position under the main conveying table. A limited guide mechanism is installed at the middle position above the transfer table, a fixed installation block is installed on the front end of the support fixed leg on the lower side of the main transfer table, and an electric telescopic rod is installed above the fixed installation block. A fixed limit block is installed on one side of the front end of the main conveying table.
Description
技术领域technical field
本实用新型涉及限位装置技术领域,具体为一种卷板机限位装置。The utility model relates to the technical field of limiting devices, in particular to a limiting device for a plate rolling machine.
背景技术Background technique
限位装置(caging device),是指保证弹性部件的扭转角不超过某限定值的部件,卷板机是一种利用工作辊使板料弯曲成形的设备,可以成形筒形件、锥形件等不同形状的零件,是非常重要的一种加工设备。卷板机的工作原理是通过液压力、机械力等外力的作用,使工作辊运动,从而使板材压弯或卷弯成形。根据不同形状的工作辊的旋转运动以及位置变化,可以加工出椭圆形件、弧形件、筒形件等零件卷板机由于使用的领域不同,种类也不同。从辊数上分为三辊卷板机和四辊卷板机。三辊又分对称式三辊卷板机,水平下调式三棍卷板机,弧线下调式卷板机,上辊万能式三辊卷板机,液压数控卷板机。从传动上分机械式和液压式。从卷板机的发展上说,上辊万能式最落后,水平下调式略先进,弧线下调式最高级。The caging device refers to the part that ensures that the torsion angle of the elastic part does not exceed a certain limit value. The plate bending machine is a kind of equipment that uses the work roll to bend the sheet material. It can form cylindrical parts and conical parts. It is a very important processing equipment for parts of different shapes. The working principle of the plate bending machine is to make the work roll move through the action of hydraulic pressure, mechanical force and other external forces, so that the plate can be bent or rolled into shape. According to the rotational movement and position changes of work rolls of different shapes, parts such as elliptical parts, arc parts, and cylindrical parts can be processed. According to the number of rolls, it is divided into three-roller and four-roller. The three-roller is divided into a symmetrical three-roller plate rolling machine, a horizontal-down three-roll plate-rolling machine, an arc-down-type plate-rolling machine, an upper-roll universal three-roll plate rolling machine, and a hydraulic CNC plate rolling machine. From the transmission, it is divided into mechanical type and hydraulic type. In terms of the development of the plate rolling machine, the upper roll universal type is the most backward, the horizontal downward type is slightly advanced, and the arc downward type is the most advanced.
但是,现有的卷板机在工作时,后端板料传送性能还不够稳定,在卷板时,板料容易翘起;因此不满足现有的需求,对此我们提出了一种卷板机限位装置。However, when the existing plate rolling machine is working, the back-end sheet material conveying performance is not stable enough, and the sheet material is easy to warp when the plate is rolled; therefore, it does not meet the existing demand, so we propose a plate rolling Machine limit device.
实用新型内容Utility model content
本实用新型的目的在于提供一种卷板机限位装置,以解决上述背景技术中提出的现有的卷板机在工作时,后端板料传送性能还不够稳定,在卷板时,板料容易翘起的问题。The purpose of the present utility model is to provide a limit device for a plate bending machine, so as to solve the problem that the back-end plate material conveying performance is not stable enough when the existing plate bending machine proposed in the above-mentioned background art is working, and the plate material is not stable enough when the plate is rolled. The problem that the material is easy to warp.
为实现上述目的,本实用新型提供如下技术方案:一种卷板机限位装置,包括主传送工作台,所述主传送工作台下方的两侧均安装有支撑固定腿,且支撑固定腿与主传送工作台通过螺栓连接,所述主传送工作台下方的中间位置处安装有安装固定板,所述主传送工作台上方的中间位置处安装有限位导流机构,所述主传送工作台下方一侧支撑固定腿的前端安装有固定安装块,且固定安装块与支撑固定腿通过螺栓连接,所述固定安装块的上方安装有电动伸缩杆,所述主传送工作台前端的一侧安装有固定限位块,且电动伸缩杆的一端贯穿并延伸至固定限位块的上方。In order to achieve the above purpose, the present utility model provides the following technical solutions: a limit device for a plate rolling machine, comprising a main conveying workbench, and supporting and fixing legs are installed on both sides under the main conveying workbench, and the supporting and fixing legs are The main transfer table is connected by bolts, an installation fixing plate is installed at the middle position below the main transfer table, and a limited guide mechanism is installed at the middle position above the main transfer table, and the lower part of the main transfer table A fixed installation block is installed at the front end of one side of the support and fixed leg, and the fixed installation block and the support and fixed leg are connected by bolts. An electric telescopic rod is installed above the fixed installation block, and one side of the front end of the main transfer table is installed with The limit block is fixed, and one end of the electric telescopic rod penetrates and extends above the fixed limit block.
优选的,所述固定限位块的上方安装有限位固定板,所述主传送工作台的两端分别安装有侧边安装板和第二侧边安装板,所述侧边安装板和第二侧边安装板的内侧均安装有多节电动伸缩杆,且多节电动伸缩杆与安装固定板固定连接。Preferably, a limit fixing plate is installed above the fixed limit block, and a side mounting plate and a second side mounting plate are respectively installed at both ends of the main transfer table, and the side mounting plate and the second side mounting plate are respectively installed. The inner side of the side mounting plate is installed with a plurality of electric telescopic rods, and the multi-section electric telescopic rods are fixedly connected with the installation fixing plate.
优选的,所述多节电动伸缩杆的内侧安装有固定连接块,所述固定连接块的内侧安装移动限位块。Preferably, a fixed connection block is installed on the inner side of the multi-section electric telescopic rod, and a moving limit block is installed on the inner side of the fixed connection block.
优选的,所述侧边安装板和第二侧边安装板之间安装有传动滚轴,传动滚轴设置有若干个,且若干个传动滚轴依次分布,所述侧边安装板的后端安装有转动电机,转动电机设置有五个,且转动电机的输出轴与传动滚轴传动连接。Preferably, a transmission roller is installed between the side mounting plate and the second side mounting plate, a plurality of transmission rollers are provided, and the plurality of transmission rollers are distributed in sequence, and the rear end of the side mounting plate A rotating motor is installed, five rotating motors are arranged, and the output shaft of the rotating motor is drive-connected with the transmission roller.
优选的,所述限位固定板的上端安装有固定块,且固定块与限位固定板通过螺钉连接。Preferably, a fixing block is installed on the upper end of the limit fixing plate, and the fixing block and the limit fixing plate are connected by screws.
优选的,所述固定块的上方安装有防滑固定条,防滑固定条设置有若干个,且若干个防滑固定条依次分布,所述限位固定板上端的两侧均设置有固定连接孔。Preferably, an anti-slip fixing strip is installed above the fixing block, several anti-slip fixing strips are provided, and the several anti-slip fixing strips are distributed in sequence, and both sides of the upper end of the limit fixing plate are provided with fixing connection holes.
与现有技术相比,本实用新型的有益效果是:Compared with the prior art, the beneficial effects of the present utility model are:
1、本实用新型通过安装有多个传动滚轴,能够更好的保障卷板机的板料传送性能,通过安装有限位导流机构,能够在一定程度上使得板料的传送更加稳定,不会出现倾斜,使得后期的卷板性能得到更好的保障,通过安装有限位固定板,能够在卷板时更好的进行限位,避免板料翘起,解决了现有的卷板机在工作时,后端板料传送性能还不够稳定,在卷板时,板料容易翘起的问题;1. The utility model can better ensure the sheet material transmission performance of the plate rolling machine by installing a plurality of transmission rollers. There will be inclination, so that the later rolling performance is better guaranteed. By installing the limited fixed plate, it can better limit the position when rolling, avoid the sheet from lifting, and solve the problem of the existing rolling machine. When working, the back-end sheet material transfer performance is not stable enough, and the sheet material is easy to warp when rolling;
2、本实用新型通过安装有多个电动伸缩杆,通过电动伸缩杆的伸缩带动部件运动进行限位,能够更好的保障结构的灵活性能,调节起来更加方便快捷,稳定性更高。2. The utility model is installed with a plurality of electric telescopic rods, and the telescopic driving parts of the electric telescopic rods move to limit the position, which can better ensure the flexibility of the structure, and is more convenient and quick to adjust and has higher stability.
附图说明Description of drawings
图1为本实用新型一种卷板机限位装置的主视图;Fig. 1 is the front view of the limit device of a kind of plate rolling machine of the present invention;
图2为本实用新型一种卷板机限位装置的俯视图;Fig. 2 is the top view of the limit device of a kind of plate rolling machine of the present invention;
图3为本实用新型限位固定板的立体图。FIG. 3 is a perspective view of the limit fixing plate of the present invention.
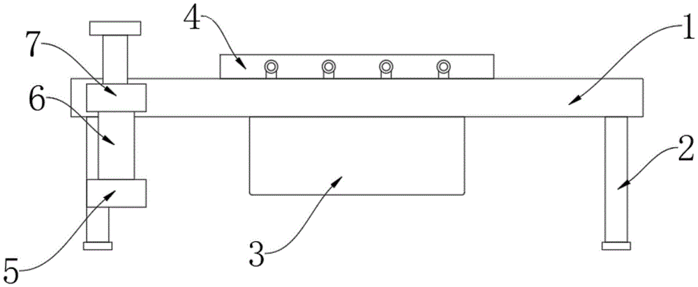
图中:1、主传送工作台;2、支撑固定腿;3、安装固定板;4、限位导流机构;5、固定安装块;6、电动伸缩杆;7、固定限位块;8、限位固定板;9、侧边安装板;10、第二侧边安装板;11、多节电动伸缩杆;12、移动限位块;13、固定连接块;14、转动电机;15、传动滚轴;16、固定块;17、防滑固定条;18、固定连接孔。In the figure: 1. Main conveying table; 2. Supporting and fixing legs; 3. Installing fixing plate; 4. Limiting and guiding mechanism; 5. Fixing installation block; 6. Electric telescopic rod; 7. Fixing limit block; 8 , limit fixing plate; 9, side mounting plate; 10, second side mounting plate; 11, multi-section electric telescopic rod; 12, moving limit block; 13, fixed connection block; 14, rotating motor; 15, Transmission roller; 16. Fixed block; 17. Anti-skid fixing strip; 18. Fixed connection hole.
具体实施方式Detailed ways
下面将结合本实用新型实施例中的附图,对本实用新型实施例中的技术方案进行清楚、完整地描述,显然,所描述的实施例仅仅是本实用新型一部分实施例,而不是全部的实施例。The technical solutions in the embodiments of the present utility model will be clearly and completely described below with reference to the accompanying drawings in the embodiments of the present utility model. Obviously, the described embodiments are only a part of the embodiments of the present utility model, rather than all the implementations. example.
请参阅图1-3,本实用新型提供的一种实施例:一种卷板机限位装置,包括主传送工作台1,主传送工作台1下方的两侧均安装有支撑固定腿2,且支撑固定腿2与主传送工作台1通过螺栓连接,连接性能更加稳定完善,结构性能更好整体的使用性能得到了更好的提升,主传送工作台1下方的中间位置处安装有安装固定板3,主传送工作台1上方的中间位置处安装有限位导流机构4,主传送工作台1下方一侧支撑固定腿2的前端安装有固定安装块5,且固定安装块5与支撑固定腿2通过螺栓连接,能够更好的保障安装拆卸的稳定性能,结构性能更加完善,固定安装块5的上方安装有电动伸缩杆6,主传送工作台1前端的一侧安装有固定限位块7,且电动伸缩杆6的一端贯穿并延伸至固定限位块7的上方,能够更好的保障限位的性能。Please refer to FIGS. 1-3, an embodiment provided by the present utility model: a limit device for a plate rolling machine, comprising a main conveying table 1, and supporting and fixing
进一步,固定限位块7的上方安装有限位固定板8,主传送工作台1的两端分别安装有侧边安装板9和第二侧边安装板10,侧边安装板9和第二侧边安装板10的内侧均安装有多节电动伸缩杆11,且多节电动伸缩杆11与安装固定板3固定连接,结构性能更加完善,稳定性更高,能够更好的保障调节性能。Further, a
进一步,多节电动伸缩杆11的内侧安装有固定连接块13,固定连接块13的内侧安装移动限位块12,能够更好的保障结构的性能,整体的实用性更高。Further, a
进一步,侧边安装板9和第二侧边安装板10之间安装有传动滚轴15,传动滚轴15设置有若干个,且若干个传动滚轴15依次分布,侧边安装板9的后端安装有转动电机14,转动电机14设置有五个,且转动电机14的输出轴与传动滚轴15传动连接,传动性能更加稳定完善,结构强度更好。Further, a
进一步,限位固定板8的上端安装有固定块16,且固定块16与限位固定板8通过螺钉连接,能够更好的保障结构连接的灵活性能,整体的实用性更高。Further, a
进一步,固定块16的上方安装有防滑固定条17,防滑固定条17设置有若干个,且若干个防滑固定条17依次分布,限位固定板8上端的两侧均设置有固定连接孔18,连接固定性能更加稳定完善,实用性更高。Further, an
工作原理:使用时,可以将需要进行卷板的板料放置在主传送工作台1的上方,启动转动电机14,转动电机14的输出轴能够带动传动滚轴15转动,对板料进行输送,输送的过程中,可以启动多节电动伸缩杆11,多节电动伸缩杆11的伸缩带动移动限位块12向中间位置处运动,能够使得板料在运输过程中保持直线,不会偏移,输送至卷板机内部进行卷板时,可以启动电动伸缩杆6,电动伸缩杆6的收缩带动限位固定板8向下运动,能够更好的避免板料在卷板的过程中翘起,结构简单,整体的使用性能更加稳定完善。Working principle: When in use, the sheet material that needs to be rolled can be placed above the main conveying table 1, and the rotating
对于本领域技术人员而言,显然本实用新型不限于上述示范性实施例的细节,而且在不背离本实用新型的精神或基本特征的情况下,能够以其他的具体形式实现本实用新型。因此,无论从哪一点来看,均应将实施例看作是示范性的,而且是非限制性的,本实用新型的范围由所附权利要求而不是上述说明限定,因此旨在将落在权利要求的等同要件的含义和范围内的所有变化囊括在本实用新型内。不应将权利要求中的任何附图标记视为限制所涉及的权利要求。It will be apparent to those skilled in the art that the present invention is not limited to the details of the above-described exemplary embodiments, and that the present invention can be implemented in other specific forms without departing from the spirit or essential characteristics of the present invention. Therefore, the embodiments are to be considered in all respects as exemplary and not restrictive, and the scope of the present invention is defined by the appended claims rather than the foregoing description, and it is therefore intended that the All changes within the meaning and range of the required equivalents are embraced within the present invention. Any reference signs in the claims shall not be construed as limiting the involved claim.
Claims (6)
Priority Applications (1)
| Application Number | Priority Date | Filing Date | Title |
|---|---|---|---|
| CN202020035691.XU CN211489366U (en) | 2020-01-08 | 2020-01-08 | Limiting device of plate rolling machine |
Applications Claiming Priority (1)
| Application Number | Priority Date | Filing Date | Title |
|---|---|---|---|
| CN202020035691.XU CN211489366U (en) | 2020-01-08 | 2020-01-08 | Limiting device of plate rolling machine |
Publications (1)
| Publication Number | Publication Date |
|---|---|
| CN211489366U true CN211489366U (en) | 2020-09-15 |
Family
ID=72399372
Family Applications (1)
| Application Number | Title | Priority Date | Filing Date |
|---|---|---|---|
| CN202020035691.XU Active CN211489366U (en) | 2020-01-08 | 2020-01-08 | Limiting device of plate rolling machine |
Country Status (1)
| Country | Link |
|---|---|
| CN (1) | CN211489366U (en) |
-
2020
- 2020-01-08 CN CN202020035691.XU patent/CN211489366U/en active Active
Similar Documents
| Publication | Publication Date | Title |
|---|---|---|
| CN115178602A (en) | Multipoint roll bending mechanism and method for ultra-wide aluminum alloy plate flattening machine | |
| CN107931377A (en) | Three roller asymmetric working roll of veneer reeling machine lifting drive systems | |
| CN114054544A (en) | Flattening device for copper foil production | |
| CN211489366U (en) | Limiting device of plate rolling machine | |
| CN211727060U (en) | A plate rolling machine that is convenient to adjust the distance of the rolls in the vertical direction | |
| CN220055718U (en) | Material position deviation correcting device | |
| CN211727064U (en) | A plate rolling machine that is easy to adjust the spacing of the rolls | |
| CN220515183U (en) | A bending machine for distribution cabinet production | |
| CN114633050A (en) | Roll-in welding equipment for plate production and processing | |
| CN219817595U (en) | Manual veneer reeling machine | |
| CN214813749U (en) | High stability type evener | |
| CN203109088U (en) | Supporting plate mechanism for bending machine | |
| CN223454889U (en) | Veneer reeling machine with stepless center distance adjusting function | |
| CN102179961B (en) | Device for flatting curling of corrugated paper board | |
| CN216369947U (en) | Simple iron wire straightening machine | |
| CN220646654U (en) | Screw supporting structure and screw driving device using same | |
| CN220921287U (en) | Coiled material pipe positive pressure leveling mechanism of laser cutting machine | |
| CN207057319U (en) | Upper roller is in the roll-type fine straightening machine of horn mouth arrangement | |
| CN219928442U (en) | Anti-warping device for hot rolled steel strip | |
| CN223291720U (en) | Panel processing conveyor | |
| CN223454956U (en) | Adjustable steel plate rolling die | |
| CN205763115U (en) | A kind of tuber | |
| CN220178063U (en) | A kind of feeding equipment for screw production | |
| CN116237413B (en) | A heat-treated aluminum alloy plate stretching machine | |
| CN218340854U (en) | A high-precision three-in-one feeding machine for metal sheets |
Legal Events
| Date | Code | Title | Description |
|---|---|---|---|
| GR01 | Patent grant | ||
| GR01 | Patent grant | ||
| TR01 | Transfer of patent right | ||
| TR01 | Transfer of patent right |
Effective date of registration: 20250908 Address after: Floors 1-2, No. 148, Lane 999, XINER Road, Baoshan District, Shanghai 201900 Patentee after: Shanghai Weide Yichuang Industrial Co.,Ltd. Country or region after: China Address before: Room 1103, Hengtong Building, No. 395 Shangyuan Street, Dongshan Street, Jiangning District, Nanjing City, Jiangsu Province, 211100 Patentee before: Nanjing jiukong Automation Technology Co.,Ltd. Country or region before: China |
