CN211487368U - A low-protein piglet production matching device - Google Patents
A low-protein piglet production matching device Download PDFInfo
- Publication number
- CN211487368U CN211487368U CN201922409040.2U CN201922409040U CN211487368U CN 211487368 U CN211487368 U CN 211487368U CN 201922409040 U CN201922409040 U CN 201922409040U CN 211487368 U CN211487368 U CN 211487368U
- Authority
- CN
- China
- Prior art keywords
- feeding channel
- protein
- piglet
- low
- batching
- Prior art date
- Legal status (The legal status is an assumption and is not a legal conclusion. Google has not performed a legal analysis and makes no representation as to the accuracy of the status listed.)
- Expired - Fee Related
Links
Images
Landscapes
- Accessories For Mixers (AREA)
Abstract
本实用新型公开了一种低蛋白仔猪配合生产配比装置,包括底座和进料通道,所述底座下端面的左右两侧均设置有自锁滚轮,所述收集盒外侧设置有支架,所述配料桶内转动连接有搅拌杆,所述进料通道放置在电子称重计上,所述进料通道的内顶部固定有液压缸,且液压缸的下侧通过活塞杆与移动板相连接,所述进料通道的前端面设置有刻度,所述配料桶的底部贯穿有电动出料阀。该低蛋白仔猪配合生产配比装置,将不同的材料分别放入到对应的进料通道内时,电子称重计可对进料通道内的材料进行称量,方便按照要求的重量比例进行配料,或者通过观察刻度来控制材料的投放量,方便按照要求的体积比例进行配料,从而达到多方式配料的目的。
The utility model discloses a low-protein piglet matching production proportioning device, comprising a base and a feeding channel, self-locking rollers are arranged on the left and right sides of the lower end surface of the base, a bracket is arranged on the outer side of the collection box, and the A stirring rod is rotatably connected in the batching barrel, the feeding channel is placed on an electronic weighing scale, a hydraulic cylinder is fixed on the inner top of the feeding channel, and the lower side of the hydraulic cylinder is connected with the moving plate through a piston rod, The front end surface of the feeding channel is provided with a scale, and the bottom of the batching barrel is provided with an electric discharge valve. The low-protein piglet cooperates with the production proportioning device. When different materials are put into the corresponding feeding channels, the electronic weighing meter can weigh the materials in the feeding channel, which is convenient for batching according to the required weight ratio. , or by observing the scale to control the amount of material put in, it is convenient to batch according to the required volume ratio, so as to achieve the purpose of multi-modal batching.
Description
技术领域technical field
本实用新型具体涉及低蛋白仔猪配合生产技术领域,具体为一种低蛋白仔猪配合生产配比装置。The utility model particularly relates to the technical field of low-protein piglet cooperative production, in particular to a low-protein piglet cooperative production and proportioning device.
背景技术Background technique
在喂养仔猪的过程中需要使用到配合饲料,配合饲料是指在动物的不同生长阶段、不同生理要求、不同生产用途的营养需要,以及以饲料营养价值评定的实验和研究为基础,按科学配方把多种不同来源的饲料依一定比例均匀混合,在混料之前需要对饲料进行配比,因此需要使用到配比装置。In the process of feeding piglets, compound feed is needed. Compound feed refers to the nutritional needs of animals at different growth stages, different physiological requirements, and different production purposes, and based on experiments and researches on the evaluation of the nutritional value of feeds, according to scientific formulas Mix a variety of feeds from different sources evenly in a certain proportion. Before mixing, the feed needs to be proportioned, so a proportioning device is required.
现有的配比装置的配比方式单一,且对材料的混合效果不够均匀,从而影响混料的质量,因此使用起来不够便捷,针对上述问题,需要对现有的设备进行改进。The existing proportioning device has a single proportioning method, and the mixing effect of the materials is not uniform, thereby affecting the quality of the mixture, so it is not convenient to use. In view of the above problems, the existing equipment needs to be improved.
实用新型内容Utility model content
本实用新型的目的在于提供一种低蛋白仔猪配合生产配比装置,以解决上述背景技术中提出的现有的配比装置的配比方式单一,且对材料的混合效果不够均匀,从而影响混料的质量的问题。The purpose of this utility model is to provide a low-protein piglet production proportioning device, in order to solve the problem that the existing proportioning device proposed in the above background technology has a single proportioning method, and the mixing effect of materials is not uniform enough, thereby affecting the mixing effect. material quality issues.
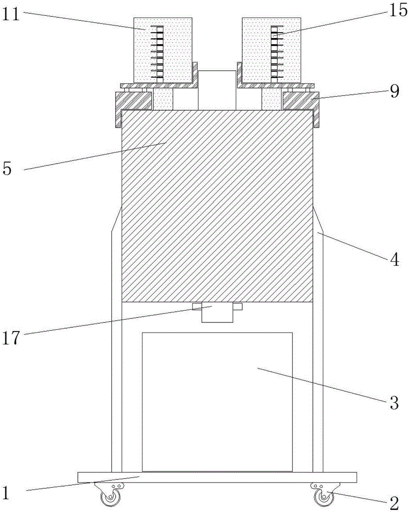
为实现上述目的,本实用新型提供如下技术方案:一种低蛋白仔猪配合生产配比装置,包括底座和进料通道,所述底座下端面的左右两侧均设置有自锁滚轮,且底座上放置有收集盒,所述收集盒外侧设置有支架,且支架固定在底座的上端面,同时支架顶部内侧固定有配料桶,所述配料桶内转动连接有搅拌杆,且配料桶顶部的左右两侧均通过螺栓固定有电子称重计,所述进料通道放置在电子称重计上,且进料通道的底部贯穿配料桶的顶部,所述进料通道的内顶部固定有液压缸,且液压缸的下侧通过活塞杆与移动板相连接,所述进料通道的前端面设置有刻度,所述配料桶的底部贯穿有电动出料阀。In order to achieve the above purpose, the present utility model provides the following technical solutions: a low-protein piglet matching production proportioning device, comprising a base and a feeding channel, the left and right sides of the lower end surface of the base are provided with self-locking rollers, and the base is provided with self-locking rollers. A collection box is placed, a bracket is arranged on the outside of the collection box, and the bracket is fixed on the upper end face of the base, and a batching bucket is fixed on the inner side of the top of the bracket. Both sides are fixed with electronic weighing scales by bolts, the feeding channel is placed on the electronic weighing scale, and the bottom of the feeding channel runs through the top of the batching barrel, and the inner top of the feeding channel is fixed with a hydraulic cylinder, and The lower side of the hydraulic cylinder is connected with the moving plate through the piston rod, the front end surface of the feeding channel is provided with a scale, and the bottom of the batching bucket is penetrated with an electric discharge valve.
优选的,所述配料桶的顶部固定有电机,且电机设置在电子称重计之间,同时电机的下侧通过电机轴转动连接有搅拌杆。Preferably, a motor is fixed on the top of the batching bucket, and the motor is arranged between the electronic weighing scales, and a stirring rod is rotatably connected to the lower side of the motor through the motor shaft.
优选的,所述电子称重计通过螺栓螺纹连接在配料桶上,且电子称重计设置有两个,同时两个电子称重计对称设置。Preferably, the electronic weighing scale is threadedly connected to the batching bucket through bolts, and there are two electronic weighing scales, and the two electronic weighing scales are arranged symmetrically.
优选的,所述进料通道为透明材质。Preferably, the feed channel is made of transparent material.
优选的,所述液压缸通过活塞杆与移动板构成伸缩结构。Preferably, the hydraulic cylinder forms a telescopic structure through a piston rod and a moving plate.
优选的,所述电动出料阀的竖直中轴线与收集盒的竖直中轴线重合。Preferably, the vertical central axis of the electric discharge valve coincides with the vertical central axis of the collection box.
与现有技术相比,本实用新型的有益效果是:该低蛋白仔猪配合生产配比装置,Compared with the prior art, the beneficial effect of the present utility model is: the low-protein piglets cooperate with the production proportioning device,
(1)将不同的材料分别放入到对应的进料通道内时,电子称重计可对进料通道内的材料进行称量,方便按照要求的重量比例进行配料,或者通过观察刻度来控制材料的投放量,方便按照要求的体积比例进行配料,从而达到多方式配料的目的;(1) When different materials are put into the corresponding feeding channels, the electronic weighing scale can weigh the materials in the feeding channel, which is convenient for batching according to the required weight ratio, or control by observing the scale. The amount of material put in is convenient for batching according to the required volume ratio, so as to achieve the purpose of multi-method batching;
(2)配料完成后,移动板可向上移动,此时进料通道处于开启状态,材料随之落到配料桶内,而搅拌杆在转动的过程中可使不同的材料充分的混合在一起,以此完成混料工作;(2) After the batching is completed, the moving plate can move upward. At this time, the feeding channel is open, and the material falls into the batching barrel. The stirring rod can fully mix different materials together during the rotation process. This completes the mixing work;
(3)混料完成后打开电动出料阀,材料随之掉落到收集盒内,方便集中收集。(3) After the mixing is completed, open the electric discharge valve, and the material will fall into the collection box, which is convenient for centralized collection.
附图说明Description of drawings
图1为本实用新型正视剖面结构示意图;Fig. 1 is the front view sectional structure schematic diagram of the utility model;
图2为本实用新型正视外观结构示意图;Fig. 2 is the front view structure schematic diagram of the utility model;
图3为本实用新型俯视结构示意图。FIG. 3 is a schematic top view of the structure of the utility model.
图中:1、底座,2、自锁滚轮,3、收集盒,4、支架,5、配料桶,6、电机,7、电机轴,8、搅拌杆,9、电子称重计,10、螺栓,11、进料通道,12、液压缸,13、活塞杆,14、移动板,15、刻度,16、电动出料阀。In the picture: 1. Base, 2. Self-locking roller, 3. Collection box, 4. Bracket, 5. Batching bucket, 6. Motor, 7. Motor shaft, 8. Stirring rod, 9. Electronic weighing scale, 10. Bolt, 11, Feed channel, 12, Hydraulic cylinder, 13, Piston rod, 14, Moving plate, 15, Scale, 16, Electric discharge valve.
具体实施方式Detailed ways
下面将结合本实用新型实施例中的附图,对本实用新型实施例中的技术方案进行清楚、完整地描述,显然,所描述的实施例仅仅是本实用新型一部分实施例,而不是全部的实施例。基于本实用新型中的实施例,本领域普通技术人员在没有做出创造性劳动前提下所获得的所有其他实施例,都属于本实用新型保护的范围。The technical solutions in the embodiments of the present utility model will be clearly and completely described below with reference to the accompanying drawings in the embodiments of the present utility model. Obviously, the described embodiments are only a part of the embodiments of the present utility model, rather than all the implementations. example. Based on the embodiments of the present invention, all other embodiments obtained by those of ordinary skill in the art without creative work fall within the protection scope of the present invention.
请参阅图1-3,本实用新型提供一种技术方案:一种低蛋白仔猪配合生产配比装置,根据图1所示,底座1下端面的左右两侧均设置有自锁滚轮2,且底座1上放置有收集盒3,收集盒3外侧设置有支架4,且支架4固定在底座1的上端面,同时支架4顶部内侧固定有配料桶5,配料桶5的顶部固定有电机6,且电机6设置在电子称重计9之间,同时电机6的下侧通过电机轴7转动连接有搅拌杆8,材料配比完毕后进入到配料桶5内,搅拌杆8可在电机6和电机轴7的作用下转动,方便将使不同的材料充分的混合在一起。1-3, the present utility model provides a technical solution: a low-protein piglet matching production proportioning device, according to FIG. 1, the left and right sides of the lower end surface of the
根据图1和图2所示,配料桶5内转动连接有搅拌杆8,且配料桶5顶部的左右两侧均通过螺栓10固定有电子称重计9,电子称重计9通过螺栓10螺纹连接在配料桶5上,且电子称重计9设置有两个,同时两个电子称重计9对称设置,拧紧螺栓10可将电子称重计9固定在配料桶5上,将不同的材料放入到对应的进料通道11内时,电子称重计9可对材料起到称重的作用,方便根据要求的重量比例完成配比工作。According to FIG. 1 and FIG. 2 , a
根据图1、图2和图3所示,进料通道11放置在电子称重计9上,且进料通道11的底部贯穿配料桶5的顶部,进料通道11为透明材质,在配比材料的过程中可通过观察刻度15控制材料的投放量,方便根据要求的体积比例完成配比工作,进料通道11的内顶部固定有液压缸12,且液压缸12的下侧通过活塞杆13与移动板14相连接,液压缸12通过活塞杆13与移动板14构成伸缩结构,完成配比工作后,移动板14可在液压缸12和活塞杆13的作用下向上移动,此时进料通道11处于开启状态,材料随之落到配料桶5内,以此方便后续的搅拌混合处理,进料通道11的前端面设置有刻度15,配料桶5的底部贯穿有电动出料阀16,电动出料阀16的竖直中轴线与收集盒3的竖直中轴线重合,材料混合结束后打开电动出料阀16,材料随之落到收集盒3内,方便材料的集中收集。According to Fig. 1, Fig. 2 and Fig. 3, the
工作原理:在使用该低蛋白仔猪配合生产配比装置时,首先通过自锁滚轮2将该装置移动至所需地点,接通至外部电源,拧紧螺栓10,以此将电子称重计9固定在进料通道11上,再将不同的材料放入到对应的进料通道11内,此时可通过观察电子称重计9上显示的数字了解材料的重量,方便按照要求的重量比例完成配比工作,或者可通过观察刻度15了解材料的投放量,方便按照要求的体积比例完成配比工作,配比工作完成后启动液压缸12,液压缸12带动活塞杆13收缩,从而带动移动板14向上移动,此时进料通道11处于开启状态,材料随之落到配料桶5内,启动电机6,电机6带动电机轴7转动,从而带动搅拌杆8转动,以此进行混料操作,混料完成后,打开电动出料阀16,材料随之落到收集盒3内,工作结束后,拿起收集盒3可取出其中的材料,本说明书中未作详细描述的内容属于本领域专业技术人员公知的现有技术。Working principle: When using the low-protein piglet with the production proportioning device, first move the device to the desired location through the self-
术语“中心”、“纵向”、“横向”、“前”、“后”、“左”、“右”、“竖直”、“水平”、“顶”、“底”、“内”、“外”等指示的方位或位置关系为基于附图所示的方位或位置关系,仅是为便于描述本实用新型的简化描述,而不是指示或暗指所指的装置或元件必须具有特定的方位、为特定的方位构造和操作,因而不能理解为对本实用新型保护内容的限制。The terms "center", "portrait", "horizontal", "front", "rear", "left", "right", "vertical", "horizontal", "top", "bottom", "inner", The orientation or positional relationship indicated by "outside" is based on the orientation or positional relationship shown in the accompanying drawings, and is only a simplified description for the convenience of describing the present invention, rather than indicating or implying that the indicated device or element must have a specific Orientation, construction and operation are specific orientations, and therefore should not be construed as limiting the protection content of the present invention.
尽管参照前述实施例对本实用新型进行了详细的说明,对于本领域的技术人员来说,其依然可以对前述各实施例所记载的技术方案进行修改,或者对其中部分技术特征进行等同替换,凡在本实用新型的精神和原则之内,所作的任何修改、等同替换、改进等,均应包含在本实用新型的保护范围之内。Although the present invention has been described in detail with reference to the foregoing embodiments, for those skilled in the art, it is still possible to modify the technical solutions described in the foregoing embodiments, or perform equivalent replacements for some of the technical features. Within the spirit and principle of the present utility model, any modifications, equivalent replacements, improvements, etc. made shall be included within the protection scope of the present utility model.
Claims (6)
Priority Applications (1)
| Application Number | Priority Date | Filing Date | Title |
|---|---|---|---|
| CN201922409040.2U CN211487368U (en) | 2019-12-28 | 2019-12-28 | A low-protein piglet production matching device |
Applications Claiming Priority (1)
| Application Number | Priority Date | Filing Date | Title |
|---|---|---|---|
| CN201922409040.2U CN211487368U (en) | 2019-12-28 | 2019-12-28 | A low-protein piglet production matching device |
Publications (1)
| Publication Number | Publication Date |
|---|---|
| CN211487368U true CN211487368U (en) | 2020-09-15 |
Family
ID=72395779
Family Applications (1)
| Application Number | Title | Priority Date | Filing Date |
|---|---|---|---|
| CN201922409040.2U Expired - Fee Related CN211487368U (en) | 2019-12-28 | 2019-12-28 | A low-protein piglet production matching device |
Country Status (1)
| Country | Link |
|---|---|
| CN (1) | CN211487368U (en) |
-
2019
- 2019-12-28 CN CN201922409040.2U patent/CN211487368U/en not_active Expired - Fee Related
Similar Documents
| Publication | Publication Date | Title |
|---|---|---|
| CN206325431U (en) | A kind of mixing stirring device for Chemical Manufacture | |
| CN211487368U (en) | A low-protein piglet production matching device | |
| CN211659810U (en) | A quantitative batching device for pig feed containing biosolid fermentation raw materials | |
| CN221133939U (en) | Automatic feeding system of resin sand mixer | |
| CN216230101U (en) | An intelligent integrated high-efficiency concrete preparation equipment | |
| CN207187554U (en) | A kind of uniform stirrer of pulvis | |
| CN206025156U (en) | Feed processing production compounding feed arrangement | |
| CN213942732U (en) | A high digestibility special water fish feed production ratio mixing and stirring device | |
| CN205462010U (en) | An automatic batch mixer | |
| CN209224284U (en) | A kind of aluminium powder supplies metering system automatically | |
| CN209576540U (en) | A kind of refractory material production raw material quantitative proportioner | |
| CN219701833U (en) | Quantitative-feeding carbon production stirring type mixing tank | |
| CN212040237U (en) | Proportion-adjustable mixing hopper device | |
| CN209969488U (en) | A water glass sand mixing and feeding device | |
| CN209564878U (en) | A kind of pharmacy room dispensation apparatus | |
| CN216050237U (en) | Batching scale with mixing function for feed preparation | |
| CN222647953U (en) | Bacterial liquid mixing proportion tank capable of quantitatively feeding | |
| CN206718183U (en) | The elastic stirring formula concrete mixer of the continuous balanced feed of sandstone | |
| CN208277190U (en) | Blending plant control system | |
| CN217887682U (en) | Fertile quantitative proportioning device of biological organic carbon | |
| CN220633848U (en) | Feeding and stirring device for liquid acid preparation production | |
| CN221728917U (en) | Agricultural proportional activating and fertilizing device | |
| CN205517549U (en) | Powder medicament mixing equipment | |
| CN215589573U (en) | Can improve concrete mixing device of concrete quality | |
| CN217514241U (en) | Weighing and proportioning machine for concrete production |
Legal Events
| Date | Code | Title | Description |
|---|---|---|---|
| GR01 | Patent grant | ||
| GR01 | Patent grant | ||
| CF01 | Termination of patent right due to non-payment of annual fee |
Granted publication date: 20200915 |
