CN211468472U - Instrument box convenient to move - Google Patents
Instrument box convenient to move Download PDFInfo
- Publication number
- CN211468472U CN211468472U CN201921685947.5U CN201921685947U CN211468472U CN 211468472 U CN211468472 U CN 211468472U CN 201921685947 U CN201921685947 U CN 201921685947U CN 211468472 U CN211468472 U CN 211468472U
- Authority
- CN
- China
- Prior art keywords
- support column
- gear
- slot
- fixed
- instrument box
- Prior art date
- Legal status (The legal status is an assumption and is not a legal conclusion. Google has not performed a legal analysis and makes no representation as to the accuracy of the status listed.)
- Expired - Fee Related
Links
- 238000001514 detection method Methods 0.000 description 2
- 230000005540 biological transmission Effects 0.000 description 1
- 230000003139 buffering effect Effects 0.000 description 1
- 238000004891 communication Methods 0.000 description 1
- 230000007547 defect Effects 0.000 description 1
- 230000007812 deficiency Effects 0.000 description 1
- 238000010586 diagram Methods 0.000 description 1
- 230000000694 effects Effects 0.000 description 1
- 238000009434 installation Methods 0.000 description 1
- 239000000463 material Substances 0.000 description 1
- 238000000034 method Methods 0.000 description 1
- 230000004048 modification Effects 0.000 description 1
- 238000012986 modification Methods 0.000 description 1
Images
Landscapes
- Handcart (AREA)
Abstract
本实用新型公开了一种便于移动的仪表箱,具体涉及仪表箱领域,包括仪表箱外壳,所述仪表箱外壳的底部四角处均设有固定块,所述固定块的内部设有固定槽,所述固定槽的内部设有支撑柱,所述支撑柱的底部贯穿固定槽并延伸至固定块的外部,所述固定轴的内部设有齿轮,所述支撑柱靠近齿轮的一侧设有卡带,所述卡带与齿轮啮合,所述齿轮的中部设有转轴,所述转轴的一端与固定槽的内壁固定连接。本实用新型通过正时针旋转转轴,带动齿轮正时针转动,从而带动卡带向上移动,支撑柱向固定槽方向移动,于是轮子得以与地面接触,方便工作人员对仪表箱进行移动,降低了劳动强度,提高了工作效率。
The utility model discloses an instrument box that is easy to move, and particularly relates to the field of instrument boxes. A support column is arranged inside the fixing slot, the bottom of the support column penetrates the fixing slot and extends to the outside of the fixing block, a gear is arranged inside the fixing shaft, and a cassette is arranged on the side of the support column close to the gear , the cassette is meshed with the gear, the middle of the gear is provided with a rotating shaft, and one end of the rotating shaft is fixedly connected with the inner wall of the fixing groove. The utility model drives the gear to rotate clockwise through the clockwise rotation of the shaft, thereby driving the cassette to move upward, and the support column moves in the direction of the fixed groove, so that the wheels can be in contact with the ground, which facilitates the movement of the instrument box by the staff and reduces labor intensity. Improved work efficiency.
Description
技术领域technical field
本实用新型涉及仪表箱领域,更具体地说,本实用涉及一种便于移动的仪表箱。The utility model relates to the field of instrument boxes, more particularly, the utility model relates to an instrument box which is easy to move.
背景技术Background technique
仪表仪器是用以检出、测量、观察、计算各种物理量、物质成分、物性参数等的器具或设备,工作人员通常使用放置箱对仪表仪器进行携带。Instrumentation is an instrument or equipment used to detect, measure, observe, and calculate various physical quantities, material components, physical parameters, etc. The staff usually use the storage box to carry the instrumentation.
现有技术存在以下不足:由于现有的放置箱不具有移动结构,故当需要进行移动式检测时,工作人员需要经常对仪表仪器进行搬运,不仅劳动强度大,且检测效率低。The prior art has the following deficiencies: since the existing placing box does not have a movable structure, when a mobile detection is required, the staff needs to carry the instruments frequently, which not only has high labor intensity, but also has low detection efficiency.
实用新型内容Utility model content
为了克服现有技术的上述缺陷,本实用新型的实施例提供一种便于移动的仪表箱,通过正时针旋转转轴,带动齿轮正时针转动,从而带动卡带向上移动,支撑柱向固定槽方向移动,于是轮子得以与地面接触,以解决上述背景技术中提出的问题。In order to overcome the above-mentioned defects of the prior art, the embodiment of the present invention provides an instrument box that is easy to move. The rotating shaft is rotated clockwise to drive the gear to rotate clockwise, thereby driving the cassette to move upward, and the support column moves in the direction of the fixed slot. The wheels are then brought into contact with the ground to solve the problems raised in the background art described above.
为实现上述目的,本实用新型提供如下技术方案:一种便于移动的仪表箱,包括仪表箱外壳,所述仪表箱外壳的底部四角处均设有固定块,所述固定块的内部设有固定槽,所述固定槽的内部设有支撑柱,所述支撑柱的底部贯穿固定槽并延伸至固定块的外部,所述固定槽的内部设有齿轮,所述支撑柱靠近齿轮的一侧设有卡带,所述卡带与齿轮啮合,所述齿轮的中部设有转轴,所述转轴的一端与固定槽的内壁固定连接,所述转轴的另一端贯穿固定槽并延伸至固定槽的外部,所述支撑柱的两侧均设有卡块,所述固定槽的两侧壁均设有卡槽,所述卡块滑动连接于卡槽的内部,所述固定块的一侧设有轮子。In order to achieve the above purpose, the present utility model provides the following technical solutions: an instrument box that is easy to move, including an instrument box shell, the bottom four corners of the instrument box shell are provided with fixed blocks, and the interior of the fixed block is provided with fixed blocks. The inner part of the fixing slot is provided with a support column, the bottom of the support column penetrates the fixing slot and extends to the outside of the fixing block, the inner part of the fixing slot is provided with a gear, and the side of the support column close to the gear is arranged There is a cassette, the cassette meshes with the gear, the middle of the gear is provided with a rotating shaft, one end of the rotating shaft is fixedly connected with the inner wall of the fixing slot, and the other end of the rotating shaft penetrates the fixing slot and extends to the outside of the fixing slot, so Both sides of the support column are provided with clamping blocks, both side walls of the fixing groove are provided with clamping grooves, the clamping blocks are slidably connected to the interior of the clamping grooves, and one side of the fixing block is provided with wheels.
在一个优选的实施方式中,所述支撑柱的底部设有底座,所述底座的底部设有橡胶垫,所述底座与支撑柱为一体式设置。In a preferred embodiment, the bottom of the support column is provided with a base, the bottom of the base is provided with a rubber pad, and the base and the support column are integrally provided.
在一个优选的实施方式中,所述仪表箱外壳的一侧设有固定板,所述固定板的外表面设有丝杆,所述固定板的内部设有螺孔。In a preferred embodiment, a fixing plate is arranged on one side of the casing of the instrument box, a screw rod is arranged on the outer surface of the fixing plate, and a screw hole is arranged inside the fixing plate.
在一个优选的实施方式中,所述丝杆转动连接于螺孔的内部,所述丝杆的底部设有推把,所述推把与丝杆之间通过轴承转动连接。In a preferred embodiment, the screw rod is rotatably connected to the inside of the screw hole, the bottom of the screw rod is provided with a push handle, and the push handle and the screw rod are rotatably connected through a bearing.
在一个优选的实施方式中,所述转轴远离齿轮的一端内设有转盘,所述转盘与转轴为一体式设置。In a preferred embodiment, a turntable is provided in one end of the rotating shaft away from the gear, and the turntable and the rotating shaft are integrally provided.
在一个优选的实施方式中,所述仪表箱外壳的底部设有四个第一连接杆,所述第一连接杆的底部设有空槽,四个所述第一连接杆与四个轮子为一一对应设置。In a preferred embodiment, the bottom of the instrument box shell is provided with four first connecting rods, the bottom of the first connecting rod is provided with empty grooves, and the four first connecting rods and the four wheels are One-to-one corresponding settings.
在一个优选的实施方式中,所述空槽的内部设有第二连接杆,所述第二连接杆的顶部设有弹簧,所述第二连接杆的底部贯穿空槽,并延伸出第一连接杆的外部与轮子固定连接。In a preferred embodiment, a second connecting rod is arranged inside the hollow slot, a spring is arranged on the top of the second connecting rod, and the bottom of the second connecting rod penetrates the hollow slot and extends out of the first connecting rod. The outer part of the connecting rod is fixedly connected with the wheel.
在一个优选的实施方式中,所述第二连接杆的两侧均设有滑块,所述空槽的两侧均设有滑槽,所述滑块滑动连接与滑槽的内部。In a preferred embodiment, sliding blocks are provided on both sides of the second connecting rod, sliding grooves are provided on both sides of the hollow groove, and the sliding blocks are slidably connected to the interior of the sliding grooves.
本实用新型的技术效果和优点:Technical effects and advantages of the present utility model:
1、通过正时针旋转转轴,带动齿轮正时针转动,从而带动卡带向上移动,支撑柱向固定槽方向移动,于是轮子得以与地面接触,同时旋转丝杆,带动丝杆在螺孔内旋转,从而推把向上移动,方便工作人员对仪表箱进行移动,降低了劳动强度,提高了工作效率,与现有技术相比,解决了对仪表箱不便移动的问题;1. Through the clockwise rotation of the shaft, the gear is driven to rotate clockwise, thereby driving the cassette to move upward, and the support column moves toward the fixed slot, so that the wheel can contact the ground, and at the same time, the screw is rotated to drive the screw to rotate in the screw hole, thereby The push handle moves upward, which is convenient for the staff to move the instrument box, reduces labor intensity, improves work efficiency, and solves the problem of inconvenient movement of the instrument box compared with the prior art;
2、通过轮子经过凹凸不平的地面时,第二连接杆向空槽方向移动,弹簧受力收缩,带动滑块在滑槽内移动,以此对仪表箱进行缓冲,避免仪表箱在移动的过程中造成器具的晃动,从而影响器具的使用寿命,与现有技术相比,解决了轮子在经过凹凸不平的地面时,仪表箱箱内的器具容易晃动的问题。2. When the wheel passes through the uneven ground, the second connecting rod moves in the direction of the empty groove, and the spring is forced to contract, which drives the slider to move in the chute, so as to buffer the instrument box and avoid the movement of the instrument box. Compared with the prior art, it solves the problem that the utensils in the instrument box are easy to sway when the wheels pass through uneven ground.
附图说明Description of drawings
图1为本实用新型的整体结构示意图。FIG. 1 is a schematic diagram of the overall structure of the present invention.
图2为本实用新型的局部纵剖图。Figure 2 is a partial longitudinal sectional view of the utility model.
图3为本实用新型的左视局部纵剖图。FIG. 3 is a left partial longitudinal sectional view of the utility model.
图4为本实用新型图1的A部结构放大图。FIG. 4 is an enlarged view of the structure of part A of FIG. 1 of the present invention.
图5为本实用新型图2的B部结构放大图。FIG. 5 is an enlarged view of the structure of part B of FIG. 2 of the present invention.
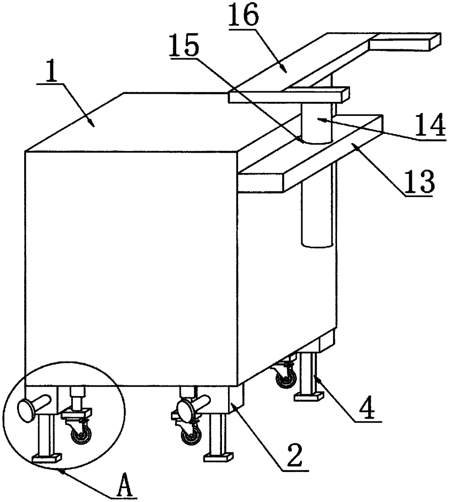
附图标记为:1仪表箱外壳、2固定块、3固定槽、4支撑柱、5齿轮、6 卡带、7转轴、8卡块、9卡槽、10轮子、11底座、12橡胶垫、13固定板、 14丝杆、15螺孔、16推把、17转盘、18第一连接杆、19空槽、20第二连接杆、21弹簧、22滑块、23滑槽。Reference numerals are: 1. instrument box shell, 2. fixing block, 3. fixing slot, 4. support column, 5. gear, 6. cassette, 7. rotating shaft, 8. clamping block, 9. clamping slot, 10. wheel, 11. base, 12. rubber pad, 13. Fixed plate, 14 screw rod, 15 screw hole, 16 push handle, 17 turntable, 18 first connecting rod, 19 empty slot, 20 second connecting rod, 21 spring, 22 slider, 23 chute.
具体实施方式Detailed ways
下面将结合本实用新型实施例中的附图,对本实用新型实施例中的技术方案进行清楚、完整地描述,显然,所描述的实施例仅仅是本实用新型一部分实施例,而不是全部的实施例。基于本实用新型中的实施例,本领域普通技术人员在没有做出创造性劳动前提下所获得的所有其他实施例,都属于本实用新型保护的范围。The technical solutions in the embodiments of the present utility model will be clearly and completely described below with reference to the accompanying drawings in the embodiments of the present utility model. Obviously, the described embodiments are only a part of the embodiments of the present utility model, rather than all the implementations. example. Based on the embodiments of the present invention, all other embodiments obtained by those of ordinary skill in the art without creative work fall within the protection scope of the present invention.
如图1-4所示,本实用新型提供了一种便于移动的仪表箱,包括仪表箱外壳1,所述仪表箱外壳1的底部四角处均设有固定块2,所述固定块2的内部设有固定槽3,所述固定槽3的内部设有支撑柱4,所述支撑柱4的底部贯穿固定槽3并延伸至固定块2的外部,所述固定槽3的内部设有齿轮5,所述支撑柱4靠近齿轮5的一侧设有卡带6,所述卡带6与齿轮5啮合,所述齿轮 5的中部设有转轴7,所述转轴7的一端与固定槽3的内壁固定连接,所述转轴7的另一端贯穿固定槽3并延伸至固定槽3的外部,所述支撑柱4的两侧均设有卡块8,所述固定槽3的两侧壁均设有卡槽9,所述卡块8滑动连接于卡槽9的内部,所述固定块2的一侧设有轮子10;As shown in Figures 1-4, the utility model provides an instrument box that is easy to move, including an instrument box shell 1, and the four corners of the bottom of the instrument box shell 1 are provided with
所述支撑柱4的底部设有底座11,所述底座11的底部设有橡胶垫12,所述底座11与支撑柱4为一体式设置,如此设置,使得结构更加稳固;The bottom of the
所述仪表箱外壳1的一侧设有固定板13,所述固定板13的外表面设有丝杆14,所述固定板13的内部设有螺孔15,如此设置便于对推把16进行收纳;One side of the instrument box shell 1 is provided with a
所述丝杆14转动连接于螺孔15的内部,所述丝杆14的底部设有推把16,所述推把16与丝杆14之间通过轴承转动连接,如此设置保证丝杆14在转动时推把16不会转动;The
所述转轴7远离齿轮5的一端内设有转盘17,所述转盘17与转轴7为一体式设置,如此设置便于工作人员转动转轴7;One end of the rotating
实施方式具体为:当进行移动时,正时针转动转盘17,经过转轴7的传动,从而带动齿轮5正时针转动,卡带6受力有向上移动的趋势,从而带动支撑柱4向固定槽3方向移动,卡块8在卡槽9内移动,从而使得轮子10接触到地面,支撑柱4处于悬空的状态,同时旋转丝杆14,带动丝杆14在螺孔 15内旋进,带动推把16向上移动,从而方便工作人员进行移动,如此便实现了对仪表箱移动的目的,当需要固定时,逆时针旋转转盘17。带动齿轮5逆时针转动,从而带动卡带6向下移动,支撑柱4向远离固定槽3方向移动,直至移动到使得轮子10处于悬空的状态,利用底座11使得支撑柱4与地面的接触面积增大,利用橡胶垫12的纹路,增大支撑柱4与地面的摩擦力,从而使得仪表箱放置的更加稳固,然后旋转丝杆14,带动推把16回到初始位置,如此便实现了固定的目的,简单方便,降低了工作人员的劳动强度,该实施方式具体解决了现有技术中存在的对仪表箱不便移动的问题;The specific embodiment is as follows: when moving, the
如图1-2和图4-5所示,所述仪表箱外壳1的底部设有四个第一连接杆 18,所述第一连接杆18的底部设有空槽19,四个所述第一连接杆18与四个轮子10为一一对应设置,如此设置使得轮子10得以固定在仪表箱的底部;As shown in Figures 1-2 and 4-5, the bottom of the instrument box shell 1 is provided with four first connecting
所述空槽19的内部设有第二连接杆20,所述第二连接杆20的顶部设有弹簧21,所述第二连接杆20的底部贯穿空槽19,并延伸出第一连接杆18的外部与轮子10固定连接,如此设置可以对轮子10进行缓冲;A second connecting
所述第二连接杆20的两侧均设有滑块22,所述空槽19的两侧均设有滑槽23,所述滑块22滑动连接与滑槽23的内部,如此设置便于对第二连接杆 20的运动方向进行限位;Both sides of the second connecting
实施方式具体为:通过轮子10经过凹凸不平的地面时,第二连接杆20 向空槽19方向移动,弹簧21受力收缩,带动滑块22在滑槽23内移动,以此对仪表箱进行缓冲,避免仪表箱在移动的过程中造成器具的晃动,从而影响器具的使用寿命,与该实施方式具体解决了现有技术中存在的轮子10在经过凹凸不平的地面时,仪表箱内的器具容易晃动的问题。The specific embodiment is as follows: when the
本实用新型工作原理:The working principle of the utility model:
参照说明书附图1-5,当进行移动时,正时针转动转盘17,从而带动齿轮5正时针转动,卡带6受力有向上移动的趋势,从而带动支撑柱4向固定槽3方向移动,使得轮子10接触到地面,支撑柱4处于悬空的状态,方便工作人员进行移动,如此便实现了对仪表箱移动的目的,当轮子10经过凹凸不平的地面时,第二连接杆20向空槽19方向移动,弹簧21受力收缩,以此对仪表箱进行缓冲,避免仪表箱内器具受力损害的现象发生。Referring to the accompanying drawings 1-5 of the description, when moving, the
最后应说明的几点是:首先,在本申请的描述中,需要说明的是,除非另有规定和限定,术语“安装”、“相连”、“连接”应做广义理解,可以是机械连接或电连接,也可以是两个元件内部的连通,可以是直接相连,“上”、“下”、“左”、“右”等仅用于表示相对位置关系,当被描述对象的绝对位置改变,则相对位置关系可能发生改变;The last points that should be noted are: First, in the description of this application, it should be noted that, unless otherwise specified and limited, the terms "installation", "connection" and "connection" should be understood in a broad sense, and may be mechanical connection. Or electrical connection, or internal communication between two elements, or direct connection, "up", "down", "left", "right", etc. are only used to indicate relative positional relationship, when the absolute position of the object being described changes, the relative positional relationship may change;
其次:本实用新型公开实施例附图中,只涉及到与本公开实施例涉及到的结构,其他结构可参考通常设计,在不冲突情况下,本实用新型同一实施例及不同实施例可以相互组合;Secondly: in the drawings of the disclosed embodiments of the present invention, only the structures involved in the embodiments of the present invention are involved, and other structures may refer to the general design. In the case of no conflict, the same embodiment and different embodiments of the present invention can be mutually combination;
最后:以上所述仅为本实用新型的优选实施例而已,并不用于限制本实用新型,凡在本实用新型的精神和原则之内,所作的任何修改、等同替换、改进等,均应包含在本实用新型的保护范围之内。Finally: the above is only the preferred embodiment of the present utility model, and is not intended to limit the present utility model, all within the spirit and principle of the present utility model, any modification, equivalent replacement, improvement, etc. made, should include within the scope of protection of the present invention.
Claims (8)
Priority Applications (1)
| Application Number | Priority Date | Filing Date | Title |
|---|---|---|---|
| CN201921685947.5U CN211468472U (en) | 2019-10-05 | 2019-10-05 | Instrument box convenient to move |
Applications Claiming Priority (1)
| Application Number | Priority Date | Filing Date | Title |
|---|---|---|---|
| CN201921685947.5U CN211468472U (en) | 2019-10-05 | 2019-10-05 | Instrument box convenient to move |
Publications (1)
| Publication Number | Publication Date |
|---|---|
| CN211468472U true CN211468472U (en) | 2020-09-11 |
Family
ID=72374745
Family Applications (1)
| Application Number | Title | Priority Date | Filing Date |
|---|---|---|---|
| CN201921685947.5U Expired - Fee Related CN211468472U (en) | 2019-10-05 | 2019-10-05 | Instrument box convenient to move |
Country Status (1)
| Country | Link |
|---|---|
| CN (1) | CN211468472U (en) |
-
2019
- 2019-10-05 CN CN201921685947.5U patent/CN211468472U/en not_active Expired - Fee Related
Similar Documents
| Publication | Publication Date | Title |
|---|---|---|
| CN110587561A (en) | Power equipment overhauls uses toolbox | |
| CN210594121U (en) | Snatch formula vanning machine and snatch mechanism | |
| CN211468472U (en) | Instrument box convenient to move | |
| CN209769519U (en) | A foldable environmental design blueprint display table | |
| CN211898900U (en) | An easy-to-build anti-vibration building frame | |
| CN210804955U (en) | An urban planning layout display agency | |
| CN210346677U (en) | Slope measuring device for building engineering | |
| CN209678004U (en) | A Portable City Planning Display Stand | |
| CN207717824U (en) | A kind of battery testing probe | |
| CN218327322U (en) | Measuring instrument for tunnel construction | |
| CN207505270U (en) | A kind of Intelligent household central control platform support | |
| CN215826766U (en) | Novel material transfer device for bridge construction | |
| CN210065029U (en) | A lift mechanism | |
| CN210818971U (en) | Marble polishing device | |
| CN211835961U (en) | Adjustable slider structure for fire engine arm support | |
| CN211838025U (en) | a laboratory platform | |
| CN210983786U (en) | A kind of personnel pre-job training equipment for human resources | |
| CN217743817U (en) | Model for environmental art design | |
| CN210852565U (en) | Magnetic core is transfer device for workshop | |
| CN214332011U (en) | Modular display screen blackboard convenient to split | |
| CN211554359U (en) | Miniature environmental monitoring weather station | |
| CN207762186U (en) | A kind of electromechanical equipment damping device | |
| CN221758218U (en) | Storage device for processing metal base of optoelectronic device | |
| CN220640708U (en) | Radiation health monitoring tool box | |
| CN221402511U (en) | A foldable rangefinder |
Legal Events
| Date | Code | Title | Description |
|---|---|---|---|
| GR01 | Patent grant | ||
| GR01 | Patent grant | ||
| CF01 | Termination of patent right due to non-payment of annual fee | ||
| CF01 | Termination of patent right due to non-payment of annual fee |
Granted publication date: 20200911 Termination date: 20211005 |
