CN211447252U - A new type of supporting H-shaped steel beam-column structure - Google Patents
A new type of supporting H-shaped steel beam-column structure Download PDFInfo
- Publication number
- CN211447252U CN211447252U CN201922367140.3U CN201922367140U CN211447252U CN 211447252 U CN211447252 U CN 211447252U CN 201922367140 U CN201922367140 U CN 201922367140U CN 211447252 U CN211447252 U CN 211447252U
- Authority
- CN
- China
- Prior art keywords
- shaped steel
- column
- steel beam
- stiffening plate
- plate
- Prior art date
- Legal status (The legal status is an assumption and is not a legal conclusion. Google has not performed a legal analysis and makes no representation as to the accuracy of the status listed.)
- Expired - Fee Related
Links
Images
Landscapes
- Joining Of Building Structures In Genera (AREA)
Abstract
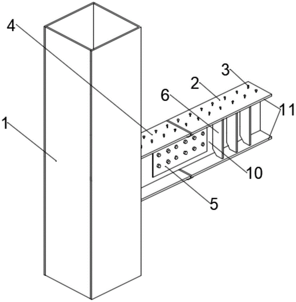
本实用新型公开了一种新型支撑H型钢梁柱结构,包括钢柱、H型钢梁和H型钢腹板,钢柱一侧对称设有钢柱牛腿,H型钢梁和钢柱牛腿上均设有上下翼缘板,H型钢梁通过连接板固定连接于两个钢柱牛腿之间,在H型钢梁靠近两端位置的正面固定设有H型钢梁正面垂直加劲板和三块H型钢梁正面横向加劲板,在H型钢梁靠近两端位置的背面与正面对称固定设有H型钢梁背面垂直加劲板和三块H型钢梁背面横向加劲板,该钢结构梁柱支撑为隐形式结构设计,去掉了目前钢结构梁柱支撑设计中大量使用的外露隅撑和外露加腋,在增加建筑净空高度的同时大大提高了建筑结构的整体规整度,美观大方,方便实用。
The utility model discloses a novel supporting H-shaped steel beam-column structure. Both have upper and lower flange plates, the H-shaped steel beam is fixedly connected between the two steel column corbels through the connecting plate, and the front of the H-shaped steel beam near the two ends is fixed with the H-shaped steel beam front vertical stiffening plate and Three horizontal stiffening plates on the front of the H-shaped steel beam, and the back of the H-shaped steel beam near the two ends are symmetrically fixed with the front. The structural beam-column support is a hidden structure design, which removes the exposed corner braces and exposed haunches that are widely used in the current steel structure beam-column support design, which greatly improves the overall regularity of the building structure while increasing the building headroom. ,Convenient and practical.
Description
技术领域technical field
本实用新型涉及钢结构技术领域,具体是一种新型支撑H型钢梁柱结构。The utility model relates to the technical field of steel structures, in particular to a novel supporting H-shaped steel beam-column structure.
背景技术Background technique
H型钢梁隅撑(水平支撑)为了防止H型钢受压翼缘(H型钢梁下翼缘)屈曲失稳,增加受压翼缘的稳定性而设置的,隅撑(水平支撑)的设置是用来保证梁的下翼缘受压部分的局部稳定,梁的上翼缘的局部稳定由与之连接成为一体的楼层板保证(在H型钢梁上翼缘打有栓钉,与混凝土楼层板浇筑成整体),因此梁的上翼缘不存在整体稳定问题。H-beam corner braces (horizontal bracing) are provided to prevent buckling and instability of H-beam compression flanges (lower flanges of H-beams) and increase the stability of the compression flanges. The setting is used to ensure the local stability of the compression part of the lower flange of the beam, and the local stability of the upper flange of the beam is ensured by the floor slab connected to it (the upper flange of the H-beam has studs, which are connected with the concrete floor). The slab is cast as a whole), so there is no overall stability problem for the upper flange of the beam.
现有的H型钢梁支撑结构包括隅撑和加腋均外露在楼层板下面,几乎每层每户都能看见,非常的不美观,为了美观必须全部做吊顶处理,不仅降低了层高而且在很大程度上增加了施工成本,因此提出一种新型支撑H型钢梁柱结构来解决上述问题是非常有必要的。The existing H-shaped steel beam support structure, including the corner bracing and the haunch, are exposed under the floor slab, which can be seen by almost every household on every floor. To a large extent, the construction cost is increased, so it is very necessary to propose a new type of support H-shaped steel beam-column structure to solve the above problems.
实用新型内容Utility model content
本实用新型的实施例目的在于提供一种新型支撑H型钢梁柱结构,以解决上述问题。The purpose of the embodiments of the present invention is to provide a novel supporting H-shaped steel beam-column structure to solve the above problems.
为实现上述目的,本实用新型提供如下技术方案:To achieve the above object, the utility model provides the following technical solutions:
一种新型支撑H型钢梁柱结构,包括钢柱、H型钢梁和H型钢腹板,钢柱一侧对称设有钢柱牛腿,H型钢梁和钢柱牛腿上均设有上下翼缘板,H型钢梁通过连接板和上下翼缘板焊接于两个钢柱牛腿之间,在H型钢梁靠近两端位置的正面固定设有H型钢梁正面垂直加劲板和三块H型钢梁正面横向加劲板,在H型钢梁靠近两端位置的背面与正面对称固定设有H型钢梁背面垂直加劲板和三块H型钢梁背面横向加劲板。A new type of supporting H-shaped steel beam-column structure, including steel columns, H-shaped steel beams and H-shaped steel webs, a steel column corbel is symmetrically arranged on one side of the steel column, and upper and lower wings are arranged on both the H-shaped steel beam and the steel column corbel The flange plate, the H-shaped steel beam is welded between the two steel column corbels through the connecting plate and the upper and lower flange plates, and the front of the H-shaped steel beam near the two ends is fixed with a vertical stiffening plate on the front of the H-shaped steel beam and three A horizontal stiffening plate on the front of the H-shaped steel beam is fixed symmetrically with the front at the back of the H-shaped steel beam near both ends.
在一种可选方案中:所述H型钢梁在钢柱牛腿之间的上下翼缘板采用焊接连接。In an optional solution, the upper and lower flange plates of the H-shaped steel beam between the steel column corbels are connected by welding.
在一种可选方案中:所述H型钢梁正面横向加劲板和H型钢梁背面横向加劲板三面围焊于H型钢腹板和上下翼缘板之间。In an optional solution, the front lateral stiffening plate of the H-shaped steel beam and the rear lateral stiffening plate of the H-shaped steel beam are welded between the H-shaped steel web plate and the upper and lower flange plates on three sides.
在一种可选方案中:所述H型钢梁正面垂直加劲板和H型钢梁背面垂直加劲板均为倒梯形结构且每块垂直加劲板上均开设有个矩形塞焊孔,所述矩形塞焊孔宽度与横向加劲板厚度相同,长度为两倍的横向加劲板厚度,矩形塞焊孔开设位置对准横向加劲板,矩形塞焊孔用于组焊安装时将垂直加劲板和横向加劲板外侧焊接在一起。In an optional solution: the front vertical stiffening plate of the H-shaped steel beam and the vertical stiffening plate on the back of the H-shaped steel beam are both inverted trapezoidal structures, and each vertical stiffening plate is provided with a rectangular plug welding hole. The width of the rectangular plug welding hole is the same as the thickness of the lateral stiffening plate, and the length is twice the thickness of the lateral stiffening plate. The opening position of the rectangular plug welding hole is aligned with the lateral stiffening plate. The outside of the stiffeners are welded together.
在一种可选方案中:所述钢柱牛腿的上翼缘板和H型钢梁的上翼缘板上均均匀设有多个栓钉。In an optional solution, the upper flange plate of the steel column corbel and the upper flange plate of the H-shaped steel beam are uniformly provided with a plurality of studs.
在一种可选方案中:所述钢柱牛腿及两块梯形垂直加劲板外两个侧面和下翼缘板三面均包裹有防火保护层。In an optional solution: the steel column corbel and the two outer sides of the two trapezoidal vertical stiffening plates and the three sides of the lower flange plate are all wrapped with fire protection layers.
相较于现有技术,本实用新型实施例的有益效果如下:Compared with the prior art, the beneficial effects of the embodiments of the present utility model are as follows:
1、钢结构梁柱支撑完全采用隐形结构设计,由于H型钢梁下翼缘支撑隅撑和H型钢梁下加腋完全内置并隐藏于H型钢梁内,横向加劲板起到了外露隅撑的作用,垂直加劲板起到了外露钢梁加腋的作用,室内住户再也看不见各种不雅观的钢结构支撑,能看见的只有横平竖直的用25毫米防火涂料包裹的钢梁和钢柱,建筑结构十分规整,即使不装修不吊顶也十分美观,同时节约了材料和施工费用,降低了工程成本,提高了建筑实际可利用空间。1. The steel structure beam-column support is completely designed with invisible structure. Since the lower flange support bracket of the H-shaped steel beam and the lower haunch of the H-shaped steel beam are completely built-in and hidden in the H-shaped steel beam, the lateral stiffening plate plays an exposed corner. The vertical stiffening plate plays the role of the exposed steel beam and the armpit. The indoor residents can no longer see all kinds of unsightly steel structure supports. What they can see is only the horizontal and vertical steel beams and steel columns wrapped with 25mm fireproof paint. , The building structure is very regular, even if it is not decorated or suspended, it is very beautiful, and at the same time saves materials and construction costs, reduces engineering costs, and improves the actual usable space of the building.
附图说明Description of drawings
图1为本实用新型第一实施例的结构示意图。FIG. 1 is a schematic structural diagram of the first embodiment of the present invention.
图2为图1后视图。FIG. 2 is a rear view of FIG. 1 .
图3为本实用新型第一实施例另一视角结构示意图。FIG. 3 is a schematic structural diagram from another perspective of the first embodiment of the present invention.
图4为图3后视图。FIG. 4 is a rear view of FIG. 3 .
附图标记注释:1-钢柱、2-H型钢梁、3-栓钉、4-钢柱牛腿、5-连接板、6-H型钢梁正面横向加劲板、7-H型钢梁背面横向加劲板、8-H型钢梁正面垂直加劲板、9-H型钢梁背面垂直加劲板、10-H型钢腹板、11-上下翼缘板、12-矩形塞焊孔。Reference number notes: 1-steel column, 2-H-beam, 3-bolt, 4-steel column corbel, 5-connecting plate, 6-H-beam front transverse stiffening plate, 7-H-beam Horizontal stiffening plate on the back of the beam, vertical stiffening plate on the front of 8-H-shaped steel beam, vertical stiffening plate on the back of 9-H-shaped steel beam, 10-H-shaped steel web, 11-upper and lower flange plate, 12-rectangular plug welding hole.
具体实施方式Detailed ways
为了使本实用新型的目的、技术方案及优点更加清楚明白,以下结合附图及实施例,对本实用新型进行进一步详细说明。应当理解,此处所描述的具体实施例仅仅用以解释本实用新型,并不用于限定本实用新型。In order to make the purpose, technical solutions and advantages of the present utility model more clearly understood, the present utility model will be further described in detail below with reference to the accompanying drawings and embodiments. It should be understood that the specific embodiments described herein are only used to explain the present invention, and are not intended to limit the present invention.
实施例1Example 1
请参阅图1~4,本实用新型实施例中,一种新型支撑H型钢梁柱结构,包括钢柱1、H型钢梁2和H型钢腹板10,钢柱1一侧对称设有钢柱牛腿4,H型钢梁2和钢柱牛腿4上均设有上下翼缘板11,钢柱牛腿4均与钢柱1焊接固定,H型钢腹板10通过连接板5螺栓连接及上下翼缘板11焊接于两个钢柱牛腿4之间,所述连接板5上均匀设有多个用于连接钢柱牛腿4和H型钢梁2的螺栓孔,H型钢梁2在钢柱牛腿4之间的上下翼缘板11采用焊接连接,在H型钢梁2靠近两端位置的正面固定设有H型钢梁正面垂直加劲板8和三块H型钢梁正面横向加劲板6,在H型钢梁2靠近两端位置的背面与正面对称固定设有H型钢梁背面垂直加劲板9和三块H型钢梁背面横向加劲板7,所述H型钢梁正面横向加劲板6和H型钢梁背面横向加劲板7三面围焊于H型钢腹板10和上下翼缘板11之间,H型钢梁正面垂直加劲板8和H型钢梁背面垂直加劲板9均为倒梯形结构且每块垂直加劲板上均开设有6个矩形塞焊孔12,所述矩形塞焊孔12宽度与横向加劲板厚度相同,长度为两倍的横向加劲板厚度,相邻的两块横向加劲板之间的间距为H型钢梁2高度的一半且厚度与H型钢腹板10厚度相同,矩形塞焊孔12用于组焊安装时将垂直加劲板和横向加劲板外侧焊接在一起。Please refer to FIGS. 1 to 4. In the embodiment of the present invention, a novel supporting H-shaped steel beam-column structure includes a
钢柱牛腿4的上翼缘板和H型钢梁2的上翼缘板上均均匀设有多个栓钉3;钢柱牛腿4及两块梯形垂直加劲板外两个侧面和下翼缘板三面均包裹有防火保护层,所述防火保护层厚度为25毫米,分五层喷涂每层5毫米,每层喷涂完成后用抹子压光,充分干燥后再喷涂下一层。The upper flange plate of the steel column corbel 4 and the upper flange plate of the H-
在组焊安装时,首先组焊钢柱1和H型钢梁2,在H型钢梁2的两端固定位置分别焊接三块H型钢梁正面横向加劲板6和H型钢梁背面三块横向加劲板7,组装时将钢梁2的H型钢腹板10用螺栓固定在两个钢柱牛腿4之间的腹板上,接着将H型钢梁2两端的上下翼缘板11分别焊接在钢柱牛腿4两端的上下翼缘板11上,然后在H型钢梁2的上下翼缘板11与H型钢腹板10的空腔内填充轻质混凝土,接着焊接H型钢梁正面垂直加劲板8和H型钢梁背面垂直加劲板9,再在正面和背面两块垂直加劲板上的六个矩形塞焊孔12进行塞焊填充直到焊满为止,最后在钢柱牛腿4及两块梯形垂直加劲板外两个侧面和下翼缘板三个面包裹25mm防火保护层,分5层喷涂每层5mm,每层用抹子压光,充分干燥后再喷涂下一层,结构简单,方便实用。During the assembly welding installation, firstly weld the
实施例2Example 2
一种新型支撑H型钢梁柱结构,支撑完全采用隐形结构设计,由于H型钢梁2下翼缘与钢柱1之间的隅撑和H型钢梁2下翼缘与钢柱1加腋完全内置并隐藏于H型钢梁2内,横向加劲板起到了外露隅撑的作用,垂直加劲板起到了外露钢梁加腋的作用,钢梁下部用户再也看不见各种不雅观的支撑,能看见的只有包裹有25毫米防火涂料而且横平竖直的H型钢梁2和钢柱1,使用户有混凝土结构的舒适感和钢结构的安全感,建筑结构十分规整,即使不装修不吊顶也十分美观,同时节约了材料和施工费用,降低了工程成本,提高了建筑实际可利用空间。A new type of support H-shaped steel beam-column structure, the support is completely designed with invisible structure, because the corner brace between the lower flange of the H-
本实用新型的组装原则是:首先在两个钢柱牛腿4之间用螺栓连接已经制作好并带有横向加劲板的H型钢梁2的H型钢腹板10,接着将接H型钢梁2两端的上下翼缘板11分别焊接在钢柱牛腿4的上下翼缘板11上,然后在H型钢梁的上下翼缘板11与H型钢腹板10的空腔内填充轻质混凝土,接着焊接H型钢梁2正面垂直加劲板8和H型钢梁背面垂直加劲板9,再焊接每块垂直加劲板上的六个矩形塞焊孔12直到焊满为止,最后在钢柱牛腿4及两块梯形垂直加劲板外两个侧面和下翼缘板三个面包裹25mm防火保护层,分5层喷涂每层5mm,每层用抹子压光,充分干燥后再喷涂下一层,结构简单,方便实用。The assembly principle of the present utility model is as follows: first, connect the H-
以上所述仅为本实用新型的较佳实施例而已,并不用以限制本实用新型,凡在本实用新型的精神和原则之内所作的任何修改、等同替换和改进等,均应包含在本实用新型的保护范围之内。The above are only preferred embodiments of the present invention, and are not intended to limit the present invention. Any modifications, equivalent replacements and improvements made within the spirit and principles of the present invention shall be included in the present invention. within the scope of protection of the utility model.
Claims (6)
Priority Applications (1)
| Application Number | Priority Date | Filing Date | Title |
|---|---|---|---|
| CN201922367140.3U CN211447252U (en) | 2019-12-25 | 2019-12-25 | A new type of supporting H-shaped steel beam-column structure |
Applications Claiming Priority (1)
| Application Number | Priority Date | Filing Date | Title |
|---|---|---|---|
| CN201922367140.3U CN211447252U (en) | 2019-12-25 | 2019-12-25 | A new type of supporting H-shaped steel beam-column structure |
Publications (1)
| Publication Number | Publication Date |
|---|---|
| CN211447252U true CN211447252U (en) | 2020-09-08 |
Family
ID=72300972
Family Applications (1)
| Application Number | Title | Priority Date | Filing Date |
|---|---|---|---|
| CN201922367140.3U Expired - Fee Related CN211447252U (en) | 2019-12-25 | 2019-12-25 | A new type of supporting H-shaped steel beam-column structure |
Country Status (1)
| Country | Link |
|---|---|
| CN (1) | CN211447252U (en) |
Cited By (1)
| Publication number | Priority date | Publication date | Assignee | Title |
|---|---|---|---|---|
| CN116733002A (en) * | 2023-06-10 | 2023-09-12 | 江苏若琪建筑产业有限公司 | Construction deep foundation pit H-shaped steel flange pull joint rib structure connection mode |
-
2019
- 2019-12-25 CN CN201922367140.3U patent/CN211447252U/en not_active Expired - Fee Related
Cited By (1)
| Publication number | Priority date | Publication date | Assignee | Title |
|---|---|---|---|---|
| CN116733002A (en) * | 2023-06-10 | 2023-09-12 | 江苏若琪建筑产业有限公司 | Construction deep foundation pit H-shaped steel flange pull joint rib structure connection mode |
Similar Documents
| Publication | Publication Date | Title |
|---|---|---|
| CN102979172A (en) | Industrialized assembled multi-story high-rise steel structure prestressed centrally-braced system | |
| CN205296573U (en) | Assembly type structure load -bearing wall panel | |
| CN103276795B (en) | Steel-concrete slab-column structure system | |
| CN211447252U (en) | A new type of supporting H-shaped steel beam-column structure | |
| CN108086535B (en) | An Assembled Square Steel Tube Steel Plate Concrete Composite Shear Wall | |
| CN111379354A (en) | A light-weight steel mesh wall and a building body constructed therefrom | |
| CN107859403A (en) | A kind of assembled arthitecutral structure | |
| CN104674949A (en) | Portable shelter | |
| CN207063166U (en) | A kind of assembled Mixed Architecture suitable for high residential building | |
| CN209817602U (en) | Three-dimensional assembled sound absorption and insulation firewall module enclosure structure | |
| CN204456438U (en) | Prefabricated house | |
| CN222275771U (en) | A steel structure for refuge floor of high-rise building | |
| CN109469351B (en) | Unit type construction enclosure for rebuilding airport terminal without stopping navigation and construction method thereof | |
| CN109339242B (en) | Assembled cold-formed thin-wall section steel combined house structure system and construction method | |
| CN209025381U (en) | A kind of steel bamboo combination elevator | |
| CN110005123A (en) | A kind of stable type heat insulation prefabricated panel structure | |
| CN213014786U (en) | Prefabricated bearing wall for modular building | |
| CN104264780B (en) | Post and curved beam horizontal flexibility connection space structural system | |
| CN205444552U (en) | Fire prevention formula shear force wall building structure | |
| CN205063128U (en) | Steel construction villa floor board package assembly | |
| CN104358462A (en) | Flame-retardant composite house structure with polyester ethylene wall slabs | |
| CN207988625U (en) | A kind of assembled arthitecutral structure | |
| CN216641043U (en) | Steel structure bearing wall | |
| CN111576662A (en) | Prefabricated bearing wall for modular building | |
| CN206769249U (en) | Set up the structure of fire-fighting steel stair |
Legal Events
| Date | Code | Title | Description |
|---|---|---|---|
| GR01 | Patent grant | ||
| GR01 | Patent grant | ||
| CF01 | Termination of patent right due to non-payment of annual fee | ||
| CF01 | Termination of patent right due to non-payment of annual fee |
Granted publication date: 20200908 |
