CN211445825U - Local guenching unit of high-accuracy heavy punch press guide rail - Google Patents
Local guenching unit of high-accuracy heavy punch press guide rail Download PDFInfo
- Publication number
- CN211445825U CN211445825U CN202020171071.9U CN202020171071U CN211445825U CN 211445825 U CN211445825 U CN 211445825U CN 202020171071 U CN202020171071 U CN 202020171071U CN 211445825 U CN211445825 U CN 211445825U
- Authority
- CN
- China
- Prior art keywords
- guide rail
- clamping
- water
- blocks
- pipe
- Prior art date
- Legal status (The legal status is an assumption and is not a legal conclusion. Google has not performed a legal analysis and makes no representation as to the accuracy of the status listed.)
- Active
Links
- XLYOFNOQVPJJNP-UHFFFAOYSA-N water Substances O XLYOFNOQVPJJNP-UHFFFAOYSA-N 0.000 claims abstract description 58
- 238000010791 quenching Methods 0.000 claims abstract description 27
- 230000000171 quenching effect Effects 0.000 claims abstract description 26
- 239000007788 liquid Substances 0.000 claims description 18
- 238000003860 storage Methods 0.000 claims description 15
- 230000005540 biological transmission Effects 0.000 claims description 4
- 230000000903 blocking effect Effects 0.000 claims description 4
- 239000007921 spray Substances 0.000 claims description 3
- 239000003651 drinking water Substances 0.000 claims 2
- 235000020188 drinking water Nutrition 0.000 claims 2
- 238000004064 recycling Methods 0.000 abstract description 4
- 230000009286 beneficial effect Effects 0.000 abstract description 2
- 238000005086 pumping Methods 0.000 abstract description 2
- 238000004080 punching Methods 0.000 description 8
- 238000010586 diagram Methods 0.000 description 3
- 238000000034 method Methods 0.000 description 3
- 238000004891 communication Methods 0.000 description 1
- 230000003993 interaction Effects 0.000 description 1
- 238000003754 machining Methods 0.000 description 1
- 238000004519 manufacturing process Methods 0.000 description 1
- 239000000463 material Substances 0.000 description 1
- 238000005507 spraying Methods 0.000 description 1
- 239000002699 waste material Substances 0.000 description 1
Images
Classifications
-
- Y—GENERAL TAGGING OF NEW TECHNOLOGICAL DEVELOPMENTS; GENERAL TAGGING OF CROSS-SECTIONAL TECHNOLOGIES SPANNING OVER SEVERAL SECTIONS OF THE IPC; TECHNICAL SUBJECTS COVERED BY FORMER USPC CROSS-REFERENCE ART COLLECTIONS [XRACs] AND DIGESTS
- Y02—TECHNOLOGIES OR APPLICATIONS FOR MITIGATION OR ADAPTATION AGAINST CLIMATE CHANGE
- Y02P—CLIMATE CHANGE MITIGATION TECHNOLOGIES IN THE PRODUCTION OR PROCESSING OF GOODS
- Y02P10/00—Technologies related to metal processing
- Y02P10/20—Recycling
Landscapes
- Heat Treatment Of Articles (AREA)
Abstract
本实用新型公开了一种高精密重型冲床导轨局部淬火装置,包括操作台,操作台顶端的两侧均固定安装有夹紧块,两个夹紧块的内部均转动连接有第一丝杆,两个第一丝杆的外部均通过第一丝杆螺母螺纹连接有移动块,两个夹紧块内部的底端均开设有与移动块相匹配的移动槽,本实用新型的有益效果是:通过设置第一丝杆、第一丝杆螺母、移动块和支撑杆与夹紧板之间的相互配合,当转动转把时,使得相对应的移动块同时做相对运动,配合转轴,带动相对应的夹紧板进行摆动,从而便对冲床导轨进行夹紧固定,提高淬火质量;通过设置的循环泵、出水软管、抽水管和横管与漏水槽之间的相互配合,从而实现水资源的循环利用。
The utility model discloses a local quenching device for a guide rail of a high-precision heavy-duty punch, comprising an operating table, clamping blocks are fixedly installed on both sides of the top of the operating table, and a first screw rod is rotatably connected inside the two clamping blocks. The exteriors of the two first screw rods are threadedly connected with moving blocks through the first screw rod nuts, and the bottom ends of the two clamping blocks are provided with moving grooves matching the moving blocks. The beneficial effects of the utility model are: By arranging the mutual cooperation between the first screw rod, the first screw nut, the moving block, the support rod and the clamping plate, when the turning handle is rotated, the corresponding moving blocks are simultaneously moved relative to each other, and cooperate with the rotating shaft to drive the corresponding moving blocks. The corresponding clamping plate swings, thereby clamping and fixing the guide rail of the punch press and improving the quenching quality; through the cooperation between the circulation pump, water outlet hose, water pumping pipe and horizontal pipe and the leakage groove, water resources can be realized. of recycling.
Description
技术领域technical field
本实用新型涉及一种淬火装置,特别涉及一种高精密重型冲床导轨局部淬火装置,属于冲床导轨加工技术领域。The utility model relates to a quenching device, in particular to a high-precision heavy-duty punching machine guide rail local quenching device, which belongs to the technical field of punching machine guideway processing.
背景技术Background technique
冲压设备是一种广泛使用的加工设备,冲压设备常见的有高精密重型冲床,通过匹配不同模具,高精密重型冲床实现了对各种类型零部件的加工成型,冲压工艺由于比传统机械加工来说有节约材料和能源,效率高,对操作者技术要求不高及通过各种模具应用可以做出机械加工所无法达到的产品这些优点,因而它的用途越来越广泛。冲床导轨是高精密重型冲床主要核心,冲床导轨在生产的过程中常会用到局部淬火装置,对其进行淬火。Stamping equipment is a widely used processing equipment. High-precision heavy-duty punches are commonly used in stamping equipment. By matching different molds, high-precision heavy-duty punches realize the processing and forming of various types of parts. The stamping process is more difficult than traditional machining. It is said that it has the advantages of saving materials and energy, high efficiency, low technical requirements for operators, and products that cannot be achieved by mechanical processing through various mold applications, so it is more and more widely used. The punch guide rail is the main core of the high-precision heavy-duty punch press. The punch guide rail is often used in a local quenching device during the production process to quench it.
现有的淬火装置不便于对冲床导轨进行固定,淬火的过程中容易出现误差,影响淬火质量;且现有的淬火装置不便于进行水循环,易造成水资源的浪费。The existing quenching device is inconvenient to fix the guide rail of the punching machine, and errors are prone to occur during the quenching process, which affects the quenching quality; and the existing quenching device is not convenient for water circulation, which is easy to cause waste of water resources.
实用新型内容Utility model content
本实用新型的目的在于提供一种高精密重型冲床导轨局部淬火装置,以解决上述背景技术中提出的不便于对冲床导轨进行固定,不便于进行水循环的问题。The purpose of this utility model is to provide a high-precision heavy-duty punching machine guide rail local quenching device, so as to solve the problem of inconvenience in fixing the punching machine guideway and inconvenient for water circulation proposed in the above-mentioned background art.
为实现上述目的,本实用新型提供如下技术方案:一种高精密重型冲床导轨局部淬火装置,包括操作台,所述操作台顶端的两侧均固定安装有夹紧块,两个所述夹紧块的内部均转动连接有第一丝杆,两个所述第一丝杆的外部均通过第一丝杆螺母螺纹连接有移动块,两个所述夹紧块内部的底端均开设有与移动块相匹配的移动槽,相对应的两个第一丝杆螺母的旋向相反,每两个相对应的所述移动块的顶端均通过铰链铰接有支撑杆,两个所述夹紧块的表面均开设有摆动槽,两个所述摆动槽的内部均通过两个转轴转动连接有夹紧板,每两个相对应的所述支撑杆的顶端均通过铰链分别与相对应夹紧板的底端铰接,所述操作台的内部分别固定安装有循环泵和储水箱,所述循环泵的抽水口与抽水管的一端固定连接,所述抽水管的另一端穿过储水箱置于储水箱一侧内壁的底端,所述操作台顶端的一边测固定安装有支撑板,所述支撑板的内部固定安装有正反转电机,所述支撑板的内部开设有滑槽,所述滑槽的内部转动连接有第二丝杆,所述正反转电机的传动轴穿过滑槽与第二丝杆的一端固定连接,所述第二丝杆的外部通过第二丝杆螺母螺纹连接有滑块,所述滑块的一侧固定安装有横管,所述循环泵的出水口与出水软管的一端固定连接,所述出水软管的另一端穿过操作台与横管的底端固定连接。In order to achieve the above purpose, the present utility model provides the following technical solutions: a high-precision heavy-duty punching machine guide rail local quenching device, including an operating table, both sides of the top of the operating table are fixedly installed with clamping blocks, two of the clamping blocks. A first screw rod is rotatably connected to the inside of the block, a moving block is threadedly connected to the outside of the two first screw rods through the first screw nut, and the bottom ends of the two clamping blocks are provided with The corresponding moving grooves of the moving blocks have opposite directions of rotation of the corresponding two first screw nuts, and the top ends of each of the two corresponding moving blocks are hinged with support rods through hinges, and the two clamping blocks There are swing grooves on the surface of the two swing grooves, and the inner parts of the two swing grooves are connected with clamping plates through two rotating shafts. The bottom end is hinged, a circulating pump and a water storage tank are fixedly installed inside the operating table, the water suction port of the circulating pump is fixedly connected with one end of the water suction pipe, and the other end of the water suction pipe passes through the water storage tank and is placed in the storage tank. The bottom end of the inner wall of one side of the water tank, and one side of the top of the operating table is fixedly installed with a support plate, the inside of the support plate is fixedly installed with a forward and reverse rotation motor, and the inside of the support plate is provided with a chute, the slide The inside of the slot is rotatably connected with a second screw rod, the transmission shaft of the forward and reverse motor is fixedly connected with one end of the second screw rod through the chute, and the outside of the second screw rod is threadedly connected by a second screw rod nut There is a slider, a horizontal pipe is fixedly installed on one side of the slider, the water outlet of the circulating pump is fixedly connected with one end of the water outlet hose, and the other end of the water outlet hose passes through the operation table and the bottom of the horizontal pipe. End fixed connection.
作为本实用新型的一种优选技术方案,所述操作台的顶端开设有漏水槽,所述漏水槽与储水箱相互连通,两个所述夹紧块之间固定安装有封堵板,所述操作台正面的顶部和正面的底部分别固定安装有进液管和出液管,所述进液管的中部和出液管的中部分别固定安装有进液阀和出液阀。As a preferred technical solution of the present invention, the top of the operating table is provided with a water leakage groove, the water leakage groove and the water storage tank are communicated with each other, and a blocking plate is fixedly installed between the two clamping blocks. A liquid inlet pipe and a liquid outlet pipe are respectively fixedly installed on the top and bottom of the front of the operating table, and a liquid inlet valve and a liquid outlet valve are respectively fixedly installed in the middle of the liquid inlet pipe and the middle part of the liquid outlet pipe.
作为本实用新型的一种优选技术方案,每个所述夹紧板的一侧均固定安装有弹簧,每个所述弹簧的一端分别与相对应夹紧块的内壁固定连接。As a preferred technical solution of the present invention, a spring is fixedly installed on one side of each of the clamping plates, and one end of each of the springs is respectively fixedly connected to the inner wall of the corresponding clamping block.
作为本实用新型的一种优选技术方案,两个所述第一丝杆的一端均固定安装有转把。As a preferred technical solution of the present invention, a turning handle is fixedly installed at one end of the two first screw rods.
作为本实用新型的一种优选技术方案,所述横管的底端固定安装有若干个喷头。As a preferred technical solution of the present invention, a plurality of spray heads are fixedly installed at the bottom end of the horizontal pipe.
作为本实用新型的一种优选技术方案,所述支撑板正面的顶部固定安装有开关面板,所述开关面板的表面分别固定安装有循环泵开关和正反转电机开关,所述循环泵和正反转电机分别通过循环泵开关和正反转电机开关与电源电性连接。As a preferred technical solution of the present invention, a switch panel is fixedly installed on the top of the front of the support plate, and a circulating pump switch and a forward and reverse rotation motor switch are fixedly installed on the surface of the switch panel, respectively. The motor is electrically connected to the power supply through the circulation pump switch and the forward and reverse motor switches respectively.
与现有技术相比,本实用新型的有益效果是:本实用新型一种高精密重型冲床导轨局部淬火装置,通过设置第一丝杆、第一丝杆螺母、移动块和支撑杆与夹紧板之间的相互配合,当转动转把时,带动第一丝杆进行正反向转动,使得相对应的移动块同时做相对运动,配合转轴,带动相对应的夹紧板进行摆动,从而便对冲床导轨进行夹紧固定,提高淬火质量;通过设置的循环泵、出水软管、抽水管和横管与漏水槽之间的相互配合,从而实现水资源的循环利用;通过设置的正反转电机、滑块、第二丝杆螺母和滑槽之间相互配合,从而便于带动滑块和横管进行反复移动,从而便于局部淬火,使用起来更加便捷。Compared with the prior art, the beneficial effects of the present utility model are as follows: the utility model is a high-precision heavy-duty punching machine guide rail local quenching device, by setting the first screw rod, the first screw nut, the moving block and the support rod and clamping The mutual cooperation between the plates, when the turning handle is rotated, the first screw rod is driven to rotate in the forward and reverse directions, so that the corresponding moving blocks can perform relative movement at the same time, and the corresponding clamping plates are driven to swing with the rotating shaft, so as to facilitate the The guide rail of the punch press is clamped and fixed to improve the quenching quality; through the cooperation between the set circulating pump, the water outlet hose, the suction pipe, the horizontal pipe and the leakage groove, the recycling of water resources can be realized; through the set forward and reverse rotation The motor, the slider, the second screw nut and the chute cooperate with each other, so that the slider and the horizontal tube can be moved repeatedly, which is convenient for local quenching and more convenient to use.
附图说明Description of drawings
图1为本实用新型的结构示意图;Fig. 1 is the structural representation of the utility model;
图2为本实用新型夹紧块的剖面结构示意图;Fig. 2 is the sectional structure schematic diagram of the clamping block of the utility model;
图3为本实用新型的剖面结构示意图;Fig. 3 is the sectional structure schematic diagram of the utility model;
图4为本实用新型正反转电机的结构示意图。FIG. 4 is a schematic structural diagram of the forward and reverse rotation motor of the present invention.
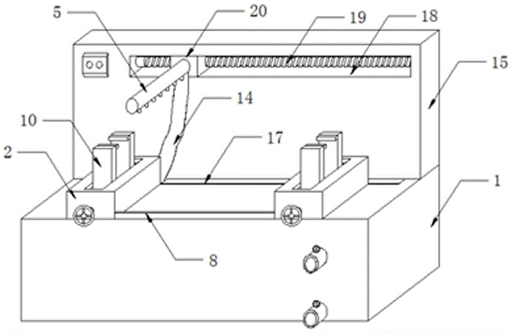
图中:1、操作台;2、夹紧块;3、第一丝杆;4、移动块;5、横管;6、支撑杆;7、弹簧;8、封堵板;9、转轴;10、夹紧板;11、储水箱;12、循环泵;13、抽水管;14、出水软管;15、支撑板;16、正反转电机;17、漏水槽;18、滑槽;19、第二丝杆;20、滑块。In the figure: 1. console; 2. clamping block; 3. first screw rod; 4. moving block; 5. horizontal tube; 6. support rod; 7. spring; 8. blocking plate; 9. rotating shaft; 10. Clamping plate; 11. Water storage tank; 12. Circulating pump; 13. Suction pipe; 14. Water outlet hose; 15. Support plate; 16. Forward and reverse motor; 17. Water leakage groove; 18. Chute; 19 , the second screw; 20, the slider.
具体实施方式Detailed ways
下面将结合本实用新型实施例中的附图,对本实用新型实施例中的技术方案进行清楚、完整地描述,显然,所描述的实施例仅仅是本实用新型一部分实施例,而不是全部的实施例。基于本实用新型中的实施例,本领域普通技术人员在没有做出创造性劳动前提下所获得的所有其他实施例,都属于本实用新型保护的范围。The technical solutions in the embodiments of the present utility model will be clearly and completely described below with reference to the accompanying drawings in the embodiments of the present utility model. Obviously, the described embodiments are only a part of the embodiments of the present utility model, rather than all the implementations. example. Based on the embodiments of the present invention, all other embodiments obtained by those of ordinary skill in the art without creative work fall within the protection scope of the present invention.
请参阅图1-4,本实用新型提供了一种高精密重型冲床导轨局部淬火装置,包括操作台1,操作台1顶端的两侧均固定安装有夹紧块2,两个夹紧块2的内部均转动连接有第一丝杆3,两个第一丝杆3的外部均通过第一丝杆螺母螺纹连接有移动块4,两个夹紧块2内部的底端均开设有与移动块4相匹配的移动槽,相对应的两个第一丝杆螺母的旋向相反,使得相对应移动块4同时做相对运动;每两个相对应的移动块4的顶端均通过铰链铰接有支撑杆6,两个夹紧块2的表面均开设有摆动槽,两个摆动槽的内部均通过两个转轴9转动连接有夹紧板10,便于对冲床导轨进行夹紧固定;每两个相对应的支撑杆6的顶端均通过铰链分别与相对应夹紧板10的底端铰接,操作台1的内部分别固定安装有循环泵12和储水箱11,便于进行水循环,实现水资源的循环利用;循环泵12的抽水口与抽水管13的一端固定连接,抽水管13的另一端穿过储水箱11置于储水箱11一侧内壁的底端,操作台1顶端的一边测固定安装有支撑板15,支撑板15的内部固定安装有正反转电机16,支撑板15的内部开设有滑槽18,滑槽18的内部转动连接有第二丝杆19,正反转电机16的传动轴穿过滑槽18与第二丝杆19的一端固定连接,第二丝杆19的外部通过第二丝杆螺母螺纹连接有滑块20,滑块20的一侧固定安装有横管5,循环泵12的出水口与出水软管14的一端固定连接,出水软管14的另一端穿过操作台1与横管5的底端固定连接。Please refer to FIGS. 1-4 , the utility model provides a high-precision heavy-duty punching machine guide rail local quenching device, including an operating table 1, and
优选的,操作台1的顶端开设有漏水槽17,漏水槽17与储水箱11相互连通,两个夹紧块2之间固定安装有封堵板8,操作台1正面的顶部和正面的底部分别固定安装有进液管和出液管,进液管的中部和出液管的中部分别固定安装有进液阀和出液阀,便于对萃取后的水体再次进入储水箱11,从而实现水资源的循环利用,同时便于进行水体;每个夹紧板10的一侧均固定安装有弹簧7,每个弹簧7的一端分别与相对应夹紧块2的内壁固定连接,便于起到复位的作用;两个第一丝杆3的一端均固定安装有转把,便于带动第一丝杆3进行正反向转动;横管5的底端固定安装有若干个喷头,便于对其进行喷水,实现局部淬火;支撑板15正面的顶部固定安装有开关面板,开关面板的表面分别固定安装有循环泵开关和正反转电机开关,循环泵12和正反转电机16分别通过循环泵开关和正反转电机开关与电源电性连接,便于更好的控制各个用电器工作运转。Preferably, the top of the operating table 1 is provided with a
具体使用时,本实用新型一种高精密重型冲床导轨局部淬火装置,当需要使用该局部淬火装置时,首先将该局部淬火装置放置在工作地点,通过转动转把,带动第一丝杆3进行正向转动,配合第一丝杆螺母,使得相对应的两个移动块4同时做相对运动,带动夹紧板10进行摆动,从而便于对相关冲床导轨进行夹紧固定,然后通过相关喷火枪,对冲床导轨进行加热升温,通过正反转电机开关控制型号可为ZWL47FP的正反转电机16进行工作,正反转电机16的传动轴带动第二丝杆19进行正向转动,配合第二丝杆螺母和滑块20,调整横管5及喷头的位置,然后通过循环泵开关控制型号可为ISG40-125的循环泵12进行工作,通过出水软管14、抽水管13和横管5对加热处进行喷水淬火即可;淬火后的水体,通过漏水槽17流至储水箱11内,实现水资源的循环利用;最后将局部淬火后的冲床导轨进行取下即可(只需反向转动转把,重复上述步骤)。In specific use, the utility model is a local quenching device for the guide rail of a high-precision heavy-duty punch. When the local quenching device needs to be used, the local quenching device is first placed at the work site, and the
在本实用新型的描述中,需要理解的是,指示的方位或位置关系为基于附图所示的方位或位置关系,仅是为了便于描述本实用新型和简化描述,而不是指示或暗示所指的装置或元件必须具有特定的方位、以特定的方位构造和操作,因此不能理解为对本实用新型的限制。In the description of the present invention, it should be understood that the indicated orientation or positional relationship is based on the orientation or positional relationship shown in the accompanying drawings, which is only for the convenience of describing the present invention and simplifying the description, rather than indicating or implying the indicated The device or element must have a specific orientation, be constructed and operated in a specific orientation, and therefore should not be construed as a limitation of the present invention.
在本实用新型中,除非另有明确的规定和限定,例如,可以是固定连接,也可以是可拆卸连接,或成一体;可以是机械连接,也可以是电连接;可以是直接相连,也可以通过中间媒介间接相连,可以是两个元件内部的连通或两个元件的相互作用关系,除非另有明确的限定,对于本领域的普通技术人员而言,可以根据具体情况理解上述术语在本实用新型中的具体含义。In the present utility model, unless otherwise expressly specified and limited, for example, it may be a fixed connection, a detachable connection, or an integrated body; it may be a mechanical connection or an electrical connection; it may be a direct connection, or a It can be indirectly connected through an intermediate medium, it can be the communication between two elements or the interaction relationship between the two elements, unless otherwise clearly defined, for those of ordinary skill in the art, the above terms can be understood according to the specific situation in this document. The specific meaning in the utility model.
Claims (6)
Priority Applications (1)
| Application Number | Priority Date | Filing Date | Title |
|---|---|---|---|
| CN202020171071.9U CN211445825U (en) | 2020-02-15 | 2020-02-15 | Local guenching unit of high-accuracy heavy punch press guide rail |
Applications Claiming Priority (1)
| Application Number | Priority Date | Filing Date | Title |
|---|---|---|---|
| CN202020171071.9U CN211445825U (en) | 2020-02-15 | 2020-02-15 | Local guenching unit of high-accuracy heavy punch press guide rail |
Publications (1)
| Publication Number | Publication Date |
|---|---|
| CN211445825U true CN211445825U (en) | 2020-09-08 |
Family
ID=72303470
Family Applications (1)
| Application Number | Title | Priority Date | Filing Date |
|---|---|---|---|
| CN202020171071.9U Active CN211445825U (en) | 2020-02-15 | 2020-02-15 | Local guenching unit of high-accuracy heavy punch press guide rail |
Country Status (1)
| Country | Link |
|---|---|
| CN (1) | CN211445825U (en) |
Cited By (2)
| Publication number | Priority date | Publication date | Assignee | Title |
|---|---|---|---|---|
| CN113500339A (en) * | 2021-07-26 | 2021-10-15 | 中国铁建重工集团股份有限公司 | Welding tool for long straight workpiece |
| CN116162769A (en) * | 2023-03-01 | 2023-05-26 | 山东科技大学 | Induction hardening system and hardening method for adjustable linear guide rail |
-
2020
- 2020-02-15 CN CN202020171071.9U patent/CN211445825U/en active Active
Cited By (3)
| Publication number | Priority date | Publication date | Assignee | Title |
|---|---|---|---|---|
| CN113500339A (en) * | 2021-07-26 | 2021-10-15 | 中国铁建重工集团股份有限公司 | Welding tool for long straight workpiece |
| CN113500339B (en) * | 2021-07-26 | 2022-11-18 | 中国铁建重工集团股份有限公司 | Welding tool for long straight workpiece |
| CN116162769A (en) * | 2023-03-01 | 2023-05-26 | 山东科技大学 | Induction hardening system and hardening method for adjustable linear guide rail |
Similar Documents
| Publication | Publication Date | Title |
|---|---|---|
| CN211445825U (en) | Local guenching unit of high-accuracy heavy punch press guide rail | |
| CN115488714A (en) | Thin-wall part burr polishing device and using method thereof | |
| CN212695003U (en) | High-frequency transformer pin correcting device | |
| CN212822622U (en) | High-pressure cleaning machine for cleaning burrs of aluminum castings | |
| CN109605486A (en) | Cutting means are used in a kind of production of aluminium-plastic panel | |
| CN221966349U (en) | Belt cleaning device that auto parts processing was used | |
| CN219985670U (en) | Cleaning device based on hydraulic cylinder barrel is used | |
| CN220559926U (en) | Flushing device for control valve plate of oil sprayer | |
| CN209036245U (en) | Metal grinding device based on electric automation | |
| CN118086640A (en) | Induction hardening machine tool capable of automatically adding workpieces | |
| CN221437724U (en) | New energy source board type oil tank heat radiation structure | |
| CN221415980U (en) | Cylinder body trompil equipment of polishing for plunger pump | |
| CN220944666U (en) | High-efficient lathe is used in roll production | |
| CN220498797U (en) | Polishing device for processing hardware fittings | |
| CN222471984U (en) | Aluminum mould board production is with processingequipment that polishes | |
| CN220863815U (en) | Outer frame limiting clamp for door plate manufacturing | |
| CN223171146U (en) | A manufacturing and processing component for electric power facility equipment | |
| CN221339286U (en) | Plastic cleaning device of injection molding machine with adjustable height | |
| CN222327755U (en) | Injection mold surface polishing machine | |
| CN221453447U (en) | Automatic cleaning device for die casting mold | |
| CN214443554U (en) | Burr removing equipment for low-temperature safety valve | |
| CN220408178U (en) | Trimming device for woodwork production | |
| CN221952999U (en) | Aluminum material processing and grinding device | |
| CN221186094U (en) | A cooling device for surface grinding machine | |
| CN223249622U (en) | Spraying device based on door and window processing |
Legal Events
| Date | Code | Title | Description |
|---|---|---|---|
| GR01 | Patent grant | ||
| GR01 | Patent grant | ||
| PE01 | Entry into force of the registration of the contract for pledge of patent right | ||
| PE01 | Entry into force of the registration of the contract for pledge of patent right |
Denomination of utility model: A local quenching device for guide rail of high precision heavy punch Effective date of registration: 20211025 Granted publication date: 20200908 Pledgee: Shandong Wenshang Rural Commercial Bank Co.,Ltd. Pledgor: Shandong DIGE Heavy Industry Machinery Co.,Ltd. Registration number: Y2021980011244 |
|
| PC01 | Cancellation of the registration of the contract for pledge of patent right | ||
| PC01 | Cancellation of the registration of the contract for pledge of patent right |
Date of cancellation: 20221103 Granted publication date: 20200908 Pledgee: Shandong Wenshang Rural Commercial Bank Co.,Ltd. Pledgor: Shandong DIGE Heavy Industry Machinery Co.,Ltd. Registration number: Y2021980011244 |
|
| PE01 | Entry into force of the registration of the contract for pledge of patent right | ||
| PE01 | Entry into force of the registration of the contract for pledge of patent right |
Denomination of utility model: A High Precision and Heavy Duty Punch Guide Local Quenching Device Effective date of registration: 20221111 Granted publication date: 20200908 Pledgee: Shandong Wenshang Rural Commercial Bank Co.,Ltd. Pledgor: Shandong DIGE Heavy Industry Machinery Co.,Ltd. Registration number: Y2022980021639 |
|
| PC01 | Cancellation of the registration of the contract for pledge of patent right | ||
| PC01 | Cancellation of the registration of the contract for pledge of patent right |
Granted publication date: 20200908 Pledgee: Shandong Wenshang Rural Commercial Bank Co.,Ltd. Pledgor: Shandong DIGE Heavy Industry Machinery Co.,Ltd. Registration number: Y2022980021639 |
