CN211436335U - 一种锂离子电池正极材料造粒装置 - Google Patents
一种锂离子电池正极材料造粒装置 Download PDFInfo
- Publication number
- CN211436335U CN211436335U CN201921828570.4U CN201921828570U CN211436335U CN 211436335 U CN211436335 U CN 211436335U CN 201921828570 U CN201921828570 U CN 201921828570U CN 211436335 U CN211436335 U CN 211436335U
- Authority
- CN
- China
- Prior art keywords
- fixedly connected
- center
- box
- lithium ion
- ion battery
- Prior art date
- Legal status (The legal status is an assumption and is not a legal conclusion. Google has not performed a legal analysis and makes no representation as to the accuracy of the status listed.)
- Active
Links
- HBBGRARXTFLTSG-UHFFFAOYSA-N Lithium ion Chemical compound [Li+] HBBGRARXTFLTSG-UHFFFAOYSA-N 0.000 title claims abstract description 27
- 229910001416 lithium ion Inorganic materials 0.000 title claims abstract description 27
- 238000005469 granulation Methods 0.000 title claims description 28
- 230000003179 granulation Effects 0.000 title claims description 28
- 239000010406 cathode material Substances 0.000 title claims description 12
- 239000002699 waste material Substances 0.000 claims description 20
- 238000000227 grinding Methods 0.000 claims description 14
- 238000001816 cooling Methods 0.000 claims description 3
- 239000007774 positive electrode material Substances 0.000 claims 6
- 239000002994 raw material Substances 0.000 abstract description 36
- 239000010405 anode material Substances 0.000 abstract description 3
- 239000003792 electrolyte Substances 0.000 description 5
- 230000000694 effects Effects 0.000 description 4
- 238000000034 method Methods 0.000 description 4
- 238000007599 discharging Methods 0.000 description 3
- 229920001821 foam rubber Polymers 0.000 description 3
- 238000013329 compounding Methods 0.000 description 2
- 239000000203 mixture Substances 0.000 description 2
- 230000004048 modification Effects 0.000 description 2
- 238000012986 modification Methods 0.000 description 2
- WHXSMMKQMYFTQS-UHFFFAOYSA-N Lithium Chemical compound [Li] WHXSMMKQMYFTQS-UHFFFAOYSA-N 0.000 description 1
- 230000009286 beneficial effect Effects 0.000 description 1
- 230000015556 catabolic process Effects 0.000 description 1
- 238000002425 crystallisation Methods 0.000 description 1
- 230000008025 crystallization Effects 0.000 description 1
- 238000006731 degradation reaction Methods 0.000 description 1
- 239000000428 dust Substances 0.000 description 1
- 230000001771 impaired effect Effects 0.000 description 1
- 229910052744 lithium Inorganic materials 0.000 description 1
- 238000013021 overheating Methods 0.000 description 1
- 238000002360 preparation method Methods 0.000 description 1
- 238000010298 pulverizing process Methods 0.000 description 1
- 230000005855 radiation Effects 0.000 description 1
- 238000005245 sintering Methods 0.000 description 1
- 238000010532 solid phase synthesis reaction Methods 0.000 description 1
Images
Landscapes
- Processing Of Solid Wastes (AREA)
- Battery Electrode And Active Subsutance (AREA)
Abstract
本实用新型涉及造粒装置技术领域,公开了一种锂离子电池正极材料造粒装置,包括两个万向轮,万向轮顶部的中央固定连接有造粒箱,造粒箱正面的左右两侧均铰接有单开门,单开门靠近造粒箱中心一侧的中央固定连接有第一把手,造粒箱顶部的中央固定连接有置物板,置物板顶部左侧且靠近背面的位置处固定连接有操作箱,置物板顶部左侧且靠近正面的位置处固定连接有操作台,置物板顶部右侧的中央固定连接有碾碎箱,碾碎箱顶部左侧的中央固定连通有进料管;通过设置两个碾碎辊筒和转轴,配合锯齿,使得放入到碾碎箱内的原料能够被碾碎的更加充分,提高了原料的利用率,保证了后续加工出原料的质量。
Description
技术领域
本实用新型涉及造粒装置技术领域,具体涉及了一种锂离子电池正极材料造粒装置。
背景技术
锂离子电池由正极、负极、隔膜、电解液组成,正负极浸润在电解液中,锂离子以电解液为介质在正负极之间运动,实现电池的充放电,为避免正负极通过电解液发生短路,需要用隔膜将正负极分隔,它主要依靠锂离子在正极和负极之间移动来工作,在充放电过程中,锂离子在两个电极之间往返嵌入和脱嵌,充电时,锂离子从正极脱嵌,经过电解质嵌入负极,负极处于富锂状态,放电时则相反。
锂离子电池正极材料的制备主要是采用高温固相合成法,一般的碾碎箱在混料时,放入碾碎箱内的原料会有大小不一的情况,碾碎箱内无法对体积过大的原料进行过滤,造成物料混合的不均匀,影响到后续过程中产品的结晶性能,导致电化学性能劣化,影响产品质量,而且碾碎箱在烧结完成后,机器内会有很多粉尘弥漫,很难对碾碎箱内的废料进行收集和清洁,影响工作人员的工作效率。
实用新型内容
针对现有技术的不足,本实用新型提供一种锂离子电池正极材料造粒装置,具备可对体积过大的原料进行过滤,方便对混料箱内进行清洁等优点,解决了传统造粒装置内物料混合不均匀,难以清洗的问题。
本实用新型的锂离子电池正极材料造粒装置,包括两个万向轮,万向轮顶部的中央固定连接有造粒箱,造粒箱正面的左右两侧均铰接有单开门,单开门靠近造粒箱中心一侧的中央固定连接有第一把手,造粒箱顶部的中央固定连接有置物板,置物板顶部左侧且靠近背面的位置处固定连接有操作箱,置物板顶部左侧且靠近正面的位置处固定连接有操作台,置物板顶部右侧的中央固定连接有碾碎箱,碾碎箱顶部左侧的中央固定连通有进料管,碾碎箱顶部右侧的中央固定连通有散热管,碾碎箱右侧的中央固定连通有废料管,碾碎箱内壁的左右两侧均转动连接有转轴,转轴的正面和背面分别与碾碎箱的正面和背面相贴合,转轴的表面固定连接有碾碎辊筒,碾碎箱内壁底部的中央固定连接有固定板,固定板顶部的中央固定连接有振动电机,振动电机顶部的中央固定连接有弹簧,弹簧底部的中央与振动电机的输出端相连接,弹簧顶部的中央固定连接有圆台,圆台顶部的中央螺纹连接有过滤网,过滤网右侧的中央贯穿碾碎箱的外壁且固定连接有废料箱。
本实用新型的锂离子电池正极材料造粒装置,其中两个碾碎辊筒相互啮合,碾碎辊筒的表面固定连接有锯齿,锯齿以碾碎辊筒的中心为圆心均匀排列。
本实用新型的锂离子电池正极材料造粒装置,其中过滤网顶部的左右两侧均螺纹连接有固定螺栓,固定螺栓底部贯穿过滤网的底部且与圆台顶部相互贴合。
本实用新型的锂离子电池正极材料造粒装置,其中圆台的左右两侧分别与碾碎箱内壁的左右两侧相贴合,圆台呈倾斜设置。
本实用新型的锂离子电池正极材料造粒装置,其中废料箱内壁底部的中央活动连接有活动箱,活动箱底部左侧的中央固定连接有滑块。
本实用新型的锂离子电池正极材料造粒装置,其中废料箱内壁底部的中央开设有滑槽,滑块滑动连接于滑槽内。
本实用新型的锂离子电池正极材料造粒装置,其中活动箱右侧的中央固定连接有第二把手,第二把手顶部和底部的中央位置处均开设有指槽,指槽内壁固定连接有海绵垫。
与现有技术相比,本实用新型的有益效果如下:
1、本实用新型通过设置的造粒箱和单开门,配合第一把手,使得工作人员能够更加方便将加工完成后的原料取出,提高了工作人员的工作效率,通过设置的散热管配合碾碎箱,防止碾碎箱在加工过程中过热,导致机器受损,提高了装置的安全性,通过设置两个碾碎辊筒和转轴,配合锯齿,使得放入到碾碎箱内的原料能够被碾碎的更加充分,提高了原料的利用率,保证了后续加工出原料的质量。
2、本实用新型通过设置的振动电机和弹簧,配合过滤网,使得过滤网能够对体积过大的原料进行过滤,保证了进入造粒箱的原料的质量,通过设置的固定螺栓和过滤网,使得工作人员能够更加方便的对过滤网进行拆卸,然后对过滤网进行清洗,提高了工作人员的工作效率,通过设置的废料箱和活动箱,配合滑块,使得活动箱能够从废料箱内拉出,然后对落入活动箱内的体积较大的原料进行取出,进一步提高了原料的利用率,保证了后续造粒原料的质量,通过设置的第二把手和指槽,配合海绵垫,使得工作人员能够更加方便的拉出活动箱,提高了工作人员在拉出活动箱时的舒适度。
附图说明
此处所说明的附图用来提供对本申请的进一步理解,构成本申请的一部分,本申请的示意性实施例及其说明用于解释本申请,并不构成对本申请的不当限定。在附图中:
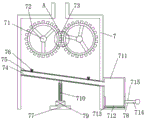
图1为本实用新型整体正视结构示意图;
图2为本实用新型碾碎箱正视剖面结构示意图;
图3为本实用新型圆台和过滤网整体结构示意图;
图4为图2中A处放大结构示意图。
图中:1、万向轮;2、造粒箱;21、单开门;3、第一把手;4、置物板;5、操作箱;6、操作台;7、碾碎箱;71、转轴;72、碾碎辊筒;73、锯齿;74、圆台;75、过滤网;76、固定螺栓;77、固定板;78、海绵垫;79、振动电机;710、弹簧;711、废料箱;712、活动箱;713、滑块;714、第二把手;715、指槽;8、进料管;9、废料管;10、散热管。
具体实施方式
以下将以图式揭露本实用新型的多个实施方式:
实施例1:请参阅图1-4,本实用新型的锂离子电池正极材料造粒装置,包括两个万向轮1,万向轮1顶部的中央固定连接有造粒箱2,造粒箱2正面的左右两侧均铰接有单开门21,单开门21靠近造粒箱2中心一侧的中央固定连接有第一把手3,该结构设置,使得工作人员能够更加方便将加工完成后的原料取出,提高了工作人员的工作效率,造粒箱2顶部的中央固定连接有置物板4,置物板4顶部左侧且靠近背面的位置处固定连接有操作箱5,置物板4顶部左侧且靠近正面的位置处固定连接有操作台6,置物板4顶部右侧的中央固定连接有碾碎箱7,碾碎箱7顶部左侧的中央固定连通有进料管8,碾碎箱7顶部右侧的中央固定连通有散热管10,该结构设置,防止碾碎箱7在加工过程中因为过热导致机器受损,提高了装置的安全性,碾碎箱7右侧的中央固定连通有废料管9,碾碎箱7内壁的左右两侧均转动连接有转轴71,转轴71的正面和背面分别与碾碎箱7的正面和背面相贴合,转轴71的表面固定连接有碾碎辊筒72,该结构设置,使得放入到碾碎箱7内的原料能够被碾碎的更加充分,提高了原料的利用率,保证了后续加工出原料的质量,碾碎箱7内壁底部的中央固定连接有固定板77,固定板77顶部的中央固定连接有振动电机79,振动电机79顶部的中央固定连接有弹簧710,弹簧710底部的中央与振动电机79的输出端相连接,弹簧710顶部的中央固定连接有圆台74,圆台74顶部的中央螺纹连接有过滤网75,过滤网75右侧的中央贯穿碾碎箱7的外壁且固定连接有废料箱711,该结构设置,使得过滤网75能够对体积过大的原料进行过滤,保证了进入造粒箱2的原料的质量。
实施例2与实施例1的区别为:两个碾碎辊筒72相互啮合,碾碎辊筒72的表面固定连接有锯齿73,锯齿73以碾碎辊筒72的中心为圆心均匀排列,该结构设置,使得原料放入碾碎箱7后,能够被碾碎辊筒72碾碎的更加充分,提高了后续加工原料的质量。
实施例2与实施例1的区别为:过滤网75顶部的左右两侧均螺纹连接有固定螺栓76,固定螺栓76底部贯穿过滤网75的底部且与圆台74顶部相互贴合,该结构设置,使得工作人员能够更加方便的对过滤网75进行拆卸,然后对过滤网75进行清洗,提高了工作人员的工作效率。
实施例3与实施例2的区别为:圆台74的左右两侧分别与碾碎箱7内壁的左右两侧相贴合,圆台74呈倾斜设置,该结构设置,使得过滤网75体积过大的原料能够向倾斜的方向移动,最后落入到废料箱711内。
实施例4与实施例3的区别为:废料箱711内壁底部的中央活动连接有活动箱712,活动箱712底部左侧的中央固定连接有滑块713。
实施例5与实施例4的区别为:废料箱711内壁底部的中央开设有滑槽,滑块713滑动连接于滑槽内,该结构设置,使得活动箱712能够从废料箱711内拉出,然后对落入活动箱712内的体积较大的原料进行取出,进一步提高了原料的利用率。
实施例6与实施例5的区别为:活动箱712右侧的中央固定连接有第二把手714,第二把手714顶部和底部的中央位置处均开设有指槽715,指槽715内壁固定连接有海绵垫78,该结构设置,使得工作人员能够更加方便的拉出活动箱712,提高了工作人员在拉出活动箱712时的舒适度。
在使用本实用新型时,工作人员首先将操作箱5与碾碎箱7内的振动电机79连接于同一电源上并打开振动电机79,然后在操作台6上对造粒装置的启停进行控制,然后工作人员将需要加工的原料放入到进料管8内,原料穿过进料管8进入到碾碎箱7内,接着原料回掉入到两个碾碎辊筒72之间,碾碎辊筒72表面的锯齿73对原料进行粉碎和碾压,使得原料的体积变小,方便后续的加工,原料碾碎后掉到过滤网75上,此时,体积小的原料将会直接穿过过滤网75,然后掉入到造粒箱2内,而体积较大的原料则会留在过滤网75,接着振动电机79会带动弹簧710上下振动,弹簧710带动圆台74进行上下振动,使得过滤网75上的原料朝着右侧倾斜的方向运动,最后落入到废料箱711内,并落入到活动箱712的底部,最后工作人员向外拉动第二把手714,将活动箱712从废料箱711内拉出,然后取出活动箱712内壁的原料,最后拉动第一把手3打开单开门21,取出造粒完成后的原料。
以上所述仅为本实用新型的实施方式而已,并不用于限制本实用新型。对于本领域技术人员来说,本实用新型可以有各种更改和变化。凡在本实用新型的精神和原理的内所作的任何修改、等同替换、改进等,均应包括在本实用新型的权利要求范围之内。
Claims (7)
1.一种锂离子电池正极材料造粒装置,包括两个万向轮(1),其特征在于:所述万向轮(1)顶部的中央固定连接有造粒箱(2),所述造粒箱(2)正面的左右两侧均铰接有单开门(21),所述单开门(21)靠近造粒箱(2)中心一侧的中央固定连接有第一把手(3),所述造粒箱(2)顶部的中央固定连接有置物板(4),所述置物板(4)顶部左侧且靠近背面的位置处固定连接有操作箱(5),所述置物板(4)顶部左侧且靠近正面的位置处固定连接有操作台(6),所述置物板(4)顶部右侧的中央固定连接有碾碎箱(7),所述碾碎箱(7)顶部左侧的中央固定连通有进料管(8),所述碾碎箱(7)顶部右侧的中央固定连通有散热管(10),所述碾碎箱(7)右侧的中央固定连通有废料管(9),所述碾碎箱(7)内壁的左右两侧均转动连接有转轴(71),所述转轴(71)的正面和背面分别与碾碎箱(7)的正面和背面相贴合,所述转轴(71)的表面固定连接有碾碎辊筒(72),所述碾碎箱(7)内壁底部的中央固定连接有固定板(77),所述固定板(77)顶部的中央固定连接有振动电机(79),所述振动电机(79)顶部的中央固定连接有弹簧(710),所述弹簧(710)底部的中央与振动电机(79)的输出端相连接,所述弹簧(710)顶部的中央固定连接有圆台(74),所述圆台(74)顶部的中央螺纹连接有过滤网(75),所述过滤网(75)右侧的中央贯穿碾碎箱(7)的外壁且固定连接有废料箱(711)。
2.根据权利要求1所述的一种锂离子电池正极材料造粒装置,其特征在于:两个所述碾碎辊筒(72)相互啮合,所述碾碎辊筒(72)的表面固定连接有锯齿(73),所述锯齿(73)以碾碎辊筒(72)的中心为圆心均匀排列。
3.根据权利要求2所述的一种锂离子电池正极材料造粒装置,其特征在于:所述过滤网(75)顶部的左右两侧均螺纹连接有固定螺栓(76),所述固定螺栓(76)底部贯穿过滤网(75)的底部且与圆台(74)顶部相互贴合。
4.根据权利要求3所述的一种锂离子电池正极材料造粒装置,其特征在于:所述圆台(74)的左右两侧分别与碾碎箱(7)内壁的左右两侧相贴合,所述圆台(74)呈倾斜设置。
5.根据权利要求4所述的一种锂离子电池正极材料造粒装置,其特征在于:所述废料箱(711)内壁底部的中央活动连接有活动箱(712),所述活动箱(712)底部左侧的中央固定连接有滑块(713)。
6.根据权利要求5所述的一种锂离子电池正极材料造粒装置,其特征在于:所述废料箱(711)内壁底部的中央开设有滑槽,所述滑块(713)滑动连接于滑槽内。
7.根据权利要求6所述的一种锂离子电池正极材料造粒装置,其特征在于:所述活动箱(712)右侧的中央固定连接有第二把手(714),所述第二把手(714)顶部和底部的中央位置处均开设有指槽(715),所述指槽(715)内壁固定连接有海绵垫(78)。
Priority Applications (1)
| Application Number | Priority Date | Filing Date | Title |
|---|---|---|---|
| CN201921828570.4U CN211436335U (zh) | 2019-10-29 | 2019-10-29 | 一种锂离子电池正极材料造粒装置 |
Applications Claiming Priority (1)
| Application Number | Priority Date | Filing Date | Title |
|---|---|---|---|
| CN201921828570.4U CN211436335U (zh) | 2019-10-29 | 2019-10-29 | 一种锂离子电池正极材料造粒装置 |
Publications (1)
| Publication Number | Publication Date |
|---|---|
| CN211436335U true CN211436335U (zh) | 2020-09-08 |
Family
ID=72313829
Family Applications (1)
| Application Number | Title | Priority Date | Filing Date |
|---|---|---|---|
| CN201921828570.4U Active CN211436335U (zh) | 2019-10-29 | 2019-10-29 | 一种锂离子电池正极材料造粒装置 |
Country Status (1)
| Country | Link |
|---|---|
| CN (1) | CN211436335U (zh) |
Cited By (1)
| Publication number | Priority date | Publication date | Assignee | Title |
|---|---|---|---|---|
| CN112473930A (zh) * | 2020-11-07 | 2021-03-12 | 湖南德之聚新材料有限公司 | 一种氧化铁颜料生产用便于刀具尺寸调节的制粒装置 |
-
2019
- 2019-10-29 CN CN201921828570.4U patent/CN211436335U/zh active Active
Cited By (1)
| Publication number | Priority date | Publication date | Assignee | Title |
|---|---|---|---|---|
| CN112473930A (zh) * | 2020-11-07 | 2021-03-12 | 湖南德之聚新材料有限公司 | 一种氧化铁颜料生产用便于刀具尺寸调节的制粒装置 |
Similar Documents
| Publication | Publication Date | Title |
|---|---|---|
| CN107052030A (zh) | 一种固体垃圾的粉碎回收装置 | |
| WO2018119656A1 (zh) | 一种移动式锂电池负极材料石墨粉碎装置 | |
| CN104353529B (zh) | 一种城市生活垃圾破碎机 | |
| CN106513102A (zh) | 一种锂离子电池负极材料粉碎研磨收料装置 | |
| CN212142793U (zh) | 一种用于实木家具废料处理装置 | |
| CN212493145U (zh) | 智慧城市的垃圾处理装置 | |
| CN109382166B (zh) | 一种锂电池负极材料石墨粉的加工设备 | |
| WO2018120116A1 (zh) | 一种具有粉尘处理的石墨粉碎设备 | |
| CN214864256U (zh) | 一种锂电池加工用负极材料研磨装置 | |
| CN211436335U (zh) | 一种锂离子电池正极材料造粒装置 | |
| CN211455895U (zh) | 一种新能源汽车电池生产用废料处理装置 | |
| CN205761422U (zh) | 一种锂离子电池负极材料清碎工序当的物料箱预碎装置 | |
| CN209791697U (zh) | 一种石墨研磨机 | |
| CN206731208U (zh) | 一种塑料膜生产用原料粉碎机 | |
| CN218189900U (zh) | 一种锂电池回收装置 | |
| CN218774943U (zh) | 一种锂电池回收用磨粉机 | |
| CN108394041B (zh) | 一种自动高效率塑料粉碎机 | |
| CN104226412A (zh) | 一种用于粉碎废旧pp板的粉碎机 | |
| CN216172615U (zh) | 一种废弃钢渣用回收装置 | |
| CN211838320U (zh) | 一种具有进料筛选功能的锂电池正极材料生产用粉碎机 | |
| CN117065849A (zh) | 一种防尘式废铅蓄电池回收用多级粉碎设备 | |
| CN213078718U (zh) | 一种用于磷酸铁锂废旧电池回收的粉碎装置 | |
| CN210752910U (zh) | 一种锂电池正极材料辊式破碎装置 | |
| CN221514633U (zh) | 一种电动汽车锂电池负极材料粉碎装置 | |
| CN221433194U (zh) | 一种破碎颗粒均匀的辊式碎粒机 |
Legal Events
| Date | Code | Title | Description |
|---|---|---|---|
| GR01 | Patent grant | ||
| GR01 | Patent grant |