CN211427262U - Simple to operate's novel computer hard disk - Google Patents
Simple to operate's novel computer hard disk Download PDFInfo
- Publication number
- CN211427262U CN211427262U CN202020509856.2U CN202020509856U CN211427262U CN 211427262 U CN211427262 U CN 211427262U CN 202020509856 U CN202020509856 U CN 202020509856U CN 211427262 U CN211427262 U CN 211427262U
- Authority
- CN
- China
- Prior art keywords
- rod
- hard disk
- fixedly installed
- new type
- chassis
- Prior art date
- Legal status (The legal status is an assumption and is not a legal conclusion. Google has not performed a legal analysis and makes no representation as to the accuracy of the status listed.)
- Expired - Fee Related
Links
Images
Landscapes
- Casings For Electric Apparatus (AREA)
Abstract
本实用新型公开了一种安装方便的新型计算机硬盘,涉及到计算机硬件设备技术领域,包括机箱,机箱的两侧内壁上均开设有滑槽,两个滑槽内均滑动安装有同一个硬盘,机箱的顶侧转动安装有机箱盖,机箱盖的底侧固定安装有固定块,固定块内活动安装有压块,机箱的底侧内壁上固定安装有固定柱,固定柱的一侧活动安装有限位杆,限位杆的一端固定安装有毛刷,本实用新型中,打开机箱盖,使得压块与硬盘分离,可以很快的取出硬盘,安装时只需将硬盘滑动安装在滑槽内,然后转动L型转杆,使其与L型支杆相接触,即可将机箱盖进行固定,使得硬盘的拆除和安装都十分方便,机箱盖转动使得毛刷能够移动,不断的对防尘滤网表面进行清理。
The utility model discloses a new type of computer hard disk with convenient installation, which relates to the technical field of computer hardware equipment. The top side of the chassis is rotatably installed with a chassis cover, the bottom side of the chassis cover is fixedly installed with a fixed block, a pressure block is movably installed in the fixed block, a fixed column is fixedly installed on the inner wall of the bottom side of the chassis, and one side of the fixed column has limited movable installation Position rod, one end of the limit rod is fixedly installed with a brush, in the utility model, open the case cover to separate the pressing block from the hard disk, and the hard disk can be quickly taken out. Then turn the L-shaped rotating rod to make it contact with the L-shaped support rod, and then the case cover can be fixed, which makes the removal and installation of the hard disk very convenient. Clean the surface of the net.
Description
技术领域technical field
本实用新型涉及计算机硬件设备技术领域,尤其涉及一种安装方便的新型计算机硬盘。The utility model relates to the technical field of computer hardware equipment, in particular to a novel computer hard disk with convenient installation.
背景技术Background technique
电脑硬盘是计算机最主要的存储设备,硬盘是由一个或者多个铝制或者玻璃制的碟片组成,这些碟片外覆盖有铁磁性材料,绝大多数硬盘都是固定硬盘,被永久性地密封固定在硬盘驱动器中。The computer hard disk is the main storage device of the computer. The hard disk is composed of one or more aluminum or glass disks. These disks are covered with ferromagnetic materials. Most of the hard disks are fixed hard disks, which are permanently Sealed into the hard drive.
在传统设计上,硬盘被固定在机箱内,但是,当硬盘损坏需要维修或者更换时,需要将机箱盖打开,再将硬盘与机箱固定的螺丝松开,才可将其从机箱内取出,费时费力,而且受限于机箱狭小的空间,硬盘的拆除和安装都十分不方便,给计算机的安装及维修带来了很大的困扰;此外,计算机内安装的防尘滤网在长时间使用后,大量的灰尘杂质会附着在防尘滤网的表面,不及时进行清理的话,不仅会导致硬盘在长时间的使用后会产生的热量不能尽快散去,而且影响计算机的运行速度,因此需要一种安装方便的新型计算机硬盘来满足人们的需求。In the traditional design, the hard disk is fixed in the case, but when the hard disk is damaged and needs to be repaired or replaced, it is necessary to open the case cover, and then loosen the screws that fix the hard disk and the case before it can be taken out from the case, which is time-consuming It is laborious, and limited by the narrow space of the chassis, it is very inconvenient to remove and install the hard disk, which brings great trouble to the installation and maintenance of the computer; in addition, the dustproof filter installed in the computer is used for a long time. , A large amount of dust and impurities will adhere to the surface of the dust filter. If it is not cleaned in time, it will not only cause the heat generated by the hard disk to be dissipated as soon as possible after long-term use, but also affect the running speed of the computer. A new type of computer hard disk that is easy to install to meet people's needs.
实用新型内容Utility model content
本实用新型的目的在于提供一种安装方便的新型计算机硬盘,以解决上述背景技术中提出的当硬盘损坏需要维修或者更换时,需要将机箱盖打开,再将硬盘与机箱固定的螺丝松开,才可将其从机箱内取出,费时费力,而且受限于机箱狭小的空间,硬盘的拆除和安装都十分不方便,给计算机的安装及维修带来了很大的困扰;此外,计算机内安装的防尘滤网在长时间使用后,大量的灰尘杂质会附着在防尘滤网的表面,不及时进行清理的话,不仅会导致硬盘在长时间的使用后会产生的热量不能尽快散去,而且影响计算机的运行速度的问题。The purpose of this utility model is to provide a new type of computer hard disk that is easy to install, so as to solve the problem in the above-mentioned background art that when the hard disk is damaged and needs to be repaired or replaced, it is necessary to open the case cover, and then loosen the screws that fix the hard disk and the case. It is time-consuming and labor-intensive to remove it from the chassis, and limited by the narrow space of the chassis, it is very inconvenient to remove and install the hard disk, which brings great trouble to the installation and maintenance of the computer; in addition, the installation inside the computer After a long time of use, a large amount of dust and impurities will adhere to the surface of the dust filter. If it is not cleaned in time, it will not only cause the heat generated by the hard disk to be dissipated as soon as possible after long-term use, And the problem that affects the running speed of the computer.
为实现上述目的,本实用新型提供如下技术方案:一种安装方便的新型计算机硬盘,包括机箱,所述机箱的两侧内壁上均开设有滑槽,两个滑槽内均滑动安装有同一个硬盘,机箱的顶侧转动安装有机箱盖,机箱盖的底侧固定安装有固定块,固定块内活动安装有压块,所述机箱的底侧内壁上固定安装有固定柱,固定柱的一侧活动安装有限位杆,所述限位杆的一端固定安装有毛刷,限位杆的一侧固定安装有转杆,转杆的一端固定安装有连杆,连杆的一侧活动安装有固定杆,固定杆的一端固定安装在机箱盖的底侧上,所述机箱盖上转动安装有L型转杆,L型转杆的顶端固定安装有限位块。In order to achieve the above purpose, the present invention provides the following technical solutions: a new type of computer hard disk that is easy to install, including a chassis, the inner walls of both sides of the chassis are provided with sliding grooves, and the two sliding grooves are slidably installed with the same The hard disk, the top side of the case is rotatably installed with a case cover, the bottom side of the case cover is fixedly installed with a fixing block, a pressing block is movably installed in the fixing block, a fixing column is fixedly installed on the inner wall of the bottom side of the case, and one of the fixing columns is fixed. A limit rod is movably installed on the side, a brush is fixedly installed at one end of the limit rod, a rotating rod is fixedly installed on one side of the limit rod, a connecting rod is fixedly installed on one end of the rotating rod, and one side of the connecting rod is movably installed with a A fixed rod, one end of the fixed rod is fixedly installed on the bottom side of the chassis cover, an L-shaped rotating rod is rotatably installed on the chassis cover, and a limit block is fixedly installed on the top of the L-shaped rotating rod.
优选的,所述固定块的底侧开设有移动槽,移动槽的顶侧内壁上固定安装有弹簧,压块的顶侧延伸至移动槽内并固定安装在弹簧的底端上,这样设计可以使得压块更好的将硬盘压紧。Preferably, the bottom side of the fixed block is provided with a moving groove, a spring is fixedly installed on the inner wall of the top side of the moving groove, and the top side of the pressing block extends into the moving groove and is fixedly installed on the bottom end of the spring, so that the design can It makes the pressing block better to compress the hard disk.
优选的,所述固定柱的一侧开设有限位槽,限位杆的一端延伸至限位槽内,限位槽可以起到对限位杆移动进行很好的限位。Preferably, a limit slot is provided on one side of the fixing column, and one end of the limit rod extends into the limit slot, and the limit slot can effectively limit the movement of the limit rod.
优选的,所述机箱的一侧开设有散热孔,散热孔内固定安装有防尘滤网,防尘滤网的表面与毛刷相接触,这样设计可以有效的对机箱内的热量进行很好的散热,毛刷可以对防尘滤网表面进行很好的清理。Preferably, a heat dissipation hole is opened on one side of the chassis, a dust filter is fixedly installed in the heat dissipation hole, and the surface of the dust filter is in contact with the brush, so that the design can effectively dissipate the heat in the chassis. The heat dissipation, the brush can clean the surface of the dust filter well.
优选的,所述机箱的顶侧开设有矩形槽,矩形槽的底侧内壁上固定安装有L型支杆,L型转杆的顶侧与L型支杆的底侧相接触,这样设计,可以使得机箱盖能够更好的盖紧,同时便于打开。Preferably, a rectangular slot is provided on the top side of the chassis, an L-shaped support rod is fixedly installed on the inner wall of the bottom side of the rectangular slot, and the top side of the L-shaped rotating rod is in contact with the bottom side of the L-shaped support rod. It can make the cover of the case be better tightly closed, and at the same time, it is easy to open.
优选的,所述机箱盖的顶侧开设有转孔,L型转杆的底端贯穿转孔并延伸至矩形槽内,这样设计,可以使得转动L型转杆与L型支杆更好的接触或者分离。Preferably, the top side of the chassis cover is provided with a turning hole, and the bottom end of the L-shaped turning rod penetrates the turning hole and extends into the rectangular slot. This design can make the rotation of the L-shaped turning rod and the L-shaped support rod better. contact or separation.
优选的,所述连杆的一侧开设有转动孔,固定杆的一侧固定安装有活动柱,活动柱延伸至转动孔内,活动柱的设计能够使得固定杆转动更好的带动连杆转动。Preferably, a rotating hole is opened on one side of the connecting rod, a movable column is fixedly installed on one side of the fixed rod, the movable column extends into the rotating hole, and the design of the movable column can make the rotation of the fixed rod better to drive the connecting rod to rotate .
本实用新型的有益效果是:The beneficial effects of the present utility model are:
1、本实用新型中,转动L型转杆,使其与L型支杆相分离,此时打开机箱盖,使得压块与硬盘分离,这样一来,可以很快的取出硬盘,安装时只需将硬盘滑动安装在滑槽内,然后转动L型转杆,使其与L型支杆表面相接触,即可将机箱盖进行固定,使得硬盘的拆除和安装都十分方便,省时省力;1. In the present utility model, the L-shaped rotating rod is rotated to separate it from the L-shaped support rod. At this time, the case cover is opened to separate the pressing block from the hard disk. In this way, the hard disk can be quickly taken out. It is necessary to slide the hard disk into the chute, and then turn the L-shaped rotating rod to make it contact with the surface of the L-shaped support rod, then the case cover can be fixed, which makes the removal and installation of the hard disk very convenient, saving time and effort;
2、本实用新型中,机箱盖在打开和关闭时都会发生转动,从而使得毛刷能够进行上下移动,不断的对防尘滤网表面进行清理,使得硬盘运行产生的热量可以及时进行散热处理,加快了计算机的运行速度。2. In the present invention, the case cover rotates when it is opened and closed, so that the brush can move up and down, and the surface of the dust filter is continuously cleaned, so that the heat generated by the operation of the hard disk can be dissipated in time. Speed up the operation of the computer.
附图说明Description of drawings
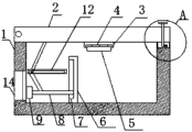
图1为本实用新型提出的一种安装方便的新型计算机硬盘的结构示意图;1 is a schematic structural diagram of a new type of computer hard disk with convenient installation proposed by the utility model;
图2为本实用新型提出的一种安装方便的新型计算机硬盘的正视图的结构示意图;2 is a schematic structural diagram of a front view of a new type of computer hard disk with convenient installation proposed by the utility model;
图3为本实用新型提出的一种安装方便的新型计算机硬盘的图2中A部分的结构示意图;3 is a schematic structural diagram of part A in FIG. 2 of a new type of computer hard disk with convenient installation proposed by the utility model;
图4为本实用新型提出的一种安装方便的新型计算机硬盘的图2中部分的放大结构示意图。FIG. 4 is an enlarged structural schematic diagram of a part of FIG. 2 of a new type of computer hard disk with convenient installation proposed by the present invention.
图中:1、机箱;2、机箱盖;3、固定块;4、移动槽;5、压块;6、固定柱;7、限位槽;8、限位杆;9、毛刷;10、转杆;11、连杆;12、转动孔;13、固定杆;14、散热孔;15、防尘滤网;16、L型转杆;17、矩形槽;18、L型支杆;19、转孔;20、硬盘;21、滑槽;22、限位块。In the picture: 1. Chassis; 2. Chassis cover; 3. Fixing block; 4. Moving slot; 5. Pressing block; 6. Fixing column; 7. Limiting slot; 8. Limiting rod; 9. Brush; 10 , rotating rod; 11, connecting rod; 12, rotating hole; 13, fixing rod; 14, cooling hole; 15, dust filter; 16, L-shaped rotating rod; 17, rectangular slot; 18, L-shaped support rod; 19. Turning hole; 20. Hard disk; 21. Chute; 22. Limit block.
具体实施方式Detailed ways
下面将结合本实用新型实施例中的附图,对本实用新型实施例中的技术方案进行清楚、完整地描述,显然,所描述的实施例仅仅是本实用新型一部分实施例,而不是全部的实施例。The technical solutions in the embodiments of the present utility model will be clearly and completely described below with reference to the accompanying drawings in the embodiments of the present utility model. Obviously, the described embodiments are only a part of the embodiments of the present utility model, rather than all the implementations. example.
参照图1-4,一种安装方便的新型计算机硬盘,包括机箱1,机箱1的两侧内壁上均开设有滑槽21,两个滑槽21内均滑动安装有同一个硬盘20,机箱1的顶侧转动安装有机箱盖2,机箱盖2的底侧固定安装有固定块3,固定块3内活动安装有压块5,机箱1的底侧内壁上固定安装有固定柱6,固定柱6的一侧活动安装有限位杆8,限位杆8的一端固定安装有毛刷9,限位杆8的一侧固定安装有转杆10,转杆10的一端固定安装有连杆11,连杆11的一侧活动安装有固定杆13,固定杆13的一端固定安装在机箱盖2的底侧上,机箱盖2上转动安装有L型转杆16,L型转杆16的顶端固定安装有限位块22。Referring to Figures 1-4, a new type of computer hard disk that is easy to install includes a
本实用新型中,固定块3的底侧开设有移动槽4,移动槽4的顶侧内壁上固定安装有弹簧,压块5的顶侧延伸至移动槽4内并固定安装在弹簧的底端上,这样设计可以使得压块5更好的将硬盘20压紧。In the present invention, the bottom side of the
本实用新型中,固定柱6的一侧开设有限位槽7,限位杆8的一端延伸至限位槽7内,限位槽7可以起到对限位杆8移动进行很好的限位。In the present invention, a
本实用新型中,机箱1的一侧开设有散热孔14,散热孔14内固定安装有防尘滤网15,防尘滤网15的表面与毛刷9相接触,这样设计可以有效的对机箱1内的热量进行很好的散热,毛刷9可以对防尘滤网15表面进行很好的清理。In the present invention, a
本实用新型中,机箱1的顶侧开设有矩形槽17,矩形槽17的底侧内壁上固定安装有L型支杆18,L型转杆16的顶侧与L型支杆18的底侧相接触,这样设计,可以使得机箱盖2能够更好的盖紧,同时便于打开。In the present invention, a
本实用新型中,机箱盖2的顶侧开设有转孔19,L型转杆16的底端贯穿转孔19并延伸至矩形槽17内,这样设计,可以使得转动L型转杆16与L型支杆18更好的接触或者分离。In the present invention, the top side of the
本实用新型中,连杆11的一侧开设有转动孔12,固定杆13的一侧固定安装有活动柱,活动柱延伸至转动孔12内,活动柱的设计能够使得固定杆13转动更好的带动连杆11转动。In the present invention, one side of the connecting
本实用工作原理:当硬盘20需要进行拆除时,人们转动L型转杆16,使其与L型支杆18相分离,此时即可打开机箱盖2,机箱盖2发生转动使得固定杆13转动,固定杆13转动带动连杆11转动,连杆11转动带动转杆10转动,转杆10转动带动限位杆8移动,限位杆8移动带动毛刷9移动,此时压块5与硬盘20已经分离,人们可以很快的取出硬盘20,安装时只需将硬盘20滑动安装在滑槽21内,然后转动L型转杆16,使其与L型支杆18表面相接触,即可将机箱盖2进行固定,这样一来,使得硬盘20的拆除和安装都十分方便,省时省力,在机箱盖2打开和关闭过程中,机箱盖2都会发生转动,从而使得毛刷9能够进行上下移动,不断的对防尘滤网15的表面进行清理,使得硬盘20运行产生的热量可以及时进行散热处理,加快了计算机的运行速度。This practical working principle: when the
以上所述,仅为本实用新型较佳的具体实施方式,但本实用新型的保护范围并不局限于此,任何熟悉本技术领域的技术人员在本实用新型揭露的技术范围内,根据本实用新型的技术方案及其实用新型构思加以等同替换或改变,都应涵盖在本实用新型的保护范围之内。The above description is only a preferred embodiment of the present invention, but the protection scope of the present invention is not limited to this. Equivalent replacement or modification of the new technical solution and its utility model concept shall be included within the protection scope of the present utility model.
Claims (7)
Priority Applications (1)
| Application Number | Priority Date | Filing Date | Title |
|---|---|---|---|
| CN202020509856.2U CN211427262U (en) | 2020-04-09 | 2020-04-09 | Simple to operate's novel computer hard disk |
Applications Claiming Priority (1)
| Application Number | Priority Date | Filing Date | Title |
|---|---|---|---|
| CN202020509856.2U CN211427262U (en) | 2020-04-09 | 2020-04-09 | Simple to operate's novel computer hard disk |
Publications (1)
| Publication Number | Publication Date |
|---|---|
| CN211427262U true CN211427262U (en) | 2020-09-04 |
Family
ID=72244740
Family Applications (1)
| Application Number | Title | Priority Date | Filing Date |
|---|---|---|---|
| CN202020509856.2U Expired - Fee Related CN211427262U (en) | 2020-04-09 | 2020-04-09 | Simple to operate's novel computer hard disk |
Country Status (1)
| Country | Link |
|---|---|
| CN (1) | CN211427262U (en) |
Cited By (1)
| Publication number | Priority date | Publication date | Assignee | Title |
|---|---|---|---|---|
| CN113488086A (en) * | 2021-05-28 | 2021-10-08 | 刘书凯 | Computer information safety protector |
-
2020
- 2020-04-09 CN CN202020509856.2U patent/CN211427262U/en not_active Expired - Fee Related
Cited By (1)
| Publication number | Priority date | Publication date | Assignee | Title |
|---|---|---|---|---|
| CN113488086A (en) * | 2021-05-28 | 2021-10-08 | 刘书凯 | Computer information safety protector |
Similar Documents
| Publication | Publication Date | Title |
|---|---|---|
| CN211437344U (en) | Cleaning device for thermal aging test chamber | |
| CN211427262U (en) | Simple to operate's novel computer hard disk | |
| CN209543067U (en) | An industrial electronic timer with self-cleaning function | |
| CN207833406U (en) | A kind of dust-proof radiating computer | |
| CN209746485U (en) | Hard disk fixing mechanism for computer | |
| CN217157183U (en) | Computer display protection heat abstractor | |
| CN113727564B (en) | Intelligent explosion-proof capacitor combined module | |
| CN213492543U (en) | A computer cabinet with a dust removal device | |
| CN211454472U (en) | Dustproof computer case | |
| CN220872951U (en) | Computer data hard disk installation structure | |
| CN213182602U (en) | A computer hard disk protection device | |
| CN210721302U (en) | Dust protected mainframe box for computer | |
| CN108762423B (en) | A computer rack for heat dissipation, dust removal and moisture removal for industrial automation | |
| CN218927359U (en) | Polishing machine for wooden artware processing | |
| CN217640135U (en) | Computer hardware heat sink | |
| CN219370292U (en) | Data information processing device | |
| CN209842516U (en) | Computer cabinet | |
| CN108021208B (en) | A kind of fixed device of computer hard disc | |
| CN214278880U (en) | Computer radiator | |
| CN109548338B (en) | Computer host computer protection device that prevents dust | |
| CN218782580U (en) | An electronic computer hard disk fixing device | |
| CN209311950U (en) | A pc power case with good cooling effect | |
| CN211604694U (en) | Computer hard disk protector convenient to maintain | |
| CN207488912U (en) | Mechanical hard disk installation anti-vibration fixing device | |
| CN219418105U (en) | Server cooling mechanism |
Legal Events
| Date | Code | Title | Description |
|---|---|---|---|
| GR01 | Patent grant | ||
| GR01 | Patent grant | ||
| CF01 | Termination of patent right due to non-payment of annual fee | ||
| CF01 | Termination of patent right due to non-payment of annual fee |
Granted publication date: 20200904 Termination date: 20210409 |
