CN211416878U - 一种电动汽车用轻量化后悬架装置 - Google Patents
一种电动汽车用轻量化后悬架装置 Download PDFInfo
- Publication number
- CN211416878U CN211416878U CN201921615930.2U CN201921615930U CN211416878U CN 211416878 U CN211416878 U CN 211416878U CN 201921615930 U CN201921615930 U CN 201921615930U CN 211416878 U CN211416878 U CN 211416878U
- Authority
- CN
- China
- Prior art keywords
- plate spring
- leaf spring
- rubber bushing
- eye
- lug
- Prior art date
- Legal status (The legal status is an assumption and is not a legal conclusion. Google has not performed a legal analysis and makes no representation as to the accuracy of the status listed.)
- Active
Links
- 239000000725 suspension Substances 0.000 title claims abstract description 18
- 239000000463 material Substances 0.000 claims abstract description 13
- 239000006096 absorbing agent Substances 0.000 claims abstract description 9
- 230000035939 shock Effects 0.000 claims abstract description 9
- 238000002360 preparation method Methods 0.000 claims abstract description 5
- 239000011229 interlayer Substances 0.000 claims description 4
- 238000005096 rolling process Methods 0.000 abstract description 4
- 238000013016 damping Methods 0.000 abstract description 2
- 238000009434 installation Methods 0.000 abstract description 2
- 239000002131 composite material Substances 0.000 abstract 1
- 239000003365 glass fiber Substances 0.000 description 5
- 229910000831 Steel Inorganic materials 0.000 description 3
- 239000000295 fuel oil Substances 0.000 description 3
- 239000012779 reinforcing material Substances 0.000 description 3
- 239000010959 steel Substances 0.000 description 3
- 230000001133 acceleration Effects 0.000 description 2
- 230000000694 effects Effects 0.000 description 2
- 239000003822 epoxy resin Substances 0.000 description 2
- 239000012943 hotmelt Substances 0.000 description 2
- 238000012986 modification Methods 0.000 description 2
- 230000004048 modification Effects 0.000 description 2
- 229920000647 polyepoxide Polymers 0.000 description 2
- 229920000049 Carbon (fiber) Polymers 0.000 description 1
- 238000010521 absorption reaction Methods 0.000 description 1
- 230000009286 beneficial effect Effects 0.000 description 1
- 239000004917 carbon fiber Substances 0.000 description 1
- 238000004134 energy conservation Methods 0.000 description 1
- 238000005265 energy consumption Methods 0.000 description 1
- 239000000446 fuel Substances 0.000 description 1
- VNWKTOKETHGBQD-UHFFFAOYSA-N methane Chemical compound C VNWKTOKETHGBQD-UHFFFAOYSA-N 0.000 description 1
- 239000003208 petroleum Substances 0.000 description 1
- 230000003068 static effect Effects 0.000 description 1
- 238000006467 substitution reaction Methods 0.000 description 1
Images
Landscapes
- Vehicle Body Suspensions (AREA)
Abstract
本实用新型公开了一种电动汽车用轻量化后悬架装置,包括由复合材料制作的单片板簧,在单片板簧的前端连接有前卷耳,在单片板簧的后端连接有后卷耳,单片板簧中部位于后桥板簧座内,且在单片板簧中部配有垫板框和两个U型螺栓,两个U型螺栓通过螺母连接在垫板框上,所述垫板框紧贴后桥板簧座底部且垫板框、单片板簧和后桥板簧座之间通过铆钉头固定连接,在垫板框上铰接有减震器,减震器的上端用于连接在车身纵梁上;与现有的后悬架通常采用3+2片两级刚度簧,而本实用新型采用一个复合材料制作的单片板簧即可,简化了安装要求,重量仅有原钢板弹簧的1/3,单片板簧没有叶片之间的内部阻尼力,刚度变化更加线性,驾乘感受更舒适。
Description
技术领域
本实用新型属于电动汽车制造技术领域,特别涉及一种电动汽车用轻量化后悬架装置。
背景技术
我国汽车保有量和销售量逐年上升,使得我国石油对外依存度逐年上升,节能降耗已刻不容缓。迫于国家对汽车燃油消耗量逐步降低的要求,各大汽车厂商纷纷抓紧了对新能源汽车尤其是纯电动汽车的研制和推广,电动汽车销量正逐步上升。与传统燃油汽车相比,电动汽车目前所使用的动力电池的能力比燃油的比能量小很多,且电池的引入大幅增加了汽车的整车质量,这使得电动汽车的续航里程远不如传统燃油汽车,因此加快对电动汽车的轻量化显得十分迫切。
同时,随着国内道路状况的改善,用户对车辆行驶平顺性和舒适性的要求越来越高。传统钢板弹簧比刚度小,悬架的簧下质量偏大,在不平路面上较大的簧下质量导致行驶平顺性和乘坐舒适性变差,尤其对运载易损货物的卡车和运载人员的客车用户影响较大。
实用新型内容
本实用新型目的是为解决上述现有技术中存在的问题而提出了一种电动汽车用轻量化后悬架装置;为达到上述目的所采取的技术方案是:
一种电动汽车用轻量化后悬架装置,包括由复合材料制作的单片板簧,在单片板簧的前端连接有前卷耳,在单片板簧的后端连接有后卷耳,单片板簧中部位于后桥板簧座内,且在单片板簧中部配有垫板框和两个U型螺栓,两个U型螺栓通过螺母连接在垫板框上,所述垫板框紧贴后桥板簧座底部且垫板框、单片板簧和后桥板簧座之间通过铆钉头固定连接,在垫板框上铰接有减震器,减震器的上端用于连接在车身纵梁上。
优选的,所述单片板簧的制作材料包括基体材料和玻纤,其中玻纤含量约为40%-60%,基体材料为热熔性环氧树脂材料。
优选的,所述前卷耳与单片板簧粘接后通过螺栓固定在单片板簧前端部,在前卷耳内嵌装有前板簧橡胶衬套,在前板簧橡胶衬套内设有用于连接在车身纵梁上的前吊耳销;
所述后卷耳与单片板簧粘接后通过螺栓固定在单片板簧后端部,在后卷耳内嵌装有第一后板簧橡胶衬套,在第一后板簧橡胶衬套内设有铰接轴,在铰接轴上固定连接有摆臂,在摆臂的顶端设有第二后板簧橡胶衬套,在第二后板簧橡胶衬套内设有用于连接在车身纵梁上的后吊耳销;在摆臂的底端设有配重块。
优选的,在单片板簧中部上方的车身纵梁上装配有缓冲限位块。
优选的,后桥板簧座与单片板簧之间设有橡胶夹层。
优选的,所述前卷耳包括前U型卷耳本体,单片板簧前端部伸入前U型卷耳本体内且通过紧固螺栓将前U型卷耳本体固定连接在单片板簧前端部,在前U型卷耳本体前端部嵌装有前板簧橡胶衬套,在前板簧橡胶衬套内设有用于连接在车身纵梁上的前吊耳销;
所述后卷耳包括后U型卷耳本体,单片板簧后端部伸入后U型卷耳本体内且通过紧固螺栓将后U型卷耳本体固定连接在单片板簧后端部,在后U型卷耳本体后端部嵌装有第一后板簧橡胶衬套,在第一后板簧橡胶衬套内设有铰接轴,在铰接轴上固定连接有摆臂,在摆臂的顶端设有第二后板簧橡胶衬套,在第二后板簧橡胶衬套内设有用于连接在车身纵梁上的后吊耳销;在摆臂的底端设有配重块。
本实用新型所具有的有益效果为:(1)与现有的后悬架通常采用3+2片两级刚度簧,而本实用新型采用一个复合材料制作的单片板簧即可,简化了安装要求,重量仅有原钢板弹簧的1/3,单片板簧没有叶片之间的内部阻尼力,刚度变化更加线性,驾乘感受更舒适。
(2)在后桥板簧座与单片板簧之间设有橡胶夹层,从而保护单片板簧不被钢板划伤,同时增大钢板对单片板簧的固定作用。也增大固定钢板的纵向长度能有效增加单片板簧的侧向刚度。
(3)在后吊耳销的摆臂底端设有配重块有利于减小悬架的高频振动,提高乘坐舒适性。减震器左右非对称布置,以求平衡汽车加速和制动时的减震能力。
(4)通过铆钉头方便垫板框、单片板簧和后桥板簧座分装时进行定位,同时对垫板框中心也有相同作用的定位孔,定还能起到单片板簧的作用。
(5),在单片板簧中部上方的车身纵梁上装配有缓冲限位块,通过设置合理的静挠度和动挠度,对单片板簧起到限位作用,进一步提高单片板簧的使用寿命和使用安全性。
(6)通过上述设计从整体上降低了电动汽车的自重,提高了整车的动力性和经济性。
附图说明
图1为本实用新型的结构示意图;
图2为图1的剖面图;
图3为单片板簧中部的结构放大示意图;
图4为具体实施例1中单片板簧前端的结构放大示意图;
图5为具体实施例1中单片板簧后端的结构放大示意图;
图6为具体实施例2中单片板簧前端的结构放大示意图;
图7为具体实施例2中单片板簧后端的结构放大示意图。
具体实施方式
下面结合附图对本实用新型进一步描述。
具体实施例1:
如图1至图5所示,本实用新型包括由复合材料制作的单片板簧6,在单片板簧6的前端3连接有前卷耳3.3,在单片板簧6的后端7连接有后卷耳7.2,单片板簧中部5位于后桥板簧座5.3内,且在单片板簧中部5配有垫板框5.6和两个U型螺栓5.1,两个U型螺栓5.1通过螺母连接在垫板框5.6上,所述垫板框5.6紧贴后桥板簧座5.3底部且垫板框5.3、单片板簧6和后桥板簧座5.3之间通过铆钉头5.5固定连接,在垫板框5.6上铰接有减震器4,减震器4的上端用于连接在车身纵梁1上。
其中,单片板簧6的制作材料包括基体材料和增强材料玻纤,其中玻纤含量约为40%-60%,基体材料为热熔性环氧树脂材料。也可以调整增强材料的种类,如玻纤改为碳纤维等,或者改变增强材料和基体材料的体积占比,可以调整单片板簧6的刚度和强度等性能,增加了单片板簧6的使用范围。
如图4所示,所述前卷耳3.3与单片板簧6粘接后通过螺栓3.4固定在单片板簧前端部3处,在前卷耳3.3内嵌装有前板簧橡胶衬套3.2,在前板簧橡胶衬套3.2内设有用于连接在车身纵梁1上的前吊耳销3.1;
如图5所示,所述后卷耳7.2与单片板簧6粘接后通过螺栓7.1固定在单片板簧后端部7,在后卷耳7.2内嵌装有第一后板簧橡胶衬套7.6,在第一后板簧橡胶衬套7.6内设有铰接轴7.5,在铰接轴7.5上固定连接有摆臂7.7,在摆臂7.7的顶端设有第二后板簧橡胶衬套7.4,在第二后板簧橡胶衬套7.4内设有用于连接在车身纵梁上的后吊耳销7.3;在摆臂7.7的底端设有配重块7.8。
同时在单片板簧中部5上方的车身纵梁1上装配有缓冲限位块2。后桥板簧座5.3与单片板簧6之间设有橡胶夹层5.4。
具体实施例2:
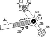
如图6和图7,所示,与具体实施例1不同之处在于单片板簧6的前端3、单片板簧6的后端7的结构形式不同来匹配不同宽度的车身安装点的车身纵梁1使用,所述前卷耳包括前U型卷耳本体3.8,单片板簧6前端部3伸入前U型卷耳本体3.8内且通过紧固螺栓3.7将前U型卷耳本体3.8固定连接在单片板簧6前端部3,在前U型卷耳本体3.8前端部嵌装有前板簧橡胶衬套3.6,在前板簧橡胶衬套3.6内设有用于连接在车身纵梁1上的前吊耳销3.5;
所述后卷耳包括后U型卷耳本体714,单片板簧6后端部7伸入后U型卷耳本体714内且通过紧固螺栓709将后U型卷耳本体714固定连接在单片板簧6后端部7,在后U型卷耳本体714后端部7嵌装有第一后板簧橡胶衬套713,在第一后板簧橡胶衬套713内设有铰接轴712,在铰接轴712上固定连接有摆臂715,在摆臂715的顶端设有第二后板簧橡胶衬套711,在第二后板簧橡胶衬套711内设有用于连接在车身纵梁1上的后吊耳销710;在摆臂715的底端设有配重块716。
最后应说明的是:以上实施例仅用以说明本实用新型的技术方案,而非对其限制;尽管参照前述实施例对本实用新型进行了详细的说明,本领域的普通技术人员应当理解:其依然可以对前述各实施例所记载的技术方案进行修改,或者对其中部分技术特征进行等同替换,但这些修改或者替换,并不使相应技术方案的本质脱离本实用新型各实施例技术方案的精神和范围。
Claims (5)
1.一种电动汽车用轻量化后悬架装置,其特征在于,包括由复合材料制作的单片板簧,在单片板簧的前端连接有前卷耳,在单片板簧的后端连接有后卷耳,单片板簧中部位于后桥板簧座内,且在单片板簧中部配有垫板框和两个U型螺栓,两个U型螺栓通过螺母连接在垫板框上,所述垫板框紧贴后桥板簧座底部且垫板框、单片板簧和后桥板簧座之间通过铆钉头固定连接,在垫板框上铰接有减震器,减震器的上端用于连接在车身纵梁上。
2.根据权利要求1所述的电动汽车用轻量化后悬架装置,其特征在于,所述前卷耳与单片板簧粘接后通过螺栓固定在单片板簧前端部,在前卷耳内嵌装有前板簧橡胶衬套,在前板簧橡胶衬套内设有用于连接在车身纵梁上的前吊耳销;
所述后卷耳与单片板簧粘接后通过螺栓固定在单片板簧后端部,在后卷耳内嵌装有第一后板簧橡胶衬套,在第一后板簧橡胶衬套内设有铰接轴,在铰接轴上固定连接有摆臂,在摆臂的顶端设有第二后板簧橡胶衬套,在第二后板簧橡胶衬套内设有用于连接在车身纵梁上的后吊耳销;在摆臂的底端设有配重块。
3.根据权利要求1或2所述的电动汽车用轻量化后悬架装置,其特征在于,在单片板簧中部上方的车身纵梁上装配有缓冲限位块。
4.根据权利要求3所述的电动汽车用轻量化后悬架装置,其特征在于,后桥板簧座与单片板簧之间设有橡胶夹层。
5.根据权利要求1所述的电动汽车用轻量化后悬架装置,其特征在于,所述前卷耳包括前U型卷耳本体,单片板簧前端部伸入前U型卷耳本体内且通过紧固螺栓将前U型卷耳本体固定连接在单片板簧前端部,在前U型卷耳本体前端部嵌装有前板簧橡胶衬套,在前板簧橡胶衬套内设有用于连接在车身纵梁上的前吊耳销;
所述后卷耳包括后U型卷耳本体,单片板簧后端部伸入后U型卷耳本体内且通过紧固螺栓将后U型卷耳本体固定连接在单片板簧后端部,在后U型卷耳本体后端部嵌装有第一后板簧橡胶衬套,在第一后板簧橡胶衬套内设有铰接轴,在铰接轴上固定连接有摆臂,在摆臂的顶端设有第二后板簧橡胶衬套,在第二后板簧橡胶衬套内设有用于连接在车身纵梁上的后吊耳销;在摆臂的底端设有配重块。
Priority Applications (1)
| Application Number | Priority Date | Filing Date | Title |
|---|---|---|---|
| CN201921615930.2U CN211416878U (zh) | 2019-09-26 | 2019-09-26 | 一种电动汽车用轻量化后悬架装置 |
Applications Claiming Priority (1)
| Application Number | Priority Date | Filing Date | Title |
|---|---|---|---|
| CN201921615930.2U CN211416878U (zh) | 2019-09-26 | 2019-09-26 | 一种电动汽车用轻量化后悬架装置 |
Publications (1)
| Publication Number | Publication Date |
|---|---|
| CN211416878U true CN211416878U (zh) | 2020-09-04 |
Family
ID=72250105
Family Applications (1)
| Application Number | Title | Priority Date | Filing Date |
|---|---|---|---|
| CN201921615930.2U Active CN211416878U (zh) | 2019-09-26 | 2019-09-26 | 一种电动汽车用轻量化后悬架装置 |
Country Status (1)
| Country | Link |
|---|---|
| CN (1) | CN211416878U (zh) |
Cited By (1)
| Publication number | Priority date | Publication date | Assignee | Title |
|---|---|---|---|---|
| CN110682754A (zh) * | 2019-09-26 | 2020-01-14 | 河南德力新能源汽车有限公司 | 一种电动汽车用轻量化后悬架结构 |
-
2019
- 2019-09-26 CN CN201921615930.2U patent/CN211416878U/zh active Active
Cited By (1)
| Publication number | Priority date | Publication date | Assignee | Title |
|---|---|---|---|---|
| CN110682754A (zh) * | 2019-09-26 | 2020-01-14 | 河南德力新能源汽车有限公司 | 一种电动汽车用轻量化后悬架结构 |
Similar Documents
| Publication | Publication Date | Title |
|---|---|---|
| CN102941789B (zh) | 一种电动汽车的减震方法及杠杆式非独立悬挂桥装置 | |
| WO2013044645A1 (zh) | 一种中巴车底盘 | |
| CN106891681A (zh) | 一种轻量化平衡悬架 | |
| CN2678945Y (zh) | 双横臂悬架-扭杆弹簧-电动轮模块化结构 | |
| CN211416878U (zh) | 一种电动汽车用轻量化后悬架装置 | |
| CN201254064Y (zh) | 经济型乘用车两驱后悬架 | |
| CN206765733U (zh) | 客车及其板簧悬架系统 | |
| CN201511773U (zh) | 一种载货汽车单驱动桥用渐变刚度复合悬架装置 | |
| CN209634206U (zh) | 一体式空气悬架及货车 | |
| CN208021562U (zh) | 一种商用车驾驶室后悬置系统 | |
| CN109305003B (zh) | 乘用车及独立悬架系统 | |
| CN201254060Y (zh) | 经济型乘用车两驱前悬架 | |
| CN2928560Y (zh) | 带电动空气压缩机装置的空气悬架结构 | |
| CN205097850U (zh) | 一种全承载式电动客车前独立悬架结构 | |
| CN201439293U (zh) | 一种防暴装甲车底盘的悬挂系统 | |
| CN110682754A (zh) | 一种电动汽车用轻量化后悬架结构 | |
| CN109532369A (zh) | 一种新能源汽车的轻量化下摆臂 | |
| CN201395025Y (zh) | 组合式空气悬挂 | |
| CN208181326U (zh) | 三轮车的独立悬挂系统 | |
| CN211416877U (zh) | 高集成式非独立后悬架 | |
| CN220974449U (zh) | 一种新型电动车前置三角和后三角连接装置 | |
| CN217713466U (zh) | 一种电动四轮乘用车的前减震器 | |
| CN223031076U (zh) | 底盘和车辆 | |
| CN212313215U (zh) | 一种横置单簧式独立悬架 | |
| CN213007488U (zh) | 一种可转向轮边电驱系统 |
Legal Events
| Date | Code | Title | Description |
|---|---|---|---|
| GR01 | Patent grant | ||
| GR01 | Patent grant |