CN211411313U - 一种便于更换过滤网的除尘器 - Google Patents

一种便于更换过滤网的除尘器 Download PDF

Info

Publication number
CN211411313U
CN211411313U CN201922240843.XU CN201922240843U CN211411313U CN 211411313 U CN211411313 U CN 211411313U CN 201922240843 U CN201922240843 U CN 201922240843U CN 211411313 U CN211411313 U CN 211411313U
Authority
CN
China
Prior art keywords
filter screen
dust remover
casing
fixed connection
dust
Prior art date
Legal status (The legal status is an assumption and is not a legal conclusion. Google has not performed a legal analysis and makes no representation as to the accuracy of the status listed.)
Active
Application number
CN201922240843.XU
Other languages
English (en)
Inventor
王波
Current Assignee (The listed assignees may be inaccurate. Google has not performed a legal analysis and makes no representation or warranty as to the accuracy of the list.)
Wuxi Maxon Industrial Filter Co ltd
Original Assignee
Wuxi Maxon Industrial Filter Co ltd
Priority date (The priority date is an assumption and is not a legal conclusion. Google has not performed a legal analysis and makes no representation as to the accuracy of the date listed.)
Filing date
Publication date
Application filed by Wuxi Maxon Industrial Filter Co ltd filed Critical Wuxi Maxon Industrial Filter Co ltd
Priority to CN201922240843.XU priority Critical patent/CN211411313U/zh
Application granted granted Critical
Publication of CN211411313U publication Critical patent/CN211411313U/zh
Active legal-status Critical Current
Anticipated expiration legal-status Critical

Links

Images

Landscapes

  • Filtering Of Dispersed Particles In Gases (AREA)

Abstract

本实用新型属于除尘器技术领域,尤其为一种便于更换过滤网的除尘器,包括本体,所述本体内部通过安装座固定安装有吸风机,所述吸风机的排风口与集尘箱相连通,所述集尘箱顶部设置有盖板,所述本体的顶部设置有收集斗,所述本体的内壁左右两侧分别开设有容纳槽。本实用新型通过下压按压块,能够使梯形板带动连接块和电磁铁进入收纳槽中,从而将过滤网取下进行清理或更换,在需要装上清理后的或新的过滤网时,下压按压块并将过滤网放置在支撑板上后,松开按压块,在弹性装置的作用下即可使连接块电磁铁复位把过滤网固定住,使得过滤网的拆装更加便捷,不在需要传统的切割焊接等工序,大大提高了过滤网的更换效率。

Description

一种便于更换过滤网的除尘器
技术领域
本实用新型属于除尘器技术领域,具体涉及一种便于更换过滤网的除尘器。
背景技术
在工厂车间中,车间除尘是指利用相应的除尘设备有效解决车间环境问题,给予车间工人温馨舒适的环境,以提高工作效率的目的。
目前普通的工厂车间常用的除尘器,主要是利用过滤网过滤杂物(大颗粒杂质、其他垃圾等),然后吸风机进行吸附粉尘,收集箱进行收纳粉尘,此套结构设备比较简单、费用较低,因此在普通的工厂车间得到了广泛的应用,而这样的除尘器中过滤网通常都是采用焊接的方式固定设置在除尘器中,导致过滤网的清理或更换时,需要进行切割去掉,清理后、更换新的过滤网再进行焊接固定,十分的不便,因此,亟需发明一种便于更换过滤网的除尘器。
实用新型内容
有鉴于现有技术的上述缺陷,本实用新型的技术目的在于解决传统的除尘器不便于更换过滤网的问题。
为实现上述目的,本实用新型提供如下技术方案:一种便于更换过滤网的除尘器,包括本体,所述本体内部通过安装座固定安装有吸风机,所述吸风机的排风口与集尘箱相连通,所述集尘箱顶部设置有盖板,所述本体的顶部设置有收集斗,所述本体的内壁左右两侧分别开设有容纳槽,所述本体的顶部左右两侧分别开设有通孔,两个所述通孔分别与两个容纳槽相连通,所述通孔内固定连接有滑套,所述滑套内套接有滑杆,所述滑杆的顶端固定连接有按压块,所述滑杆的底端设置有滑轮,所述滑轮的底端滑动连接在梯形板上表面开设的第一滑槽内,所述梯形板的一侧通过弹性装置与容纳槽的内壁固定连接,所述梯形板的另一侧固定连接有连接块,所述连接块的下表面固定连接有电磁铁,所述电磁铁的下表面搭接有过滤网,所述过滤网的下表面左右两侧分别搭接有支撑板,所述支撑板的侧面与本体的内壁固定连接。
优选的,所述按压块的顶端呈弧形。
优选的,所述梯形板靠近通孔的一端高于梯形板远离通孔的一端。
优选的,所述弹性装置包括壳体,所述壳体的一端于容纳槽的内壁固定连接,所述壳体的内壁上下侧分别开设有第二滑槽,两个所述第二滑槽内分别滑动连接有滑块,两个所述滑块的相对面分别与活动杆的上下侧固定连接,所述活动杆远离壳体的一端于连接块的侧面固定连接,所述活动杆靠近壳体的一端通过弹簧与壳体的内壁固定连接。
优选的,所述支撑板为铁材质。
优选的,所述本体的正面通过合页活动连接有检修门,所述检修门的正面固定连接有把手。
优选的,所述本体的一侧设置有蓄电池,所述蓄电池分别通过控制开关与吸风机和电磁铁电连接。
与现有技术相比,本实用新型的有益效果是:
本实用新型,通过设置梯形板、滑套、滑杆、滑轮、按压块和弹性装置,下压按压块,能够使梯形板带动连接块和电磁铁进入收纳槽中,从而将过滤网取下进行清理或更换,在需要装上清理后的或新的过滤网时,下压按压块并将过滤网放置在支撑板上后,松开按压块,在弹性装置的作用下即可使连接块电磁铁复位把过滤网固定住,使得过滤网的拆装更加便捷,不在需要传统的切割焊接等工序,大大提高了过滤网的更换效率。
附图说明
附图用来提供对本实用新型的进一步理解,并且构成说明书的一部分,与本实用新型的实施例一起用于解释本实用新型,并不构成对本实用新型的限制。在附图中:
图1为本实用新型正视的剖面结构示意图;
图2为本实用新型正视的结构示意图;
图3为本实用新型图1中A部分放大的结构示意图;
图4为本实用新型中弹性装置的结构示意图;
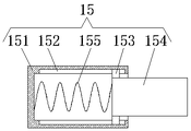
图中:1本体、2安装座、3吸风机、4集尘箱、5盖板、6收集斗、7容纳槽、8通孔、9滑套、10滑杆、11按压块、12滑轮、13梯形板、14第一滑槽、15弹性装置、151壳体、152第二滑槽、153滑块、154活动杆、155弹簧、16连接块、17电磁铁、18过滤网、19支撑板、20检修门、21把手、22蓄电池。
具体实施方式
下面将结合本实用新型实施例中的附图,对本实用新型实施例中的技术方案进行清楚、完整地描述,显然,所描述的实施例仅仅是本实用新型一部分实施例,而不是全部的实施例。基于本实用新型中的实施例,本领域普通技术人员在没有做出创造性劳动前提下所获得的所有其他实施例,都属于本实用新型保护的范围。
实施例1
请参阅图1-图3,本实用新型提供以下技术方案:一种便于更换过滤网的除尘器,包括本体1,本体1内部通过安装座2固定安装有吸风机3,吸风机3的排风口与集尘箱4相连通,集尘箱4顶部设置有盖板5,本体1的顶部设置有收集斗6,本体1的内壁左右两侧分别开设有容纳槽7,本体1的顶部左右两侧分别开设有通孔8,两个通孔8分别与两个容纳槽7相连通,通孔8内固定连接有滑套9,滑套9内套接有滑杆10,滑杆10的顶端固定连接有按压块11,滑杆10的底端设置有滑轮12,滑轮12的底端滑动连接在梯形板13上表面开设的第一滑槽14内,梯形板13的一侧通过弹性装置15与容纳槽7的内壁固定连接,梯形板13的另一侧固定连接有连接块16,连接块16的下表面固定连接有电磁铁17,电磁铁17的下表面搭接有过滤网18,过滤网18的下表面左右两侧分别搭接有支撑板19,支撑板19的侧面与本体1的内壁固定连接。
具体的,按压块11的顶端呈弧形,让手部能够更好的把握按压块11。
具体的,梯形板13靠近通孔8的一端高于梯形板13远离通孔8的一端,从而使滑轮12下压梯形板13时,梯形板13能够向容纳槽7内部移动。
具体的,弹性装置15包括壳体151,壳体151的一端于容纳槽7的内壁固定连接,壳体151的内壁上下侧分别开设有第二滑槽152,两个第二滑槽152内分别滑动连接有滑块153,两个滑块153的相对面分别与活动杆154的上下侧固定连接,活动杆154远离壳体151的一端于连接块16的侧面固定连接,活动杆154靠近壳体151的一端通过弹簧155与壳体151的内壁固定连接。
具体的,支撑板19为铁材质,在配合电磁铁17的情况下,电磁铁17通电能够对支撑板19产生吸力,从而使过滤网的固定更加稳定。
具体的,本体1的正面通过合页活动连接有检修门20,检修门20的正面固定连接有把手21。
具体的,本体1的一侧设置有蓄电池22,蓄电池22分别通过控制开关与吸风机3和电磁铁17电连接。
本实用新型的工作原理及使用流程:在需要取下过滤网18进行清理或更换时,可通过下压按压块11,使滑杆10带动滑轮12向下挤压梯形板13,使梯形板13向容纳槽7内部运动,从而使连接块16带动电磁体17向容纳槽7内部运动,同时活动杆154向壳体151内部运动,弹簧155被压缩,待电磁铁17与过滤网18完全分离后,扶住按压块11保持电磁铁17不动,便可取下过滤网18进行清理或更换,过滤网18取下后即可松开按压块11,此时弹簧155利用自身弹力向外侧推动活动杆154,从而使梯形板13带动连接块16和电磁铁17复位;
在过滤网18清理完毕后或取来新的过滤网18需要装上时,可再次按压按压块11,同上述内容,待电磁铁完全进入容纳槽7内时,扶住按压块11保持电磁铁17不动,便可取将过滤网18放置在支撑板19上,此时松开按压块11,弹簧155利用自身弹力向外侧推动活动杆154,从而使梯形板13带动连接块16和电磁铁17复位。
最后应说明的是:以上所述仅为本实用新型的优选实施例而已,并不用于限制本实用新型,尽管参照前述实施例对本实用新型进行了详细的说明,对于本领域的技术人员来说,其依然可以对前述各实施例所记载的技术方案进行修改,或者对其中部分技术特征进行等同替换。凡在本实用新型的精神和原则之内,所作的任何修改、等同替换、改进等,均应包含在本实用新型的保护范围之内。

Claims (7)

1.一种便于更换过滤网的除尘器,包括本体(1),其特征在于:所述本体(1)内部通过安装座(2)固定安装有吸风机(3),所述吸风机(3)的排风口与集尘箱(4)相连通,所述集尘箱(4)顶部设置有盖板(5),所述本体(1)的顶部设置有收集斗(6),所述本体(1)的内壁左右两侧分别开设有容纳槽(7),所述本体(1)的顶部左右两侧分别开设有通孔(8),两个所述通孔(8)分别与两个容纳槽(7)相连通,所述通孔(8)内固定连接有滑套(9),所述滑套(9)内套接有滑杆(10),所述滑杆(10)的顶端固定连接有按压块(11),所述滑杆(10)的底端设置有滑轮(12),所述滑轮(12)的底端滑动连接在梯形板(13)上表面开设的第一滑槽(14)内,所述梯形板(13)的一侧通过弹性装置(15)与容纳槽(7)的内壁固定连接,所述梯形板(13)的另一侧固定连接有连接块(16),所述连接块(16)的下表面固定连接有电磁铁(17),所述电磁铁(17)的下表面搭接有过滤网(18),所述过滤网(18)的下表面左右两侧分别搭接有支撑板(19),所述支撑板(19)的侧面与本体(1)的内壁固定连接。
2.根据权利要求1所述的一种便于更换过滤网的除尘器,其特征在于:所述按压块(11)的顶端呈弧形。
3.根据权利要求1所述的一种便于更换过滤网的除尘器,其特征在于:所述梯形板(13)靠近通孔(8)的一端高于梯形板(13)远离通孔(8)的一端。
4.根据权利要求1所述的一种便于更换过滤网的除尘器,其特征在于:所述弹性装置(15)包括壳体(151),所述壳体(151)的一端于容纳槽(7)的内壁固定连接,所述壳体(151)的内壁上下侧分别开设有第二滑槽(152),两个所述第二滑槽(152)内分别滑动连接有滑块(153),两个所述滑块(153)的相对面分别与活动杆(154)的上下侧固定连接,所述活动杆(154)远离壳体(151)的一端于连接块(16)的侧面固定连接,所述活动杆(154)靠近壳体(151)的一端通过弹簧(155)与壳体(151)的内壁固定连接。
5.根据权利要求1所述的一种便于更换过滤网的除尘器,其特征在于:所述支撑板(19)为铁材质。
6.根据权利要求1所述的一种便于更换过滤网的除尘器,其特征在于:所述本体(1)的正面通过合页活动连接有检修门(20),所述检修门(20)的正面固定连接有把手(21)。
7.根据权利要求1所述的一种便于更换过滤网的除尘器,其特征在于:所述本体(1)的一侧设置有蓄电池(22),所述蓄电池(22)分别通过控制开关与吸风机(3)和电磁铁(17)电连接。
CN201922240843.XU 2019-12-14 2019-12-14 一种便于更换过滤网的除尘器 Active CN211411313U (zh)

Priority Applications (1)

Application Number Priority Date Filing Date Title
CN201922240843.XU CN211411313U (zh) 2019-12-14 2019-12-14 一种便于更换过滤网的除尘器

Applications Claiming Priority (1)

Application Number Priority Date Filing Date Title
CN201922240843.XU CN211411313U (zh) 2019-12-14 2019-12-14 一种便于更换过滤网的除尘器

Publications (1)

Publication Number Publication Date
CN211411313U true CN211411313U (zh) 2020-09-04

Family

ID=72281541

Family Applications (1)

Application Number Title Priority Date Filing Date
CN201922240843.XU Active CN211411313U (zh) 2019-12-14 2019-12-14 一种便于更换过滤网的除尘器

Country Status (1)

Country Link
CN (1) CN211411313U (zh)

Cited By (2)

* Cited by examiner, † Cited by third party
Publication number Priority date Publication date Assignee Title
CN115282713A (zh) * 2022-09-05 2022-11-04 辽宁欣海弘业航空科技有限公司 一种打磨车间的除尘系统
CN115751422A (zh) * 2022-09-23 2023-03-07 华能济南黄台发电有限公司 一种超临界机组低压缸零出力机组冷热联供余热回收系统

Cited By (4)

* Cited by examiner, † Cited by third party
Publication number Priority date Publication date Assignee Title
CN115282713A (zh) * 2022-09-05 2022-11-04 辽宁欣海弘业航空科技有限公司 一种打磨车间的除尘系统
CN115282713B (zh) * 2022-09-05 2024-03-26 辽宁欣海弘业航空科技有限公司 一种打磨车间的除尘系统
CN115751422A (zh) * 2022-09-23 2023-03-07 华能济南黄台发电有限公司 一种超临界机组低压缸零出力机组冷热联供余热回收系统
CN115751422B (zh) * 2022-09-23 2023-06-20 华能济南黄台发电有限公司 一种超临界机组低压缸零出力机组冷热联供余热回收系统

Similar Documents

Publication Publication Date Title
CN108789689B (zh) 一种家具加工废屑回收装置
CN111200240B (zh) 一种电气柜的自动维护设备
CN211411313U (zh) 一种便于更换过滤网的除尘器
CN212378152U (zh) 一种具有灰尘收集功能的等离子空气净化器
CN113329573A (zh) 一种基于协作机器人的模块化控制柜
CN212431172U (zh) 一种滤网便于更换的空气净化器
CN219596182U (zh) 一种具有清灰功能的脉冲布筒滤尘器
CN215049812U (zh) 一种炭黑生产用反应炉
CN216064403U (zh) 一种可清洁并回收轨道上粘附物的导轨组件
CN215317823U (zh) 一种用于回收废铜的氧化铜打磨装置
CN211975336U (zh) 一种空压机用高效除油过滤器
CN210993416U (zh) 一种节能型油雾收集过滤装置
CN210790575U (zh) 一种磨台废料收集装置
CN221771640U (zh) 一种清洗剂生产用过滤装置
CN209889552U (zh) 一种便于移动的厨房用垃圾处理分类箱
CN215916589U (zh) 一种润滑油生产用过滤装置
CN216026753U (zh) 一种机电工程环保除尘装置
CN218870188U (zh) 一种清洁机器人用便于更换的集尘盒
CN221618923U (zh) 一种便于安装的空气过滤器
CN217190889U (zh) 一种用于土木工程的自动上料筛沙机
CN223276074U (zh) 一种用于聚乙烯蜡粉末生产用的除尘装置
CN219234723U (zh) 一种金属件加工用数控机床
CN218046818U (zh) 一种垃圾固液分离结构
CN219268198U (zh) 一种办公楼宇智能化设备的控制柜
CN217410153U (zh) 一种轴承加工用降尘装置

Legal Events

Date Code Title Description
GR01 Patent grant
GR01 Patent grant