CN211397342U - Combined wood door and window mounting frame - Google Patents
Combined wood door and window mounting frame Download PDFInfo
- Publication number
- CN211397342U CN211397342U CN201922327884.2U CN201922327884U CN211397342U CN 211397342 U CN211397342 U CN 211397342U CN 201922327884 U CN201922327884 U CN 201922327884U CN 211397342 U CN211397342 U CN 211397342U
- Authority
- CN
- China
- Prior art keywords
- plate
- pin
- frame body
- folding rod
- fixedly connected
- Prior art date
- Legal status (The legal status is an assumption and is not a legal conclusion. Google has not performed a legal analysis and makes no representation as to the accuracy of the status listed.)
- Active
Links
Images
Landscapes
- Extensible Doors And Revolving Doors (AREA)
Abstract
本实用新型公开了一种组合式木质门窗安装框架,属于门窗框架技术领域,其包括框架主体,所述框架主体正面的左右两侧均设置有收纳腔,所述收纳腔内壁的右侧面卡接有第一销轴。该组合式木质门窗安装框架,通过设置支撑架板、第一销轴、第二销轴、第三销轴、折叠杆和主销轴,由第一销轴的作用,可以将两个支撑架板旋转,且折叠杆,通过第二销轴、第三销轴和主销轴的配合作用,使得折叠杆可以进行折叠和展开,进而让支撑架板可以旋转展开到90°,通过其组合式结构,可以在两个展开的支撑架板上放置木板,用来晒鞋子和其它物品等,使得该框架具有多样化功能,较为人性化,为使用者提供方便。
The utility model discloses a combined wooden door and window installation frame, which belongs to the technical field of door and window frames. The utility model comprises a frame body. The left and right sides of the front of the frame body are provided with storage cavities, and the right side of the inner wall of the storage cavity is clamped. A first pin is connected. The combined wooden door and window installation frame is provided with a supporting frame plate, a first pin, a second pin, a third pin, a folding rod and a king pin, and the two supporting frames can be connected by the action of the first pin. The board rotates, and the folding rod, through the cooperation of the second pin, the third pin and the king pin, enables the folding rod to be folded and unfolded, so that the support frame board can be rotated and unfolded to 90°. The structure can place wooden boards on the two unfolded support frames for drying shoes and other items, so that the frame has diversified functions, is more humanized, and provides convenience for users.
Description
技术领域technical field
本实用新型属于门窗框架技术领域,具体为一种组合式木质门窗安装框架。The utility model belongs to the technical field of door and window frames, in particular to a combined wooden door and window installation frame.
背景技术Background technique
门窗在生活建筑中,是必不可少的安装结构,对建筑的采光通风等,起到极大的作用,而窗户框架是我们用来安装玻璃板等,配合门窗进行安装固定使用,而大多数的门窗安装框架,其结构通常都是固定单一的,不具有组合结构,只能进行安装玻璃,所以导致其功能单一,不够人性化,人们在进行使用时,不能为其提供方便。Doors and windows are an indispensable installation structure in living buildings, which play a great role in the lighting and ventilation of buildings. The window frame is used by us to install glass panels, etc., and is installed and fixed with doors and windows. The structure of the door and window installation frame is usually fixed and single. It does not have a combined structure and can only be installed with glass. Therefore, it has a single function and is not humanized enough. When people use it, it cannot provide convenience.
实用新型内容Utility model content
(一)解决的技术问题(1) Technical problems solved
为了克服现有技术的上述缺陷,本实用新型提供了一种组合式木质门窗安装框架,解决了大多数的门窗安装框架,其结构通常都是固定单一的,不具有组合结构,只能进行安装玻璃,所以导致其功能单一,不够人性化,人们在进行使用时,不能为其提供方便的问题。In order to overcome the above-mentioned defects of the prior art, the utility model provides a combined wooden door and window installation frame, which solves most of the door and window installation frames, whose structure is usually fixed and single, does not have a combined structure, and can only be installed Glass, so it has a single function and is not humane enough. When people use it, it cannot provide convenience for it.
(二)技术方案(2) Technical solutions
为实现上述目的,本实用新型提供如下技术方案:一种组合式木质门窗安装框架,包括框架主体,所述框架主体正面的左右两侧均设置有收纳腔,所述收纳腔内壁的右侧面卡接有第一销轴,所述第一销轴的左右两端分别与收纳腔内壁的左右两侧面固定连接,所述第一销轴的外壁设置有支撑架板,所述第一销轴卡接在支撑架板内,所述支撑架板的背面设置有折叠杆,所述折叠杆的左侧面设置有主销轴,所述主销轴卡接在折叠杆内,所述折叠杆背面的一端卡接有第三销轴,所述第三销轴的左右两端分别与收纳腔内壁的左右两侧面固定连接,所述折叠杆正面的一端卡接有第二销轴,所述第二销轴的左右两端分别与支撑架板内壁的左右两侧面固定连接。In order to achieve the above purpose, the utility model provides the following technical solutions: a combined wooden door and window installation frame, comprising a frame body, the left and right sides of the front of the frame body are provided with storage cavities, and the right side of the inner wall of the storage cavity is provided with cavities. A first pin shaft is clamped, and the left and right ends of the first pin shaft are respectively fixedly connected with the left and right sides of the inner wall of the receiving cavity. The outer wall of the first pin shaft is provided with a support frame plate, and the first pin shaft It is clamped in the support frame plate, the back of the support frame plate is provided with a folding rod, the left side of the folding rod is provided with a kingpin shaft, the kingpin shaft is clamped in the folding rod, and the folding rod One end of the back is clamped with a third pin, the left and right ends of the third pin are respectively fixedly connected with the left and right sides of the inner wall of the storage cavity, and one end of the front of the folding rod is clamped with a second pin. The left and right ends of the second pin shaft are respectively fixedly connected with the left and right side surfaces of the inner wall of the support frame plate.
所述框架主体内壁的正面固定连接有两个滑槽板,两个所述滑槽板的上表面均卡接有存放盒,所述存放盒的下表面固定连接有两个滑块,所述滑块的下端卡接在滑槽板的上表面内,所述框架主体的正面固定连接有若干个挂钩,所述挂钩位于滑槽板的下方,所述框架主体的正面卡接有拉板,所述拉板位于挂钩的下方,所述拉板背面的左右两侧均固定连接有嵌块,所述框架主体正面的左右两侧开设有滑腔,所述滑腔位于挂钩的左右两侧,所述嵌块卡接在滑腔内。The front surface of the inner wall of the frame body is fixedly connected with two chute plates, the upper surfaces of the two chute plates are both clamped with storage boxes, and the lower surfaces of the storage boxes are fixedly connected with two sliders. The lower end of the slider is clamped in the upper surface of the chute plate, a number of hooks are fixedly connected to the front of the frame body, the hooks are located below the chute plate, and the front of the frame body is clamped with a pull plate, The pull plate is located below the hook, the left and right sides of the back of the pull plate are fixedly connected with inserts, the left and right sides of the front of the frame body are provided with sliding cavities, and the sliding cavities are located on the left and right sides of the hook, The insert block is clamped in the sliding cavity.
作为本实用新型的进一步方案:所述支撑架板通过第二销轴与折叠杆活动连接,所述支撑架板通过第一销轴与收纳腔活动连接。As a further solution of the present invention, the support frame plate is movably connected with the folding rod through the second pin, and the support frame plate is movably connected with the receiving cavity through the first pin.
作为本实用新型的进一步方案:所述收纳腔的长度小于框架主体的长度,所述框架主体的左右两侧面均螺纹连接有丝杆把手,所述丝杆把手的一端固定连接限位卡块,所述支撑架板的左侧面开设有卡槽,所述卡槽的半径大于限位卡块的半径。As a further solution of the present invention: the length of the receiving cavity is less than the length of the frame body, the left and right sides of the frame body are threadedly connected with a screw handle, and one end of the screw handle is fixedly connected to a limit block, The left side of the support frame plate is provided with a clamping slot, and the radius of the clamping slot is larger than the radius of the limit clamping block.
作为本实用新型的进一步方案:所述存放盒通过滑块与滑槽板活动连接,所述存放盒的深度小于框架主体的厚度。As a further solution of the present invention, the storage box is movably connected to the chute plate through a sliding block, and the depth of the storage box is smaller than the thickness of the frame body.
作为本实用新型的进一步方案:所述拉板的水平中心线与挂钩的水平中心线相平行。As a further solution of the present invention, the horizontal center line of the pull plate is parallel to the horizontal center line of the hook.
作为本实用新型的进一步方案:所述滑腔内壁的上表面设置有橡胶槽,所述橡胶槽的中轴线与嵌块的中轴线相重合。As a further solution of the present invention, the upper surface of the inner wall of the sliding cavity is provided with a rubber groove, and the central axis of the rubber groove coincides with the central axis of the insert.
(三)有益效果(3) Beneficial effects
与现有技术相比,本实用新型的有益效果在于:Compared with the prior art, the beneficial effects of the present utility model are:
1、该组合式木质门窗安装框架,通过设置支撑架板、第一销轴、第二销轴、第三销轴、折叠杆和主销轴,由第一销轴的作用,可以将两个支撑架板旋转,且折叠杆通过第二销轴、第三销轴和主销轴的配合作用,使得折叠杆可以进行折叠和展开,进而让支撑架板可以旋转展开到90°,通过其组合式结构,可以在两个展开的支撑架板上放置木板,用来晒鞋子和其它物品等,使得该框架具有多样化功能,较为人性化,为使用者提供方便。1. The combined wooden door and window installation frame, by setting the support frame plate, the first pin, the second pin, the third pin, the folding rod and the king pin, can connect the two The support frame plate rotates, and the folding rod can be folded and unfolded through the cooperation of the second pin, the third pin and the king pin, so that the support frame plate can be rotated and unfolded to 90°. It is a structure that can place wooden boards on the two unfolded support frames for drying shoes and other items, so that the frame has diversified functions, is more user-friendly, and provides convenience for users.
2、该组合式木质门窗安装框架,通过设置存放盒、滑块和滑槽板,存放盒通过滑块和滑槽板的配合作用,可以滑动拿出,用来存放螺丝等小零件,便于使用者随时拿取零部件进行检修。2. The combined wooden door and window installation frame is provided with a storage box, a slider and a chute plate. The storage box can be slid out through the cooperation of the slider and the chute plate to store small parts such as screws, which is easy to use. The operator can take parts for maintenance at any time.
3、该组合式木质门窗安装框架,通过设置拉板、挂钩、滑腔和嵌块,由滑腔和嵌块的配合作用,使得拉板可以滑动打开和闭合,可以在不使用挂钩的时候,闭合拉板,将挂钩遮挡,避免人体意外碰撞到挂钩而受到损伤,使其具有悬挂衣物功能的同时,也能减少存在的安全隐患。3. The combined wooden door and window installation frame is provided with a pull plate, a hook, a sliding cavity and an insert, and the sliding cavity and the insert block cooperate to make the pull plate slide open and close. When the hook is not used, The pull plate is closed to cover the hook, so that the human body can be prevented from accidentally colliding with the hook and being damaged, so that it has the function of hanging clothes, and at the same time, it can also reduce the existing safety hazards.
附图说明Description of drawings
图1为本实用新型正视的结构示意图;Fig. 1 is the structural representation of the front view of the utility model;
图2为本实用新型侧视的结构示意图;Fig. 2 is the structural representation of the utility model side view;
图3为本实用新型图1中A处放大的结构示意图;Fig. 3 is the enlarged structural representation at A in Fig. 1 of the utility model;
图4为本实用新型图1中B处放大的结构示意图;Fig. 4 is the enlarged structural representation at B in Fig. 1 of the utility model;
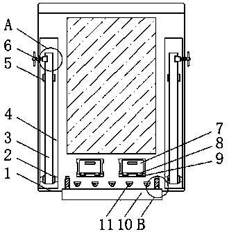
图中:1框架主体、2第一销轴、3支撑架板、4收纳腔、5第二销轴、6丝杆把手、7存放盒、8滑块、9滑槽板、10拉板、11挂钩、12第三销轴、13卡槽、14折叠杆、15主销轴、16限位卡块、17橡胶槽、18滑腔、19嵌块。In the figure: 1 frame body, 2 first pin shaft, 3 support frame plate, 4 storage cavity, 5 second pin shaft, 6 screw handle, 7 storage box, 8 slider, 9 chute plate, 10 pull plate, 11 hook, 12 third pin, 13 card slot, 14 folding rod, 15 king pin, 16 limit block, 17 rubber groove, 18 sliding cavity, 19 insert.
具体实施方式Detailed ways
下面结合具体实施方式对本专利的技术方案作进一步详细地说明。The technical solution of the present patent will be described in further detail below in conjunction with specific embodiments.
如图1-4所示,本实用新型提供一种技术方案:一种组合式木质门窗安装框架,包括框架主体1,框架主体1正面的左右两侧均设置有收纳腔4,收纳腔4的长度小于框架主体1的长度,框架主体1的左右两侧面均螺纹连接有丝杆把手6,丝杆把手6的一端固定连接限位卡块16,支撑架板3的左侧面开设有卡槽13,卡槽13的半径大于限位卡块16的半径,通过收纳腔4的作用,可以将两个支撑架板3旋转收纳到其内部,同时利用丝杆把手6上的限位卡块16,嵌入到卡槽13中,对支撑架板3进行固定,便于在不使用支撑架板3时,将其收纳固定,便于操作,收纳腔4内壁的右侧面卡接有第一销轴2,第一销轴2的左右两端分别与收纳腔4内壁的左右两侧面固定连接,第一销轴2的外壁设置有支撑架板3,第一销轴2卡接在支撑架板3内,支撑架板3的背面设置有折叠杆14,支撑架板3通过第二销轴5与折叠杆14活动连接,支撑架板3通过第一销轴2与收纳腔4活动连接,通过第二销轴5、第三销轴12和主销轴15的配合作用,使得折叠杆14可以进行折叠和展开,进而让支撑架板3可以旋转展开到90°,通过其组合式结构,可以在两个展开的支撑架板3上放置木板,用来晒鞋子和其它物品等,折叠杆14的左侧面设置有主销轴15,主销轴15卡接在折叠杆14内,折叠杆14背面的一端卡接有第三销轴12,第三销轴12的左右两端分别与收纳腔4内壁的左右两侧面固定连接,折叠杆14正面的一端卡接有第二销轴5,第二销轴5的左右两端分别与支撑架板3内壁的左右两侧面固定连接。As shown in Figures 1-4, the present utility model provides a technical solution: a combined wooden door and window installation frame, comprising a
框架主体1内壁的正面固定连接有两个滑槽板9,两个滑槽板9的上表面均卡接有存放盒7,存放盒7通过滑块8与滑槽板9活动连接,存放盒7的深度小于框架主体1的厚度,存放盒7通过滑块8和滑槽板9的配合作用,可以滑动拿出,用来存放螺丝等小零件,便于使用者随时拿取零部件进行检修,存放盒7的下表面固定连接有两个滑块8,滑块8的下端卡接在滑槽板9的上表面内,框架主体1的正面固定连接有若干个挂钩11,挂钩11位于滑槽板9的下方,框架主体1的正面卡接有拉板10,拉板10位于挂钩11的下方,拉板10背面的左右两侧均固定连接有嵌块19,框架主体1正面的左右两侧开设有滑腔18,拉板10的水平中心线与挂钩11的水平中心线相平行,由滑腔18和嵌块19的配合作用,使得拉板10可以滑动打开和闭合,可以在不使用挂钩11的时候,闭合拉板10,将挂钩11遮挡,避免人体意外碰撞到挂钩11而受到损伤,滑腔18位于挂钩11的左右两侧,嵌块19卡接在滑腔18内,滑腔18内壁的上表面设置有橡胶槽17,橡胶槽17的中轴线与嵌块19的中轴线相重合,拉板10闭合时,嵌块19在滑腔18内滑动,其一端嵌入到橡胶槽17中,由于橡胶槽17内壁的橡胶材质,增大物体间的摩擦力,使得拉板10闭合结构稳定,防止滑落。The front surface of the inner wall of the
本实用新型的工作原理为:The working principle of the utility model is:
S1、当需要利用门窗的充足阳光,进行晾晒物品时,使用者可以旋转出丝杆把手6,将两个支撑架板3旋转展开,同时折叠杆14通过第二销轴5、第三销轴12和主销轴15的配合作用,将支撑架板3进行展开的位置进行限位,然后再将展开的支撑架板3上放置木板,用来晒鞋子和其它物品等,并且,利用挂钩11悬挂衣物,进行晾晒;S1. When it is necessary to use the sufficient sunlight of doors and windows to dry items, the user can rotate the screw handle 6 to rotate and unfold the two
S2、其次,晾晒完之后,使用者旋转支撑架板3,将其连同折叠杆14一起收纳到收纳腔4中,并且,向内旋转丝杆把手6,让丝杆把手6一端的限位卡块16,嵌入到卡槽13中,对支撑架板3进行固定,接着使用者将拉板10向上滑动,使其背面连接的嵌块19,嵌入到橡胶槽17中,将挂钩11遮挡在其背面;S2. Second, after drying, the user rotates the
S3、日常使用时,使用者通过滑块8,滑动存放盒7,用来存放或者拿取螺丝等维修用的小零件。S3. In daily use, the user slides the storage box 7 through the slider 8 to store or take small parts for maintenance such as screws.
在本实用新型的描述中,需要说明的是,除非另有明确的规定和限定,术语“安装”、“相连”、“连接”应做广义理解,例如,可以是固定连接,也可以是可拆卸连接,或一体地连接;可以是机械连接,也可以是电连接;可以是直接相连,也可以通过中间媒介间接相连,可以是两个元件内部的连通。对于本领域的普通技术人员而言,可以通过具体情况理解上述术语在本实用新型中的具体含义。In the description of the present invention, it should be noted that, unless otherwise expressly specified and limited, the terms "installed", "connected" and "connected" should be understood in a broad sense, for example, it may be a fixed connection or a connectable connection. Detachable connection, or integral connection; may be mechanical connection or electrical connection; may be direct connection, or indirect connection through an intermediate medium, or internal communication between two components. For those of ordinary skill in the art, the specific meanings of the above terms in the present invention can be understood through specific situations.
上面对本专利的较佳实施方式作了详细说明,但是本专利并不限于上述实施方式,在本领域的普通技术人员所具备的知识范围内,还可以在不脱离本专利宗旨的前提下作出各种变化。The preferred embodiments of the present patent have been described in detail above, but the present patent is not limited to the above-mentioned embodiments. Within the scope of knowledge possessed by those of ordinary skill in the art, various modifications can be made without departing from the purpose of the present patent. kind of change.
Claims (6)
Priority Applications (1)
| Application Number | Priority Date | Filing Date | Title |
|---|---|---|---|
| CN201922327884.2U CN211397342U (en) | 2019-12-23 | 2019-12-23 | Combined wood door and window mounting frame |
Applications Claiming Priority (1)
| Application Number | Priority Date | Filing Date | Title |
|---|---|---|---|
| CN201922327884.2U CN211397342U (en) | 2019-12-23 | 2019-12-23 | Combined wood door and window mounting frame |
Publications (1)
| Publication Number | Publication Date |
|---|---|
| CN211397342U true CN211397342U (en) | 2020-09-01 |
Family
ID=72224435
Family Applications (1)
| Application Number | Title | Priority Date | Filing Date |
|---|---|---|---|
| CN201922327884.2U Active CN211397342U (en) | 2019-12-23 | 2019-12-23 | Combined wood door and window mounting frame |
Country Status (1)
| Country | Link |
|---|---|
| CN (1) | CN211397342U (en) |
Cited By (1)
| Publication number | Priority date | Publication date | Assignee | Title |
|---|---|---|---|---|
| CN113148432A (en) * | 2021-04-14 | 2021-07-23 | 河钢股份有限公司承德分公司 | Finishing mill working roll storage device |
-
2019
- 2019-12-23 CN CN201922327884.2U patent/CN211397342U/en active Active
Cited By (1)
| Publication number | Priority date | Publication date | Assignee | Title |
|---|---|---|---|---|
| CN113148432A (en) * | 2021-04-14 | 2021-07-23 | 河钢股份有限公司承德分公司 | Finishing mill working roll storage device |
Similar Documents
| Publication | Publication Date | Title |
|---|---|---|
| CN105266396B (en) | A kind of simple multifunctional built-in wardrobe | |
| CN211397342U (en) | Combined wood door and window mounting frame | |
| CN212394314U (en) | An easy-to-install modular cabinet | |
| CN211154608U (en) | Combined cabinet body | |
| CN107039898B (en) | A kind of electric automatization control cabinet equipped with anti-skid device | |
| CN206238796U (en) | A kind of extension type wardrobe | |
| TWM520315U (en) | Cabinet structure for accommodating makeup mirror | |
| CN211298998U (en) | A space-saving wall-mounted confidential bookshelf | |
| CN209031460U (en) | A crystal pumping storage high cabinet | |
| CN211186339U (en) | Make things convenient for multi-functional wardrobe of dismouting | |
| CN201131489Y (en) | a dresser | |
| CN222615221U (en) | Hidden hanging plate hook for wooden door | |
| CN207767850U (en) | A kind of family life multifunction wardrobe | |
| CN212139818U (en) | Plastic resin board furniture | |
| CN222323101U (en) | A multifunctional home wardrobe | |
| CN209712068U (en) | Novel wardrobe | |
| CN207023894U (en) | A kind of multifunctional bearer | |
| CN217039313U (en) | Combined wardrobe | |
| CN112369820B (en) | Sliding wardrobe door | |
| CN213882421U (en) | Hall cabinet | |
| CN221856591U (en) | A multifunctional bathroom wooden door | |
| CN215714108U (en) | Novel intelligent wardrobe | |
| CN223438107U (en) | Folding kitchen cabinet with storage | |
| CN208364008U (en) | Door with function of placing articles | |
| CN215014829U (en) | A multifunctional wardrobe |
Legal Events
| Date | Code | Title | Description |
|---|---|---|---|
| GR01 | Patent grant | ||
| GR01 | Patent grant | ||
| TR01 | Transfer of patent right |
Effective date of registration: 20250901 Address after: No. 8, Zhenxi Road, Feidong Economic Development Zone, Feidong County, Hefei City, Anhui Province, 230000 Patentee after: Anhui Baichuan Wood Industry Co.,Ltd. Country or region after: China Address before: 223800 west side of South section of Jialingjiang Road, Suyu Industrial Park, Suqian City, Jiangsu Province Patentee before: Jiangsu Donggang Furniture Co.,Ltd. Country or region before: China |
|
| TR01 | Transfer of patent right |
