CN211370437U - Shield tunnel segment seam waterproof construction - Google Patents
Shield tunnel segment seam waterproof construction Download PDFInfo
- Publication number
- CN211370437U CN211370437U CN201922058949.8U CN201922058949U CN211370437U CN 211370437 U CN211370437 U CN 211370437U CN 201922058949 U CN201922058949 U CN 201922058949U CN 211370437 U CN211370437 U CN 211370437U
- Authority
- CN
- China
- Prior art keywords
- waterproof
- sealing gasket
- water
- slot
- jurisdiction
- Prior art date
- Legal status (The legal status is an assumption and is not a legal conclusion. Google has not performed a legal analysis and makes no representation as to the accuracy of the status listed.)
- Active
Links
- 238000010276 construction Methods 0.000 title claims abstract description 13
- 238000007789 sealing Methods 0.000 claims abstract description 115
- XLYOFNOQVPJJNP-UHFFFAOYSA-N water Substances O XLYOFNOQVPJJNP-UHFFFAOYSA-N 0.000 claims abstract description 48
- 229920001971 elastomer Polymers 0.000 claims abstract description 34
- 238000012856 packing Methods 0.000 claims abstract description 9
- 229920002943 EPDM rubber Polymers 0.000 claims description 7
- 239000007787 solid Substances 0.000 claims description 4
- 239000012141 concentrate Substances 0.000 abstract description 3
- 230000000694 effects Effects 0.000 description 6
- 239000003673 groundwater Substances 0.000 description 4
- 230000007547 defect Effects 0.000 description 3
- 230000008595 infiltration Effects 0.000 description 3
- 238000001764 infiltration Methods 0.000 description 3
- 230000002195 synergetic effect Effects 0.000 description 2
- 238000011144 upstream manufacturing Methods 0.000 description 2
- 238000004078 waterproofing Methods 0.000 description 2
- 230000009286 beneficial effect Effects 0.000 description 1
- 230000005465 channeling Effects 0.000 description 1
- 230000006835 compression Effects 0.000 description 1
- 238000007906 compression Methods 0.000 description 1
- 238000010586 diagram Methods 0.000 description 1
- 201000010099 disease Diseases 0.000 description 1
- 208000037265 diseases, disorders, signs and symptoms Diseases 0.000 description 1
- 239000000463 material Substances 0.000 description 1
- 238000000034 method Methods 0.000 description 1
- 230000035699 permeability Effects 0.000 description 1
- 239000012466 permeate Substances 0.000 description 1
- 239000004576 sand Substances 0.000 description 1
- 230000001360 synchronised effect Effects 0.000 description 1
- 238000004073 vulcanization Methods 0.000 description 1
Images
Landscapes
- Lining And Supports For Tunnels (AREA)
Abstract
The utility model provides a shield tunnel section of jurisdiction seam waterproof construction, including the section of jurisdiction, first waterproof slot and the waterproof slot of second on the section of jurisdiction joint face, first waterproof slot is close to the section of jurisdiction face side of meeting water, the waterproof slot of second is arranged near first waterproof slot, install first waterproof sealing gasket and the waterproof sealed pad of second respectively in first waterproof slot and the waterproof slot of second, it is equipped with the water-swelling rubber packing pad to press from both sides between first waterproof sealing gasket and the waterproof sealed pad of second. This waterproof construction adopts to concentrate on the section of jurisdiction outside and arranges twice waterproof sealing pad, adapts to opening volume and waterproof water pressure respectively, sets up one deck water-swelling rubber sealing pad between the two, in time mends the vacancy to the percolating water that the outside got into, with the second way waterproof sealing pad synergism, resists water pressure, has effectively improved section of jurisdiction seam stagnant water ability, reduces the percolating water, guarantees structure construction and operation safety.
Description
Technical Field
The utility model belongs to the technical field of the tunnel is waterproof, concretely relates to shield tunnel section of jurisdiction seam waterproof construction.
Background
The structural safety of the shield tunnel is an important guarantee for the normal operation of the shield tunnel, and in recent years, urban shield tunnels in China are continuously affected by water leakage diseases. The leakage water affects durability of the tunnel structure and internal electrical equipment, and causes other troubles such as uneven settlement and deformation of the tunnel when groundwater supply is insufficient.
The water leakage of the shield tunnel is mainly represented by water leakage at the joint of the pipe pieces, and the common waterproof forms of the joint of the shield tunnel are an ethylene propylene diene monomer elastic sealing gasket, a water-swelling rubber sealing gasket, an outer sponge strip and an inner caulking material. For the shield tunnel under the conditions in the sand layer with high water pressure and strong water permeability, the waterproof effect is more important. The existing waterproof pipe piece joint has the following forms and all have defects.
(1) In the first waterproof system for duct pieces, as shown in fig. 1, 2 and 3, an ethylene-propylene-diene monomer (epdm) elastic sealing gasket is disposed on the outer side (i.e., the water-facing side) of the duct piece, and a water-swelling waterproof strip or an ethylene-propylene-diene monomer (epdm) elastic sealing gasket is disposed on the inner side (i.e., the water-facing side). If the sealing gasket sets up respectively in the section of jurisdiction inboard when outside elastic sealing gasket takes place the percolating water, the percolating water that gets into by the sealed leaking point of first sealing gasket can be at the space drunkenness between the waterproof sealed pad of twice, finally can be in waterproof weak department (bolt hole, damaged inboard sealing gasket position) infiltration tunnel to because the connectivity of shield structure section of jurisdiction seam, the consequence that this type of percolating water causes is difficult to be investigated and renovated.
(2) In the second waterproof system for duct pieces, as shown in fig. 4 and 5, an ethylene propylene diene monomer (epdm) elastic sealing gasket and a water-swelling waterproof strip are arranged on the outer side of the duct piece. Because the positions of the two waterproof sealing gaskets at the joint are close, the opening amounts of the two waterproof sealing gaskets are not greatly different, but the waterproof strip expanding when meeting water is a solid body and cannot adapt to larger opening amounts; when the outer seal reaches the maximum allowable amount of deployment, the amount of deployment of the inner seal has exceeded the maximum allowable value. Therefore, if water leaks from the outer gasket, the inner gasket cannot prevent the infiltration of groundwater.
In summary, in the prior art, although a plurality of waterproof sealing gaskets are arranged at the joint of the duct pieces, one sealing gasket fails, and the other sealing gaskets cannot play a role, so that the synergistic waterproof effect cannot be achieved.
SUMMERY OF THE UTILITY MODEL
The utility model aims at overcoming current section of jurisdiction seam crossing and having the waterproof sealing pad inefficacy one, all the other ways can not exert a function, can't play the problem of waterproof effect in coordination.
For this, the utility model provides a shield tunnel section of jurisdiction seam waterproof construction, including the section of jurisdiction, first waterproof slot and the waterproof slot of second on the section of jurisdiction joint face, first waterproof slot is close to the section of jurisdiction face side of meeting water, the waterproof slot of second is arranged near first waterproof slot, install first waterproof sealing gasket and the waterproof sealing gasket of second respectively in first waterproof slot and the waterproof slot of second, it is equipped with the water-swelling rubber sealing gasket to press from both sides between first waterproof sealing gasket and the waterproof sealing gasket of second.
Further, the depth of the first waterproof groove is larger than that of the second waterproof groove.
Further, the respective thicknesses and the respective opening amounts of the first waterproof gasket and the second waterproof gasket at the respective positions satisfy (H)1+H1’)/(2W1)≈(H2+H2’)/(2W2) (ii) a Wherein H1Is a first water-proof groove depth H1' is the amount of opening of the first waterproof packing position, W1Is the thickness of the first waterproof gasket monolith H2For the second water-proof ditchDepth of groove H2' amount of opening of position of second waterproof packing, W2Is the thickness of the second waterproof gasket monolith.
Further, the sum of the sectional areas of the first waterproof groove and the second waterproof groove is 1-1.15 times of the sum of the sectional areas of the first waterproof sealing gasket and the second waterproof sealing gasket.
Furthermore, the first waterproof sealing gasket and the second waterproof sealing gasket are ethylene propylene diene monomer elastic sealing gaskets and are of porous structures; the water-swelling rubber sealing gasket is of a solid structure.
Further, all paste on first waterproof gasket and the waterproof gasket of second and meet water inflation rubber seal and seal up, meet water inflation rubber seal on the first waterproof gasket and seal up the face side that is located first waterproof gasket, meet water inflation rubber seal on the waterproof gasket of second and seal up the face side that is located second waterproof gasket.
Furthermore, the water-swelling rubber sealing gasket on the first waterproof sealing gasket and the water-swelling rubber sealing gasket on the second waterproof sealing gasket are compounded in an embedded mode or a surface-mounted mode.
Furthermore, the first waterproof sealing gasket, the second waterproof sealing gasket and the water-swelling rubber sealing gasket are synchronously vulcanized and formed at one time.
Compared with the prior art, the beneficial effects of the utility model are that:
the utility model provides a shield tunnel section of jurisdiction seam waterproof construction adopts and concentrates on the section of jurisdiction outside to arrange twice waterproof sealing pad, adapts to opening volume and waterproof water pressure respectively, sets up the one deck and meets water inflation rubber sealing pad between the two, in time makes up for the leak water that gets into in the outside, with the second way waterproof sealing pad synergism, resists water pressure, has effectively improved section of jurisdiction seam stagnant water ability, reduces leak water, guarantees structure construction and operation safety.
The present invention will be described in further detail with reference to the accompanying drawings.
Drawings
FIG. 1 is a schematic view of a water leakage path of a first conventional pipe sheet waterproofing system;
FIG. 2 is a schematic diagram of a sealing gasket with water-swellable rubber on the inner side of a tube sheet in a first existing waterproof system for tube sheets;
FIG. 3 is a schematic view showing the arrangement of a gasket in which an elastic gasket is provided on the inner side of a segment in a first waterproof system of a conventional segment;
FIG. 4 is a schematic view of a water leakage path of a second conventional pipe sheet waterproofing system;
FIG. 5 is a schematic view showing the arrangement of a gasket outside a bolt hole in a conventional second waterproof system for a pipe sheet;
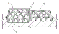
FIG. 6 is a schematic view of the structure of the duct piece of the present invention;
fig. 7 is a schematic structural view of a first embodiment of the waterproof structure for a shield tunnel segment joint of the present invention;
FIG. 8 is a schematic view of the arrangement of the first and second waterproof gaskets of FIG. 7;
fig. 9 is a schematic structural view of a second embodiment of the waterproof structure for a shield tunnel segment joint of the present invention;
fig. 10 is a schematic view of the arrangement of the first waterproof gasket and the second waterproof gasket in fig. 9.
Description of reference numerals: 1. a duct piece; 2. a first waterproof groove; 3. a second waterproof trench; 4. a first waterproof gasket; 5. a water-swellable rubber gasket; 6. a second waterproof gasket.
Detailed Description
The technical solutions in the embodiments of the present invention will be described clearly and completely with reference to the accompanying drawings in the embodiments of the present invention, and it is obvious that the described embodiments are only some embodiments of the present invention, not all embodiments. Based on the embodiments in the present invention, all other embodiments obtained by a person skilled in the art without creative efforts belong to the protection scope of the present invention.
In the description of the present invention, it is to be understood that the terms "center", "upper", "lower", "front", "rear", "left", "right", "vertical", "horizontal", "top", "bottom", "inner", "outer", and the like indicate orientations or positional relationships based on those shown in the drawings, and are merely for convenience of description and simplicity of description, and do not indicate or imply that the device or element referred to must have a particular orientation, be constructed and operated in a particular orientation, and therefore, are not to be construed as limiting the present invention.
The terms "first", "second" and "first" are used for descriptive purposes only and are not to be construed as indicating or implying relative importance or implicitly indicating the number of technical features indicated. Thus, a feature defined as "first" or "second" may explicitly or implicitly include one or more of that feature; in the description of the present invention, "a plurality" means two or more unless otherwise specified.
As shown in fig. 6, fig. 7, fig. 8, fig. 9 and fig. 10, the embodiment provides a shield tunnel segment seam waterproof structure, including segment 1, first waterproof groove 2 and second waterproof groove 3 on the segment 1 seam face, first waterproof groove 2 is close to segment 1 water-facing side, second waterproof groove 3 is arranged near first waterproof groove 2, and first waterproof groove 2 and second waterproof groove 3 all lie in segment 1 bolt hole outside, install first waterproof sealing gasket 4 and second waterproof sealing gasket 6 in first waterproof groove 2 and the second waterproof groove 3 respectively, it is equipped with water-swelling rubber sealing gasket 5 to press from both sides between first waterproof sealing gasket 4 and the second waterproof sealing gasket 6. Specifically, the first waterproof sealing gasket 4 and the second waterproof sealing gasket 6 are both ethylene propylene diene monomer elastic sealing gaskets and have porous structures; the water-swelling rubber gasket 5 is of a solid structure. In the embodiment, the first waterproof sealing gasket 4, the second waterproof sealing gasket 6 and the water-swelling rubber sealing gasket 5 are arranged outside the bolt holes in a centralized manner to form a multi-waterproof system, so that gap channeling of leakage water among the multi-waterproof sealing gaskets is effectively avoided, and therefore, underground water is prevented from permeating into the tunnel at a waterproof weak position (the bolt holes and the damaged inner side sealing gasket); simultaneously in section of jurisdiction 1 assembly process, if waterproof sealing gasket sealing defect of waterproof slot department or not reach the requirement of seting up defences water pressure, groundwater permeates from between waterproof sealing gasket bottom and the waterproof slot under the pressure effect, meet the waterproof defect that water inflation rubber seal pad 5 can in time supply the waterproof sealing gasket of front road at this moment, play and supply waterproof function, meet the design that water inflation rubber seal pad 5 presss from both sides and establish between first waterproof sealing gasket 4 and second waterproof sealing gasket 6, can effectively reduce the water pressure that second waterproof sealing gasket 6 bore, realize hierarchical, waterproof effect in coordination.
In a detailed embodiment, as shown in fig. 6 and 8, the depth of the first waterproof groove 2 is greater than that of the second waterproof groove 3, so that two waterproof gaskets with large outside and small inside can be arranged outside the bolt holes assembled by the pipe piece 1 (i.e. the bolt holes are close to the water-facing side). The first waterproof sealing gasket 4 and the second waterproof sealing gasket 6 are designed to have waterproof capability according to the set waterproof pressure, and the thicknesses are designed to be coupled with the expansion amount and the compression amount at the respective positions, namely (H) is satisfied1+H1’)/(2W1)≈(H2+H2’)/(2W2) Wherein H is1Is a first water-proof groove depth H1' is the amount of opening of the first waterproof packing position, W1Is the thickness of the first waterproof gasket monolith H2A second water-proof groove depth, H2' amount of opening of position of second waterproof packing, W2The thickness of the second waterproof gasket monolith; the waterproof capacity of the two waterproof sealing gaskets is coupled with the opening amount of the two waterproof sealing gaskets at the respective positions, so that the problem that when the existing outer sealing gasket reaches the maximum allowable opening amount, the opening amount of the inner sealing gasket exceeds the maximum allowable value, and the groundwater infiltration cannot be prevented is effectively solved.
For the shapes of the first waterproof sealing gasket 4 and the second waterproof sealing gasket 6, a symmetrical or asymmetrical form can be adopted according to the shape and the area ratio of the waterproof grooves in which the first waterproof sealing gasket 4 and the second waterproof sealing gasket 6 are respectively arranged, for example, a symmetrical comb shape or an asymmetrical comb shape can be adopted, but the sum of the sectional areas of the first waterproof groove 2 and the second waterproof groove 3 is ensured to be 1-1.15 times of the sum of the sectional areas of the first waterproof sealing gasket 4 and the second waterproof sealing gasket 6.
As an embodiment, the first waterproof sealing gasket 4 and the second waterproof sealing gasket 6 are both adhered with the water-swellable rubber sealing gasket 5, the water-swellable rubber sealing gasket 5 on the first waterproof sealing gasket 4 is positioned on the back water surface side of the first waterproof sealing gasket 4, the water-swellable rubber sealing gasket 5 on the second waterproof sealing gasket 6 is positioned on the front water surface side of the second waterproof sealing gasket 6, and the water-swellable rubber sealing gaskets 5 on the two waterproof sealing gaskets can be compounded in an embedded type or a surface-mounted type according to the structural type of the waterproof sealing gasket so as to ensure the supplementary waterproof effect of the water-swellable rubber sealing gasket 5 and realize the synergistic effect of the sealing gaskets; specifically, as shown in fig. 7 and 8, the back surface of the first waterproof gasket 4 and the upstream surface of the second waterproof gasket 6 are inclined planes inclined in two different directions, and at this time, the water-swellable rubber gasket 5 on the first waterproof gasket 4 and the second waterproof gasket 6 is compounded in an embedded manner; as shown in fig. 9 and 10, the back surface of the first waterproof gasket 4 and the upstream surface of the second waterproof gasket 6 are both vertical surfaces, and at this time, the water-swellable rubber gasket 5 on the first waterproof gasket 4 and the second waterproof gasket 6 is compounded in a surface-mount manner. Optimized, first waterproof sealing gasket 4, second waterproof sealing gasket 6 and meet water inflation rubber seal pad 5 synchronous vulcanization, once take shape, avoid waterproof sealing gasket and meet the water inflation rubber seal pad 5 between the connecting gap, further improved this seam waterproof construction's stagnant water ability, reduce the percolating water.
To sum up, the utility model provides a shield tunnel section of jurisdiction seam waterproof construction adopts to concentrate on the section of jurisdiction outside and arranges twice waterproof sealing pad, adapts to opening volume and waterproof water pressure respectively separately, sets up the one deck and meets water inflation rubber packing pad between the two, in time mends the vacancy to the percolating water that the outside got into, with the second way waterproof packing pad synergism, resists water pressure, has effectively improved section of jurisdiction seam stagnant water ability, reduces percolating water, guarantees structure construction and operation safety.
The above examples are merely illustrative of the present invention and do not limit the scope of the present invention, and all designs identical or similar to the present invention are within the scope of the present invention.
Claims (8)
1. The utility model provides a shield tunnel section of jurisdiction seam waterproof construction, includes the section of jurisdiction, its characterized in that: first waterproof slot and the waterproof slot of second on the section of jurisdiction joint face, first waterproof slot is close to the section of jurisdiction and faces the water side, the waterproof slot of second is arranged near first waterproof slot, install first waterproof sealing gasket and second waterproof sealing gasket in first waterproof slot and the waterproof slot of second respectively, it is equipped with water-swelling rubber sealing gasket to press from both sides between first waterproof sealing gasket and the second waterproof sealing gasket.
2. The shield tunnel segment seam waterproof structure of claim 1, wherein: the depth of the first waterproof groove is larger than that of the second waterproof groove.
3. The shield tunnel segment seam waterproof structure of claim 2, wherein: the thicknesses of the first waterproof sealing gasket and the second waterproof sealing gasket and the opening amounts of the first waterproof sealing gasket and the second waterproof sealing gasket at respective positions satisfy (H)1+H1’)/(2W1)≈(H2+H2’)/(2W2) (ii) a Wherein H1Is a first water-proof groove depth H1' is the amount of opening of the first waterproof packing position, W1Is the thickness of the first waterproof gasket monolith H2A second water-proof groove depth, H2' amount of opening of position of second waterproof packing, W2Is the thickness of the second waterproof gasket monolith.
4. The shield tunnel segment seam waterproof structure of claim 1, wherein: the sum of the sectional areas of the first waterproof groove and the second waterproof groove is 1-1.15 times of the sum of the sectional areas of the first waterproof sealing gasket and the second waterproof sealing gasket.
5. The shield tunnel segment seam waterproof structure of claim 1, wherein: the first waterproof sealing gasket and the second waterproof sealing gasket are ethylene propylene diene monomer elastic sealing gaskets and are of porous structures; the water-swelling rubber sealing gasket is of a solid structure.
6. The shield tunnel segment seam waterproof structure of claim 1, wherein: the waterproof sealing gasket of.
7. The shield tunnel segment seam waterproof structure of claim 6, wherein: the water-swelling rubber sealing gasket on the first waterproof sealing gasket and the water-swelling rubber sealing gasket on the second waterproof sealing gasket are compounded in an embedded mode or a surface-mounted mode.
8. The shield tunnel segment seam waterproof structure of claim 6, wherein: the first waterproof sealing gasket, the second waterproof sealing gasket and the water-swelling rubber sealing gasket are synchronously vulcanized and formed at one time.
Priority Applications (1)
| Application Number | Priority Date | Filing Date | Title |
|---|---|---|---|
| CN201922058949.8U CN211370437U (en) | 2019-11-26 | 2019-11-26 | Shield tunnel segment seam waterproof construction |
Applications Claiming Priority (1)
| Application Number | Priority Date | Filing Date | Title |
|---|---|---|---|
| CN201922058949.8U CN211370437U (en) | 2019-11-26 | 2019-11-26 | Shield tunnel segment seam waterproof construction |
Publications (1)
| Publication Number | Publication Date |
|---|---|
| CN211370437U true CN211370437U (en) | 2020-08-28 |
Family
ID=72170816
Family Applications (1)
| Application Number | Title | Priority Date | Filing Date |
|---|---|---|---|
| CN201922058949.8U Active CN211370437U (en) | 2019-11-26 | 2019-11-26 | Shield tunnel segment seam waterproof construction |
Country Status (1)
| Country | Link |
|---|---|
| CN (1) | CN211370437U (en) |
Cited By (2)
| Publication number | Priority date | Publication date | Assignee | Title |
|---|---|---|---|---|
| CN110778344A (en) * | 2019-11-26 | 2020-02-11 | 中铁第四勘察设计院集团有限公司 | Shield tunnel segment seam waterproof construction |
| CN112360517A (en) * | 2020-10-16 | 2021-02-12 | 中铁十四局集团有限公司 | Tunnel lining pipe sheet ring, construction method and tunnel lining |
-
2019
- 2019-11-26 CN CN201922058949.8U patent/CN211370437U/en active Active
Cited By (4)
| Publication number | Priority date | Publication date | Assignee | Title |
|---|---|---|---|---|
| CN110778344A (en) * | 2019-11-26 | 2020-02-11 | 中铁第四勘察设计院集团有限公司 | Shield tunnel segment seam waterproof construction |
| CN110778344B (en) * | 2019-11-26 | 2024-08-30 | 中铁第四勘察设计院集团有限公司 | Waterproof structure for shield tunnel segment joint |
| CN112360517A (en) * | 2020-10-16 | 2021-02-12 | 中铁十四局集团有限公司 | Tunnel lining pipe sheet ring, construction method and tunnel lining |
| CN112360517B (en) * | 2020-10-16 | 2021-08-03 | 中铁十四局集团有限公司 | A tunnel lining segment ring and construction method, and tunnel lining |
Similar Documents
| Publication | Publication Date | Title |
|---|---|---|
| CN211524848U (en) | Composite elastic sealing gasket capable of enhancing waterproof performance of segment joint | |
| CN211174142U (en) | Waterproof structure of shield tunnel and station interface | |
| CN201606084U (en) | A shield tunnel segment waterproof structure | |
| CN110159318B (en) | A shield tunnel composite waterproof structure | |
| CN205532640U (en) | Elastic sealing pad for sealing seams among shield tunnel pipe segments | |
| CN211370437U (en) | Shield tunnel segment seam waterproof construction | |
| CN110778344A (en) | Shield tunnel segment seam waterproof construction | |
| CN206956669U (en) | A kind of attachment structure of cut-pff wall and concrete cover | |
| CN202250109U (en) | A back-mounted drainage waterstop | |
| CN211397170U (en) | Anti-leakage energy-saving window board for door and window | |
| CN110805460A (en) | Waterproof sealing method for bolt hole of shield tunnel segment | |
| CN213174227U (en) | Anti-leakage repair structure for building deformation joint | |
| CN220285777U (en) | A joint waterproof structure of assembled structure | |
| CN219344710U (en) | Seam waterproof structure of shield tunnel section of jurisdiction | |
| CN214832926U (en) | Construction joint structure of water-containing structure bottom plate | |
| CN218757308U (en) | Annular structure seam structure between riverbed dam foundation gallery and bank slope gallery concrete | |
| CN216475210U (en) | Novel basement roof movement joint waterproof construction | |
| CN211201990U (en) | Waterproof sealing device for bolt hole of shield tunnel segment | |
| CN208057130U (en) | A kind of duct pieces of shield tunnel seam waterproof elastic sealing gasket | |
| CN210599021U (en) | Rear embedded shield tunnel elastic sealing gasket and sealing structure | |
| CN208996744U (en) | A kind of novel combined waterproof sealing gasket of shield tunnel | |
| CN211948259U (en) | Water conservancy project construction stagnant water seepage prevention structure | |
| CN209430220U (en) | A kind of stress compensation type duct pieces of shield tunnel seam waterproof elastic sealing gasket | |
| CN213477237U (en) | Construction joint waterproof construction | |
| CN222065349U (en) | Dam body integrated seepage prevention structure |
Legal Events
| Date | Code | Title | Description |
|---|---|---|---|
| GR01 | Patent grant | ||
| GR01 | Patent grant |