CN211369160U - Take hybrid junction's assembled shear force wall - Google Patents
Take hybrid junction's assembled shear force wall Download PDFInfo
- Publication number
- CN211369160U CN211369160U CN201921790558.9U CN201921790558U CN211369160U CN 211369160 U CN211369160 U CN 211369160U CN 201921790558 U CN201921790558 U CN 201921790558U CN 211369160 U CN211369160 U CN 211369160U
- Authority
- CN
- China
- Prior art keywords
- wall
- prefabricated
- connection
- energy
- pier
- Prior art date
- Legal status (The legal status is an assumption and is not a legal conclusion. Google has not performed a legal analysis and makes no representation as to the accuracy of the status listed.)
- Active
Links
- 229910000831 Steel Inorganic materials 0.000 claims description 24
- 239000010959 steel Substances 0.000 claims description 24
- 238000004873 anchoring Methods 0.000 claims description 15
- 230000021715 photosynthesis, light harvesting Effects 0.000 claims description 11
- 239000004033 plastic Substances 0.000 claims description 8
- 239000004793 Polystyrene Substances 0.000 claims description 4
- 239000000463 material Substances 0.000 claims description 4
- 229920002223 polystyrene Polymers 0.000 claims description 4
- 238000000034 method Methods 0.000 abstract description 3
- 238000010276 construction Methods 0.000 description 5
- 238000009434 installation Methods 0.000 description 5
- 238000005265 energy consumption Methods 0.000 description 3
- 238000010586 diagram Methods 0.000 description 2
- 230000000694 effects Effects 0.000 description 2
- 230000003014 reinforcing effect Effects 0.000 description 2
- 229910001294 Reinforcing steel Inorganic materials 0.000 description 1
- 230000009286 beneficial effect Effects 0.000 description 1
- 238000004519 manufacturing process Methods 0.000 description 1
- 238000009417 prefabrication Methods 0.000 description 1
- 238000003908 quality control method Methods 0.000 description 1
- 239000002699 waste material Substances 0.000 description 1
- 238000003466 welding Methods 0.000 description 1
Images
Landscapes
- Bridges Or Land Bridges (AREA)
Abstract
本实用新型公开了一种带混合连接节点的装配式剪力墙包括带墙墩顶梁模块和带墙墩底梁模块,还包括设置在带墙墩顶梁模块和带墙墩底梁模块之间的若干预制墙板模块,各预制墙板模块与带墙墩顶梁模块和带墙墩底梁模块之间的连接处分别设有若干连接件,相邻的预制墙板模块之间的竖直缝隙处设置有耗能连接键,耗能连接键包括预埋部分和可塑性变形的耗能部分,各预埋部分分别设在相邻的预制墙板模块上,两个预埋部分上搭设耗能部分,此带混合连接节点的装配式剪力墙具有水平强连接和竖向弱连接混合连接方式,将整片剪力墙分割成尺寸较小的预制墙板模块,并在竖向接缝变形部位上设置耗能连接键,既保证了剪力墙较高的抗侧刚度,提高了其延性和耗能能力,又能使构件的运输、吊装更为简便,有助于进一步减少工程造价。
The utility model discloses a prefabricated shear wall with mixed connection nodes, comprising a top beam module of a pier with a wall and a bottom beam module of a pier with a wall, and further comprising a top beam module of a pier with a wall and a bottom beam module of a pier with a wall. There are several prefabricated wall panel modules between the prefabricated wall panel modules, the connection between each prefabricated wall panel module and the top beam module of the pier with wall and the bottom beam module of the pier with wall are respectively provided with several connectors, and the vertical connection between the adjacent prefabricated wall panel modules The energy-dissipating connection keys are arranged at the straight gaps, and the energy-dissipating connection keys include a pre-embedded part and a plastically deformable energy-dissipating part. For the energy part, this prefabricated shear wall with mixed connection nodes has a mixed connection method of horizontal strong connection and vertical weak connection. The energy-dissipating connection key is set on the deformed part, which not only ensures the high lateral stiffness of the shear wall, improves its ductility and energy-dissipating capacity, but also makes the transportation and hoisting of the components easier, which helps to further reduce the project cost. .
Description
技术领域technical field
本实用新型涉及土木工程技术领域,特别涉及一种带混合连接节点的装配式剪力墙。The utility model relates to the technical field of civil engineering, in particular to an assembled shear wall with mixed connection nodes.
背景技术Background technique
传统建筑业面临生产效率低,资源浪费严重,标准化程度不高,质量难以控制等问题。解决上述问题的有效途径之一是改革现有建筑建造方式,走建筑产业现代化道路,而发展装配式建筑是实现建筑产业化的重要途径,其中,装配式剪力墙结构是装配式建筑的主要结构形式之一。The traditional construction industry faces problems such as low production efficiency, serious waste of resources, low degree of standardization, and difficult quality control. One of the effective ways to solve the above problems is to reform the existing construction methods and take the road of modernization of the construction industry, and the development of prefabricated buildings is an important way to realize the industrialization of buildings. one of the structural forms.
现有装配式剪力墙结构中,主要采用传统的“等同现浇”设计理念,即采用强连接方式拼装预制构件来保证结构的整体性,但也侧面反映其延性不佳易发生脆性破坏的事实。此外,当预制墙板尺寸较大时,其运输及对吊装设备要求高,进一步地提高了其建造成本。In the existing prefabricated shear wall structure, the traditional "equivalent cast-in-place" design concept is mainly adopted, that is, the prefabricated components are assembled by strong connection to ensure the integrity of the structure, but it also reflects that its poor ductility is prone to brittle failure. fact. In addition, when the size of the prefabricated wall panel is large, its transportation and hoisting equipment requirements are high, which further increases its construction cost.
实用新型内容Utility model content
本实用新型的目的在于至少解决现有技术中存在的技术问题之一,提供一种带混合连接节点的装配式剪力墙,能够解决现有装配式剪力墙仅采用强连接方式造成延性性能不佳的技术问题。The purpose of the utility model is to solve at least one of the technical problems existing in the prior art, and to provide an assembled shear wall with mixed connection nodes, which can solve the problem of the ductility performance caused by the strong connection mode of the existing assembled shear wall only. Bad technical issues.
根据本实用新型的第一方面实施例,提供一种带混合连接节点的装配式剪力墙包括带墙墩顶梁模块和带墙墩底梁模块,还包括设置在带墙墩顶梁模块和带墙墩底梁模块之间的若干预制墙板模块,各预制墙板模块与带墙墩顶梁模块和带墙墩底梁模块之间的连接处分别设有若干连接件,相邻的预制墙板模块之间的竖直缝隙处设置有耗能连接键,耗能连接键包括预埋部分和可塑性变形的耗能部分,各预埋部分分别设在相邻的预制墙板模块上,两个预埋部分上搭设耗能部分。According to an embodiment of the first aspect of the present invention, a prefabricated shear wall with mixed connection nodes is provided, which includes a top beam module with a wall pier and a bottom beam module with a wall pier, and also includes a top beam module with a wall pier and a bottom beam module with a wall pier. A number of prefabricated wall panel modules between the bottom beam modules of the pier with wall, the connection between each prefabricated wall panel module and the top beam module of the pier with wall and the bottom beam module of the pier with wall are respectively provided with several connecting pieces, and the adjacent prefabricated The vertical gaps between the wall panel modules are provided with energy-dissipating connection keys. The energy-dissipating connection keys include a pre-embedded part and a plastically deformable energy-dissipating part. An energy-consuming part is erected on the pre-embedded part.
有益效果:此带混合连接节点的装配式剪力墙具有水平强连接和竖向弱连接混合连接方式,将整片剪力墙分割成尺寸较小的预制墙板模块,并竖向接缝变形部位上设置耗能连接键,既保证了剪力墙较高的抗侧刚度,提高了其延性和耗能能力,又能使构件的运输、吊装更为简便,有助于进一步减少工程造价。Beneficial effect: This prefabricated shear wall with mixed connection nodes has a mixed connection mode of horizontal strong connection and vertical weak connection, dividing the whole shear wall into smaller-sized prefabricated wall panel modules, and the vertical joints are deformed. The energy-dissipating connection key is arranged on the part, which not only ensures the high lateral stiffness of the shear wall, improves its ductility and energy-dissipating capacity, but also makes the transportation and hoisting of the components easier, which helps to further reduce the project cost.
根据本实用新型第一方面实施例的带混合连接节点的装配式剪力墙,连接件包括U型连接板连接件和I型连接板连接件,各I型连接板连接件嵌插入相邻的U型连接板连接件中,并通过螺栓紧固,采用配套的连接件并用高强螺栓连接方式进行装配,连接强度更高。According to the assembled shear wall with mixed connection nodes according to the embodiment of the first aspect of the present utility model, the connecting parts include U-shaped connecting plate connecting parts and I-shaped connecting plate connecting parts, and each I-shaped connecting plate connecting part is inserted into the adjacent In the U-shaped connecting plate connector, it is fastened by bolts, and the matching connector is used for assembly with high-strength bolt connection, so the connection strength is higher.
根据本实用新型第一方面实施例的带混合连接节点的装配式剪力墙,连接件材料使用Q345钢,该钢材强度更适用于该连接件。According to the assembled shear wall with mixed connection nodes according to the embodiment of the first aspect of the present invention, Q345 steel is used as the material of the connecting piece, and the strength of the steel is more suitable for the connecting piece.
根据本实用新型第一方面实施例的带混合连接节点的装配式剪力墙,各预埋部分包括预埋于预制墙板模块内的两锚固底板和设置在两锚固底板中间的若干连接钢棒,使得现场的拼接更为方便。According to the prefabricated shear wall with hybrid connection nodes according to the first aspect of the present invention, each pre-embedded part includes two anchoring bottom plates embedded in the prefabricated wall panel module and several connecting steel bars arranged in the middle of the two anchoring bottom plates. , making the on-site splicing more convenient.
根据本实用新型第一方面实施例的带混合连接节点的装配式剪力墙,耗能部分为固定在锚固底板上的连接板,连接板的屈服强度不高于225MPa,确保连接板易发生塑性变形耗能。According to the assembled shear wall with mixed connection nodes according to the embodiment of the first aspect of the present invention, the energy dissipation part is the connection plate fixed on the anchoring bottom plate, and the yield strength of the connection plate is not higher than 225MPa, which ensures that the connection plate is prone to plasticity. Deformation consumes energy.
根据本实用新型第一方面实施例的带混合连接节点的装配式剪力墙,连接板为采用LY160规格的钢板,该规格的钢材屈服点低,耗能效果更好。According to the prefabricated shear wall with mixed connection nodes according to the first aspect of the present invention, the connection plate is a steel plate of LY160 specification, which has a low yield point and better energy consumption effect.
根据本实用新型第一方面实施例的带混合连接节点的装配式剪力墙,连接板上端和下端的中部分别开设有凹槽,该设置使连接板的塑性变形从中部展开,耗能能力进一步加强。According to the assembled shear wall with mixed connection nodes according to the embodiment of the first aspect of the present invention, grooves are respectively formed in the middle of the upper and lower ends of the connecting plate, and the setting enables the plastic deformation of the connecting plate to unfold from the middle, and the energy dissipation capacity is further improved. strengthen.
根据本实用新型第一方面实施例的带混合连接节点的装配式剪力墙,各耗能连接键在相邻的预制墙板模块之间的竖直缝隙处至少三组,灵活设置不同数量的耗能连接键可应对不同的力学要求。According to the assembled shear wall with mixed connection nodes according to the embodiment of the first aspect of the present invention, at least three groups of energy-dissipating connection keys are located at the vertical gaps between adjacent prefabricated wall panel modules, and different numbers of keys are flexibly arranged. Energy-dissipating connecting keys can deal with different mechanical requirements.
根据本实用新型第一方面实施例的带混合连接节点的装配式剪力墙,相邻的预制墙板模块之间的竖直缝隙处使用聚苯乙烯塑料填充,保证预制墙板模块的拼接质量。According to the prefabricated shear wall with mixed connection nodes according to the embodiment of the first aspect of the present invention, the vertical gaps between adjacent prefabricated wall panel modules are filled with polystyrene plastic to ensure the splicing quality of the prefabricated wall panel modules .
根据本实用新型第一方面实施例的带混合连接节点的装配式剪力墙,耗能连接键与相邻的预制墙板模块刚度比应大于1,确保耗能连接键能随着预制墙板模块的相对运动而耗散能量。According to the assembled shear wall with mixed connection nodes according to the embodiment of the first aspect of the present invention, the stiffness ratio of the energy-dissipating connection keys to the adjacent prefabricated wall panel modules should be greater than 1, so as to ensure that the energy-dissipating connection keys can follow the prefabricated wall panels. The relative motion of the modules dissipates energy.
附图说明Description of drawings
为了更清楚地说明本实用新型实施例中的技术方案,下面将对实施例描述中所需要使用的附图作简单说明。显然,所描述的附图只是本实用新型的一部分实施例,而不是全部实施例,本领域的技术人员在不付出创造性劳动的前提下,还可以根据这些附图获得其他设计方案和附图。In order to illustrate the technical solutions in the embodiments of the present invention more clearly, the following briefly describes the accompanying drawings that are used in the description of the embodiments. Obviously, the described drawings are only a part of the embodiments of the present invention, but not all of the embodiments, and those skilled in the art can also obtain other design solutions and drawings according to these drawings without creative work.
图1为本实用新型实施例中的正视图;Fig. 1 is the front view in the utility model embodiment;
图2为本实用新型实施例中的左视图;Fig. 2 is the left side view in the utility model embodiment;
图3为本实用新型实施例中耗能连接键的三维示意图;3 is a three-dimensional schematic diagram of an energy-consuming connection key in an embodiment of the present invention;
图4为本实用新型实施例中I型连接板钢连接件嵌插入U型连接板钢连接件的三维示意图。FIG. 4 is a three-dimensional schematic diagram of an I-shaped connecting plate steel connecting piece being inserted into a U-shaped connecting plate steel connecting piece in an embodiment of the present invention.
具体实施方式Detailed ways
本部分将详细描述本实用新型的具体实施例,本实用新型之较佳实施例在附图中示出,附图的作用在于用图形补充说明书文字部分的描述,使人能够直观地、形象地理解本实用新型的每个技术特征和整体技术方案,但其不能理解为对本实用新型保护范围的限制。This part will describe the specific embodiments of the present invention in detail, and the preferred embodiments of the present invention are shown in the accompanying drawings. Understand each technical feature and overall technical solution of the present invention, but it should not be construed as a limitation on the protection scope of the present invention.
在本实用新型的描述中,需要理解的是,涉及到方位描述,例如上、下、前、后、左、右等指示的方位或位置关系为基于附图所示的方位或位置关系,仅是为了便于描述本实用新型和简化描述,而不是指示或暗示所指的装置或元件必须具有特定的方位、以特定的方位构造和操作,因此不能理解为对本实用新型的限制。In the description of the present utility model, it should be understood that the orientation descriptions related to orientations, such as up, down, front, rear, left, right, etc., are based on the orientation or positional relationship shown in the accompanying drawings, only It is for the convenience of describing the present invention and simplifying the description, rather than indicating or implying that the indicated device or element must have a specific orientation, be constructed and operated in a specific orientation, and therefore should not be construed as a limitation of the present invention.
在本实用新型的描述中,若干的含义是一个或者多个,多个的含义是两个以上,大于、小于、超过等理解为不包括本数,以上、以下、以内等理解为包括本数。如果有描述到第一、第二只是用于区分技术特征为目的,而不能理解为指示或暗示相对重要性或者隐含指明所指示的技术特征的数量或者隐含指明所指示的技术特征的先后关系。In the description of the present utility model, the meaning of several is one or more, the meaning of multiple is two or more, greater than, less than, exceeding, etc. are understood as not including this number, above, below, within, etc. are understood as including this number. If it is described that the first and the second are only for the purpose of distinguishing technical features, it cannot be understood as indicating or implying relative importance, or indicating the number of the indicated technical features or the order of the indicated technical features. relation.
本实用新型的描述中,除非另有明确的限定,设置、安装、连接等词语应做广义理解,所属技术领域技术人员可以结合技术方案的具体内容合理确定上述词语在本实用新型中的具体含义。In the description of the present invention, unless otherwise clearly defined, words such as setting, installation, connection should be understood in a broad sense, and those skilled in the art can reasonably determine the specific meanings of the above words in the present invention in combination with the specific content of the technical solution .
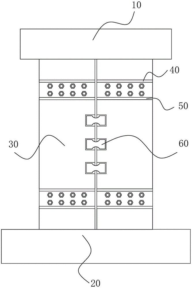
参照图1~图4,一种带混合连接节点的装配式剪力墙包括带墙墩顶梁模块10和带墙墩底梁模块20,还包括设置在带墙墩顶梁模块10和带墙墩底梁模块20之间的若干预制墙板模块30,预制墙板模块30的上下两端设置有连接件,同时带墙墩顶梁模块10的墙墩处和带墙墩底梁模块20的墙墩处也分别设置有连接件,相邻的预制墙板模块30之间的竖直缝隙处设置有耗能连接键60,耗能连接键60可将相邻的预制墙板模块30进行拼接,耗能连接键60包括预埋部分和可塑性变形的耗能部分,各预埋部分分别设在相邻的预制墙板模块30上,即在竖直缝隙两侧的预制墙板模块30上设置,两个预埋部分上搭设耗能部分,耗能部分随着预制墙板模块30的相对运动而产生塑性变形从而耗散能量,此带混合连接节点的装配式剪力墙具有水平强连接和竖向弱连接混合连接方式,将整片剪力墙分割成尺寸较小的预制墙板模块30,并竖向接缝变形部位上设置耗能连接键60,既保证了剪力墙较高的抗侧刚度,提高了其延性和耗能能力,又能使构件的运输、吊装更为简便,有助于进一步减少工程造价。Referring to FIGS. 1 to 4 , a fabricated shear wall with mixed connection nodes includes a
预制墙板模块30均包括构件本身需配置的钢筋、不同连接件的预埋部分和不同连接件预埋区域加强钢筋组成,并采用混凝土浇筑预制成型。类似地,带墙墩顶梁模块10和带墙墩底梁模块20也包括构件本身需配置的钢筋、不同连接件的预埋部分和不同连接件预埋区域加强钢筋组成,并采用混凝土浇筑预制成型,通过在工厂预制的同时嵌入连接件,更加方便现场的安装。The prefabricated
在本实施例中,连接件包括U型连接板连接件50和I型连接板连接件40,各I型连接板连接件40嵌插入相邻的U型连接板连接件50中,并通过螺栓紧固,采用配套的连接件并用高强螺栓连接方式进行装配,连接强度更高。In this embodiment, the connecting members include U-shaped connecting
在其他实施例中,I型连接板连接件40的连接板嵌插入U型连接板连接件50的两连接板之间后,通过对拉螺栓进行连接紧固。In other embodiments, after the connecting plate of the I-shaped connecting
在本实施例中,连接件可为钢连接件。In this embodiment, the connector may be a steel connector.
在本实施例中,连接件材料使用Q345钢,该钢材强度更适用于该连接件。In this embodiment, Q345 steel is used as the material of the connecting piece, and the strength of this steel is more suitable for the connecting piece.
在本实施例中,各预埋部分包括预埋于预制墙板模块30内的两锚固底板62以及设置在两锚固底板62之间的若干连接钢棒61,使得现场的拼接更为方便。In this embodiment, each pre-embedded part includes two anchoring
在其他实施例中,预埋部分还可以是预埋在预制墙板模块30内的两锚固底板62以及焊接在两锚固底板62之间的钢筋。In other embodiments, the pre-embedded parts may also be two
在本实施例中,耗能部分为固定在锚固底板62上的连接板63,连接板63的屈服强度不高于225MPa,确保连接板63易发生塑性变形耗能。In this embodiment, the energy dissipation part is the connecting
在本实施例中,连接板为采用LY160规格的钢板,该规格的钢材屈服点低,耗能效果更好。In this embodiment, the connecting plate is a steel plate of LY160 specification, which has a low yield point and a better energy consumption effect.
在其他实施例中,连接板63为采用LY225等低屈服点钢材料制成。In other embodiments, the connecting
在本实施例中,连接板63的构造型式为钢板上下两端的中部开设有半圆弧形的凹槽,该设置使连接板63的塑性变形从中部展开,耗能能力进一步加强。In this embodiment, the connecting
在其他实施例中,连接板63的构造形式还可使用钢板中部开设狭缝的形式。In other embodiments, the structural form of the connecting
在其他实施例中,连接板63的构造形式还可使用钢板中部开设圆孔的形式。In other embodiments, the structural form of the connecting
在本实施例中,连接板63通过焊接的方式固定在锚固底板62上。In this embodiment, the connecting
在其他实施例中,连接板63通过螺栓连接的方式固定在锚固底板62上。In other embodiments, the connecting
在本实施例中,各耗能连接键60在相邻的预制墙板模块30之间的竖直缝隙处彼此间隔、均匀布置至少三组,灵活设置不同数量的耗能连接键60可应对不同的力学要求。In this embodiment, at least three groups of energy-dissipating
在其他实施例中,每相邻的预制墙板模块30之间依据设计要求布置适量的耗能连接键60。In other embodiments, an appropriate amount of energy-consuming
在本实施例中,两块预制墙板模块30互相拼接。In this embodiment, two prefabricated
在其他实施例中,预制墙板模块30可拼装多块,即两块以上,相邻的预制墙板模块30都通过耗能连接键60进行连接,将整片剪力墙分割成尺寸较小的预制墙板模块30,构件的运输、吊装更为简便,有助于进一步减少工程造价。In other embodiments, the prefabricated
在本实施例中,相邻的预制墙板模块30之间的竖直缝隙处使用聚苯乙烯塑料填充,保证预制墙板模块30的拼接质量。In this embodiment, the vertical gaps between the adjacent prefabricated
在本实施例中,耗能连接键60与相邻的预制墙板模块30刚度比应大于1,确保耗能连接键60能随着预制墙板模块30的相对运动而耗散能量。In this embodiment, the stiffness ratio of the energy-dissipating connecting
该带混合连接节点的装配式剪力墙走出了“等同现浇”的限制,使装配式剪力墙中具有水平强连接和竖向弱连接混合连接方式,将整片剪力墙分割成尺寸较小的预制墙板模块30,构件的运输、吊装更为简便,有助于进一步减少工程造价,该带混合连接节点的装配式剪力墙包括带墙墩顶梁模块10、带墙墩底梁模块20、预制墙板模块30和模块之间的连接件以及耗能连接键60。The prefabricated shear wall with mixed connection nodes goes out of the limitation of "equivalent to cast-in-place", so that the prefabricated shear wall has a mixed connection mode of horizontal strong connection and vertical weak connection, and divides the whole shear wall into dimensions The smaller prefabricated
其中水平强连接为U型连接板连接件50与对应的I型连接板连接件40的连接,并且该连接件会在工厂预制时事先嵌入带墙墩顶梁模块10、带墙墩底梁模块20和预制墙板模块30当中,此时带墙墩顶梁模块10的墙墩上安装有I型连接板连接件40,带墙墩底梁模块20的墙墩上安装有U型连接板连接件50,预制墙板模块30的上端安装有与带墙墩顶梁模块10上的I型连接板连接件40对应的U型连接板连接件50,预制墙板模块30的下端安装有与带墙墩底梁模块20上的U型连接板连接件50对应的I型连接板连接件40,通过I型连接板连接件40和U型连接板连接件50上预留的螺栓孔安装摩擦型高强螺栓进行连接可有效保证剪力墙的装配质量。The horizontal strong connection is the connection between the U-shaped connecting
而其中的竖向弱连接为连接相邻的预制墙板模块30的耗能连接键60,该耗能连接键60分为预埋部分和耗能部分,其中预埋部分会在工厂预制时事先嵌入带墙墩顶梁模块10、带墙墩底梁模块20和预制墙板模块30当中,预埋部分包括预埋部分包括预埋于预制墙板模块30内的锚固底板62和连接钢棒61,其中锚固底板62埋设在预制墙板模块30的前后两端,而两块锚固底板62通过连接钢棒61连接,而耗能部分会安装在锚固底板62上,耗能部分包括连接板63,由于连接板63的两端分别与锚固底板62连接固定,故连接板63的中部处在相邻两块预制墙板模块30的竖直缝隙处,当预制墙板模块30受侧向荷载时,相邻预制墙板模块30之间产生相对竖向变形,连接板63由于两侧墙肢变形而产生塑性变形耗散能量,具体的,即处在相邻的预制墙板模块30的竖直缝隙处的那部分连接板63会拉伸变窄,连接板63只要发生了塑形变形就可以实现耗能。The vertical weak connection is the energy-consuming connection key 60 connecting the adjacent prefabricated
而连接板63采用低屈服点钢材的话,更容易屈服耗能,因此采用如LY160、LY225钢材,同时耗能连接键60与相邻的预制墙板模块30刚度比应大于1,确保耗能连接键60能随着预制墙板模块30的相对运动而耗散能量。However, if the connecting
在施工现场,先在预安装区域设置带墙墩底梁模块20,再吊装根据设计需求决定的若干预制墙板模块30,将各预制墙板模块30下端的各I型连接板连接件40依次嵌插入带墙墩底梁模块20上的各U型连接板连接件50中并通过各摩擦型高强螺栓进行连接,再吊装带墙墩顶梁模块10,通过带墙墩顶梁模块10上的各I型连接板连接件40嵌插入各预制墙板模块30上端的各U型连接板连接件50中并通过各摩擦型高强螺栓进行连接,即完成水平的强连接,然后再将若干连接板63焊接在相对应的锚固底板62上,即完成弱竖向的连接,并在完成连接板63的安装后,将相邻的预制墙板模块30之间的竖直缝隙采用聚苯乙烯塑料填充。On the construction site, first set the
综上所述,该带混合连接节点的装配式剪力墙特别适用于剪力墙跨度较大的情况,将整片剪力墙分割成尺寸较小的预制墙板模块30,在水平接缝使用连接件,并在竖向接缝变形部位上设置耗能连接键60,既保证了剪力墙较高的抗侧刚度,提高了其延性和耗能能力,又能使构件的运输、吊装更为简便,有助于进一步减少工程造价。To sum up, the prefabricated shear wall with mixed connection nodes is especially suitable for the case where the shear wall span is large. The use of connectors and the installation of energy-dissipating connecting
上面结合附图对本实用新型实施例作了详细说明,但是本实用新型不限于上述实施例,在所述技术领域普通技术人员所具备的知识范围内,还可以在不脱离本实用新型宗旨的前提下作出各种变化。The embodiments of the present utility model have been described in detail above in conjunction with the accompanying drawings, but the present utility model is not limited to the above-mentioned embodiments, and within the scope of knowledge possessed by those of ordinary skill in the technical field, the present utility model can also be used without departing from the purpose of the present utility model. make various changes.
Claims (10)
Priority Applications (1)
| Application Number | Priority Date | Filing Date | Title |
|---|---|---|---|
| CN201921790558.9U CN211369160U (en) | 2019-10-22 | 2019-10-22 | Take hybrid junction's assembled shear force wall |
Applications Claiming Priority (1)
| Application Number | Priority Date | Filing Date | Title |
|---|---|---|---|
| CN201921790558.9U CN211369160U (en) | 2019-10-22 | 2019-10-22 | Take hybrid junction's assembled shear force wall |
Publications (1)
| Publication Number | Publication Date |
|---|---|
| CN211369160U true CN211369160U (en) | 2020-08-28 |
Family
ID=72166198
Family Applications (1)
| Application Number | Title | Priority Date | Filing Date |
|---|---|---|---|
| CN201921790558.9U Active CN211369160U (en) | 2019-10-22 | 2019-10-22 | Take hybrid junction's assembled shear force wall |
Country Status (1)
| Country | Link |
|---|---|
| CN (1) | CN211369160U (en) |
Cited By (1)
| Publication number | Priority date | Publication date | Assignee | Title |
|---|---|---|---|---|
| CN110700446A (en) * | 2019-10-22 | 2020-01-17 | 广州大学 | Take hybrid junction's assembled shear force wall |
-
2019
- 2019-10-22 CN CN201921790558.9U patent/CN211369160U/en active Active
Cited By (1)
| Publication number | Priority date | Publication date | Assignee | Title |
|---|---|---|---|---|
| CN110700446A (en) * | 2019-10-22 | 2020-01-17 | 广州大学 | Take hybrid junction's assembled shear force wall |
Similar Documents
| Publication | Publication Date | Title |
|---|---|---|
| CN103195170B (en) | Prefabricated reinforced concrete frame structure system | |
| CN203213282U (en) | Fabricated reinforced concrete frame structure system | |
| CN111424850A (en) | Prefabricated reinforced concrete shear wall and construction method | |
| CN210658678U (en) | Prefabricated assembled post connected node | |
| CN107130716B (en) | Post-pouring tooth slot connection assembly type building roof | |
| CN114086807A (en) | A prefabricated concrete frame structure system with replaceable beam-column connection nodes | |
| CN106988484A (en) | Buckling-restrained steel coupling beam and its steel plate concrete combined shear wall structural system | |
| CN112282047A (en) | Connecting structure and connecting method for assembled composite floor slab and composite wallboard | |
| CN110080418B (en) | Bolt-spliced detachable assembly type shear wall structure | |
| CN116180897A (en) | A prefabricated main beam member with a secondary beam connection node and its manufacturing method | |
| CN109440992B (en) | A fully dry prefabricated concrete slab-column structural system | |
| CN111535498B (en) | Prefabricated stiff concrete shear wall plate with steel beam connecting keys, assembled stiff concrete shear wall and manufacturing method | |
| CN207934239U (en) | A kind of shear wall bolt pin type horizontal connection structure | |
| CN106088379B (en) | A kind of shear-deformable nodal point connecting of BRB lockings and its installation method | |
| CN211369160U (en) | Take hybrid junction's assembled shear force wall | |
| CN104032861A (en) | Joint structure and construction method of hybrid connected-wall steel column and non-energy-dissipating beam | |
| CN110725439B (en) | Assembled steel concrete shear wall and construction method thereof | |
| CN110700446A (en) | Take hybrid junction's assembled shear force wall | |
| CN211369158U (en) | A prefabricated shear wall with strong horizontal connection nodes | |
| CN107355027A (en) | A kind of steel and concrete shear wall assembling-type space module structural system and construction method | |
| CN220704782U (en) | Steel pipe constraint reinforced concrete column and steel beam connection node | |
| CN220058300U (en) | A frame component connection structure for prefabricated buildings | |
| CN211369156U (en) | Assembled steel concrete shear force wall | |
| CN214614773U (en) | Precast concrete shear wall-ring beam connection structure based on PBL | |
| CN113235756B (en) | Assembled eccentric support hinged energy consumption frame system and construction method thereof |
Legal Events
| Date | Code | Title | Description |
|---|---|---|---|
| GR01 | Patent grant | ||
| GR01 | Patent grant |
