CN211363263U - 一种全自动模具注塑设备 - Google Patents
一种全自动模具注塑设备 Download PDFInfo
- Publication number
- CN211363263U CN211363263U CN201921524690.5U CN201921524690U CN211363263U CN 211363263 U CN211363263 U CN 211363263U CN 201921524690 U CN201921524690 U CN 201921524690U CN 211363263 U CN211363263 U CN 211363263U
- Authority
- CN
- China
- Prior art keywords
- injection molding
- inner chamber
- fixed mounting
- bar
- lead screw
- Prior art date
- Legal status (The legal status is an assumption and is not a legal conclusion. Google has not performed a legal analysis and makes no representation as to the accuracy of the status listed.)
- Expired - Fee Related
Links
- 238000001746 injection moulding Methods 0.000 title claims abstract description 58
- 125000003003 spiro group Chemical group 0.000 claims abstract description 3
- 230000008878 coupling Effects 0.000 claims abstract 2
- 238000010168 coupling process Methods 0.000 claims abstract 2
- 238000005859 coupling reaction Methods 0.000 claims abstract 2
- 230000007246 mechanism Effects 0.000 claims description 10
- 230000005540 biological transmission Effects 0.000 claims description 5
- 230000006978 adaptation Effects 0.000 claims description 2
- 230000003044 adaptive effect Effects 0.000 claims description 2
- 238000003780 insertion Methods 0.000 claims description 2
- 230000037431 insertion Effects 0.000 claims description 2
- 230000000670 limiting effect Effects 0.000 description 2
- 238000004519 manufacturing process Methods 0.000 description 2
- 238000000465 moulding Methods 0.000 description 2
- 239000004033 plastic Substances 0.000 description 2
- 229920003023 plastic Polymers 0.000 description 2
- 239000000243 solution Substances 0.000 description 2
- 230000004075 alteration Effects 0.000 description 1
- 230000009286 beneficial effect Effects 0.000 description 1
- 238000010586 diagram Methods 0.000 description 1
- 238000004512 die casting Methods 0.000 description 1
- 238000007723 die pressing method Methods 0.000 description 1
- 230000002349 favourable effect Effects 0.000 description 1
- 238000002347 injection Methods 0.000 description 1
- 239000007924 injection Substances 0.000 description 1
- 230000003993 interaction Effects 0.000 description 1
- 239000000463 material Substances 0.000 description 1
- 238000000034 method Methods 0.000 description 1
- 230000005012 migration Effects 0.000 description 1
- 238000013508 migration Methods 0.000 description 1
- 238000012986 modification Methods 0.000 description 1
- 230000004048 modification Effects 0.000 description 1
- 238000010137 moulding (plastic) Methods 0.000 description 1
- 230000001737 promoting effect Effects 0.000 description 1
- 238000006467 substitution reaction Methods 0.000 description 1
- 229920001169 thermoplastic Polymers 0.000 description 1
- 229920001187 thermosetting polymer Polymers 0.000 description 1
Images
Landscapes
- Moulds For Moulding Plastics Or The Like (AREA)
- Injection Moulding Of Plastics Or The Like (AREA)
Abstract
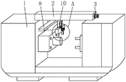
本实用新型公开了一种全自动模具注塑设备,包括注塑机主体,所述注塑机主体的顶端固定安装有沿左右方向设置的条形壳,所述条形壳的右侧固定安装有伺服电机,所述伺服电机的输出端延伸进条形壳的内腔并通过联轴器锁紧有丝杠,所述丝杠的左侧通过轴承安装在条形壳的内腔左侧,所述轴承的内环与丝杠的外壁过盈配合,且轴承的外环固定安装在条形壳的内腔左侧,所述条形壳的底端沿左右方向开设有第一条形孔,所述条形壳的内腔顶端固定安装有沿左右方向设置的第一导杆,所述丝杠的外壁左侧螺接有丝杠螺母。该全自动模具注塑设备,可代替工作人员从注塑机内取出注塑件,降低了工作人员的劳动强度较大,效率较高,且消除了一定的安全隐患。
Description
技术领域
本实用新型涉及注塑设备技术领域,具体为一种全自动模具注塑设备。
背景技术
注塑是一种工业产品生产造型的方法,产品通常使用橡胶注塑和塑料注塑,注塑还可分注塑成型模压法和压铸法,注射成型机(简称注射机或注塑机) 是将热塑性塑料或热固性料利用塑料成型模具制成各种形状的塑料制品的主要成型设备,注塑成型是通过注塑机和模具来实现的;
目前在对一些大型圆桶状注塑件注塑完成后,注塑件会套在凸模上,因此通常由工作人员手动从注塑机内取出注塑件,劳动强度较大,效率较低,且需要工作人员进入到注塑机内,如工作人员疏忽导致设备操作失误很容易造成人员受伤,存在一定的安全隐患。
实用新型内容
本实用新型的目的在于提供一种全自动模具注塑设备,以解决上述背景技术中提出的问题。
为实现上述目的,本实用新型提供如下技术方案:一种全自动模具注塑设备,包括注塑机主体,所述注塑机主体的顶端固定安装有沿左右方向设置的条形壳,所述条形壳的右侧固定安装有伺服电机,所述伺服电机的输出端延伸进条形壳的内腔并通过联轴器锁紧有丝杠,所述丝杠的左侧通过轴承安装在条形壳的内腔左侧,所述轴承的内环与丝杠的外壁过盈配合,且轴承的外环固定安装在条形壳的内腔左侧,所述条形壳的底端沿左右方向开设有第一条形孔,所述条形壳的内腔顶端固定安装有沿左右方向设置的第一导杆,所述丝杠的外壁左侧螺接有丝杠螺母,所述丝杠螺母的底端延伸出第一条形孔的内腔并固定安装有沿前后方向设置的L形板,所述L形板的底端设置有传动机构。
优选的,所述传动机构包括滑槽、滑块、气缸、壳体和液压杆;
所述滑槽沿前后方向开设在L形板的底端,所述滑槽的内腔插接有滑块的一部分,所述滑块的另一部分固定安装有气缸,所述气缸的底端固定安装有壳体,所述L形板的后侧固定安装有液压杆,所述液压杆的前侧延伸进L 形板的内侧并与滑块的后侧固定连接,所述壳体的内腔设置有夹持机构。
优选的,所述夹持机构包括步进电机、矩形杆、第二条形孔、第二导杆、条形柱和连杆;
所述步进电机固定安装在壳体的左侧中部,所述步进电机的输出端延伸进壳体的内腔并过盈配合有矩形杆,所述壳体的底端沿左右方向开设有第二条形孔,所述第二条形孔的内腔固定安装有沿左右方向设置有第二导杆,所述第二导杆的外壁套接有条形柱,且条形柱与第二条形孔的内腔相适配插接,所述条形柱的顶端延伸进壳体的内腔并通过销轴转动连接有连杆的一端,且连杆的另一端通过销轴与矩形杆的外侧转动连接。
优选的,所述滑槽的内腔形状为燕尾槽形,且滑块与滑槽的内腔相适配插接。
优选的,所述矩形杆的后侧中心位置与步进电机的输出端过盈配合。
优选的,所述条形柱的顶端与矩形杆的中心点位于同一高度。
优选的,所述条形柱的内侧底端形状为弧形,且条形柱的内侧底端粘接有橡胶垫。
与现有技术相比,本实用新型的有益效果是:该全自动模具注塑设备,通过伺服电机、丝杠、第一导杆的配合可控制丝杠螺母带动L形板左右移动,通过液压杆、滑槽和滑块的配合可使气缸和壳体前后水平移动,通过设置有夹持机构可使条形柱同时向内侧或外侧移动,从而可通过传动机构和夹持机构的配合可对注塑件的外壁进行自动夹持,并可将注塑件移动出注塑机主体内,可代替工作人员从注塑机内取出注塑件,降低了工作人员的劳动强度较大,效率较高,且消除了一定的安全隐患。
附图说明
图1为本实用新型的结构示意图;
图2为本实用新型的A处放大图;
图3为本实用新型条形壳的剖切结构示意图;
图4为本实用新型L形板的装配图;
图5为本实用新型壳体的左侧剖视图。
图中:1、注塑机主体,2、条形壳,3、伺服电机,4、丝杠,5、第一条形孔,6、第一导杆,7、丝杠螺母,8、L形板,9、滑槽,10、滑块,11、气缸,12、壳体,13、液压杆,14、步进电机,15、矩形杆,16、第二条形孔, 17、第二导杆,18、条形柱,19、连杆,20、橡胶垫。
具体实施方式
下面将结合本实用新型实施例中的附图,对本实用新型实施例中的技术方案进行清楚、完整地描述,显然,所描述的实施例仅仅是本实用新型一部分实施例,而不是全部的实施例。基于本实用新型中的实施例,本领域普通技术人员在没有做出创造性劳动前提下所获得的所有其他实施例,都属于本实用新型保护的范围。
请参阅图1-5,本实用新型提供一种技术方案:一种全自动模具注塑设备,包括注塑机主体1,注塑机主体1的顶端固定安装有沿左右方向设置的条形壳 2,条形壳2的右侧固定安装有伺服电机3,伺服电机3的输出端延伸进条形壳2的内腔并通过联轴器锁紧有丝杠4,丝杠4在伺服电机3的驱动下可绕自身轴线顺时针或逆时针转动,丝杠4的左侧通过轴承安装在条形壳2的内腔左侧,轴承的内环与丝杠4的外壁过盈配合,且轴承的外环固定安装在条形壳2的内腔左侧,条形壳2的底端沿左右方向开设有第一条形孔5,通过开设头第一条形孔5以使丝杠螺母7能够在第一条形孔5内左右移动,条形壳2 的内腔顶端固定安装有沿左右方向设置的第一导杆6,第一导杆6可限制丝杠螺母7的移动,丝杠4的外壁左侧螺接有丝杠螺母7,丝杠螺母7的底端延伸出第一条形孔5的内腔并固定安装有沿前后方向设置的L形板8,L形板8的底端设置有传动机构。
下列为本案的各电器件型号及作用:
伺服电机3:型号为ACSM130-G10015,可驱动丝杠4绕自身轴线顺时针或逆时针转动;
气缸11:型号为MGPM80-400,可推动壳体12上下移动;
液压杆13:型号为MQ-TA01-42,可推动滑块10在滑槽9的限制下前后移动;
步进电机14:型号为86BYG25OA,可驱动矩形杆15转动精确的角度。
作为优选方案,更进一步的,传动机构包括滑槽9、滑块10、气缸11、壳体12和液压杆13;
滑槽9沿前后方向开设在L形板8的底端,滑槽9的内腔插接有滑块10 的一部分,滑块10的另一部分固定安装有气缸11,气缸11的底端固定安装有壳体12,气缸11可推动壳体12上下移动,L形板8的后侧固定安装有液压杆13,液压杆13可推动滑块10在滑槽9的限制下前后移动,液压杆13的前侧延伸进L形板8的内侧并与滑块10的后侧固定连接,壳体12的内腔设置有夹持机构。
作为优选方案,更进一步的,夹持机构包括步进电机14、矩形杆15、第二条形孔16、第二导杆17、条形柱18和连杆19;
步进电机14固定安装在壳体12的左侧中部,步进电机14的输出端延伸进壳体12的内腔并过盈配合有矩形杆15,矩形杆15可绕步进电机14的输出端左右转动,壳体12的底端沿左右方向开设有第二条形孔16,通过开设有第二条形孔16以使条形柱18能够在条形孔16内前后移动,第二条形孔16的内腔固定安装有沿左右方向设置有第二导杆17,通过设置有第二导杆17以使条形柱18移动更稳定,第二导杆17的外壁套接有条形柱18,且条形柱18与第二条形孔16的内腔相适配插接,条形柱18的顶端延伸进壳体12的内腔并通过销轴转动连接有连杆19的一端,且连杆19的另一端通过销轴与矩形杆 15的外侧转动连接,矩形杆15转动时可使矩形杆15的外侧拉动两个连杆19 的一端同时向内侧移动,从而可使连杆19的另一端拉动条形柱18向内侧水平移动。
作为优选方案,更进一步的,滑槽9的内腔形状为燕尾槽形,且滑块10 与滑槽9的内腔相适配插接,可避免滑块10与滑槽9的内腔脱离,以使滑槽 10移动更稳定。
作为优选方案,更进一步的,矩形杆15的后侧中心位置与步进电机14 的输出端过盈配合,以使矩形杆15能够带动连杆19移动相通的距离。
作为优选方案,更进一步的,条形柱18的顶端与矩形杆15的中心点位于同一高度,以使两个条形柱18能够在矩形杆15的带动下同时向内侧移动。
作为优选方案,更进一步的,条形柱18的内侧底端形状为弧形,以便于对注塑件进行夹持,且条形柱18的内侧底端粘接有橡胶垫20,可避免条形柱 18在夹持使对注塑件的表面造成破损,并且可提高夹持的摩擦力。
通过本领域人员,将本案中所有电气件与其适配的电源通过导线进行连接,并且应该根据实际情况,选择合适的控制器,以满足控制需求,具体连接以及控制顺序,应参考下述工作原理中,各电气件之间先后工作顺序完成电性连接,其详细连接手段,为本领域公知技术,下述主要介绍工作原理以及过程,不在对电气控制做说明,具体工作如下。
当注塑件注塑完成后,接通伺服电机3、气缸11、液压杆13和步进电机 14的外接电源,控制气缸11启动后,气缸11可推动壳体12向下移动,直至条形柱18移动到注塑件的外侧,控制步进电机14启动,步进电机14可驱动矩形杆15绕步进电机14的输出端顺时针转动,促使矩形杆15的外侧拉动两个连杆19的一端同时向内侧移动,从而可使连杆19的另一端拉动条形柱18 在第二导杆17的限制作用下向内侧水平移动,直至条形柱18通过橡胶垫20 对注塑件的外壁进行夹持,控制伺服电机3的外接电源,在伺服电机3的驱动下可使丝杠4绕自身轴线逆时针转动,促使丝杠螺母7在第一导杆6的限制作用下向右侧水平移动,从而可使条形柱18将注塑件移出凸模的外壁,控制液压杆13启动后,液压杆13可驱动滑块10在滑槽9的限制作用下向前侧移动,从而可使条形柱18带动注塑件移动出注塑机主体1的内腔,以便于工作人员进行拿取,可避免工作人员进入到注塑机主体1内进行操作,减轻了工作人员的劳动强度,且操作安全,有利于广泛推广。
在本实用新型的描述中,需要理解的是,术语“顶端”、“底端”、“左侧”、“右侧”、“前侧”、“后侧”、“外壁”、“内腔”等指示的方位或位置关系为基于附图所示的方位或位置关系,仅是为了便于描述本实用新型和简化描述,而不是指示或暗示所指的装置或元件必须具有特定的方位、以特定的方位构造和操作;同时除非另有明确的规定和限定,术语“套接”、“插接”、“螺接”、“固定安装”、“过盈配合”、“设置”等术语应做广义理解,例如,可以是固定连接,也可以是可拆卸连接,或成一体;可以是机械连接,也可以是电连接;可以是直接相连,也可以通过中间媒介间接相连,可以是两个元件内部的连通或两个元件的相互作用关系,除非另有明确的限定,对于本领域的普通技术人员而言,可以根据具体情况理解上述术语在本实用新型中的具体含义。
尽管已经示出和描述了本实用新型的实施例,对于本领域的普通技术人员而言,可以理解在不脱离本实用新型的原理和精神的情况下可以对这些实施例进行多种变化、修改、替换和变型,本实用新型的范围由所附权利要求及其等同物限定。
Claims (7)
1.一种全自动模具注塑设备,包括注塑机主体(1),其特征在于:所述注塑机主体(1)的顶端固定安装有沿左右方向设置的条形壳(2),所述条形壳(2)的右侧固定安装有伺服电机(3),所述伺服电机(3)的输出端延伸进条形壳(2)的内腔并通过联轴器锁紧有丝杠(4),所述丝杠(4)的左侧通过轴承安装在条形壳(2)的内腔左侧,所述轴承的内环与丝杠(4)的外壁过盈配合,且轴承的外环固定安装在条形壳(2)的内腔左侧,所述条形壳(2)的底端沿左右方向开设有第一条形孔(5),所述条形壳(2)的内腔顶端固定安装有沿左右方向设置的第一导杆(6),所述丝杠(4)的外壁左侧螺接有丝杠螺母(7),所述丝杠螺母(7)的底端延伸出第一条形孔(5)的内腔并固定安装有沿前后方向设置的L形板(8),所述L形板(8)的底端设置有传动机构。
2.根据权利要求1所述的一种全自动模具注塑设备,其特征在于:所述传动机构包括滑槽(9)、滑块(10)、气缸(11)、壳体(12)和液压杆(13);
所述滑槽(9)沿前后方向开设在L形板(8)的底端,所述滑槽(9)的内腔插接有滑块(10)的一部分,所述滑块(10)的另一部分固定安装有气缸(11),所述气缸(11)的底端固定安装有壳体(12),所述L形板(8)的后侧固定安装有液压杆(13),所述液压杆(13)的前侧延伸进L形板(8)的内侧并与滑块(10)的后侧固定连接,所述壳体(12)的内腔设置有夹持机构。
3.根据权利要求2所述的一种全自动模具注塑设备,其特征在于:所述夹持机构包括步进电机(14)、矩形杆(15)、第二条形孔(16)、第二导杆(17)、条形柱(18)和连杆(19);
所述步进电机(14)固定安装在壳体(12)的左侧中部,所述步进电机(14)的输出端延伸进壳体(12)的内腔并过盈配合有矩形杆(15),所述壳体(12)的底端沿左右方向开设有第二条形孔(16),所述第二条形孔(16) 的内腔固定安装有沿左右方向设置有第二导杆(17),所述第二导杆(17)的外壁套接有条形柱(18),且条形柱(18)与第二条形孔(16)的内腔相适配插接,所述条形柱(18)的顶端延伸进壳体(12)的内腔并通过销轴转动连接有连杆(19)的一端,且连杆(19)的另一端通过销轴与矩形杆(15)的外侧转动连接。
4.根据权利要求2所述的一种全自动模具注塑设备,其特征在于:所述滑槽(9)的内腔形状为燕尾槽形,且滑块(10)与滑槽(9)的内腔相适配插接。
5.根据权利要求3所述的一种全自动模具注塑设备,其特征在于:所述矩形杆(15)的后侧中心位置与步进电机(14)的输出端过盈配合。
6.根据权利要求3所述的一种全自动模具注塑设备,其特征在于:所述条形柱(18)的顶端与矩形杆(15)的中心点位于同一高度。
7.根据权利要求3所述的一种全自动模具注塑设备,其特征在于:所述条形柱(18)的内侧底端形状为弧形,且条形柱(18)的内侧底端粘接有橡胶垫(20)。
Priority Applications (1)
| Application Number | Priority Date | Filing Date | Title |
|---|---|---|---|
| CN201921524690.5U CN211363263U (zh) | 2019-09-15 | 2019-09-15 | 一种全自动模具注塑设备 |
Applications Claiming Priority (1)
| Application Number | Priority Date | Filing Date | Title |
|---|---|---|---|
| CN201921524690.5U CN211363263U (zh) | 2019-09-15 | 2019-09-15 | 一种全自动模具注塑设备 |
Publications (1)
| Publication Number | Publication Date |
|---|---|
| CN211363263U true CN211363263U (zh) | 2020-08-28 |
Family
ID=72164029
Family Applications (1)
| Application Number | Title | Priority Date | Filing Date |
|---|---|---|---|
| CN201921524690.5U Expired - Fee Related CN211363263U (zh) | 2019-09-15 | 2019-09-15 | 一种全自动模具注塑设备 |
Country Status (1)
| Country | Link |
|---|---|
| CN (1) | CN211363263U (zh) |
Cited By (1)
| Publication number | Priority date | Publication date | Assignee | Title |
|---|---|---|---|---|
| CN114425847A (zh) * | 2021-12-20 | 2022-05-03 | 岱纳包装(太仓)有限公司 | 一种吹塑机用快换式吹针机构 |
-
2019
- 2019-09-15 CN CN201921524690.5U patent/CN211363263U/zh not_active Expired - Fee Related
Cited By (1)
| Publication number | Priority date | Publication date | Assignee | Title |
|---|---|---|---|---|
| CN114425847A (zh) * | 2021-12-20 | 2022-05-03 | 岱纳包装(太仓)有限公司 | 一种吹塑机用快换式吹针机构 |
Similar Documents
| Publication | Publication Date | Title |
|---|---|---|
| CN211363263U (zh) | 一种全自动模具注塑设备 | |
| CN203854144U (zh) | 一种用于预分支电缆连接体的夹持机 | |
| CN212171133U (zh) | 一种塑料模具用模芯导向结构 | |
| CN206899681U (zh) | 自动取件装置 | |
| CN211492565U (zh) | 一种可切换的精密电脑外壳模架 | |
| CN216992720U (zh) | 快速脱模塑料模具 | |
| CN211518327U (zh) | 一种塑料模具用抽芯装置 | |
| CN215320338U (zh) | 一种多角度抽芯塑胶模具 | |
| CN217252731U (zh) | 洗衣机用三脚架压铸模具 | |
| CN216001315U (zh) | 一种洗衣机配件用加工用注塑机取模装置 | |
| CN111376450B (zh) | 一种用于注塑模具的顶出装置 | |
| CN210477606U (zh) | 一种塑料模具加工用注塑机取模机构 | |
| CN212486348U (zh) | 一种音圈马达线圈支架的固定模具 | |
| CN211334304U (zh) | 一种盖体注塑模具定位装置 | |
| CN116422751B (zh) | 用于连接器外壳生产的冲压模具及其生产工艺 | |
| CN212171201U (zh) | 一种家电高光压盖注塑模具 | |
| CN211221749U (zh) | 一种注塑模具用的模架 | |
| CN221022211U (zh) | 一种马达定位座高效成型模具 | |
| CN222570688U (zh) | 一种模具加工用角度调节机构 | |
| CN222495133U (zh) | 光伏连接器壳体成型模 | |
| CN215320233U (zh) | 一种用于枪瞄准器制造的壳体注塑装置 | |
| CN221434917U (zh) | 一种高压线路电力金具成型装置 | |
| CN207696906U (zh) | 一种转盘双料注塑装置 | |
| CN223748943U (zh) | 一种线圈端子装配工装 | |
| CN220943187U (zh) | 一种粉末压制成型胶套脱模装置 |
Legal Events
| Date | Code | Title | Description |
|---|---|---|---|
| GR01 | Patent grant | ||
| GR01 | Patent grant | ||
| CF01 | Termination of patent right due to non-payment of annual fee | ||
| CF01 | Termination of patent right due to non-payment of annual fee |
Granted publication date: 20200828 Termination date: 20210915 |