CN211357905U - Back washing mechanism of filter - Google Patents
Back washing mechanism of filter Download PDFInfo
- Publication number
- CN211357905U CN211357905U CN201921540785.6U CN201921540785U CN211357905U CN 211357905 U CN211357905 U CN 211357905U CN 201921540785 U CN201921540785 U CN 201921540785U CN 211357905 U CN211357905 U CN 211357905U
- Authority
- CN
- China
- Prior art keywords
- filter
- filter screen
- water
- back washing
- raw water
- Prior art date
- Legal status (The legal status is an assumption and is not a legal conclusion. Google has not performed a legal analysis and makes no representation as to the accuracy of the status listed.)
- Active
Links
- 238000011001 backwashing Methods 0.000 title claims abstract description 38
- 230000007246 mechanism Effects 0.000 title claims abstract description 26
- XLYOFNOQVPJJNP-UHFFFAOYSA-N water Substances O XLYOFNOQVPJJNP-UHFFFAOYSA-N 0.000 claims abstract description 111
- 230000007704 transition Effects 0.000 claims abstract description 4
- 238000007789 sealing Methods 0.000 claims description 4
- 230000000694 effects Effects 0.000 abstract description 4
- 239000012535 impurity Substances 0.000 description 5
- 238000001914 filtration Methods 0.000 description 4
- 239000008213 purified water Substances 0.000 description 4
- 230000008901 benefit Effects 0.000 description 3
- 230000009471 action Effects 0.000 description 2
- 238000011010 flushing procedure Methods 0.000 description 2
- 238000002955 isolation Methods 0.000 description 2
- 238000000034 method Methods 0.000 description 2
- 230000008569 process Effects 0.000 description 2
- 238000000746 purification Methods 0.000 description 2
- 230000009286 beneficial effect Effects 0.000 description 1
- 238000004891 communication Methods 0.000 description 1
- 238000010586 diagram Methods 0.000 description 1
- JEIPFZHSYJVQDO-UHFFFAOYSA-N iron(III) oxide Inorganic materials O=[Fe]O[Fe]=O JEIPFZHSYJVQDO-UHFFFAOYSA-N 0.000 description 1
- 239000000463 material Substances 0.000 description 1
- 238000012986 modification Methods 0.000 description 1
- 230000004048 modification Effects 0.000 description 1
Images
Landscapes
- Filtration Of Liquid (AREA)
Abstract
The utility model discloses a back washing mechanism of a filter, which is arranged at the general water inlet of a filter body and comprises a filter screen component, a rotary drainage blade and a back washing water outlet; the filter screen assembly is provided with a filter screen raw water side and a filter screen water purifying port, the filter screen raw water side is communicated with the main water inlet, and the rotary drainage blade is arranged at a transition position where the filter screen raw water side is correspondingly communicated with the main water inlet; the back washing water outlet is arranged on the filter body and communicated with the raw water side of the filter screen. This novel back flush mechanism has the back flush performance excellence and avoids taking place the effect of jam problem.
Description
Technical Field
The utility model relates to the technical field of filters, in particular to a back washing mechanism of a filter.
Background
The filter is a filtering device placed in the water inlet pipe, can filter impurities in water such as silt, rust, flotage and the like, can improve water quality, and can also protect the device. The core of the filter is the filter element assembly, and in order to prolong the service life of the filter element assembly, an effective measure is to adopt back washing to clean the filter element assembly, so that the filter element assembly can be recycled to a certain extent.
At present, the backwashing treatment of the filter element assembly is generally realized by changing the water flow direction inside and outside the filter element assembly and switching a water way. In this way, the related valve body assembly is usually required to be designed to realize switching, and the structural design is relatively complex.
In view of the above, the present application provides a backwash mechanism for a filter, which is made by further studying the above problems.
SUMMERY OF THE UTILITY MODEL
An object of the utility model is to provide a back flush mechanism of filter has the back flush performance excellence and avoids taking place the effect of jam problem.
In order to achieve the above purpose, the solution of the present invention is:
a back washing mechanism of a filter is arranged at a general water inlet of a filter body and comprises a filter screen assembly, a rotary drainage blade and a back washing water outlet; the filter screen assembly is provided with a filter screen raw water side and a filter screen water purifying port, the filter screen raw water side is communicated with the main water inlet, and the rotary drainage blade is arranged at a transition position where the filter screen raw water side is correspondingly communicated with the main water inlet; the back washing water outlet is arranged on the filter body and communicated with the raw water side of the filter screen.
The rotating drainage vanes are disposed on the end of the screen assembly and are disposed toward the main water inlet.
The rotary drainage blade is provided with at least two pieces, and at least two paths of rotary water flow are formed.
And a plug nut is arranged at the back washing water outlet.
The outer side wall of the filter screen component is provided with a flange part used for being assembled with the filter body, and the raw water side of the filter screen and the filter screen water purifying port are respectively positioned on the front side and the rear side of the flange part.
And a sealing ring is arranged on the flange part.
After adopting above-mentioned scheme, this novel back flush mechanism of filter, for prior art's beneficial effect lie in: the back flush mechanism creatively designs rotatory drainage blade, and the water that the total water inlet of filter introduced forms rotatory water under the blade guide, and rotatory water is rotatory in filter screen subassembly department, brings two points of benefit:
firstly, when the filter has a water outlet function, water entering from the main water inlet is filtered by the filter screen assembly and then purified water is sent out from the water purifying port of the filter screen, and in the water outlet process, the filter screen is not easy to block due to the rotating water flow characteristic brought by the rotating drainage blades;
secondly, when the filter performs a backwashing function, the relevant water outlet of the filter is in a non-water-outlet state, the backwashing water outlet is opened, the rotary water flow brought by the rotary drainage blade is guided to the filter screen assembly, and under the action of centrifugal force, water can take away impurities at the filter screen assembly and finally flows out from the backwashing water outlet. The filter screen assembly is simply and conveniently automatically cleaned.
Drawings
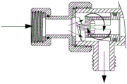
FIG. 1 is a schematic view of the application and assembly of the novel backwash mechanism on a filter body;
FIG. 2 is a schematic view of the novel backwash mechanism exploded from the filter body;
FIG. 3 is an assembled cross-sectional view of the novel backwash mechanism within the filter body;
fig. 4 is a working principle diagram of the novel backwashing mechanism.
Description of the reference symbols
A filter body 1, a main water inlet 11,
the filter screen component 2, a filter screen raw water side 21, a filter screen water purifying opening 22, a flange part 23 and a sealing part 24;
a back washing water outlet 3, a rotary drainage blade 4 and a plug nut 5.
Detailed Description
The present invention will be described in further detail with reference to the accompanying drawings and embodiments.
The present application relates to a back flushing mechanism for a filter, as shown in fig. 1, the back flushing mechanism is disposed at a main water inlet 11 of a filter body 1. The back washing mechanism comprises a filter screen component 2, a back washing water outlet 3 and a rotary drainage blade 4.
The filter screen assembly 2 is provided with a filter screen raw water side 21 and a filter screen water purifying opening 22, the filter screen raw water side 21 of the filter screen assembly 2 is communicated with the total water inlet 11, and the rotary drainage blades 4 are arranged at the transition position of the corresponding communication of the filter screen raw water side 21 and the total water inlet 11. Thus, the water fed from the main water inlet 11 is converted into rotational flow water by the rotating flow guide blades 4 and then is guided to the raw water side 21 of the filter screen.
The backwashing water outlet 3 is arranged on the filter body 1 and at a position corresponding to the raw water side 21 of the filter screen, and the backwashing water outlet 3 is communicated with the raw water side 21 of the filter screen. Specifically, the side of the main water inlet 11 is the front, the side of the filter screen assembly 2 is the rear, and the backwashing water outlet 13 is arranged at the rear position of the rotary drainage blade 4. The back washing water outlet 4 is opened only when the back washing operation is performed, and is in a sealed water-out state under other conditions, so that the back washing water outlet 3 is preferably provided with a plug nut 5.
This novel back flush mechanism designs rotatory drainage blade 4 innovatively, and the water that the total water inlet 11 of filter introduced forms rotatory water under the blade guide, and rotatory water is rotatory in filter screen assembly 2 department, brings two points of benefit:
firstly, when the filter has a water outlet function, water entering from the main water inlet 11 is filtered by the filter screen assembly 2 and then purified water is sent out from the filter screen water purifying port 22, and in the water outlet process, the rotating water flow characteristics brought by the rotating flow guide blades 4 can well avoid the problem of filter screen blockage;
the purified water sent out from the filter screen water purifying port 22 can be directly used as effluent, and the effluent can also be subjected to secondary filtration through a related filter element assembly and then is discharged, and the purified water is flexibly set according to the design requirement of the filter. When the filter has this novel back flush mechanism and filter element group spare combination design, this novel back flush mechanism's filter screen subassembly is used for filtering in the front and filters great impurity, and filter element group spare is after making secondary filter, filters tiny impurity. So can also avoid filter element group spare back flush demand ingeniously, the simple design of simplifying of filter element part can also bring and save consumptive material filter core cost advantage.
Secondly, when the filter performs a back washing function, the related water outlet of the filter is in a non-water-outlet state, the back washing water outlet 3 is opened, the rotary water flow brought by the rotary drainage blades 4 is led to the filter screen assembly 3, and under the action of centrifugal force, water can take away impurities at the filter screen assembly 2 and finally flows out from the back washing water outlet 3. The filter screen assembly is simply and conveniently automatically cleaned.
In the preferred scheme, the rotary drainage blades 4 are provided with at least two pieces (two pieces in the specific embodiment) to form at least two paths (two paths in the specific embodiment) of rotary water flow, so that the rotary drainage effect brought by the rotary drainage blades 4 is improved, and the exerted effects of difficult blockage and backwashing are better. Furthermore, the specific way of mounting the rotating guide vanes 4 in the filter body 4, preferably the rotating guide vanes 4 are arranged on the end of the sieve assembly 2 and towards the total water inlet 11.
Preferably, in order to facilitate the assembly of the strainer assembly 2 at the main water inlet 11 of the filter body 1, a flange portion 23 is provided on the outer side wall of the strainer assembly 2, and the strainer assembly 2 is assembled in the corresponding inner cavity of the filter body 1 through the flange portion 21. The former water side 21 of filter screen and filter screen water purification mouth 22 are located the front and back both sides position of flange portion 23 respectively to do sealed the isolation to former water side 21 of filter screen and filter screen water purification mouth 22 after the equipment, make and realize filter screen subassembly 2 filtering capability. In order to improve the isolation and sealing performance, a seal ring 24 is further provided on the flange portion 23.
The foregoing is only a preferred embodiment of the present invention and all equivalent changes and modifications made within the scope of the present invention are intended to be covered by the appended claims.
Claims (6)
1. The back washing mechanism of the filter is characterized in that: the filter is arranged at the general water inlet of the filter body and comprises a filter screen assembly, a rotary drainage blade and a back washing water outlet; the filter screen assembly is provided with a filter screen raw water side and a filter screen water purifying port, the filter screen raw water side is communicated with the main water inlet, and the rotary drainage blade is arranged at a transition position where the filter screen raw water side is correspondingly communicated with the main water inlet; the back washing water outlet is arranged on the filter body and communicated with the raw water side of the filter screen.
2. The backwashing mechanism of the filter as claimed in claim 1, wherein: the rotating drainage vanes are disposed on the end of the screen assembly and are disposed toward the main water inlet.
3. The backwashing mechanism of the filter as claimed in claim 1, wherein: the rotary drainage blade is provided with at least two pieces, and at least two paths of rotary water flow are formed.
4. The backwashing mechanism of the filter as claimed in claim 1, wherein: and a plug nut is arranged at the back washing water outlet.
5. The backwashing mechanism of the filter as claimed in claim 1, wherein: the outer side wall of the filter screen component is provided with a flange part used for being assembled with the filter body, and the raw water side of the filter screen and the filter screen water purifying port are respectively positioned on the front side and the rear side of the flange part.
6. The backwashing mechanism of the filter as claimed in claim 5, wherein: and a sealing ring is arranged on the flange part.
Priority Applications (1)
| Application Number | Priority Date | Filing Date | Title |
|---|---|---|---|
| CN201921540785.6U CN211357905U (en) | 2019-09-17 | 2019-09-17 | Back washing mechanism of filter |
Applications Claiming Priority (1)
| Application Number | Priority Date | Filing Date | Title |
|---|---|---|---|
| CN201921540785.6U CN211357905U (en) | 2019-09-17 | 2019-09-17 | Back washing mechanism of filter |
Publications (1)
| Publication Number | Publication Date |
|---|---|
| CN211357905U true CN211357905U (en) | 2020-08-28 |
Family
ID=72160769
Family Applications (1)
| Application Number | Title | Priority Date | Filing Date |
|---|---|---|---|
| CN201921540785.6U Active CN211357905U (en) | 2019-09-17 | 2019-09-17 | Back washing mechanism of filter |
Country Status (1)
| Country | Link |
|---|---|
| CN (1) | CN211357905U (en) |
Cited By (2)
| Publication number | Priority date | Publication date | Assignee | Title |
|---|---|---|---|---|
| CN112999722A (en) * | 2021-03-11 | 2021-06-22 | 杭州骢稷科技有限公司 | Self-cleaning filter with rotary spray head |
| CN117463021A (en) * | 2022-07-29 | 2024-01-30 | 恩特格里斯公司 | Filter cartridge and end caps for filter components in the filter cartridge |
-
2019
- 2019-09-17 CN CN201921540785.6U patent/CN211357905U/en active Active
Cited By (2)
| Publication number | Priority date | Publication date | Assignee | Title |
|---|---|---|---|---|
| CN112999722A (en) * | 2021-03-11 | 2021-06-22 | 杭州骢稷科技有限公司 | Self-cleaning filter with rotary spray head |
| CN117463021A (en) * | 2022-07-29 | 2024-01-30 | 恩特格里斯公司 | Filter cartridge and end caps for filter components in the filter cartridge |
Similar Documents
| Publication | Publication Date | Title |
|---|---|---|
| CN106422463B (en) | The prefilter device assembly that can be backwashed | |
| CN206198803U (en) | One kind backwash fore filter | |
| CN105771396A (en) | Pre-filter with backwash function and method for applying pre-filter | |
| CN211357905U (en) | Back washing mechanism of filter | |
| CN111151053A (en) | Back flush filter | |
| CN104606992A (en) | A hand-operated-water-discharging type air filtration device and an air filtration method | |
| CN216170348U (en) | Front filter | |
| CN216358847U (en) | Sunken back flush back-spray washing decompression prefilter | |
| CN214209611U (en) | Water purifier for faucet | |
| CN211676552U (en) | Innovative backwashing filter | |
| CN211384030U (en) | Back-washing pre-filter | |
| CN201516301U (en) | Flat filter capable of being cleaned with clear water | |
| CN214158784U (en) | Faucet water purifying device with replaceable and cleanable filter element | |
| CN219299991U (en) | Multifunctional filter valve | |
| CN211158728U (en) | Be applied to filtration filter core of concentrated water play water end of RO filter core | |
| CN211987367U (en) | Back flush filter | |
| CN213643369U (en) | Faucet water purifier with replaceable and cleanable filter element | |
| CN211445256U (en) | Water purifying device | |
| CN209762325U (en) | water tap using ultrafiltration carbon fiber composite filter element | |
| CN221854316U (en) | A filter element structure with forward flushing function | |
| CN110917689A (en) | Innovative backwashing filter and application thereof | |
| CN214209694U (en) | Faucet water purification equipment with replaceable and washable filter element | |
| CN208878298U (en) | A kind of flushable ultrafiltration membrane filter element | |
| CN213348066U (en) | Novel filter element for water purifier | |
| CN112169407A (en) | Water purifier for faucet |
Legal Events
| Date | Code | Title | Description |
|---|---|---|---|
| GR01 | Patent grant | ||
| GR01 | Patent grant |