CN211339032U - Waste water cyclic utilization device - Google Patents
Waste water cyclic utilization device Download PDFInfo
- Publication number
- CN211339032U CN211339032U CN201921884702.5U CN201921884702U CN211339032U CN 211339032 U CN211339032 U CN 211339032U CN 201921884702 U CN201921884702 U CN 201921884702U CN 211339032 U CN211339032 U CN 211339032U
- Authority
- CN
- China
- Prior art keywords
- filter
- plate
- activated carbon
- water
- bin
- Prior art date
- Legal status (The legal status is an assumption and is not a legal conclusion. Google has not performed a legal analysis and makes no representation as to the accuracy of the status listed.)
- Expired - Fee Related
Links
- 239000002351 wastewater Substances 0.000 title claims abstract description 22
- 125000004122 cyclic group Chemical group 0.000 title claims 2
- OKTJSMMVPCPJKN-UHFFFAOYSA-N Carbon Chemical compound [C] OKTJSMMVPCPJKN-UHFFFAOYSA-N 0.000 claims abstract description 76
- XLYOFNOQVPJJNP-UHFFFAOYSA-N water Substances O XLYOFNOQVPJJNP-UHFFFAOYSA-N 0.000 claims abstract description 47
- 238000004140 cleaning Methods 0.000 claims abstract description 33
- 238000003860 storage Methods 0.000 claims abstract description 15
- 238000004064 recycling Methods 0.000 claims abstract description 13
- 239000010865 sewage Substances 0.000 claims description 13
- 238000001914 filtration Methods 0.000 claims description 4
- 239000012535 impurity Substances 0.000 abstract description 16
- RGCKGOZRHPZPFP-UHFFFAOYSA-N Alizarin Natural products C1=CC=C2C(=O)C3=C(O)C(O)=CC=C3C(=O)C2=C1 RGCKGOZRHPZPFP-UHFFFAOYSA-N 0.000 abstract description 8
- KKZJGLLVHKMTCM-UHFFFAOYSA-N mitoxantrone Chemical compound O=C1C2=C(O)C=CC(O)=C2C(=O)C2=C1C(NCCNCCO)=CC=C2NCCNCCO KKZJGLLVHKMTCM-UHFFFAOYSA-N 0.000 abstract description 8
- 229960001156 mitoxantrone Drugs 0.000 abstract description 8
- 238000004519 manufacturing process Methods 0.000 abstract description 7
- 238000010586 diagram Methods 0.000 description 3
- 238000000034 method Methods 0.000 description 3
- GUEIZVNYDFNHJU-UHFFFAOYSA-N quinizarin Chemical compound O=C1C2=CC=CC=C2C(=O)C2=C1C(O)=CC=C2O GUEIZVNYDFNHJU-UHFFFAOYSA-N 0.000 description 3
- 238000009825 accumulation Methods 0.000 description 1
- 230000009286 beneficial effect Effects 0.000 description 1
- 238000001816 cooling Methods 0.000 description 1
- 239000000975 dye Substances 0.000 description 1
- 230000000694 effects Effects 0.000 description 1
- 238000010438 heat treatment Methods 0.000 description 1
- 239000000543 intermediate Substances 0.000 description 1
- 230000004048 modification Effects 0.000 description 1
- 238000012986 modification Methods 0.000 description 1
- 239000000049 pigment Substances 0.000 description 1
- 238000005381 potential energy Methods 0.000 description 1
- 239000000126 substance Substances 0.000 description 1
- 230000004083 survival effect Effects 0.000 description 1
- 239000002699 waste material Substances 0.000 description 1
- 238000004065 wastewater treatment Methods 0.000 description 1
Images
Landscapes
- Water Treatment By Sorption (AREA)
- Filtration Of Liquid (AREA)
Abstract
本实用新型公开了一种废水循环利用装置,包括储水槽和电机,所述储水槽的下端通过法兰连接有出水管,所述储水槽的上端安装有第二过滤仓,且第二过滤仓的内壁中通过弹簧连接有嵌块,两组所述嵌块之间固定安装有活性炭板,所述第二过滤仓的上端安装有第一过滤仓,且第一过滤仓的内部下端焊接有过滤板,所述过滤板的上端中心点通过轴承安装有清理板,且清理板的上端中心点通过转轴与电机的输出端相连接。本实用新型通过设置过滤板和活性炭板,来对二羟基蒽醌生产时的二次清洗用水进行过滤,将其内部杂质进一步减少,使得废水能够用于下批产品的初步清洗,从而节约了水资源,且减少了生产成本。
The utility model discloses a waste water recycling device, comprising a water storage tank and a motor, a water outlet pipe is connected to the lower end of the water storage tank through a flange, a second filter chamber is installed on the upper end of the water storage tank, and the second filter chamber The inner wall of the filter is connected with inserts by springs, and activated carbon plates are fixedly installed between the two sets of inserts. A cleaning plate is installed at the center point of the upper end of the filter plate through a bearing, and the center point of the upper end of the cleaning plate is connected with the output end of the motor through a rotating shaft. The utility model filters the secondary cleaning water during the production of dihydroxyanthraquinone by arranging a filter plate and an activated carbon plate, and further reduces its internal impurities, so that the waste water can be used for the preliminary cleaning of the next batch of products, thereby saving water resources and reduce production costs.
Description
技术领域technical field
本实用新型涉及二羟基蒽醌生产用废水处理技术领域,具体为一种废水循环利用装置。The utility model relates to the technical field of waste water treatment for the production of dihydroxyanthraquinone, in particular to a waste water recycling device.
背景技术Background technique
1,4-二羟基蒽醌主要用于制造安全环保染料或颜料的中间体,而在1,4-二羟基蒽醌生产过程中需要使用热水进行两次清洗,且水是人类及一切生物赖以生存的必不可少的重要物质,但是目前大部分的工厂在生产1,4-二羟基蒽醌的过程中,两次清洗均是采用一次性用水,不但浪费水资源,成本较高,且不够环保,为此我们提出了一种废水循环利用装置来解决上述问题。1,4-Dihydroxyanthraquinone is mainly used in the manufacture of safe and environmentally friendly dyes or intermediates for pigments. During the production process of 1,4-dihydroxyanthraquinone, hot water needs to be used for two cleanings, and water is a source of water for humans and all living things. It is an essential and important substance for survival, but most of the factories currently use disposable water for two cleanings in the process of producing 1,4-dihydroxyanthraquinone, which not only wastes water resources, but also has high costs. And it is not environmentally friendly enough, so we propose a wastewater recycling device to solve the above problems.
实用新型内容Utility model content
本实用新型的目的在于提供一种废水循环利用装置,以解决上述背景技术中提出的二羟基蒽醌两次清洗均采用一次性用水的方式较为浪费的问题。The purpose of this utility model is to provide a waste water recycling device, so as to solve the problem of wasteful use of disposable water for both cleaning of dihydroxyanthraquinone proposed in the above-mentioned background art.
为实现上述目的,本实用新型提供如下技术方案:一种废水循环利用装置,包括储水槽和电机,所述储水槽的下端通过法兰连接有出水管,所述储水槽的上端安装有第二过滤仓,且第二过滤仓的内壁中通过弹簧连接有嵌块,两组所述嵌块之间固定安装有活性炭板,所述第二过滤仓的上端安装有第一过滤仓,且第一过滤仓的内部下端焊接有过滤板,所述过滤板的上端中心点通过轴承安装有清理板,且清理板的上端中心点通过转轴与电机的输出端相连接,所述电机通过固定杆与第一过滤仓的内壁相连接,所述第一过滤仓的下端左侧开设有排污口,且排污口与排污管相连通,所述第一过滤仓的上端通过法兰安装有入水管。In order to achieve the above purpose, the utility model provides the following technical solutions: a waste water recycling device, including a water storage tank and a motor, the lower end of the water storage tank is connected with a water outlet pipe through a flange, and the upper end of the water storage tank is installed with a second filter chamber, and the inner wall of the second filter chamber is connected with inserts through springs, an activated carbon plate is fixedly installed between the two groups of the inserts, the upper end of the second filter chamber is installed with a first filter chamber, and the first filter chamber is installed at the upper end of the second filter chamber. The inner lower end of the filter bin is welded with a filter plate, the upper center point of the filter plate is installed with a cleaning plate through a bearing, and the upper center point of the cleaning plate is connected to the output end of the motor through a rotating shaft, and the motor is connected to the first through a fixed rod. The inner walls of a filter chamber are connected, the lower end of the first filter chamber is provided with a sewage outlet on the left side, and the sewage outlet is communicated with the sewage pipe, and the upper end of the first filter chamber is installed with a water inlet pipe through a flange.
优选的,所述第二过滤仓设置为圆筒状,且第二过滤仓的内壁均匀开设有半圆形凹槽。Preferably, the second filter chamber is configured in a cylindrical shape, and the inner wall of the second filter chamber is evenly provided with semicircular grooves.
优选的,所述活性炭板共设置有四组,且四组所述活性炭板设置为斜梯状。Preferably, there are four groups of the activated carbon plates in total, and the four groups of the activated carbon plates are arranged in an inclined ladder shape.
优选的,所述活性炭板的左右两端均开设有凹槽,且凹槽的内侧尺寸与嵌块的外侧尺寸相等。Preferably, the left and right ends of the activated carbon plate are provided with grooves, and the inner size of the groove is equal to the outer size of the insert.
优选的,所述过滤板设置为半圆形,且过滤板上均匀开设有过滤孔。Preferably, the filter plate is arranged in a semicircle, and the filter plate is evenly provided with filter holes.
优选的,所述清理板的下端尺寸与过滤板的上端尺寸相等,所述清理板紧贴过滤板的表面。Preferably, the size of the lower end of the cleaning plate is equal to the size of the upper end of the filter plate, and the cleaning plate is close to the surface of the filter plate.
与现有技术相比,本实用新型的有益效果是:该废水循环利用装置,通过设置过滤板和活性炭板,来对二羟基蒽醌生产时的二次清洗用水进行过滤,将其内部杂质进一步减少,使得废水能够用于下批产品的初步清洗,从而节约了水资源,且减少了生产成本;Compared with the prior art, the beneficial effect of the present utility model is that: the waste water recycling device, by setting up a filter plate and an activated carbon plate, filters the secondary cleaning water during the production of dihydroxyanthraquinone, and further removes the impurities in it. Reduced, so that wastewater can be used for the preliminary cleaning of the next batch of products, thereby saving water resources and reducing production costs;
通过设置清理板来对被过滤板阻拦的杂质进行清洗,清理板通过旋转,会将杂质从排污口处推出,防止杂质在过滤板处日益堆积,致使过滤板完全封堵,从而使得本装置在使用过程中不需要频繁的清理杂质,大大增加了本装置的实用性。The impurities blocked by the filter plate are cleaned by setting the cleaning plate. The cleaning plate rotates to push out the impurities from the sewage outlet to prevent the accumulation of impurities at the filter plate and cause the filter plate to be completely blocked. During use, frequent cleaning of impurities is not required, which greatly increases the practicability of the device.
附图说明:Description of drawings:
为了更清楚地说明本实用新型实施例或现有技术中的技术方案,下面将对实施例或现有技术描述中所需要使用的附图作简单地介绍,显而易见地,下面描述中的附图仅仅是本实用新型的一些实施例,对于本领域普通技术人员来讲,在不付出创造性劳动的前提下,还可以根据这些附图获得其他的附图。In order to more clearly illustrate the embodiments of the present utility model or the technical solutions in the prior art, the following briefly introduces the accompanying drawings that need to be used in the description of the embodiments or the prior art. Obviously, the accompanying drawings in the following description These are just some embodiments of the present invention, and for those of ordinary skill in the art, other drawings can also be obtained from these drawings without creative effort.
图1为本实用新型的结构正视剖面示意图;Fig. 1 is the structural front sectional schematic diagram of the present utility model;
图2为本实用新型的结构俯视剖面示意图;2 is a schematic top view of the structure of the utility model;
图3为本实用新型图1中A的结构放大示意图;Fig. 3 is the structural enlarged schematic diagram of A in Fig. 1 of the utility model;
图4为本实用新型图1中B的结构放大示意图;Fig. 4 is the structural enlarged schematic diagram of B in Fig. 1 of the utility model;
图5为本实用新型图1中C的结构放大示意图。FIG. 5 is an enlarged schematic view of the structure of C in FIG. 1 of the present invention.
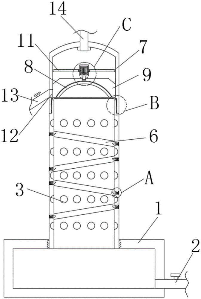
图中:1、储水槽;2、出水管;3、第二过滤仓;4、弹簧;5、嵌块;6、活性炭板;7、第一过滤仓;8、过滤板;9、清理板;10、电机;11、固定杆;12、排污口;13、排污管;14、入水管。In the picture: 1. Water storage tank; 2. Water outlet pipe; 3. Second filter chamber; 4. Spring; 5. Insert; 6. Activated carbon plate; 7. First filter chamber; 8. Filter plate; 9. Cleaning plate ; 10, motor; 11, fixed rod; 12, sewage outlet; 13, sewage pipe; 14, water inlet pipe.
具体实施方式:Detailed ways:
下面将结合本实用新型实施例中的附图,对本实用新型实施例中的技术方案进行清楚、完整地描述,显然,所描述的实施例仅仅是本实用新型一部分实施例,而不是全部的实施例。基于本实用新型中的实施例,本领域普通技术人员在没有做出创造性劳动前提下所获得的所有其他实施例,都属于本实用新型保护的范围。The technical solutions in the embodiments of the present utility model will be clearly and completely described below with reference to the accompanying drawings in the embodiments of the present utility model. Obviously, the described embodiments are only a part of the embodiments of the present utility model, rather than all the implementations. example. Based on the embodiments of the present invention, all other embodiments obtained by those of ordinary skill in the art without creative work fall within the protection scope of the present invention.
请参阅图1-5,本实用新型提供的一种实施例:一种废水循环利用装置,包括储水槽1和电机10,储水槽1的下端通过法兰连接有出水管2,储水槽1的上端安装有第二过滤仓3,第二过滤仓3设置为圆筒状,且第二过滤仓3的内壁均匀开设有半圆形凹槽,该结构增加了第二过滤仓3内壁的表面积,从而增加了第二过滤仓3内外的换热效率,致使废水冷却的更快;Please refer to FIGS. 1-5, an embodiment provided by the present invention: a waste water recycling device, comprising a
且第二过滤仓3的内壁中通过弹簧4连接有嵌块5,活性炭板6 的左右两端均开设有凹槽,且凹槽的内侧尺寸与嵌块5的外侧尺寸相等,该结构使得活性炭板6能够斜向固定在第二过滤仓3的内部,且通过弹簧4和嵌块5的伸缩结构,使得活性炭板6便于安装和拆卸;And the inner wall of the
两组嵌块5之间固定安装有活性炭板6,活性炭板6共设置有四组,且四组活性炭板6设置为斜梯状,该结构使得废水可以沿着活性炭板6的斜面下流,通过流动时的动力势能,使得水流能够增加被活性炭板6过滤的效率;Activated
第二过滤仓3的上端安装有第一过滤仓7,且第一过滤仓7的内部下端焊接有过滤板8,过滤板8设置为半圆形,且过滤板8上均匀开设有过滤孔,该结构用于对废水过滤,同时由于其为半圆形,所以杂质一般无法在过滤板8上表面停留,杂质会沿着过滤板8的圆面下落在其周围堆积;The upper end of the
过滤板8的上端中心点通过轴承安装有清理板9,且清理板9的上端中心点通过转轴与电机10的输出端相连接,电机10的型号为: M4lk-25C,清理板9的下端尺寸与过滤板8的上端尺寸相等,清理板 9紧贴过滤板8的表面,该结构使得清理板9转动时能够将过滤板8上的杂质刮下,致使过滤板8上的滤孔不会被遮挡;The center point of the upper end of the
电机10通过固定杆11与第一过滤仓7的内壁相连接,第一过滤仓7的下端左侧开设有排污口12,且排污口12与排污管13相连通,第一过滤仓7的上端通过法兰安装有入水管14。The
工作原理:本装置使用时,先将入水管14与二羟基蒽醌二次清洗装置的排水口相连接,并将出水管2与二羟基蒽醌一次清洗装置的入水口接通,电机10通过电线外接开关,当二羟基蒽醌二次清洗装置排出的水通过入水管14进入第一过滤仓后,会落至过滤板8上,过滤板8会对杂质进行阻拦,从而对水进行初步过滤,当杂质被阻挡后会沿着过滤板8的圆弧面滑至第一过滤仓7的内部下端并堆积,当使用完水后,可将电机10的开关打开,电机10会带动清理板9在过滤板8上方旋转,清理板9在旋转时不但会将沾染在过滤板8上的杂质刮下,还会推动第一过滤仓7内部下端的杂质,杂质随着清理板9 的推动发生移动,当杂质处于排污口12处时,会因为离心力被排出,此时可在排污管13处收集杂质,另外当废水经过过滤板8后会落至活性炭板6内,由于活性炭板6呈倾斜状,废水会沿着活性炭板6的倾斜面一边向下移动,一边被活性炭板6过滤,同时第二过滤仓3的内壁设置有圆形凹槽,凹槽增加了第二过滤仓3的表面积,致使第二过滤仓3的受热面积增加,从而使得第二过滤仓3内外热交换的效率增加,该过程能够对废水进行降温,当废水被四组活性炭板6逐一过滤后,会进入储水槽1内进行储蓄,当需要使用该水对下批产品进行一次清洗时,可将出水管2的阀门打开,使得储水槽1内的水可以进入二羟基蒽醌一次清洗装置进行使用,以实现水循环利用,同时随着装置使用时间增加,活性炭板6的过滤效果会变差,此时可将第二过滤仓3通过螺纹自储水槽1和第一过滤仓7上拆卸下来,可将活性炭板6向上提动,当活性炭板6受到向上的力时,会向内挤压嵌块5,嵌块5会向内移动并压缩弹簧4,当嵌块5离开活性炭板6内后,可将活性炭板6从第二过滤仓3内取出,依次将所有活性炭板6取出,随后将新的活性炭板6从第二过滤仓3底部向内嵌入,推动活性炭板 6致使活性炭板6触碰到最上面两组嵌块5,嵌块5会因受到活性炭板6的力向内移动并压缩弹簧4,当嵌块5对准活性炭板6上的凹槽后,会被处于压缩状态的弹簧4推动嵌入活性炭板6内,此时活性炭板6处于固定状态,依次从上至下安装所有活性炭板6即可替换完成,以上为本实用新型的全部工作原理。Working principle: When the device is in use, first connect the
以上所述仅为本实用新型的较佳实施例而已,并不用以限制本实用新型,凡在本实用新型的精神和原则之内,所作的任何修改、等同替换、改进等,均应包含在本实用新型的保护范围之内。The above are only preferred embodiments of the present invention, and are not intended to limit the present invention. Any modification, equivalent replacement, improvement, etc. made within the spirit and principle of the present invention shall be included in the within the protection scope of the present invention.
Claims (6)
Priority Applications (1)
| Application Number | Priority Date | Filing Date | Title |
|---|---|---|---|
| CN201921884702.5U CN211339032U (en) | 2019-11-04 | 2019-11-04 | Waste water cyclic utilization device |
Applications Claiming Priority (1)
| Application Number | Priority Date | Filing Date | Title |
|---|---|---|---|
| CN201921884702.5U CN211339032U (en) | 2019-11-04 | 2019-11-04 | Waste water cyclic utilization device |
Publications (1)
| Publication Number | Publication Date |
|---|---|
| CN211339032U true CN211339032U (en) | 2020-08-25 |
Family
ID=72134188
Family Applications (1)
| Application Number | Title | Priority Date | Filing Date |
|---|---|---|---|
| CN201921884702.5U Expired - Fee Related CN211339032U (en) | 2019-11-04 | 2019-11-04 | Waste water cyclic utilization device |
Country Status (1)
| Country | Link |
|---|---|
| CN (1) | CN211339032U (en) |
Cited By (1)
| Publication number | Priority date | Publication date | Assignee | Title |
|---|---|---|---|---|
| CN112587701A (en) * | 2020-12-31 | 2021-04-02 | 王会云 | Medical science is with degassing unit that disinfects |
-
2019
- 2019-11-04 CN CN201921884702.5U patent/CN211339032U/en not_active Expired - Fee Related
Cited By (1)
| Publication number | Priority date | Publication date | Assignee | Title |
|---|---|---|---|---|
| CN112587701A (en) * | 2020-12-31 | 2021-04-02 | 王会云 | Medical science is with degassing unit that disinfects |
Similar Documents
| Publication | Publication Date | Title |
|---|---|---|
| CN207210229U (en) | A kind of sewage disposal sludge press filtration device | |
| CN210473299U (en) | Exhaust water filter dirt separating mechanism | |
| CN205886362U (en) | Sewage of convenient clearance filters jar | |
| CN211339032U (en) | Waste water cyclic utilization device | |
| CN208193861U (en) | Recirculated water filtration processing equipment | |
| CN109387069A (en) | A kind of industry dewatered drying production line | |
| CN109028591A (en) | A kind of energy-saving full premixed condensed burnt gas wall hanging furnace | |
| CN221846365U (en) | Water supply filtering device for preparing disinfectant | |
| CN210751616U (en) | Primary filtering device for industrial wastewater treatment | |
| CN220355443U (en) | A boiler separator | |
| CN220642678U (en) | Wastewater filtering treatment device | |
| CN209092828U (en) | A kind of filter for machining coolant | |
| CN214654036U (en) | Swill treatment device for oil-water separator | |
| CN213555878U (en) | Purification device for improving oil fume emission | |
| CN210881026U (en) | Kitchen waste water solid-liquid separation equipment | |
| CN203256475U (en) | Printing and dyeing wastewater waste heat recovery system | |
| CN222239326U (en) | A waste gas treatment device for new material environmental protection equipment | |
| CN207734792U (en) | A kind of dry filter convenient for adjusting | |
| CN211926441U (en) | A drying device based on solid waste recycling | |
| CN223596597U (en) | A high-efficiency and energy-saving heat exchange device for an air compressor | |
| CN220609392U (en) | General anti-blocking drainage device for building heating | |
| CN219816279U (en) | Energy-saving resin time-delay regeneration backwash-free resin tower | |
| CN112569692A (en) | Domestic sewage treatment ware with mud-water separation function | |
| CN216440222U (en) | Purifier is used in production of PVC plasticizer | |
| CN211650748U (en) | Air energy water heater with water purification function |
Legal Events
| Date | Code | Title | Description |
|---|---|---|---|
| GR01 | Patent grant | ||
| GR01 | Patent grant | ||
| CP01 | Change in the name or title of a patent holder | ||
| CP01 | Change in the name or title of a patent holder |
Address after: 016000 in Hainan Economic Development Zone, Wuhai City, Inner Mongolia Autonomous Region Patentee after: Inner Mongolia Baohong Chemical Technology Co.,Ltd. Address before: 016000 in Hainan Economic Development Zone, Wuhai City, Inner Mongolia Autonomous Region Patentee before: Inner Mongolia Baohong dyestuff Co.,Ltd. |
|
| CF01 | Termination of patent right due to non-payment of annual fee | ||
| CF01 | Termination of patent right due to non-payment of annual fee |
Granted publication date: 20200825 |
