CN211316377U - An energy-saving air conditioner mounting bracket - Google Patents
An energy-saving air conditioner mounting bracket Download PDFInfo
- Publication number
- CN211316377U CN211316377U CN201921732519.3U CN201921732519U CN211316377U CN 211316377 U CN211316377 U CN 211316377U CN 201921732519 U CN201921732519 U CN 201921732519U CN 211316377 U CN211316377 U CN 211316377U
- Authority
- CN
- China
- Prior art keywords
- air conditioner
- rod
- bracket
- support
- outdoor unit
- Prior art date
- Legal status (The legal status is an assumption and is not a legal conclusion. Google has not performed a legal analysis and makes no representation as to the accuracy of the status listed.)
- Expired - Fee Related
Links
Images
Landscapes
- Other Air-Conditioning Systems (AREA)
Abstract
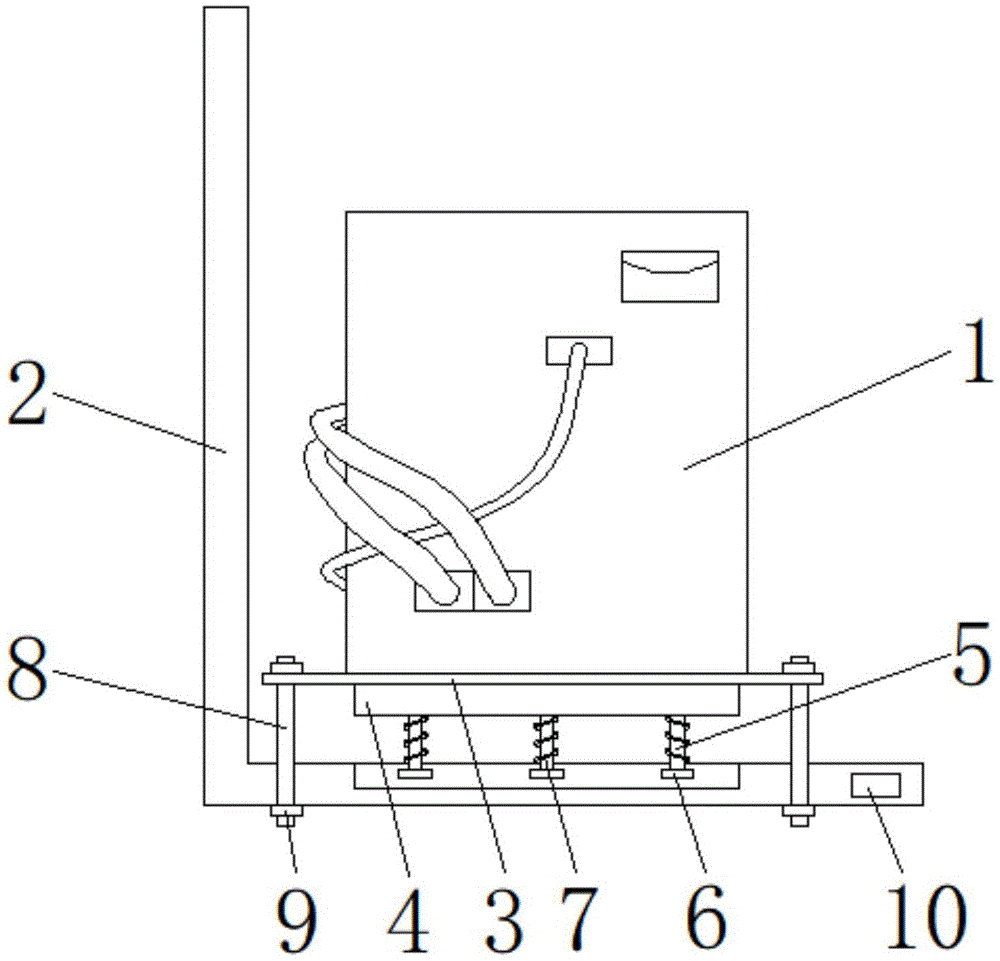
本实用新型涉及空调支架技术领域,且公开了一种节能空调安装支架,包括支架,所述支架下底杆的中部活动套接有支撑杆,所述支撑杆的底端固定安装有限位块,所述支撑杆的顶端固定安装有固定板,所述支撑杆的外表面活动套接有伸缩弹簧,所述伸缩弹簧的顶端与固定板的底部固定连接,所述伸缩弹簧的底端与下底杆的顶部固定连接。该节能空调安装支架,通过在空调外机的底部安装固定板,固定板与支架下底杆之间安装有弹簧,空调外机在自身或者是外力的作用下产生晃动时,弹簧能够通过自身的伸缩吸收空调外机晃动产生的动能,降低空调外机晃动的幅度,防止空调外机长时间的晃动导致螺栓的松动,避免了空调外机坠落造成人员伤亡。
The utility model relates to the technical field of air-conditioning brackets, and discloses an energy-saving air-conditioning installation bracket, comprising a bracket, a support rod is movably sleeved in the middle of a bottom rod of the bracket, and a limit block is fixedly installed at the bottom end of the support rod, The top end of the support rod is fixedly installed with a fixed plate, the outer surface of the support rod is movably sleeved with a telescopic spring, the top end of the telescopic spring is fixedly connected with the bottom of the fixed plate, and the bottom end of the telescopic spring is connected with the lower bottom The top of the rod is fixedly attached. The installation bracket of the energy-saving air conditioner adopts a fixing plate installed at the bottom of the outer unit of the air conditioner, and a spring is installed between the fixing plate and the bottom rod of the bracket. When the outer unit of the air conditioner shakes under the action of itself or an external force, the spring can pass the The expansion and contraction absorb the kinetic energy generated by the shaking of the outdoor unit of the air conditioner, reduce the amplitude of the shaking of the outdoor unit of the air conditioner, prevent the loosening of the bolts caused by the shaking of the outdoor unit of the air conditioner for a long time, and avoid casualties caused by the fall of the outdoor unit of the air conditioner.
Description
技术领域technical field
本实用新型涉及空调支架技术领域,具体为一种节能空调安装支架。The utility model relates to the technical field of air-conditioning brackets, in particular to an energy-saving air-conditioning installation bracket.
背景技术Background technique
空调又称空气调节器,是指用人工手段对建筑内环境空气的温度、湿度、洁净度、流速等参数进行调节和控制的设备,随着经济的快速发展,人们生活水平的提高,人们对空调的依赖也越来越大,不管是炎热的夏季还是酷寒的冬季,使用空调已经成为大家的日常。An air conditioner, also known as an air conditioner, refers to a device that adjusts and controls the temperature, humidity, cleanliness, flow rate and other parameters of the ambient air in the building by artificial means. With the rapid development of the economy and the improvement of people's living standards, people have The reliance on air conditioners is also increasing. Whether it is hot summer or cold winter, the use of air conditioners has become everyone's daily life.
受空调结构的限制,在室内安装了挂壁式空调或是立柜式空调后,需要在室外安装空调外机,空调外机在运行的过程中,由于风扇的作用,空调外机会产生晃动,不仅如此,由于空调外机往往安装在室外,在遇到大风大于等极端天气,同样会对空调外机的稳定产生影响,传统的空调外机在安装的时候是将支架与墙壁固定,然后再将空调外机与支架固定,在缺乏减震的情况下,空调外机长时间的晃动会导致螺栓的松动,若是空调外机坠落甚至会造成人员的伤亡。Due to the limitation of the structure of the air conditioner, after installing the wall-mounted air conditioner or the vertical cabinet air conditioner indoors, it is necessary to install the outdoor unit of the air conditioner outdoors. During the operation of the outdoor unit of the air conditioner, due to the action of the fan, the outdoor unit of the air conditioner will shake, not only In this way, since the outdoor unit of the air conditioner is often installed outdoors, it will also affect the stability of the outdoor unit of the air conditioner when encountering extreme weather such as strong winds. The traditional outdoor unit of the air conditioner is installed by fixing the bracket to the wall, and then attaching it to the wall. The outer unit of the air conditioner is fixed to the bracket. In the absence of shock absorption, the long-term shaking of the outer unit of the air conditioner will cause the bolts to loosen. If the outer unit of the air conditioner falls, it may even cause casualties.
传统的空调外机支架分为左右两个,在安装的时候往往是先安装其中一个,借助杆子放置在支架底部,保持水平后再去安装另一个支架,这样不仅操作起来不方便,而且还会造成误差,使得空调外机处于斜着的状态,在重力的作用下,空调外机会有一个向一侧滑动的力,长时间如此会导致固定空调外机的螺栓松动,同样具有很大的风险。The traditional air conditioner outdoor unit brackets are divided into left and right brackets. During installation, one of the brackets is usually installed first, and then placed at the bottom of the bracket with the help of a pole. After keeping it horizontal, the other bracket is installed, which is not only inconvenient to operate, but also causes problems. The error is caused, so that the air conditioner outdoor unit is in an oblique state. Under the action of gravity, the air conditioner outer unit will have a sliding force to one side, which will cause the bolts fixing the air conditioner outdoor unit to loosen for a long time, which also has great risks. .
而在安装空调外机的时候,由于不同的空调外机底部固定螺栓位置的距离不同,所以需要对两个支架的距离进行调节,由于安装空调外机往往是空中作业,传统的软尺在空中作业时难以保持稳定,在这种情况下两个支架的安装距离会造成误差,需要重新调节,降低了安装人员的工作效率。When installing the outdoor unit of the air conditioner, due to the different distances between the positions of the fixing bolts at the bottom of the outdoor unit of the air conditioner, the distance between the two brackets needs to be adjusted. Since the installation of the outdoor unit of the air conditioner is often done in the air, the traditional soft ruler is in the air. It is difficult to maintain stability during operation. In this case, the installation distance of the two brackets will cause errors and need to be re-adjusted, which reduces the work efficiency of the installer.
实用新型内容Utility model content
针对现有技术的不足,本实用新型提供了一种节能空调安装支架,具备空调外机不晃动、空调外机放置平稳、安装准确的优点,解决了上述背景技术中提到的问题。Aiming at the deficiencies of the prior art, the utility model provides an energy-saving air conditioner mounting bracket, which has the advantages of no shaking of the outer unit of the air conditioner, stable placement of the outer unit of the air conditioner, and accurate installation, and solves the problems mentioned in the above background technology.
本实用新型提供如下技术方案:一种节能空调安装支架,包括支架,所述支架下底杆的中部活动套接有支撑杆,所述支撑杆的底端固定安装有限位块,所述支撑杆的顶端固定安装有固定板,所述支撑杆的外表面活动套接有伸缩弹簧,所述伸缩弹簧的顶端与固定板的底部固定连接,所述伸缩弹簧的底端与下底杆的顶部固定连接,所述固定板的顶部活动连接有连接杆,所述连接杆的顶部固定安装有空调外机,所述连接杆的左右两端均活动套接有螺杆,两个所述螺杆的底端贯穿支架的下底杆,两个所述螺杆的上下两端均螺纹套接有螺母,所述支架下底杆的正面开设有位于右端螺杆右侧的限位孔,所述限位孔的内部活动套接有固定杆。The utility model provides the following technical solutions: an energy-saving air conditioner installation bracket, comprising a bracket, a support rod is movably sleeved in the middle of a bottom rod of the bracket, a limit block is fixedly installed at the bottom end of the support rod, and the support rod A fixed plate is fixedly installed at the top of the support rod, a telescopic spring is movably sleeved on the outer surface of the support rod, the top of the telescopic spring is fixedly connected with the bottom of the fixed plate, and the bottom end of the telescopic spring is fixed with the top of the lower bottom rod. The top of the fixing plate is movably connected with a connecting rod, the top of the connecting rod is fixedly installed with an air conditioner external unit, the left and right ends of the connecting rod are movably sleeved with screws, and the bottom ends of the two screws Passing through the lower bottom rod of the bracket, the upper and lower ends of the two screws are threadedly sleeved with nuts, the front of the lower bottom rod of the bracket is provided with a limit hole located on the right side of the right end screw, and the inside of the limit hole is The movable sleeve is connected with a fixed rod.
优选的,所述支架的形状为″L″形,并且分为左侧杆和下底杆。Preferably, the bracket is in an "L" shape, and is divided into a left pole and a lower bottom pole.
优选的,所述支架下底杆的左右两端均开设有螺杆孔,两个所述螺杆孔的形状大小均相同,所述支架下底杆的中间开设有固定孔,所述固定孔与支撑杆的外表面活动套接,所述固定孔的数量为三个,三个所述固定孔的形状大小均相同。Preferably, the left and right ends of the lower bottom rod of the support are provided with screw holes, and the shape and size of the two screw holes are the same. The outer surface of the rod is movably socketed, the number of the fixing holes is three, and the shapes and sizes of the three fixing holes are the same.
优选的,所述螺杆孔的直径大于螺杆的直径,所述固定孔的直径大于支撑杆的直径。Preferably, the diameter of the screw hole is larger than the diameter of the screw, and the diameter of the fixing hole is larger than the diameter of the support rod.
优选的,所述固定孔位于支撑杆的正下方。Preferably, the fixing hole is located just below the support rod.
优选的,所述固定杆的外表面具有刻度。Preferably, the outer surface of the fixing rod has a scale.
与现有技术对比,本实用新型具备以下有益效果:Compared with the prior art, the utility model has the following beneficial effects:
1、该节能空调安装支架,通过在空调外机的底部安装固定板,固定板与支架下底杆之间安装有弹簧,空调外机在自身或者是外力的作用下产生晃动时,弹簧能够通过自身的伸缩吸收空调外机晃动产生的动能,降低空调外机晃动的幅度,防止空调外机长时间的晃动导致螺栓的松动,避免了空调外机坠落造成人员伤亡。1. The installation bracket of the energy-saving air conditioner is installed by installing a fixing plate at the bottom of the outer unit of the air conditioner, and a spring is installed between the fixing plate and the lower bottom rod of the bracket. When the outer unit of the air conditioner shakes under the action of itself or external force, the spring can pass through. Its own expansion and contraction absorbs the kinetic energy generated by the shaking of the outdoor unit of the air conditioner, reduces the amplitude of the shaking of the outer unit of the air conditioner, prevents the loosening of the bolts caused by the shaking of the outer unit of the air conditioner for a long time, and avoids casualties caused by the fall of the outdoor unit of the air conditioner.
2、该节能空调安装支架,通过在支架下底杆的右端开设有限位孔,将固定杆穿过两个支架的限位孔,使两个支架处于水平位置,防止空调外机倾斜对螺栓造成额外的压力,避免了因螺栓松动而造成严重影响。2. The energy-saving air-conditioning installation bracket is provided with a limit hole at the right end of the lower bottom rod of the bracket, and the fixing rod is passed through the limit holes of the two brackets, so that the two brackets are in a horizontal position to prevent the external air conditioner from tilting. The extra pressure avoids the serious impact of loose bolts.
3、该节能空调安装支架,通过在固定杆的外表面设置有刻度,将固定杆穿过两个支架之间的限位孔后,根据空调外机底部螺栓安装的距离可以直接调节两个支架之间的距离,确保了两支架之间距离安装的准确性,提高了安装人员的工作效率。3. The energy-saving air conditioner mounting bracket is provided with a scale on the outer surface of the fixing rod. After passing the fixing rod through the limit hole between the two brackets, the two brackets can be directly adjusted according to the distance between the bolts at the bottom of the air conditioner outdoor unit. The distance between the two brackets ensures the installation accuracy of the distance between the two brackets and improves the work efficiency of the installer.
附图说明Description of drawings
图1为本实用新型结构示意图;Fig. 1 is the structural representation of the utility model;
图2为本实用新型结构支架与固定杆的连接图;Fig. 2 is the connection diagram of the utility model structural support and the fixing rod;
图3为本实用新型结构支架下底杆的俯视图。FIG. 3 is a top view of the lower bottom rod of the structural support of the present invention.
图中:1、空调外机;2、支架;3、连接杆;4、固定板;5、支撑杆;6、限位块;7、伸缩弹簧;8、螺杆;9、螺母;10、限位孔;11、固定杆;12、螺杆孔;13、固定孔。In the picture: 1. Air conditioner outdoor unit; 2. Bracket; 3. Connecting rod; 4. Fixed plate; 5. Support rod; 6. Limit block; 7. Telescopic spring; 8. Screw; 9. Nut; 10. Limit Position hole; 11. Fixing rod; 12. Screw hole; 13. Fixing hole.
具体实施方式Detailed ways
下面将结合本实用新型实施例中的附图,对本实用新型实施例中的技术方案进行清楚、完整地描述,显然,所描述的实施例仅仅是本实用新型一部分实施例,而不是全部的实施例。基于本实用新型中的实施例,本领域普通技术人员在没有做出创造性劳动前提下所获得的所有其他实施例,都属于本实用新型保护的范围。The technical solutions in the embodiments of the present utility model will be clearly and completely described below with reference to the accompanying drawings in the embodiments of the present utility model. Obviously, the described embodiments are only a part of the embodiments of the present utility model, rather than all the implementations. example. Based on the embodiments of the present invention, all other embodiments obtained by those of ordinary skill in the art without creative work fall within the protection scope of the present invention.
请参阅图1-3,一种节能空调安装支架,包括支架2,支架2下底杆的中部活动套接有支撑杆5,支撑杆5的底端固定安装有限位块6,支撑杆5的顶端固定安装有固定板4,支撑杆5的外表面活动套接有伸缩弹簧7,伸缩弹簧7的顶端与固定板4的底部固定连接,伸缩弹簧7的底端与下底杆的顶部固定连接,空调外机1在自身或者是外力的作用下产生晃动时,弹簧能够通过自身的伸缩吸收空调外机1晃动产生的动能,降低空调外机1晃动的幅度,防止空调外机1长时间的晃动导致螺栓的松动,固定板4的顶部活动连接有连接杆3,连接杆3的顶部固定安装有空调外机1,连接杆3的左右两端均活动套接有螺杆8,两个螺杆8的底端贯穿支架2的下底杆,两个螺杆8的上下两端均螺纹套接有螺母9,支架2下底杆的正面开设有位于右端螺杆8右侧的限位孔10,限位孔10的内部活动套接有固定杆11,通过在支架2下底杆的右端开设有限位孔10,将固定杆11穿过两个支架的限位孔10,使两个支架2处于水平位置,防止空调外机1倾斜对螺栓造成额外的压力。Please refer to Figure 1-3, an energy-saving air conditioner installation bracket, including a
其中,支架2的形状为″L″形,并且分为左侧杆和下底杆,左侧杆用于与墙壁固定,下底杆用于与空调外机固定。Among them, the shape of the
其中,支架2下底杆的左右两端均开设有螺杆孔12,两个螺杆孔12的形状大小均相同,支架2下底杆的中间开设有固定孔13,固定孔13与支撑杆5的外表面活动套接,固定孔13的数量为三个,三个固定孔13的形状大小均相同。Wherein, the left and right ends of the lower bottom rod of the
其中,螺杆孔12的直径大于螺杆8的直径,使得螺杆8能够插入螺杆孔12内,便于空调外机的固定,固定孔13的直径大于支撑杆5的直径。The diameter of the
其中,固定孔13位于支撑杆5的正下方。The fixing
其中,固定杆11的外表面具有刻度,将固定杆穿过两个支架之间的限位孔后,根据空调外机底部螺栓安装的距离可以直接调节两个支架之间的距离。The outer surface of the fixing
工作原理:先测量空调外机1底部固定螺栓的距离,将一个支架2的左侧杆通过螺栓与墙壁固定安装,将固定杆11穿过支架2的限位孔10,将另一个支架2的限位孔10套入到固定杆11的外表面,通过将固定杆11穿过两个支架2的限位孔,使两个支架2处于水平位置,防止空调外机1倾斜对螺栓造成额外的压力,根据固定杆11外表面的刻度调节两个支架2之间的距离,调节好后,将另一个支架2通过螺栓与墙壁固定,将空调外机1放置在两个支架2的下底杆上,将连接杆3左右两端插入螺杆8,并将螺杆8贯穿支架的下底杆,将螺杆8的上下两端通过螺母9拧紧,空调外机1的底部安装固定板4,固定板4与支架2下底杆之间安装有弹簧,空调外机1在自身或者是外力的作用下产生晃动时,弹簧能够通过自身的伸缩吸收空调外机1晃动产生的动能,降低空调外机1晃动的幅度,防止空调外机1长时间的晃动导致螺栓的松动。Working principle: first measure the distance of the fixing bolts at the bottom of the
需要说明的是,在本文中,诸如第一和第二等之类的关系术语仅仅用来将一个实体或者操作与另一个实体或操作区分开来,而不一定要求或者暗示这些实体或操作之间存在任何这种实际的关系或者顺序。而且,术语″包括″、″包含″或者其任何其他变体意在涵盖非排他性的包含,从而使得包括一系列要素的过程、方法、物品或者设备不仅包括那些要素,而且还包括没有明确列出的其他要素,或者是还包括为这种过程、方法、物品或者设备所固有的要素。It should be noted that, in this document, relational terms such as first and second are only used to distinguish one entity or operation from another entity or operation, and do not necessarily require or imply any relationship between these entities or operations. any such actual relationship or sequence exists. Moreover, the terms "comprising", "comprising" or any other variation thereof are intended to cover non-exclusive inclusion, such that a process, method, article or device that includes a list of elements includes not only those elements, but also includes not explicitly listed or other elements inherent to such a process, method, article or apparatus.
尽管已经示出和描述了本实用新型的实施例,对于本领域的普通技术人员而言,可以理解在不脱离本实用新型的原理和精神的情况下可以对这些实施例进行多种变化、修改、替换和变型,本实用新型的范围由所附权利要求及其等同物限定。Although the embodiments of the present invention have been shown and described, it will be understood by those skilled in the art that various changes and modifications can be made to these embodiments without departing from the principles and spirit of the present invention , alternatives and modifications, the scope of the present invention is defined by the appended claims and their equivalents.
Claims (6)
Priority Applications (1)
| Application Number | Priority Date | Filing Date | Title |
|---|---|---|---|
| CN201921732519.3U CN211316377U (en) | 2019-10-16 | 2019-10-16 | An energy-saving air conditioner mounting bracket |
Applications Claiming Priority (1)
| Application Number | Priority Date | Filing Date | Title |
|---|---|---|---|
| CN201921732519.3U CN211316377U (en) | 2019-10-16 | 2019-10-16 | An energy-saving air conditioner mounting bracket |
Publications (1)
| Publication Number | Publication Date |
|---|---|
| CN211316377U true CN211316377U (en) | 2020-08-21 |
Family
ID=72081833
Family Applications (1)
| Application Number | Title | Priority Date | Filing Date |
|---|---|---|---|
| CN201921732519.3U Expired - Fee Related CN211316377U (en) | 2019-10-16 | 2019-10-16 | An energy-saving air conditioner mounting bracket |
Country Status (1)
| Country | Link |
|---|---|
| CN (1) | CN211316377U (en) |
-
2019
- 2019-10-16 CN CN201921732519.3U patent/CN211316377U/en not_active Expired - Fee Related
Similar Documents
| Publication | Publication Date | Title |
|---|---|---|
| CN211316377U (en) | An energy-saving air conditioner mounting bracket | |
| CN219713550U (en) | A hanging air conditioner installation rack | |
| CN205534919U (en) | Novel projector rack for artistic design teaching | |
| CN207318393U (en) | A kind of hot tank of building wall heat transfer coefficient detection device | |
| CN207796268U (en) | Coordinate the adjustable bracket of Pipe installing | |
| CN216010259U (en) | A soil detection intelligent weather station with data statistics function | |
| CN211953051U (en) | Air conditioner outdoor unit mounting frame | |
| CN210772521U (en) | Outer quick machine bearing frame of air conditioner of installing fast fixedly | |
| CN204664804U (en) | A kind of liquid crystal display panel fixed support | |
| CN211119727U (en) | Air conditioner external unit support frame capable of avoiding condensed water accumulation | |
| CN216239558U (en) | External fan installation device for building curtain wall | |
| CN210088996U (en) | Multifunctional support is used in air conditioner installation | |
| CN221483733U (en) | Mounting structure of energy-saving air conditioner | |
| CN201282183Y (en) | Antenna installation stent | |
| CN206973208U (en) | Camera fixing bracket for conference room | |
| CN221801930U (en) | An air conditioner with adjustable back panel | |
| CN214577810U (en) | Auxiliary calibrating device for suspension position of industrial ceiling fan | |
| CN211936999U (en) | But height-adjusting's evaporating dish tripod | |
| CN221975369U (en) | Multifunctional air conditioner mounting bracket | |
| CN216590547U (en) | Pipeline positioning support for water supply and drainage engineering | |
| CN220891720U (en) | Thermal box mounting and fixing bracket | |
| CN204404578U (en) | A kind of plate type solar circuit board balcony wall-hanging adjustable support | |
| CN217357268U (en) | High-efficient air conditioner mounting structure of adaptable different positions installation | |
| CN211526683U (en) | Outdoor pipeline mounting bracket of ventilation equipment | |
| CN220266887U (en) | Anti-seismic device for integrated house |
Legal Events
| Date | Code | Title | Description |
|---|---|---|---|
| GR01 | Patent grant | ||
| GR01 | Patent grant | ||
| CF01 | Termination of patent right due to non-payment of annual fee | ||
| CF01 | Termination of patent right due to non-payment of annual fee |
Granted publication date: 20200821 |
