CN211302512U - Spray tower for chemical production - Google Patents
Spray tower for chemical production Download PDFInfo
- Publication number
- CN211302512U CN211302512U CN201921834612.5U CN201921834612U CN211302512U CN 211302512 U CN211302512 U CN 211302512U CN 201921834612 U CN201921834612 U CN 201921834612U CN 211302512 U CN211302512 U CN 211302512U
- Authority
- CN
- China
- Prior art keywords
- spray
- booster pump
- pipe
- barrel
- chemical production
- Prior art date
- Legal status (The legal status is an assumption and is not a legal conclusion. Google has not performed a legal analysis and makes no representation as to the accuracy of the status listed.)
- Expired - Fee Related
Links
Images
Landscapes
- Treating Waste Gases (AREA)
Abstract
本实用新型属于化工设备技术领域,尤其为一种化工生产用喷淋塔,包括喷淋桶,所述喷淋桶的上方设有锥形罩,所述锥形罩的内壁上固定安装有吸附板,所述喷淋桶的底部固定安装有两个支撑板,两个支撑板之间设有顶部为开口的过滤箱,所述过滤箱的内壁上固定安装有过滤板,所述喷淋桶的一侧设有增压泵,所述增压泵的吸水口固定安装有外接管道。本实用新型构造合理,通过两个填料层与雾化喷头进行的双重除尘,再经过除雾器和吸附板的进一步过滤,使废气处理的效果达到较高水准,且循环水经过过滤后,有效提高了除尘效率,并对增压泵带来的损伤影响大大降低,适用性更强。
The utility model belongs to the technical field of chemical equipment, in particular to a spray tower for chemical production. two support plates are fixedly installed at the bottom of the spray bucket, a filter box with an open top is arranged between the two support plates, and a filter plate is fixedly installed on the inner wall of the filter box, and the spray bucket A booster pump is provided on one side of the booster pump, and an external pipeline is fixedly installed at the water suction port of the booster pump. The structure of the utility model is reasonable, and the double dust removal by two packing layers and atomizing nozzles, and further filtering by a mist eliminator and an adsorption plate, makes the waste gas treatment effect reach a higher level, and the circulating water is filtered, effectively The dust removal efficiency is improved, the damage to the booster pump is greatly reduced, and the applicability is stronger.
Description
技术领域technical field
本实用新型涉及化工设备技术领域,尤其涉及一种化工生产用喷淋塔。The utility model relates to the technical field of chemical equipment, in particular to a spray tower for chemical production.
背景技术Background technique
喷淋塔,又称喷雾塔,塔内无填料或塔板,但却设置有喷嘴的吸收塔,液体由塔顶进入,经过喷嘴被喷成雾状或雨滴状,气体由塔下部进入,与雾状或雨滴状的液体密切接触进行传质,使气体中易溶组分被吸收,结构简单,不易被堵塞,阻力小,操作维修方便,在现阶段的化工行业中都会用到喷淋塔对一些化学废气进行除害除尘工作。Spray tower, also known as spray tower, has no packing or tray in the tower, but is equipped with an absorption tower with nozzles. The liquid enters from the top of the tower, and is sprayed into mist or raindrop through the nozzle, and the gas enters from the lower part of the tower. The mist or raindrop liquid is in close contact for mass transfer, so that the soluble components in the gas are absorbed, the structure is simple, it is not easy to be blocked, the resistance is small, and the operation and maintenance are convenient. In the current chemical industry, spray towers are used. Carry out decontamination and dust removal work on some chemical waste gases.
但是,现有的喷淋塔内部构造简单,除尘不彻底,排出去的气体内还会存留较多有害杂质,且虽然大多数喷淋塔在实现降尘的同时,往往会将降尘过后的水继续循环使用,但这些降尘的水里杂质较多,在抽取使用时很容易造成水泵的损坏,且杂质较多的水对下一步的降尘效果带来较多不利影响,为此,提出一种化工生产用喷淋塔。However, the internal structure of the existing spray tower is simple, the dust removal is not complete, and there are still many harmful impurities in the discharged gas, and although most spray towers achieve dust reduction, they tend to continue the water after dust reduction. It can be recycled, but there are many impurities in the dust-removing water, which is easy to cause damage to the pump when it is extracted and used, and the water with more impurities will have more adverse effects on the next-step dust-reducing effect. Therefore, a chemical industry is proposed. Production spray towers.
实用新型内容Utility model content
本实用新型的目的是为了解决现有技术中存在的缺点,而提出的一种化工生产用喷淋塔。The purpose of the utility model is to propose a spray tower for chemical production in order to solve the shortcomings existing in the prior art.
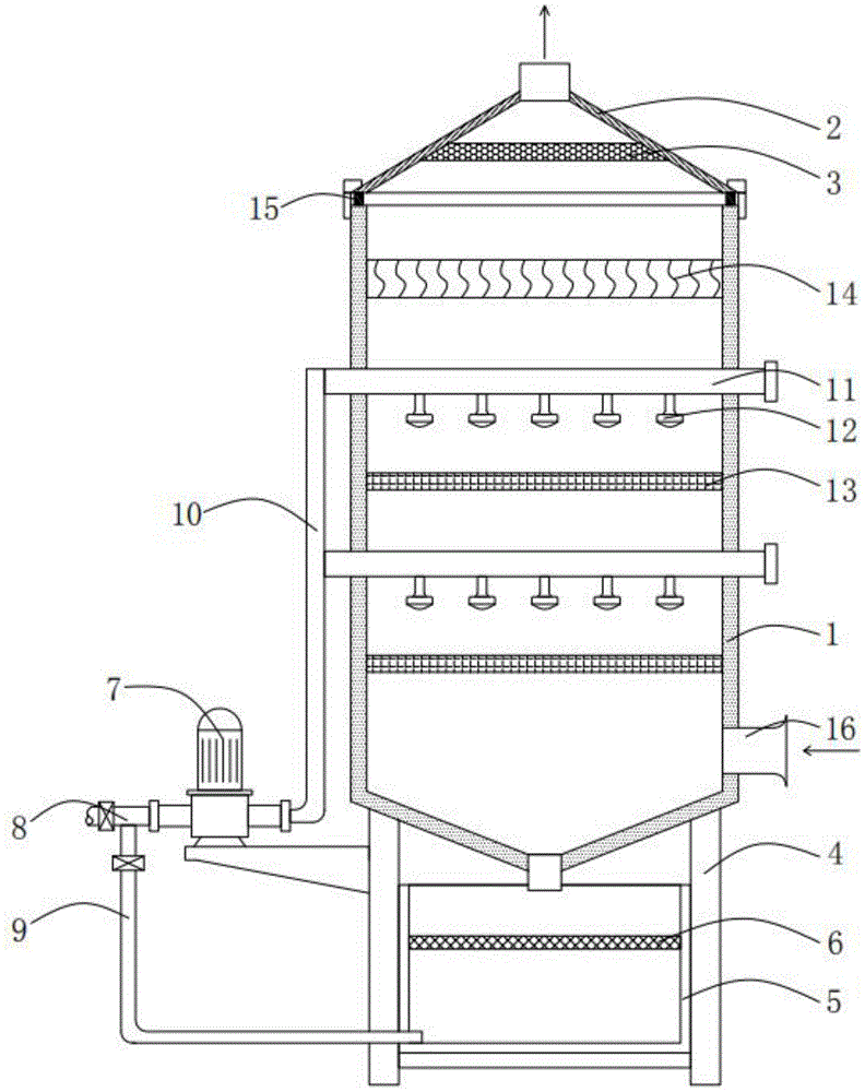
为了实现上述目的,本实用新型采用了如下技术方案:一种化工生产用喷淋塔,包括喷淋桶,所述喷淋桶的上方设有锥形罩,所述锥形罩的内壁上固定安装有吸附板,所述喷淋桶的底部固定安装有两个支撑板,两个支撑板之间设有顶部为开口的过滤箱,所述过滤箱的内壁上固定安装有过滤板,所述喷淋桶的一侧设有增压泵,所述增压泵的吸水口固定安装有外接管道,所述增压泵的出水口固定安装有出水管,所述外接管道上固定安装有吸水管的一端,所述吸水管的另一端延伸至过滤箱内,所述喷淋桶内设有两个连接管,两个连接管的两端均延伸至喷淋桶外,两个连接管的一端均与出水管固定连接,所述连接管上设有多个位于喷淋桶内的雾化喷头,所述喷淋桶的内壁上固定安装有两个填料层,两个填料层分别位于两个连接管的下方,所述喷淋桶的内壁上固定安装有除雾器,所述除雾器位于两个连接管的上方。In order to achieve the above purpose, the utility model adopts the following technical scheme: a spray tower for chemical production, comprising a spray bucket, a conical cover is arranged above the spray bucket, and the inner wall of the conical cover is fixed on the inner wall An adsorption plate is installed, two support plates are fixedly installed at the bottom of the spray bucket, a filter box with an opening at the top is arranged between the two support plates, and a filter plate is fixedly installed on the inner wall of the filter box. One side of the spray bucket is provided with a booster pump, the water suction port of the booster pump is fixedly installed with an external pipe, the water outlet of the booster pump is fixedly mounted with a water outlet pipe, and the external pipe is fixedly mounted with a water suction pipe one end of the suction pipe, the other end of the suction pipe extends into the filter box, the spray bucket is provided with two connecting pipes, both ends of the two connecting pipes extend to the outside of the spray bucket, and one end of the two connecting pipes They are all fixedly connected to the water outlet pipe, the connecting pipe is provided with a plurality of atomizing nozzles located in the spray bucket, and two packing layers are fixedly installed on the inner wall of the spray bucket, and the two packing layers are located in two Below the connecting pipe, a mist eliminator is fixedly installed on the inner wall of the spray bucket, and the mist eliminator is located above the two connecting pipes.
优选的,所述喷淋桶的顶部固定安装有密封圈,所述锥形罩的底部与密封圈相接触。Preferably, a sealing ring is fixedly installed on the top of the spray bucket, and the bottom of the conical cover is in contact with the sealing ring.
优选的,所述喷淋桶与锥形罩通过固定扣固定连接。Preferably, the spray bucket and the conical cover are fixedly connected by a fixing buckle.
优选的,所述喷淋桶的一侧固定安装有进气管,所述喷淋桶的底部固定安装有排污管,所述锥形罩的顶部固定安装有出气管。Preferably, an air inlet pipe is fixedly installed on one side of the spray bucket, a sewage pipe is fixedly installed at the bottom of the spray bucket, and an air outlet pipe is fixedly installed on the top of the conical cover.
优选的,所述外接管道上设有第一水阀,所述吸水管上设有第二水阀,所述吸附板为焦炭材质。Preferably, the external pipeline is provided with a first water valve, the water suction pipe is provided with a second water valve, and the adsorption plate is made of coke.
优选的,靠近增压泵的支撑板上固定安装有加强板,所述增压泵与加强板的顶部固定连接。Preferably, a reinforcement plate is fixedly installed on the support plate close to the booster pump, and the booster pump is fixedly connected to the top of the reinforcement plate.
与现有技术相比,本实用新型的有益效果是:首先,该装置通过喷淋桶、锥形罩、吸附板、支撑板、过滤箱、过滤板、增压泵、外接管道、吸水管、出水管、连接管、雾化喷头、填料层、除雾器、密封圈和进气管相配合,使用时,打开第一水阀,并启动风机和增压泵,外部水源依次经过外接管道和出水管进入连接管内,并通过雾化喷头喷射出,之后将废气通入喷淋桶内,废气依次穿过两个填料层时,较大的尘粒便被液滴捕集,之后经过两次除尘的废气继续上升并穿过除雾器和吸附板,使得气体的净化呈现最大化,随后被排出;Compared with the prior art, the beneficial effects of the present utility model are as follows: firstly, the device passes through the spray bucket, the conical cover, the adsorption plate, the support plate, the filter box, the filter plate, the booster pump, the external pipeline, the suction pipe, The water outlet pipe, connecting pipe, atomizing nozzle, packing layer, demister, sealing ring and air inlet pipe are matched together. When in use, open the first water valve and start the fan and booster pump. The water pipe enters the connecting pipe and is sprayed out through the atomizing nozzle, and then the exhaust gas is passed into the spray barrel. When the exhaust gas passes through the two packing layers in turn, the larger dust particles are captured by the droplets, and then the dust is removed twice. The exhaust gas continues to rise and pass through the mist eliminator and adsorption plate, so that the purification of the gas is maximized, and then it is discharged;
通过喷淋桶、过滤箱、过滤板、增压泵、外接管道、吸水管、出水管、连接管和雾化喷头相配合,在除尘的同时,夹带了颗粒的液滴排进过滤箱内,并穿过滤板,使水中的杂质被滤除,随即落到底部,之后,便可关闭第一水阀并打开第二水阀,经过过滤的水便被抽取,并通过雾化喷头喷出,从而进行除尘工作,有效减缓了增压泵的因灰尘颗粒而受到的损伤,提高了增压泵的使用寿命;Through the cooperation of spray bucket, filter box, filter plate, booster pump, external pipeline, suction pipe, water outlet pipe, connecting pipe and atomizing nozzle, the droplets entrained with particles are discharged into the filter box while removing dust. And through the filter plate, the impurities in the water are filtered out, and then fall to the bottom. After that, the first water valve can be closed and the second water valve can be opened. The filtered water is extracted and sprayed through the atomizing nozzle. Therefore, the dust removal work is carried out, which effectively slows down the damage of the booster pump due to dust particles, and improves the service life of the booster pump;
本实用新型构造合理,通过两个填料层与雾化喷头进行的双重除尘,再经过除雾器和吸附板的进一步过滤,使废气处理的效果达到较高水准,且循环水经过过滤后,有效提高了除尘效率,并对增压泵带来的损伤影响大大降低,适用性更强。The utility model has a reasonable structure, and the double dust removal by two packing layers and atomizing nozzles, and further filtering by a mist eliminator and an adsorption plate, makes the waste gas treatment effect reach a higher level, and the circulating water is effectively filtered after being filtered. The dust removal efficiency is improved, the damage to the booster pump is greatly reduced, and the applicability is stronger.
附图说明Description of drawings
图1为本实用新型的结构示意图;Fig. 1 is the structural representation of the utility model;
图2为本实用新型中填料层的俯视结构示意图。2 is a schematic top view of the structure of the filler layer in the present invention.
图中:1、喷淋桶;2、锥形罩;3、吸附板;4、支撑板;5、过滤箱;6、过滤板;7、增压泵;8、外接管道;9、吸水管;10、出水管;11、连接管;12、雾化喷头;13、填料层;14、除雾器;15、密封圈;16、进气管。In the picture: 1. Spray bucket; 2. Conical cover; 3. Adsorption plate; 4. Support plate; 5. Filter box; 6. Filter plate; 7. Booster pump; 8. External pipeline; 9. Suction pipe ; 10, outlet pipe; 11, connecting pipe; 12, atomizing nozzle; 13, packing layer; 14, mist eliminator; 15, sealing ring; 16, air inlet pipe.
具体实施方式Detailed ways
下面将结合本实用新型实施例中的附图,对本实用新型实施例中的技术方案进行清楚、完整地描述,显然,所描述的实施例仅仅是本实用新型一部分实施例,而不是全部的实施例。基于本实用新型中的实施例,本领域普通技术人员在没有做出创造性劳动前提下所获得的所有其他实施例,都属于本实用新型保护的范围。The technical solutions in the embodiments of the present utility model will be clearly and completely described below with reference to the accompanying drawings in the embodiments of the present utility model. Obviously, the described embodiments are only a part of the embodiments of the present utility model, rather than all the implementations. example. Based on the embodiments of the present invention, all other embodiments obtained by those of ordinary skill in the art without creative work fall within the protection scope of the present invention.
请参照图1-图2所示,本实用新型提供一种技术方案:一种化工生产用喷淋塔,包括喷淋桶1,喷淋桶1的上方设有锥形罩2,锥形罩2的内壁上固定安装有吸附板3,喷淋桶1的底部固定安装有两个支撑板4,两个支撑板4之间设有顶部为开口的过滤箱5,过滤箱5的内壁上固定安装有过滤板6,喷淋桶1的一侧设有增压泵7,增压泵7的吸水口固定安装有外接管道8,增压泵7的出水口固定安装有出水管10,外接管道8上固定安装有吸水管9的一端,吸水管9的另一端延伸至过滤箱5内,喷淋桶1内设有两个连接管11,两个连接管11的两端均延伸至喷淋桶1外,两个连接管11的一端均与出水管10固定连接,连接管11上设有多个位于喷淋桶1内的雾化喷头12,喷淋桶1的内壁上固定安装有两个填料层13,两个填料层13分别位于两个连接管11的下方,喷淋桶1的内壁上固定安装有除雾器14,除雾器14位于两个连接管11的上方;Please refer to FIG. 1-FIG. 2, the present utility model provides a technical solution: a spray tower for chemical production, comprising a
喷淋桶1的顶部固定安装有密封圈15,锥形罩2的底部与密封圈15相接触,喷淋桶1与锥形罩2通过固定扣固定连接,喷淋桶1的一侧固定安装有进气管16,喷淋桶1的底部固定安装有排污管,锥形罩2的顶部固定安装有出气管,外接管道8上设有第一水阀,吸水管9上设有第二水阀,吸附板3为焦炭材质,靠近增压泵7的支撑板4上固定安装有加强板,增压泵7与加强板的顶部固定连接,通过喷淋桶1、锥形罩2、吸附板3、支撑板4、过滤箱5、过滤板6、增压泵7、外接管道8、吸水管9、出水管10、连接管11、雾化喷头12、填料层13、除雾器14、密封圈15和进气管16相配合,使用时,打开第一水阀,并启动风机和增压泵7,外部水源依次经过外接管道8和出水管10进入连接管11内,并通过雾化喷头12喷射出,之后将废气通入喷淋桶1内,废气依次穿过两个填料层13时,较大的尘粒便被液滴捕集,之后经过两次除尘的废气继续上升并穿过除雾器14和吸附板3,使得气体的净化呈现最大化,随后被排出,通过喷淋桶1、过滤箱5、过滤板6、增压泵7、外接管道8、吸水管9、出水管10、连接管11和雾化喷头12相配合,在除尘的同时,夹带了颗粒的液滴排进过滤箱5内,并穿过滤板6,使水中的杂质被滤除,随即落到底部,之后,便可关闭第一水阀并打开第二水阀,经过过滤的水便被抽取,并通过雾化喷头12喷出,从而进行除尘工作,有效减缓了增压泵7的因灰尘颗粒而受到的损伤,提高了增压泵7的使用寿命,本实用新型构造合理,通过两个填料层13与雾化喷头12进行的双重除尘,再经过除雾器14和吸附板3的进一步过滤,使废气处理的效果达到较高水准,且循环水经过过滤后,有效提高了除尘效率,并对增压泵7带来的损伤影响大大降低,适用性更强。The top of the
工作原理:本装置外部设有风机,使用前,先将出气管与外部风机的吸风口相连接,外接管道8与外部水源相连通,且第一水阀和第二水阀均为关闭状态;Working principle: There is a fan outside the device. Before use, connect the air outlet pipe to the suction port of the external fan, the
使用时,打开第一水阀,并启动风机和增压泵7,增压泵7便会将外部水源进行抽取,并依次经过外接管道8和出水管10进入连接管11内,然后通过多个雾化喷头12喷射出,之后将废气通过进气管16进入喷淋桶1内,并随着风机的抽取开始上升,当废气穿过靠下的填料层13时,便会与水雾充分接触,这时,粉尘颗粒与液滴之间通过惯性碰撞和接触阻留,使较大的尘粒被液滴捕集,之后废气继续上升,然后经过靠上的填料层13,并再次与水混合碰撞,便再一次的对气体中的粉尘颗粒进行捕集,使得废气被净化的更加彻底,再然后,经过两次除尘的废气便会继续上升,通过除雾器14的作用,便可对气体中的有害杂质和微型颗粒进一步的截留,然后气体继续上升至吸附板3,通过焦炭对气体进行最后吸收,然后气体便通过出气管被排出;When in use, open the first water valve, and start the fan and
在除尘的同时,夹带了颗粒的液滴因重力作用而沉于喷淋桶1的底部,并通过排污管排进过滤箱5内,并经过过滤板6的过滤,使得水中的杂质被滤除,然后落到过滤箱5的底部,之后,在下一步的除尘工作中,便可关闭第一水阀并打开第二水阀,增压泵7便可将经过过滤的水进行抽取,并通过雾化喷头12喷出,从而进行除尘工作。At the same time of dust removal, the droplets entrained with particles sink to the bottom of the
以上所述,仅为本实用新型较佳的具体实施方式,但本实用新型的保护范围并不局限于此,任何熟悉本技术领域的技术人员在本实用新型揭露的技术范围内,根据本实用新型的技术方案及其实用新型构思加以等同替换或改变,都应涵盖在本实用新型的保护范围之内。The above description is only a preferred embodiment of the present invention, but the protection scope of the present invention is not limited to this. Equivalent replacement or modification of the new technical solution and its utility model concept shall be included within the protection scope of the present utility model.
Claims (6)
Priority Applications (1)
| Application Number | Priority Date | Filing Date | Title |
|---|---|---|---|
| CN201921834612.5U CN211302512U (en) | 2019-10-29 | 2019-10-29 | Spray tower for chemical production |
Applications Claiming Priority (1)
| Application Number | Priority Date | Filing Date | Title |
|---|---|---|---|
| CN201921834612.5U CN211302512U (en) | 2019-10-29 | 2019-10-29 | Spray tower for chemical production |
Publications (1)
| Publication Number | Publication Date |
|---|---|
| CN211302512U true CN211302512U (en) | 2020-08-21 |
Family
ID=72051402
Family Applications (1)
| Application Number | Title | Priority Date | Filing Date |
|---|---|---|---|
| CN201921834612.5U Expired - Fee Related CN211302512U (en) | 2019-10-29 | 2019-10-29 | Spray tower for chemical production |
Country Status (1)
| Country | Link |
|---|---|
| CN (1) | CN211302512U (en) |
Cited By (1)
| Publication number | Priority date | Publication date | Assignee | Title |
|---|---|---|---|---|
| CN112156640A (en) * | 2020-10-13 | 2021-01-01 | 朱加招 | Desulfurization and denitration device for industrial pollution waste gas emission and use method thereof |
-
2019
- 2019-10-29 CN CN201921834612.5U patent/CN211302512U/en not_active Expired - Fee Related
Cited By (1)
| Publication number | Priority date | Publication date | Assignee | Title |
|---|---|---|---|---|
| CN112156640A (en) * | 2020-10-13 | 2021-01-01 | 朱加招 | Desulfurization and denitration device for industrial pollution waste gas emission and use method thereof |
Similar Documents
| Publication | Publication Date | Title |
|---|---|---|
| CN207237566U (en) | Wet type anti-explosion dust remover | |
| CN209333453U (en) | A kind of dust treatment device | |
| CN104406184B (en) | A kind of Cremation Machine device for purifying and treating tail gas | |
| CN211216039U (en) | An industrial waste gas treatment device | |
| CN206121390U (en) | Wet -type dust collector | |
| CN202605962U (en) | Dust-removal disaster-preventing system for zinc-spraying workshop | |
| CN211302512U (en) | Spray tower for chemical production | |
| CN204601893U (en) | Welding dust arrester | |
| CN207899198U (en) | A kind of powder purification apparatus | |
| CN201260650Y (en) | A vacuum cleaner with a hydro jet | |
| CN212651550U (en) | Venturi scrubber with overflow type built-in circulating tank | |
| CN207654875U (en) | Dust-extraction unit and cleaner | |
| CN221906354U (en) | Spray tower for rubber waste gas treatment | |
| CN204911128U (en) | Processing system of waste gas among carbon black production | |
| CN103816792A (en) | Corrugated packing type graded water film dust remover with smoke abatement and desulfurization functions | |
| CN209501324U (en) | A FRP wet desulfurization dust collector | |
| CN203764056U (en) | Spray type dust-collecting and deodorizing device | |
| CN204502632U (en) | Spiral negative pressure dust removing device | |
| CN203764117U (en) | Washing agent spraying adsorption type dust removal and deodorization device | |
| CN209997445U (en) | flue gas desulfurization haze reduction tower | |
| CN210473428U (en) | Smoke dust treatment equipment | |
| CN209092996U (en) | A kind of waste gas dedusting purification device | |
| CN205549932U (en) | Novel dust removal device | |
| CN219596281U (en) | Waste gas chemical washing cooling tower | |
| CN216909843U (en) | Dust removal and denitration device |
Legal Events
| Date | Code | Title | Description |
|---|---|---|---|
| GR01 | Patent grant | ||
| GR01 | Patent grant | ||
| CF01 | Termination of patent right due to non-payment of annual fee |
Granted publication date: 20200821 |
|
| CF01 | Termination of patent right due to non-payment of annual fee |
