CN211267328U - An energy-saving outdoor communication air-cooled cabinet - Google Patents
An energy-saving outdoor communication air-cooled cabinet Download PDFInfo
- Publication number
- CN211267328U CN211267328U CN201921762531.9U CN201921762531U CN211267328U CN 211267328 U CN211267328 U CN 211267328U CN 201921762531 U CN201921762531 U CN 201921762531U CN 211267328 U CN211267328 U CN 211267328U
- Authority
- CN
- China
- Prior art keywords
- air
- cabinet
- air intake
- communicated
- side wall
- Prior art date
- Legal status (The legal status is an assumption and is not a legal conclusion. Google has not performed a legal analysis and makes no representation as to the accuracy of the status listed.)
- Active
Links
- 238000004891 communication Methods 0.000 title claims abstract description 36
- 238000009423 ventilation Methods 0.000 claims abstract description 21
- XLYOFNOQVPJJNP-UHFFFAOYSA-N water Substances O XLYOFNOQVPJJNP-UHFFFAOYSA-N 0.000 claims description 14
- 239000000428 dust Substances 0.000 claims description 9
- 230000000694 effects Effects 0.000 abstract description 14
- 238000001816 cooling Methods 0.000 abstract description 11
- 230000017525 heat dissipation Effects 0.000 description 6
- 238000005265 energy consumption Methods 0.000 description 2
- 238000004378 air conditioning Methods 0.000 description 1
- 230000009286 beneficial effect Effects 0.000 description 1
- 238000004140 cleaning Methods 0.000 description 1
- 230000005484 gravity Effects 0.000 description 1
- 238000000034 method Methods 0.000 description 1
- 230000004048 modification Effects 0.000 description 1
- 238000012986 modification Methods 0.000 description 1
- 230000003287 optical effect Effects 0.000 description 1
- 210000003437 trachea Anatomy 0.000 description 1
Images
Abstract
本实用新型公开了一种节能型户外通讯风冷柜,包括柜体,所述柜体的上端固定连接有收集机构,所述收集机构的下端固定连接有电机,所述电机的输出轴末端固定连接贯穿柜体顶面设置的吸气机构,所述柜体的外侧壁固定连接有进气机构,所述进气机构的进气端与吸气机构的左端侧壁连通设置,所述柜体的侧壁连通设有进气口,所述进气机构的出气端与进气口连通设置,所述进气机构的右端侧壁连通设有防雨机构,所述进气机构的上端设有两根连接管本实用新型通过电机、吸气机构、出气机构、防雨机构、通风部件和收集机构的设置,加快了柜体内空气的循环流通,使得柜体的散热效果更好,且可防止雨水通过通风口进入至柜体内,保护了柜体内的设备。
The utility model discloses an energy-saving outdoor communication air-cooling cabinet, comprising a cabinet body, an upper end of the cabinet body is fixedly connected with a collecting mechanism, a lower end of the collecting mechanism is fixedly connected with a motor, and the end of the output shaft of the motor is fixedly connected The air intake mechanism is arranged through the top surface of the cabinet body, the outer side wall of the cabinet body is fixedly connected with an air intake mechanism, and the air intake end of the air intake mechanism is communicated with the left end side wall of the air intake mechanism. The side wall is communicated with an air inlet, the air outlet end of the air inlet mechanism is communicated with the air inlet, the right end side wall of the air inlet mechanism is communicated with a rainproof mechanism, and the upper end of the air inlet mechanism is provided with two The root connecting pipe of the utility model accelerates the circulation of air in the cabinet through the arrangement of the motor, the suction mechanism, the air outlet, the rainproof mechanism, the ventilation part and the collection mechanism, so that the cooling effect of the cabinet is better, and the rainwater can be prevented. It enters into the cabinet through the ventilation opening to protect the equipment in the cabinet.
Description
技术领域technical field
本实用新型涉及风冷柜技术领域,尤其涉及一种节能型户外通讯风冷柜。The utility model relates to the technical field of air-cooling cabinets, in particular to an energy-saving outdoor communication air-cooling cabinet.
背景技术Background technique
由于能量的减少,许多设备都提倡节能,而节能就是尽可能地减少能源消耗量,生产出与原来同样数量、同样质量的产品,或者是以原来同样数量的能源消耗量,生产出比原来数量更多或数量相等质量更好的产品,而通讯机箱机柜一般是指用在通讯方面的机箱机柜,机箱机柜可提供空间给电源、主机板、各种扩展板卡、软盘驱动器、光盘驱动器、硬盘驱动器等存储设备,并通过机箱内部的一些连接件将这些零配件牢固固定在机箱内部,也可提供了很多便于使用的面板开关指示灯等,让操纵者更利便地操作微机或观察微机的运行情况。Due to the reduction of energy, many equipments advocate energy saving, and energy saving is to reduce energy consumption as much as possible, to produce the same quantity and quality of products as the original, or to produce more energy than the original quantity with the same amount of energy consumption. More or the same quantity and better quality products, and the communication chassis cabinet generally refers to the chassis cabinet used in communication. The chassis cabinet can provide space for the power supply, motherboard, various expansion boards, floppy disk drives, optical drives, hard disks Drives and other storage devices, and these parts are firmly fixed inside the chassis through some connectors inside the chassis. It also provides many easy-to-use panel switch indicators, etc., so that the operator can operate the microcomputer or observe the operation of the microcomputer more conveniently. Happening.
现有节能型风冷柜有的需要设置在户外,由于风冷柜经过太阳的直射以及自身设备产生的热量,使得柜体内的温度过高,而现有的设备散热效果较差,不能及时将柜体内的热量排出,为此,提供一种节能型户外通讯风冷柜,来解决以上问题。Some of the existing energy-saving air-cooled cabinets need to be installed outdoors. Due to the direct sunlight of the air-cooled cabinet and the heat generated by its own equipment, the temperature inside the cabinet is too high, and the existing equipment has poor heat dissipation effect, so the cabinet cannot be removed in time. Therefore, an energy-saving outdoor communication air-cooled cabinet is provided to solve the above problems.
实用新型内容Utility model content
本实用新型的目的是为了解决现有技术中散热效果较差,使得风冷柜易出故障的问题,而提出的一种节能型户外通讯风冷柜。The purpose of the utility model is to solve the problem of poor heat dissipation effect in the prior art, which makes the air-cooled cabinet easy to fail, and proposes an energy-saving outdoor communication air-cooled cabinet.
为了实现上述目的,本实用新型采用了如下技术方案:In order to achieve the above-mentioned purpose, the utility model adopts the following technical solutions:
一种节能型户外通讯风冷柜,包括柜体,所述柜体的上端固定连接有收集机构,所述收集机构的下端固定连接有电机,所述电机的输出轴末端固定连接有贯穿柜体顶面设置的吸气机构,所述柜体的外侧壁固定连接有进气机构,所述进气机构的进气端与吸气机构的左端侧壁连通设置,所述柜体的侧壁连通设有进气口,所述进气机构的出气端与进气口连通设置,所述进气机构的右端侧壁连通设有防雨机构,所述进气机构的上端设有两根连接管,所述收集机构的底部对称设有两个连通孔,两根所述连接管的进气端分别与两个连通孔连通设置,所述柜体的侧壁设有通风部件,需要说明的是,该风冷柜的设置,加快了柜体内空气的循环流通,使得柜体的散热效果更好,且可防止雨水通过通风机构进入至柜体内,保护了柜体内的设备。An energy-saving outdoor communication air-cooled cabinet includes a cabinet body, the upper end of the cabinet body is fixedly connected with a collecting mechanism, the lower end of the collecting mechanism is fixedly connected with a motor, and the end of the output shaft of the motor is fixedly connected with a through-the-cabinet roof The air intake mechanism is arranged on the surface, the outer side wall of the cabinet body is fixedly connected with an air intake mechanism, the air intake end of the air intake mechanism is communicated with the left end side wall of the air intake mechanism, and the side wall of the cabinet body is communicated with the air intake mechanism. There is an air inlet, the outlet end of the air inlet mechanism is arranged in communication with the air inlet, the right end side wall of the air inlet mechanism is communicated with a rainproof mechanism, and the upper end of the air inlet mechanism is provided with two connecting pipes, The bottom of the collection mechanism is symmetrically provided with two communication holes, the air inlet ends of the two connecting pipes are respectively connected with the two communication holes, and the side walls of the cabinet are provided with ventilation components. It should be noted that, The arrangement of the air-cooled cabinet accelerates the circulation of air in the cabinet, makes the cooling effect of the cabinet better, and prevents rainwater from entering the cabinet through the ventilation mechanism, thereby protecting the equipment in the cabinet.
优选地,所述收集机构包括固定设置于柜体上端的两根支撑柱,两根所述支撑柱的上端固定连接有同一个收集箱,所述电机固定设置于收集箱的下端,两个所述连通孔均连通设置于收集箱的底部,需要说明的是,收集机构的设置,不仅可防止雨水落入风冷柜的上端,对风冷柜有个抵挡作用,且可收集雨水,便于更换吸气机构内的水,加快了柜体内空气的冷却,使得柜体的散热效果更好。Preferably, the collection mechanism includes two support columns fixedly arranged at the upper end of the cabinet body, the upper ends of the two support columns are fixedly connected to the same collection box, the motor is fixedly arranged at the lower end of the collection box, and the two support columns are fixedly connected to the lower end of the collection box. The communication holes are all connected and arranged at the bottom of the collection box. It should be noted that the setting of the collection mechanism can not only prevent rainwater from falling into the upper end of the air-cooled cabinet, but also has a resisting effect on the air-cooled cabinet, and can collect rainwater, which is convenient for replacing the suction The water in the mechanism accelerates the cooling of the air in the cabinet, making the cooling effect of the cabinet better.
优选地,所述吸气机构包括固定设置于电机输出轴末端的转动杆,所述转动杆上同轴固定连接有风叶,所述风叶外套设有吸气管,所述吸气管固定贯穿柜体的顶面设置,所述吸气管的左端侧壁与进气机构连通设置,所述吸气管的右端侧壁与防雨机构连通设置,需要说明的是,吸气机构的设置,可将柜体内的热气吸出柜体,并通过进气机构的冷却效果,最后再返回至柜体内,以便将柜体内的温度降低。Preferably, the suction mechanism includes a rotating rod fixedly arranged at the end of the motor output shaft, a fan blade is fixedly connected to the rotating rod coaxially, and an suction pipe is provided on the outer casing of the fan blade, and the suction pipe is fixed It is arranged through the top surface of the cabinet, the left end side wall of the suction pipe is arranged in communication with the air inlet mechanism, and the right end side wall of the suction pipe is arranged in communication with the rainproof mechanism. It should be noted that the setting of the suction mechanism , the hot air in the cabinet can be sucked out of the cabinet, and finally returned to the cabinet through the cooling effect of the air intake mechanism, so as to reduce the temperature in the cabinet.
优选地,所述进气机构包括固定设置于柜体侧壁的环形柱,所述环形柱内对称设有两个弧形腔,两个所述弧形腔的一端连通设置,两根连接管均连通设置于右方弧形腔的上端,位于所述左方的弧形腔侧壁连通设有出水口,所述环形柱内贯穿设有进气管,所述进气管的进气端与吸气管的左端侧壁连通设置,所述进气管的出气端与进气口连通设置,需要说明的是,进气机构的设置,可将吸气机构从柜体内吸收的热气进行冷却,加速了柜体内的空气流通,使得柜体内的散热效果更佳。Preferably, the air intake mechanism includes an annular column fixed on the side wall of the cabinet, two arc-shaped cavities are symmetrically arranged in the annular column, one end of the two arc-shaped cavities is communicated, and two connecting pipes are connected. They are all connected to the upper end of the arc-shaped cavity on the right, and the side wall of the arc-shaped cavity located on the left is communicated with a water outlet. The left end sidewall of the trachea is connected and arranged, and the air outlet end of the air inlet duct is arranged in communication with the air inlet. It should be noted that the setting of the air intake mechanism can cool the hot air absorbed by the air intake mechanism from the cabinet, which accelerates the The air circulation in the cabinet makes the heat dissipation effect in the cabinet better.
优选地,所述防雨机构包括连通设置于吸气管右端侧壁的出气管,所述出气管的出气端连通设有扁平管,需要说明的是,防雨机构的设置,可在雨水天气将雨水向远离柜体通风口的方向吹去,防止雨水进入柜体内。Preferably, the rainproof mechanism includes an air outlet pipe connected to the side wall of the right end of the air intake pipe, and the air outlet end of the air outlet pipe is connected with a flat pipe. It should be noted that the rainproof mechanism can be installed in rainy weather. Blow the rainwater away from the ventilation openings of the cabinet to prevent rainwater from entering the cabinet.
优选地,所述扁平管的出气端安装有第一防尘网,需要说明的是,第一防尘网的设置,防止灰尘通过扁平管进入至柜体内,省去了清理柜体内部的麻烦。Preferably, the air outlet end of the flat tube is provided with a first dustproof net. It should be noted that the arrangement of the first dustproof net prevents dust from entering the cabinet through the flat tube and saves the trouble of cleaning the inside of the cabinet. .
优选地,所述通风部件包括设置于柜体侧壁的通风口,所述通风口内安装有第二防尘网,需要说明的是,第二防尘网的设置,防止灰尘进入至柜体内,从而对柜体进行防尘。Preferably, the ventilation component includes a ventilation opening arranged on the side wall of the cabinet, and a second dustproof net is installed in the ventilation opening. It should be noted that the setting of the second dustproof net prevents dust from entering the cabinet. Thereby, the cabinet is dust-proof.
相比现有技术,本实用新型的有益效果为:Compared with the prior art, the beneficial effects of the present utility model are:
1、本实用新型通过电机、吸气机构和进气机构的设置,加快了柜体内空气的循环流通,使得柜体内的温度能够很快地降低,防止风冷柜内部由于温度过高而导致其损坏。1. The utility model speeds up the circulation of the air in the cabinet through the setting of the motor, the air suction mechanism and the air intake mechanism, so that the temperature in the cabinet can be quickly lowered, preventing the damage of the inside of the air-cooled cabinet due to excessive temperature. .
2、本实用新型通过电机、吸气机构和防雨机构的设置,可在雨天时将雨水向远离通风口的方向吹去,避免雨水进入柜体内,防止了柜体内设备的损坏。2. The utility model can blow the rainwater away from the vent in rainy days through the arrangement of the motor, the air suction mechanism and the rainproof mechanism, so as to prevent the rainwater from entering the cabinet and prevent the damage to the equipment in the cabinet.
3、本实用新型通过收集机构的设置,使得在雨天时,雨水被收集于收集箱内,然后通过连接管进入至环形柱中,将环形柱中的水分被更换出,以便于柜体内的热气被更换为冷气,从而使得柜体内的散热效果更佳,且收集箱可为电机遮挡住雨水,避免电机的损坏。3. The utility model makes the rainwater collected in the collection box in rainy days, and then enters the annular column through the connecting pipe, and the water in the annular column is replaced, so as to facilitate the hot air in the cabinet. It is replaced with air-conditioning, so that the heat dissipation effect in the cabinet is better, and the collection box can block the rainwater for the motor to avoid damage to the motor.
附图说明Description of drawings
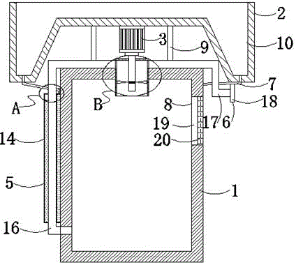
图1为本实用新型提出的一种节能型户外通讯风冷柜的正面透视图;1 is a front perspective view of an energy-saving outdoor communication air-cooled cabinet proposed by the utility model;
图2为本实用新型提出的一种节能型户外通讯风冷柜的正面图;2 is a front view of an energy-saving outdoor communication air-cooled cabinet proposed by the utility model;
图3为图1中A处的局部放大图;Fig. 3 is the partial enlarged view of A place in Fig. 1;
图4为图1中B处的局部放大图;Fig. 4 is a partial enlarged view at B in Fig. 1;
图5为本实用新型提出的一种节能型户外通讯风冷柜中环形柱的俯瞰透视图。FIG. 5 is an overhead perspective view of an annular column in an energy-saving outdoor communication air-cooled cabinet proposed by the present invention.
图中:1柜体、2收集机构、3电机、4吸气机构、5进气机构、6防雨机构、7连接管、8通风部件、9支撑柱、10收集箱、11转动杆、12风叶、13吸气管、14环形柱、15弧形腔、16进气管、17出气管、18扁平管、19通风口、20第二防尘网。In the picture: 1 cabinet, 2 collection mechanism, 3 motor, 4 air intake mechanism, 5 air intake mechanism, 6 rainproof mechanism, 7 connecting pipe, 8 ventilation parts, 9 support column, 10 collection box, 11 rotating rod, 12 Fan blades, 13 suction pipes, 14 annular columns, 15 arc-shaped cavities, 16 air inlet pipes, 17 air outlet pipes, 18 flat pipes, 19 vents, 20 second dust filters.
具体实施方式Detailed ways
下面将结合本实用新型实施例中的附图,对本实用新型实施例中的技术方案进行清楚、完整地描述,显然,所描述的实施例仅仅是本实用新型一部分实施例,而不是全部的实施例。The technical solutions in the embodiments of the present utility model will be clearly and completely described below with reference to the accompanying drawings in the embodiments of the present utility model. Obviously, the described embodiments are only a part of the embodiments of the present utility model, rather than all the implementations. example.
参照图1-5,一种节能型户外通讯风冷柜,包括柜体1,柜体1的上端固定连接有收集机构2,收集机构2的下端固定连接有电机3,电机3的输出轴末端固定连接有贯穿柜体1顶面设置的吸气机构4,柜体1的外侧壁固定连接有进气机构5,进气机构5的进气端与吸气机构4的左端侧壁连通设置,柜体1的侧壁连通设有进气口,进气机构5的出气端与进气口连通设置,进气机构5的右端侧壁连通设有防雨机构6,进气机构5的上端设有两根连接管7,收集机构2的底部对称设有两个连通孔,两根连接管7的进气端分别与两个连通孔连通设置,柜体1的侧壁设有通风部件8,需要解释的是,柜体1的前端通过铰链铰接有柜门,此为现有技术,在此不作赘述,电机3的型号:ESS42-P11。1-5, an energy-saving outdoor communication air-cooled cabinet includes a
其中,收集机构2包括固定设置于柜体1上端的两根支撑柱9,两根支撑柱9的上端固定连接有同一个收集箱10,电机3固定设置于收集箱10的下端,两个连通孔均连通设置于收集箱10的底部,需要解释的是,两根支撑柱9的设置是为了支撑收集箱10,收集箱10的透视图如图2所示,这样设置可使得电机3不会被雨水淋湿,从而保护了电机3。Among them, the
其中,吸气机构4包括固定设置于电机3输出轴末端的转动杆11,转动杆11上同轴固定连接有风叶12,风叶12外套设有吸气管13,吸气管13贯穿柜体1的顶面设置,吸气管13的左端侧壁与进气机构5连通设置,吸气管13的右端侧壁与防雨机构6连通设置,需要解释的是,转动杆11与电机3的输出轴末端固定连接,使得电机3运作时,输出轴的转动可带动转动杆11转动,从而使得风叶12进行转动,风叶12的转动将柜体1内的热气吸入吸气管13中,以达到对柜体1内部进行散热的目的,其中,进气机构5包括固定设置于柜体1侧壁的环形柱14,环形柱14内对称设有两个弧形腔15,两个弧形腔15的一端连通设置,两根连接管7均连通设置于右方弧形腔15的上端,位于左方的弧形腔15侧壁连通设有出水口,环形柱14内贯穿设有进气管16,进气管16的进气端与吸气管13的左端侧壁连通设置,进气管16的出气端与进气口连通设置,需要说明的是,环形柱14内对称设置有两个弧形腔15,两个弧形腔15内均注入冷水,其目的是将从柜体1内吸入的热气经过水冷水的冷却再次进入柜体1内,以达到对柜体1内部进行换气的目的,从而使得柜体1内的空气流通得更快,对柜体1内部的散热效果更好,出水口设置于左方弧形腔15较上的侧壁上,目的是使得弧形腔15内能存储较多的水,进气管16滑动贯穿环形柱14的内壁。The
其中,防雨机构6包括连通设置于吸气管13右端侧壁的出气管17,出气管17的出气端连通设有扁平管18,需要解释的是,扁平管18的出气端安装有第一防尘网(图中未示出),防止灰尘依次通过扁平管18、出气管17和吸气管13进入柜体1内,需要解释的是,如图2所示,两根支撑柱9分别设置于进气管16和出气管17的后方,如图1所示,两根连接管7分别设置于进气管16和出气管17的后方,扁平管18的宽度比通风口19的宽度要宽,因而其的出气端也比通风口19的宽度宽,形成的气幕能有效的避免下落的雨水通过通风口19进入柜体1内,其中,通风部件8包括设置于柜体1侧壁的通风口19,通风口19内安装有第二防尘网20,需要说明的是,通风口19的设置,使得外界的自然风可通过通风口19流动至柜体1内,对柜体1进行散热,以防柜体1由于温度过高而损坏其内的设备,而第二防尘网20的设置,对柜体1有个防尘效果,防止灰尘进入柜体1内。Wherein, the rainproof mechanism 6 includes an
本实用新型中,晴天时,当需要加快柜体1的散热效果时,打开电机3,电机3的输出轴末端带动转动杆11转动,转动杆11带动风叶12转动,风叶12的转动将柜体1内的热气通过吸气管13分别流入至进气管16和出气管17内,进气管16经过两个弧形腔15内的冷水冷却后又回归至柜体1内,达到对柜体1内部进行换气的目的,从而使得柜体1内的空气流通得更快,对柜体1内部的散热效果更好;In the present utility model, when it is sunny, when the cooling effect of the
雨天时,同上所述,打开电机3,风叶12将柜体1内的热气吸入吸气管13中,并从吸气管13分别流入进气管16和出气管17内,进气管16经过冷水的冷却回归至柜体1,对柜体1进行散热,收集箱10中收集雨水,雨水可通过两个连接管7都进入至其中一个弧形腔15内,由于水的重力作用,将两个弧形腔15原本的水从出水口挤出,把两个弧形腔15内的水进行了更换,而出气管17内的气体通过扁平管18向外吹出,将雨水向远离通风口19的方向吹去,避免雨水通过通风口19进入至柜体1内,从而保护了柜体1内的设备。In rainy days, as described above, turn on the
以上所述,仅为本实用新型较佳的具体实施方式,但本实用新型的保护范围并不局限于此,任何熟悉本技术领域的技术人员在本实用新型揭露的技术范围内,根据本实用新型的技术方案及其实用新型构思加以等同替换或改变,都应涵盖在本实用新型的保护范围之内。The above description is only a preferred embodiment of the present invention, but the protection scope of the present invention is not limited to this. Equivalent replacement or modification of the new technical solution and its utility model concept shall be included within the protection scope of the present utility model.
Claims (7)
Priority Applications (1)
| Application Number | Priority Date | Filing Date | Title |
|---|---|---|---|
| CN201921762531.9U CN211267328U (en) | 2019-10-21 | 2019-10-21 | An energy-saving outdoor communication air-cooled cabinet |
Applications Claiming Priority (1)
| Application Number | Priority Date | Filing Date | Title |
|---|---|---|---|
| CN201921762531.9U CN211267328U (en) | 2019-10-21 | 2019-10-21 | An energy-saving outdoor communication air-cooled cabinet |
Publications (1)
| Publication Number | Publication Date |
|---|---|
| CN211267328U true CN211267328U (en) | 2020-08-14 |
Family
ID=71958037
Family Applications (1)
| Application Number | Title | Priority Date | Filing Date |
|---|---|---|---|
| CN201921762531.9U Active CN211267328U (en) | 2019-10-21 | 2019-10-21 | An energy-saving outdoor communication air-cooled cabinet |
Country Status (1)
| Country | Link |
|---|---|
| CN (1) | CN211267328U (en) |
Cited By (3)
| Publication number | Priority date | Publication date | Assignee | Title |
|---|---|---|---|---|
| CN112350200A (en) * | 2020-12-23 | 2021-02-09 | 国网河南省电力公司桐柏县供电公司 | Bury power equipment's self-ventilation structure |
| CN113423020A (en) * | 2021-06-25 | 2021-09-21 | 深圳市大河通信技术有限公司 | Exchange rack with energy-efficient heat dissipation function |
| CN117424089A (en) * | 2023-03-23 | 2024-01-19 | 昆山盛英电气有限公司 | Power distribution cabinet structure |
-
2019
- 2019-10-21 CN CN201921762531.9U patent/CN211267328U/en active Active
Cited By (5)
| Publication number | Priority date | Publication date | Assignee | Title |
|---|---|---|---|---|
| CN112350200A (en) * | 2020-12-23 | 2021-02-09 | 国网河南省电力公司桐柏县供电公司 | Bury power equipment's self-ventilation structure |
| CN112350200B (en) * | 2020-12-23 | 2023-09-15 | 国网河南省电力公司桐柏县供电公司 | Self-ventilation structure of underground power equipment |
| CN113423020A (en) * | 2021-06-25 | 2021-09-21 | 深圳市大河通信技术有限公司 | Exchange rack with energy-efficient heat dissipation function |
| CN117424089A (en) * | 2023-03-23 | 2024-01-19 | 昆山盛英电气有限公司 | Power distribution cabinet structure |
| CN117424089B (en) * | 2023-03-23 | 2024-04-26 | 昆山盛英电气有限公司 | Power distribution cabinet structure |
Similar Documents
| Publication | Publication Date | Title |
|---|---|---|
| CN211267328U (en) | An energy-saving outdoor communication air-cooled cabinet | |
| CN214899544U (en) | Power distribution cabinet with moisture-proof cooling function | |
| CN110678053B (en) | Dustproof rack of computer | |
| CN113961057A (en) | A computer cooling structure | |
| CN207555871U (en) | A kind of communication base station room dust removal by ventilation equipment | |
| CN108429154A (en) | A power distribution cabinet convenient for ventilation and heat dissipation | |
| CN207976827U (en) | The computer cabinet of good heat dissipation effect | |
| CN208142636U (en) | A kind of novel distribution cabinet | |
| CN215576430U (en) | Computer machine case heat dissipation dust collector | |
| CN112437588B (en) | an electronic radiator | |
| CN214590120U (en) | Novel frequency conversion control cabinet heat dissipation device | |
| CN113961058B (en) | An optimized computer motherboard modular heat dissipation device | |
| CN214379593U (en) | High-low voltage control cabinet capable of fast radiating | |
| CN219165033U (en) | Communication equipment cooling assembly | |
| CN217362742U (en) | Energy-saving three-phase asynchronous motor with higher protection capability | |
| CN214540619U (en) | Heat dissipation box of computer hardware | |
| CN211982424U (en) | An electronic communication connection box with dustproof and heat dissipation function | |
| CN212114480U (en) | A dust-proof and heat-dissipating electrical cabinet | |
| CN210926820U (en) | A high and low voltage switch cabinet capable of rainwater heat exchange | |
| CN219843299U (en) | Efficient heat dissipation's dust protected switch board | |
| CN219437398U (en) | Novel data system control cabinet | |
| CN222263426U (en) | Composite type electrical and electronic engineering control cabinet | |
| CN207185092U (en) | Communication cabinet radiating subassembly and its rack | |
| CN207926009U (en) | A kind of radiating dustproof electric cabinet | |
| CN222563344U (en) | Power distribution cabinet with excellent heat dissipation performance |
Legal Events
| Date | Code | Title | Description |
|---|---|---|---|
| GR01 | Patent grant | ||
| GR01 | Patent grant | ||
| TR01 | Transfer of patent right |
Effective date of registration: 20210707 Address after: 528427 one of the first floor, No. 30, Tongfu East Road, Nantou Town, Zhongshan City, Guangdong Province Patentee after: Zhongshan Jinyukang Hardware Plastic Products Co.,Ltd. Address before: Room 527, building 6, Xixi Century Center, Hangzhou, Zhejiang 311100 Patentee before: Zheng Lin |
|
| TR01 | Transfer of patent right |
