CN211261568U - Material dryer for aluminum carbon nozzle - Google Patents
Material dryer for aluminum carbon nozzle Download PDFInfo
- Publication number
- CN211261568U CN211261568U CN201921826293.3U CN201921826293U CN211261568U CN 211261568 U CN211261568 U CN 211261568U CN 201921826293 U CN201921826293 U CN 201921826293U CN 211261568 U CN211261568 U CN 211261568U
- Authority
- CN
- China
- Prior art keywords
- shell layer
- rotary drum
- dryer
- rotary
- aluminum carbon
- Prior art date
- Legal status (The legal status is an assumption and is not a legal conclusion. Google has not performed a legal analysis and makes no representation as to the accuracy of the status listed.)
- Expired - Fee Related
Links
Images
Landscapes
- Drying Of Solid Materials (AREA)
Abstract
本实用新型提供了一种用于铝碳水口的物料干燥机,包括支架及与支架转动连接的干燥机本体,所述干燥机本体包括回转筒、进料机构、出料机构和加热机构,所述回转筒的桶壁为分层结构,从内向外依次为第一壳体层和第二壳体层,所述第一壳体层的内壁上均匀设有若干通气口,所述第二壳体层上设有进风口和出风口,所述加热机构为热风机,所述热风机的出风管道与所述进风口连接,所述进料机构设在所述回转筒上靠近所述进风口的一端,所述出料机构设在所述回转筒上靠近所述出风口的一端。本实用新型提供了一种用于铝碳水口的物料干燥机,通过回转筒、进料机构、出料机构和加热机构的配合,使热源在筒壁上均匀分布,物料干燥均匀,干燥速度快。
The utility model provides a material dryer for an aluminum carbon nozzle, which includes a bracket and a dryer body rotatably connected with the bracket. The dryer body includes a rotary drum, a feeding mechanism, a discharging mechanism and a heating mechanism. The barrel wall of the rotary drum is a layered structure, and there are a first shell layer and a second shell layer in sequence from the inside to the outside. The body layer is provided with an air inlet and an air outlet, the heating mechanism is a hot air blower, the air outlet duct of the hot air blower is connected to the air inlet, and the feeding mechanism is arranged on the rotary drum close to the air inlet. At one end of the air outlet, the discharging mechanism is arranged on the end of the rotary drum close to the air outlet. The utility model provides a material dryer for an aluminum carbon nozzle. Through the cooperation of a rotary drum, a feeding mechanism, a discharging mechanism and a heating mechanism, the heat source is evenly distributed on the drum wall, the material is dried evenly, and the drying speed is fast. .
Description
技术领域:Technical field:
本实用新型涉及物料干燥装置,具体涉及一种用于铝碳水口的物料干燥机。The utility model relates to a material drying device, in particular to a material drying machine used for an aluminum carbon nozzle.
背景技术:Background technique:
回转干燥机适用于烘干各种物料,广泛应用于冶金、矿山、化工等行业,铝碳水口在生产过程中也利用回转干燥机进行烘干,但现有的用于铝碳水口的物料干燥机加热不均匀,与热风接触面积小,浪费热源,干燥不充分,导致成品品质下降,且烘干时间较长,影响生产效率,增加生产成本。The rotary dryer is suitable for drying various materials and is widely used in metallurgy, mining, chemical industry and other industries. The aluminum carbon nozzle is also dried by the rotary dryer in the production process, but the existing materials used for the aluminum carbon nozzle are dried. The heating of the machine is uneven, the contact area with the hot air is small, the heat source is wasted, and the drying is insufficient, which leads to the decline of the quality of the finished product, and the drying time is long, which affects the production efficiency and increases the production cost.
实用新型内容:Utility model content:
本实用新型的目的是针对现有技术的缺陷,提供一种能够解决上述问题的用于铝碳水口的物料干燥机。The purpose of the utility model is to provide a material dryer for aluminum carbon nozzles that can solve the above problems in view of the defects of the prior art.
实现本实用新型目的的技术方案是:一种用于铝碳水口的物料干燥机,包括支架及与支架转动连接的回转干燥机本体,所述回转干燥机本体包括回转筒、进料机构、出料机构和加热机构,所述回转筒的桶壁为分层结构,从内向外依次为第一壳体层和第二壳体层,所述第一壳体层的内壁上均匀分布有螺旋排布的抄板,且所述第一壳体层上均匀设有若干通气口,所述通气口的尺寸小于物料的尺寸,所述第二壳体层上设有进风口和出风口,所述进风口和出风口分别沿轴向设在所述第二壳体层的两端,所述加热机构为热风机,所述热风机的出风管道与所述进风口连接,所述进料机构设在所述回转筒上靠近所述进风口的一端,所述进料机构为螺旋输送器,所述螺旋输送器上设有进料口,且所述进料机构的输出端与所述回转筒的内腔连接,所述出料机构设在所述回转筒上靠近所述出风口的一端,其底部设有出料口。The technical scheme to achieve the purpose of the present utility model is: a material dryer for an aluminum carbon nozzle, comprising a bracket and a rotary dryer body rotatably connected with the bracket, the rotary dryer body comprising a rotary drum, a feeding mechanism, an outlet The barrel wall of the revolving drum is a layered structure, from the inside to the outside are the first shell layer and the second shell layer, and the inner wall of the first shell layer is evenly distributed with spiral rows The first shell layer is evenly provided with a number of vents, the size of the vent is smaller than the size of the material, and the second shell layer is provided with an air inlet and an air outlet. The air inlet and the air outlet are respectively arranged at both ends of the second shell layer in the axial direction, the heating mechanism is a hot air blower, the air outlet duct of the hot air blower is connected with the air inlet, and the feeding mechanism It is arranged on the end of the rotary drum close to the air inlet, the feeding mechanism is a screw conveyor, and the screw conveyor is provided with a feeding port, and the output end of the feeding mechanism is connected to the rotary The inner cavity of the cylinder is connected, the discharging mechanism is arranged on the end of the rotating cylinder close to the air outlet, and the bottom is provided with a discharging outlet.
进一步地,所述回转干燥机本体通过回转机构与所述支架转动连接,所述回转机构包括电机、驱动组件和齿轮,所述第二壳体层外固定套设有与所述齿轮啮合的齿圈,所述电机通过驱动组件驱动所述齿轮转动,进而带动所述回转筒转动。Further, the rotary dryer body is rotatably connected to the support through a rotary mechanism, the rotary mechanism includes a motor, a drive assembly and a gear, and the second shell layer is fixedly sleeved with a tooth meshing with the gear. The motor drives the gear to rotate through the drive assembly, thereby driving the rotary drum to rotate.
进一步地,所述回转筒与所述支架之间设有若干组滚动组件,所述滚动组件包括滚轮和滚轮支架,所述滚轮支架固定在所述支架上,所述滚轮固定在所述滚轮支架上,所述回转筒上固定套设有与所述滚轮贴合的环形连接部,所述回转筒通过所述环形连接部与所述滚动组件滚动连接。Further, several groups of rolling assemblies are arranged between the rotating drum and the support, the rolling assemblies include a roller and a roller support, the roller support is fixed on the support, and the roller is fixed on the roller support On the upper side, the rotary drum is fixedly sleeved with an annular connecting portion that fits with the roller, and the rotary drum is rollingly connected to the rolling assembly through the annular connecting portion.
进一步地,所述干燥机还包括防堵塞组件,所述防堵塞组件包括压缩空气源和吹灰端,所述吹灰端与所述压缩空气源通过管道连接,且对应设在所述第一壳体层和第二壳体层之间的空腔内,所述吹灰端上设有若干个吹灰口。Further, the dryer also includes an anti-clogging component, the anti-clogging component includes a compressed air source and a soot blowing end, the soot blowing end is connected to the compressed air source through a pipeline, and is correspondingly located in the first In the cavity between the shell layer and the second shell layer, several soot blowing ports are arranged on the soot blowing end.
进一步地,所述出料机构上设有检查口。Further, an inspection port is provided on the discharging mechanism.
进一步地,所述通气口处设有滤网。Further, a filter screen is provided at the air vent.
进一步地,所述第二壳体层内壁上设有隔温层。Further, a temperature insulating layer is provided on the inner wall of the second shell layer.
本实用新型用于铝碳水口的物料干燥机的有益效果是:The beneficial effects of the utility model for the material dryer for the aluminum carbon nozzle are:
本实用新型提供了一种用于铝碳水口的物料干燥机,通过回转筒、进料机构、出料机构和加热机构的配合,使热源在筒壁上均匀分布,物料干燥均匀,干燥速度快。且本申请的干燥机还设有防堵塞机构,一方面可以防止通气孔堵塞,另一方面还可以方便、快速的清除粘附在回转筒内壁上的物料,节省了人工成本。The utility model provides a material dryer for an aluminum carbon nozzle. Through the cooperation of a rotary drum, a feeding mechanism, a discharging mechanism and a heating mechanism, the heat source is evenly distributed on the drum wall, the material is dried evenly, and the drying speed is fast. . In addition, the dryer of the present application is also provided with an anti-blocking mechanism, which can prevent the ventilation holes from being blocked on the one hand, and can also easily and quickly remove the materials adhering to the inner wall of the rotary drum, thereby saving labor costs.
附图说明:Description of drawings:
图1为本实用新型的结构示意图。Figure 1 is a schematic structural diagram of the utility model.
图2为回转筒和防堵塞组件的结构示意图。Figure 2 is a schematic diagram of the structure of the rotary drum and the anti-clogging component.
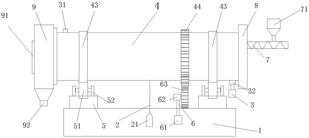
图中:1支架,2防堵塞组件,21压缩空气源,22吹灰端,23吹灰口,3 加热机构,31出风口,32进风口,4回转筒,41第一壳体层,411抄板,412 通气口,42第二壳体层,43环形连接部,44齿圈,5滚动组件,51滚轮,52 滚轮支架,6回转机构,61电机,62驱动组件,63齿轮,7进料机构,71进料口,8连接部,9出料机构,91检查口,92出料口。In the figure: 1 bracket, 2 anti-clogging components, 21 compressed air source, 22 soot blowing end, 23 soot blowing port, 3 heating mechanism, 31 air outlet, 32 air inlet, 4 rotary drum, 41 first shell layer, 411 Copy plate, 412 Air vent, 42 Second shell layer, 43 Ring connection, 44 Ring gear, 5 Roller assembly, 51 Roller, 52 Roller bracket, 6 Rotary mechanism, 61 Motor, 62 Drive assembly, 63 Gear, 7 Feeding mechanism, 71 feeding port, 8 connecting part, 9 discharging mechanism, 91 inspection port, 92 discharging port.
具体实施方式:Detailed ways:
下面结合附图对本实用新型的较佳实施例进行详细阐述,以使本实用新型的优点和特征能更易被本领域人员理解,从而对本实用新型的保护范围做出更为清楚明确的界定。The preferred embodiments of the present invention will be described in detail below with reference to the accompanying drawings, so that the advantages and features of the present invention can be more easily understood by those skilled in the art, and the protection scope of the present invention can be more clearly defined.
见图1,一种用于铝碳水口的物料干燥机,包括支架1及与支架1转动连接的回转干燥机本体。Referring to Figure 1, a material dryer for an aluminum carbon nozzle includes a
所述回转干燥机本体包括回转筒4、进料机构7、出料机构9和加热机构3。The rotary dryer body includes a
所述加热机构3为热风机,所述热风机3的出风管道与所述进风口32连接。为了方便加热机构3与回转筒4的连接,加热机构3与回转筒4之间设有连接部8。所述进料机构7设在所述回转筒4上靠近所述进风口32的一端,所述进料机构7为螺旋输送器,所述螺旋输送器上设有进料口71,且所述进料机构7 的输出端与所述回转筒4的内腔连接。所述出料机构9设在所述回转筒4上靠近所述出风口31的一端,其底部设有出料口92,此外,为了方便安装及检修回转筒内部的结构,所述出料机构9上设有检查口91。The
干燥机本体与支架1之间可以有多种转动连接方式,具体的,可以通过回转机构6与所述支架1转动连接,所述回转机构6包括电机61、驱动组件62和齿轮63,所述第二壳体层42外固定套设有与所述齿轮63啮合的齿圈44,所述电机61通过驱动组件62驱动所述齿轮63转动,进而通过齿圈44带动所述回转筒4转动。There can be various rotational connection methods between the dryer body and the
此外,为了使装置整体结构更稳定且尽可能减小回转筒4与支架之间的摩擦,所述回转筒4与所述支架1之间设有若干组滚动组件5,所述滚动组件5包括滚轮51和滚轮支架52,所述滚轮支架52固定在所述支架1上,所述滚轮51 固定在所述滚轮支架52上,所述回转筒4上固定套设有与所述滚轮51贴合的环形连接部43,所述回转筒4通过所述环形连接部43与所述滚动组件5滚动连接。In addition, in order to make the overall structure of the device more stable and reduce the friction between the
见图2,所述回转筒4的桶壁为分层结构,从内向外依次为第一壳体层41 和第二壳体层42。所述第一壳体层41的内壁上均匀分布有螺旋排布的抄板411,且所述第一壳体层41上均匀排布有若干通气口412,所述通气口412的尺寸小于物料的尺寸,还可以在所述通气口412处设有滤网,进一步防止物料漏出回转筒4的内腔,此外还可以将通气口412的大小设置成不必小于物料的尺寸,而是在第一壳体层41上固定一层滤网,滤网孔的尺寸小于物料尺寸即可。Referring to FIG. 2 , the barrel wall of the rotating
所述第二壳体层42上设有进风口32和出风口31,所述进风口32和出风口 31分别沿轴向设在所述第二壳体层42的两端,可将出风口31连接除尘器,收集物料粉尘。此外,还可以在所述第二壳体层42内壁上设置隔温层,一方面降低热量损失,另一方面使回转筒外壁不太太烫,防止工人烫伤。The
进一步地,为了防止通气口412堵塞影响加热效果,所述物料干燥机还包括防堵塞组件2,所述防堵塞组件2包括压缩空气源21和吹灰端22,所述吹灰端22与所述压缩空气源21通过管道连接,且对应设在所述第一壳体层41和第二壳体层42之间的空腔内,所述吹灰端22上设有若干个吹灰口23。此外,压缩空气由通气口进入干燥机内腔中,在气流的冲击下也可清除大部分粘附在回转筒4内壁上的物料。Further, in order to prevent the blockage of the
本实用新型在工作时,物料从进料口71进入回转筒4的内部,与热风充分接触进行烘干,并在螺旋排布的抄板411的作用下朝出料机构的方向运动。干燥过程中或干燥后,启动防堵塞组件2,压缩空气可将堵塞的通气口进行疏通。When the utility model is working, the material enters the
以上所述实施例仅表达了本实用新型的几种实施方式,其描述较为具体和详细,但并不能因此而理解为对实用新型专利范围的限制。应当指出的是,对于本领域的普通技术人员来说,在不脱离本实用新型构思的前提下,还可以做出若干变形和改进,这些都属于本实用新型的保护范围。The above-mentioned embodiments only represent several embodiments of the present utility model, and the descriptions thereof are specific and detailed, but should not be construed as a limitation on the scope of the utility model patent. It should be pointed out that for those of ordinary skill in the art, some modifications and improvements can be made without departing from the concept of the present invention, which all belong to the protection scope of the present invention.
Claims (7)
Priority Applications (1)
| Application Number | Priority Date | Filing Date | Title |
|---|---|---|---|
| CN201921826293.3U CN211261568U (en) | 2019-10-28 | 2019-10-28 | Material dryer for aluminum carbon nozzle |
Applications Claiming Priority (1)
| Application Number | Priority Date | Filing Date | Title |
|---|---|---|---|
| CN201921826293.3U CN211261568U (en) | 2019-10-28 | 2019-10-28 | Material dryer for aluminum carbon nozzle |
Publications (1)
| Publication Number | Publication Date |
|---|---|
| CN211261568U true CN211261568U (en) | 2020-08-14 |
Family
ID=71955893
Family Applications (1)
| Application Number | Title | Priority Date | Filing Date |
|---|---|---|---|
| CN201921826293.3U Expired - Fee Related CN211261568U (en) | 2019-10-28 | 2019-10-28 | Material dryer for aluminum carbon nozzle |
Country Status (1)
| Country | Link |
|---|---|
| CN (1) | CN211261568U (en) |
Cited By (1)
| Publication number | Priority date | Publication date | Assignee | Title |
|---|---|---|---|---|
| CN118640653A (en) * | 2024-08-19 | 2024-09-13 | 安徽科浦环保科技有限公司 | A rotary drying device and method for granular materials |
-
2019
- 2019-10-28 CN CN201921826293.3U patent/CN211261568U/en not_active Expired - Fee Related
Cited By (1)
| Publication number | Priority date | Publication date | Assignee | Title |
|---|---|---|---|---|
| CN118640653A (en) * | 2024-08-19 | 2024-09-13 | 安徽科浦环保科技有限公司 | A rotary drying device and method for granular materials |
Similar Documents
| Publication | Publication Date | Title |
|---|---|---|
| CN204535304U (en) | A kind of corn drying machinery for Feed Manufacturing | |
| CN211476556U (en) | Material dryer with crushing mechanism | |
| CN210399796U (en) | Drum dryer | |
| CN106440726A (en) | Chemical strip drying machine | |
| CN211261568U (en) | Material dryer for aluminum carbon nozzle | |
| CN209893868U (en) | Pill cylinder drying-machine | |
| CN108106374A (en) | Utilize the method for the wet charcoal of flue gas residual heat drying and its continuous drying equipment | |
| CN209077110U (en) | Haydite screens dryer | |
| CN112556317B (en) | A kind of drying equipment for the production of hydroxypropyl methylcellulose | |
| CN210399795U (en) | Special quick dryer for pepper fruits after peeling and degumming | |
| CN206531376U (en) | A kind of leaching-ore slurries dry thermal cracking device | |
| CN205980637U (en) | Iron powder dry -off oven | |
| CN203964587U (en) | Novel drum type drying equipment | |
| CN206930095U (en) | A kind of concrete additive drying unit | |
| CN111380340A (en) | Drying machine with function of screening out air-hold grains | |
| CN221959192U (en) | A drying equipment for refractory material production | |
| CN108709380A (en) | A kind of sugaring drying unit | |
| CN210832850U (en) | High wet high-viscosity material cylinder drying self-cleaning device and system | |
| CN219283839U (en) | Glass fiber drying device | |
| CN220632595U (en) | An efficient intelligent coating machine | |
| CN206637986U (en) | A kind of green tea drying unit | |
| CN204535330U (en) | For drying device that is ultra-fine, nanoscale chemical powder | |
| CN222201243U (en) | Drying device is used in plastic granules production | |
| CN220187274U (en) | A rice drying and dust removal device | |
| CN216100715U (en) | A apparatus for producing for high strength industry packing paper tube |
Legal Events
| Date | Code | Title | Description |
|---|---|---|---|
| GR01 | Patent grant | ||
| GR01 | Patent grant | ||
| CF01 | Termination of patent right due to non-payment of annual fee | ||
| CF01 | Termination of patent right due to non-payment of annual fee |
Granted publication date: 20200814 |
