CN211260900U - A modular furnace core for an induction cooker - Google Patents

A modular furnace core for an induction cooker Download PDF

Info

Publication number
CN211260900U
CN211260900U CN201922495276.2U CN201922495276U CN211260900U CN 211260900 U CN211260900 U CN 211260900U CN 201922495276 U CN201922495276 U CN 201922495276U CN 211260900 U CN211260900 U CN 211260900U
Authority
CN
China
Prior art keywords
air duct
air
heat
heat dissipation
heat exchange
Prior art date
Legal status (The legal status is an assumption and is not a legal conclusion. Google has not performed a legal analysis and makes no representation as to the accuracy of the status listed.)
Active
Application number
CN201922495276.2U
Other languages
Chinese (zh)
Inventor
冯健满
Current Assignee (The listed assignees may be inaccurate. Google has not performed a legal analysis and makes no representation or warranty as to the accuracy of the list.)
Individual
Original Assignee
Individual
Priority date (The priority date is an assumption and is not a legal conclusion. Google has not performed a legal analysis and makes no representation as to the accuracy of the date listed.)
Filing date
Publication date
Application filed by Individual filed Critical Individual
Priority to CN201922495276.2U priority Critical patent/CN211260900U/en
Application granted granted Critical
Publication of CN211260900U publication Critical patent/CN211260900U/en
Active legal-status Critical Current
Anticipated expiration legal-status Critical

Links

Images

Landscapes

  • Cooling Or The Like Of Electrical Apparatus (AREA)

Abstract

The utility model relates to a modularization wick of electromagnetism stove. The heat exchanger is provided with an outer heat exchange air duct and an inner heat exchange air duct, the outer heat exchange air duct is communicated with the outer heat exchange air duct, and the inner heat exchange air duct is communicated with the inner heat exchange air duct. The utility model discloses a set up the heat exchanger in the base, outer circulation heat dissipation wind channel and inner loop heat dissipation wind channel, the outer cold wind of base gets into the base through outer circulation heat dissipation wind channel in, hot-blast in the base constantly circulates through inner loop heat dissipation wind channel, cold wind carries out the heat transfer with hot-blast through the heat exchanger, cold wind has taken away the heat on the circuit board radiator, and after the hot-blast temperature descends, get back to the base inner chamber again, cold wind and hot-blast constantly are at the base inner loop heat transfer, thereby realize dispelling the heat to the circuit board, the radiating effect is good.

Description

一种电磁炉的模块化炉芯A modular furnace core for an induction cooker

技术领域technical field

本实用新型涉及电磁炉的技术领域,特别涉及一种电磁炉的模块化炉芯。The utility model relates to the technical field of induction cookers, in particular to a modular furnace core of an induction cooker.

背景技术Background technique

现有的电磁炉对其电路板的散热效果差,电路板上的电气零部件若长时间承受高温,容易坏或寿命缩短,因此,现有的电磁炉需要做进一步改进。The existing induction cooker has poor heat dissipation effect on its circuit board, and if the electrical components on the circuit board are subjected to high temperature for a long time, it is easy to be damaged or its life is shortened. Therefore, the existing induction cooker needs to be further improved.

实用新型内容Utility model content

本实用新型的目的在于提供一种结构简单、散热效果好的电磁炉的模块化炉芯。The purpose of the utility model is to provide a modular furnace core of an induction cooker with simple structure and good heat dissipation effect.

本实用新型的目的是这样实现的:The purpose of this utility model is achieved in this way:

一种电磁炉的模块化炉芯,包括底座、换热器、进风导流座、风道隔离座和电磁线圈盘,电磁线圈盘设于底座的顶部,所述底座内设有外循环散热风道和内循环散热风道,所述内循环散热风道上设置有内循环风机和电路板,外循环散热风道上设置有外循环风机和电路板散热器,所述电路板散热器设于电路板上,所述换热器上设置有外换热风道和内换热风道,外换热风道和内换热风道相邻设置,外换热风道连通外循环散热风道,内换热风道连通内循环散热风道。本实用新型的外循环风机驱动外界的冷风不断地在外循环散热风道上循环,内循环风机驱动底座内的热风不断地在内循环散热风道上循环,底座内的热风不断地与外界的冷风进行换热,以使底座内的温度下降,从而实现对电路板进行散热,散热效果好,使得电磁炉的电路板在温度合适的范围内工作。A modular furnace core of an induction cooker, comprising a base, a heat exchanger, an air inlet guide seat, an air duct isolation seat and an electromagnetic coil disk, the electromagnetic coil disk is arranged on the top of the base, and the base is provided with an external circulating cooling air The inner circulation cooling air duct is provided with an inner circulation fan and a circuit board, and the outer circulation cooling air duct is provided with an outer circulation fan and a circuit board radiator, and the circuit board radiator is arranged on the circuit board. Above, the heat exchanger is provided with an outer heat exchange air duct and an inner heat exchange air duct, the outer heat exchange air duct and the inner heat exchange air duct are arranged adjacently, and the outer heat exchange air duct is connected to the outer circulation heat dissipation air duct, and the inner heat exchange air duct is connected to the outer heat exchange air duct. The heat exchange air duct is communicated with the internal circulation heat dissipation air duct. The external circulation fan of the utility model drives the external cold air to continuously circulate on the external circulation heat dissipation air duct, the inner circulation fan drives the hot air in the base to continuously circulate on the internal circulation heat dissipation air duct, and the hot air in the base constantly exchanges with the external cold air. heat to reduce the temperature in the base, so as to realize the heat dissipation of the circuit board, and the heat dissipation effect is good, so that the circuit board of the induction cooker can work within a suitable temperature range.

本实用新型还可以作以下进一步改进。The utility model can also be further improved as follows.

所述底座上对应外循环散热风道设有进风孔和出风孔,以使外界空气能进入底座内不断进行循环换热,提高换热效率和散热效果。The base is provided with an air inlet hole and an air outlet hole corresponding to the external circulation heat dissipation air duct, so that the outside air can enter the base to continuously circulate heat exchange, and improve the heat exchange efficiency and heat dissipation effect.

所述底座的顶部对应电路板散热器的位置设有所述出风孔。The air outlet hole is provided on the top of the base at a position corresponding to the heat sink of the circuit board.

所述底座内设有第一散热内腔,所述电路板设于第一散热内腔上,所述第一散热内腔位于内循环散热风道上,所述第一散热内腔连通内换热风道和内循环风机,The base is provided with a first heat dissipation cavity, the circuit board is arranged on the first heat dissipation cavity, the first heat dissipation cavity is located on the inner circulation heat dissipation air duct, and the first heat dissipation cavity communicates with the internal heat exchange. Air duct and internal circulation fan,

所述电路板散热器上设有散热通道,所述散热通道的前端和顶部敞开、后端封闭,所述外换热风道的第一进风口和第一出风口分别与外循环风机、散热通道的前端连通,所述内换热风道的第二进风口和第二出风口分别与第一散热内腔、内循环风机连通,外界的冷风与底座内的热风换热后,还经过电路板散热器的散热通道,外界的冷风对电路板散热器进行散热,从而进一步提高本实用新型的散热效果。The circuit board radiator is provided with a heat dissipation channel, the front end and the top of the heat dissipation channel are open, and the rear end is closed. The front end of the channel is connected, and the second air inlet and the second air outlet of the inner heat exchange air channel are respectively connected with the first heat dissipation inner cavity and the inner circulation fan. After the external cold air exchanges heat with the hot air in the base, it also passes through the circuit. In the heat dissipation channel of the board radiator, the external cold air radiates heat to the circuit board radiator, thereby further improving the heat dissipation effect of the utility model.

所述电路板散热器呈H状,所述多条散热通道位于电路板散热器的顶部,所述电路板散热器的底部设有下散热风道,所述下散热风道位于外循环散热风道上,下散热风道与内换热风道的第二进风口连通。The circuit board radiator is H-shaped, the plurality of heat dissipation channels are located on the top of the circuit board radiator, and the bottom of the circuit board radiator is provided with a lower heat dissipation air duct, and the lower heat dissipation air duct is located in the outer circulation heat dissipation air. The upper and lower radiating air ducts are communicated with the second air inlet of the inner heat exchanging air duct.

所述换热器上交错间隔设置有多条所述内换热风道和多条所述外换热风道,所述内换热风道和外换热风道相邻设置,所述外换热风道与内换热风道相互平行,因此外界的冷风和底座内的热风,分流进入多条内换热风道和多条外换热风道,然后进行换热,因此本实用新型的换热器换热面积大、换热效率高,散热效果好。A plurality of the inner heat exchange air ducts and a plurality of the outer heat exchange air ducts are arranged at staggered intervals on the heat exchanger, and the inner heat exchange air ducts and the outer heat exchange air ducts are arranged adjacently, and the outer heat exchange air ducts The heat exchange air duct and the inner heat exchange air duct are parallel to each other, so the outside cold air and the hot air in the base are divided into multiple inner heat exchange air ducts and multiple outer heat exchange air ducts, and then heat exchange is performed, so the utility model The heat exchanger has a large heat exchange area, high heat exchange efficiency and good heat dissipation effect.

所述外换热风道的第一进风口与内换热风道的第二出风口错位设置,所述内换热风道的第二进风口与外换热风道的第一出风口错位设置。The first air inlet of the outer heat exchange air duct and the second air outlet of the inner heat exchange air duct are dislocated, and the second air inlet of the inner heat exchange air duct and the first air outlet of the outer heat exchange air duct are dislocated set up.

所述外换热风道的第一进风口设于换热器的前端,所述外换热风道的第一出风口设于换热器的后端,所述内换热风道的第二进风口设于换热器的后端,所述内换热风道的第二出风口设于换热器的底部,所述内换热风道的第二进风口与外换热风道的第一出风口上下设置、且左右错开。因此,本实用新型的结构设计合理,分隔开了外换热风道和内换热风道,以使外界的冷风和底座内的热风能够分流进入多条内换热风道和多条外换热风道,然后进行换热,换热效率高,散热效果好。The first air inlet of the outer heat exchange air duct is arranged at the front end of the heat exchanger, the first air outlet of the outer heat exchange air duct is arranged at the rear end of the heat exchanger, and the first air outlet of the inner heat exchange air duct is arranged at the rear end of the heat exchanger. Two air inlets are arranged at the rear end of the heat exchanger, the second air outlet of the inner heat exchange air duct is arranged at the bottom of the heat exchanger, and the second air inlet of the inner heat exchange air duct is connected to the outer heat exchange air duct. The first air outlet is set up and down and staggered from left to right. Therefore, the structure design of the utility model is reasonable, and the outer heat exchange air duct and the inner heat exchange air duct are separated, so that the outside cold air and the hot air in the base can be divided into a plurality of inner heat exchange air ducts and a plurality of outer heat exchange air ducts. The hot air duct is then heat exchanged, the heat exchange efficiency is high, and the heat dissipation effect is good.

所述内换热风道的前端和顶部封闭,所述内换热风道的后端和底部敞开,以分别形成内换热风道的第二进风口和出风口,所述外换热风道的底部和顶部封闭,所述外换热风道的前端和后端敞开,以分别形成外换热风道的第一进风口和出风口,所述内换热风道的第二进风口和外换热风道的第一出风口上下设置,且左右错位。The front end and the top of the inner heat exchange air duct are closed, and the rear end and bottom of the inner heat exchange air duct are open to form the second air inlet and air outlet of the inner heat exchange air duct, respectively. The bottom and top of the duct are closed, and the front and rear ends of the outer heat exchange air duct are open to form the first air inlet and air outlet of the outer heat exchange air duct, respectively, and the second air inlet of the inner heat exchange air duct. The first air outlet of the external hot air duct is set up and down, and the left and right are dislocated.

所述进风导流座设于换热器的前端,并连通外换热风道与外循环风机,所述风道隔离座设于换热器的后端,所述风道隔离座连通内换热风道的第二进风口与第一散热内腔,所述风道隔离座连通外换热风道的第一出风口与电路板散热器,所述风道隔离座分隔开内换热风道的第二进风口和外换热风道的第一出风口,以使内换热风道的第二进风口和外换热风道的上下设置,且左右错位。因此,本实用新型的结构设计合理,分隔开了外换热风道和内换热风道,以使外界的冷风和底座内的热风能够分流进入多条内换热风道和多条外换热风道,然后进行换热,换热效率高,散热效果好。The air inlet guide seat is located at the front end of the heat exchanger, and is connected to the external heat exchange air duct and the external circulation fan. The second air inlet of the heat exchange air duct and the first heat dissipation inner cavity, the air duct isolation seat communicates with the first air outlet of the outer heat exchange air duct and the circuit board radiator, and the air duct isolation seat separates the inner heat exchange The second air inlet of the hot air duct and the first air outlet of the outer heat exchange air duct are arranged so that the second air inlet of the inner heat exchange air duct and the outer heat exchange air duct are arranged up and down and are dislocated from left to right. Therefore, the structure design of the utility model is reasonable, and the outer heat exchange air duct and the inner heat exchange air duct are separated, so that the outside cold air and the hot air in the base can be divided into a plurality of inner heat exchange air ducts and a plurality of outer heat exchange air ducts. The hot air duct is then heat exchanged, the heat exchange efficiency is high, and the heat dissipation effect is good.

所述进风导流座和风道隔离座支撑起换热器,以使得内换热风道的底部与底座相离,从而使得内换热风道的第二出风口与第三散热内腔连通。The air inlet guide seat and the air duct isolation seat support the heat exchanger, so that the bottom of the inner heat exchange air duct is separated from the base, so that the second air outlet of the inner heat exchange air duct is communicated with the third heat dissipation inner cavity .

所述进风导流座上间隔设置有多块前挡风板,相邻的两块前挡风板之间设有第一通风口,第一通风口与外换热风道的第一进风口连通,所述前挡风板堵住内换热风道的前端,风道隔离座的上部间隔设置有多块第一后挡风板,相邻的两块第一后挡风板之间设有第二通风口,第二通风口与外换热风道的第一出风口连通,所述第一后挡风板堵住内换热风道的后端,所述风道隔离座的下部间隔设置有多块第二后挡风板,相邻的两块第二后挡风板之间设有第三通风口,第三通风口与内换热风道的第二进风口连通。因此,本实用新型的结构设计合理,以使外界的冷风和底座内的热风能够分流进入多条内换热风道和多条外换热风道,然后进行换热,换热效率高,散热效果好。A plurality of front air baffles are arranged on the air inlet guide seat at intervals, and a first ventilation port is arranged between two adjacent front air baffles. The air vents are connected, the front air baffle blocks the front end of the inner heat exchange air duct, the upper part of the air duct isolation seat is provided with a plurality of first rear air baffles at intervals, and between the two adjacent first rear air baffles A second vent is provided, the second vent communicates with the first air outlet of the outer heat exchange air duct, the first rear air baffle blocks the rear end of the inner heat exchange air duct, and the air duct isolation seat A plurality of second rear air baffles are arranged at intervals in the lower part, and a third ventilation port is arranged between two adjacent second rear air baffles, and the third ventilation port communicates with the second air inlet of the inner heat exchange air duct. Therefore, the structure design of the utility model is reasonable, so that the outside cold air and the hot air in the base can be divided into a plurality of inner heat exchange air ducts and a plurality of outer heat exchange air ducts, and then conduct heat exchange, with high heat exchange efficiency and heat dissipation. Works well.

所述底座包括底板和顶盖,所述顶盖盖设于底板上,以围成所述底座的内腔,所述顶盖上设有所述出风孔。The base includes a bottom plate and a top cover, the top cover is arranged on the bottom plate to enclose an inner cavity of the base, and the top cover is provided with the air outlet hole.

所述电路板的部分结构外露出第一散热内腔外,所述外露于第一散热内腔外的电路板的部分结构设有接线插座,因此本实用新型结构设计合理,便于接线。Part of the structure of the circuit board is exposed outside the first heat dissipation cavity, and part of the circuit board exposed outside the first heat dissipation cavity is provided with a wiring socket, so the utility model has a reasonable structure design and is convenient for wiring.

所述外循环风机和内循环风机是蜗壳风机,蜗壳风机能够聚集气流并导流,气流流量更多,更集中。The outer circulation fan and the inner circulation fan are volute fans, and the volute fan can gather and guide the air flow, so that the air flow is more and more concentrated.

本实用新型的有益效果如下:The beneficial effects of the present utility model are as follows:

(一)本实用新型通过在底座内设置换热器、外循环散热风道和内循环散热风道,底座外的冷风通过外循环散热风道进入底座内,底座内的热风通过内循环散热风道不断循环,冷风与热风通过换热器进行换热,冷风带走了电路板散热器上的热量,而热风温度下降后,再回到底座内腔,冷风和热风不断地在底座内循环换热,从而实现对电路板进行散热,散热效果好,使得电磁炉的电路板在温度合适的范围内工作。(1) In this utility model, a heat exchanger, an external circulation heat dissipation air duct and an inner circulation heat dissipation air duct are arranged in the base, and the cold air outside the base enters the base through the external circulation heat dissipation air duct, and the hot air in the base passes through the inner circulation heat dissipation air. The channel is continuously circulated, and the cold air and hot air exchange heat through the heat exchanger. The cold air takes away the heat on the radiator of the circuit board, and after the temperature of the hot air drops, it returns to the inner cavity of the base, and the cold air and the hot air are continuously circulated in the base. Therefore, the heat dissipation of the circuit board is realized, and the heat dissipation effect is good, so that the circuit board of the induction cooker can work within a suitable temperature range.

(二)另外,本实用新型散热时,外界的冷风与底座内的热风换热后,还经过电路板散热器的散热通道,外界的冷风对电路板散热器进行散热,从而进一步提高本实用新型的散热效果。(2) In addition, when the utility model dissipates heat, after the external cold air exchanges heat with the hot air in the base, it also passes through the heat dissipation channel of the circuit board radiator, and the external cold air radiates heat to the circuit board radiator, thereby further improving the utility model. cooling effect.

(三)还有,本实用新型散热时,外界的冷风和底座内的热风,分流进入多条内换热风道和多条外换热风道,然后进行换热,因此本实用新型的换热器的换热面积大、换热效率高,散热效果好。(3) In addition, when the utility model dissipates heat, the external cold air and the hot air in the base are divided into a plurality of inner heat exchange air ducts and a plurality of outer heat exchange air ducts, and then heat exchange is performed. The heat exchanger has a large heat exchange area, high heat exchange efficiency and good heat dissipation effect.

(四)而且,本实用新型是集成化的模块化炉芯,可实现整体安装,安装十分方便,提高生产效率。另外,本实用新型的外露于第一散热内腔外的电路板的部分结构设有接线插座,接线十分方便。(4) Moreover, the utility model is an integrated modular furnace core, which can realize integral installation, which is very convenient for installation and improves production efficiency. In addition, part of the structure of the circuit board exposed outside the first heat dissipation inner cavity of the present invention is provided with a wiring socket, which is very convenient for wiring.

附图说明Description of drawings

图1是本实用新型电磁炉的模块化炉芯的结构示意图。FIG. 1 is a schematic structural diagram of the modular furnace core of the induction cooker of the present invention.

图2是本实用新型另一角度的结构示意图。FIG. 2 is a schematic structural diagram of another angle of the present invention.

图3是本实用新型省略电磁线圈盘的结构示意图。FIG. 3 is a schematic view of the structure of the present invention without the electromagnetic coil disk.

图4是图3的俯视图。FIG. 4 is a plan view of FIG. 3 .

图5是图4中A-A处的剖视图。FIG. 5 is a cross-sectional view at A-A in FIG. 4 .

图6是图4中B-B处的剖视图。FIG. 6 is a cross-sectional view at B-B in FIG. 4 .

图7是本实用新型省略电磁线圈盘和顶盖的结构示意图。FIG. 7 is a schematic structural diagram of the present invention without the electromagnetic coil disk and the top cover.

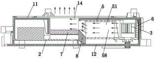
图8是图7的另一角度的结构示意图,图5-图8中的实线箭头表示冷风的流动方向,虚线箭头表示热风的流动方向。FIG. 8 is a schematic structural diagram of FIG. 7 from another angle. The solid line arrows in FIGS. 5-8 indicate the flow direction of cold air, and the dotted line arrows indicate the flow direction of hot air.

图9是本实用新型省略电磁线圈盘、底座和顶盖的结构示意图。FIG. 9 is a schematic structural diagram of the present invention without the electromagnetic coil disk, the base and the top cover.

图10是本实用新型省略电磁线圈盘和顶盖的俯视图,图中的虚线方框区域分别表示第一散热内腔、第二散热内腔以及第三散热内腔。10 is a top view of the present invention without the electromagnetic coil disk and the top cover, the dotted box area in the figure represents the first heat dissipation cavity, the second heat dissipation cavity and the third heat dissipation cavity respectively.

图11是本实用新型电磁炉的模块化炉芯的分解结构示意图。11 is a schematic diagram of the exploded structure of the modular furnace core of the induction cooker of the present invention.

图12是本实用新型的换热器的结构示意图。12 is a schematic structural diagram of the heat exchanger of the present invention.

图13是本实用新型的换热器的另一角度的结构示意图。FIG. 13 is a schematic structural diagram of the heat exchanger of the present invention from another angle.

图14是本实用新型的换热器与进风导流座、风道隔离座的连接结构示意图。14 is a schematic diagram of the connection structure of the heat exchanger, the air inlet guide seat and the air duct isolation seat of the present invention.

图15是图14的另一角度的结构示意图。FIG. 15 is a schematic structural diagram of FIG. 14 from another angle.

图16是本实用新型的风道隔离座的结构示意图。16 is a schematic structural diagram of the air duct isolation seat of the present invention.

图17是本实用新型的进风导流座的结构示意图。17 is a schematic structural diagram of the air inlet guide seat of the present invention.

具体实施方式Detailed ways

下面结合附图及实施例对本实用新型作进一步描述。The present utility model will be further described below in conjunction with the accompanying drawings and embodiments.

实施例一,如图1至图17所示,一种电磁炉包括,外壳(图中未示出)和模块化炉芯,所述模块化炉芯设于外壳内,所述模块化炉芯包括底座1、电路板2、内循环风机4、外循环风机3、进风导流座6、换热器5、风道隔离座8、电路板散热器7和电磁线圈盘9,电磁线圈盘9设于底座1的顶部,所述底座1内设有第一散热内腔15、第二散热内腔16以及第三散热内腔17,所述电路板2设于第一散热内腔15内,所述外循环风机3、进风导流座6、换热器5、风道隔离座8以及电路板散热器7设于第二散热内腔16内,所述电路板散热器7设于电路板2上,所述内循环风机4设于第三散热内腔17内,所述换热器5上设置有外换热风道51和内换热风道52,外换热风道51和内换热风道52相邻设置,所述外循环风机3、进风导流座6、换热器5的外换热风道51、风道隔离座8以及电路板散热器7依次连通构成一外循环散热风道58。所述内循环风机4、第一散热内腔15、风道隔离座8、换热器5的内换热风道52、进风导流座6以及第三散热内腔17依次连通构成一内循环散热风道57。Embodiment 1, as shown in FIG. 1 to FIG. 17 , an induction cooker includes a shell (not shown in the figure) and a modular furnace core, the modular furnace core is provided in the shell, and the modular furnace core includes Base 1, circuit board 2, inner circulation fan 4, outer circulation fan 3, air inlet guide seat 6, heat exchanger 5, air duct isolation seat 8, circuit board radiator 7 and electromagnetic coil disk 9, electromagnetic coil disk 9 It is arranged on the top of the base 1. The base 1 is provided with a first heat dissipation cavity 15, a second heat dissipation cavity 16 and a third heat dissipation cavity 17. The circuit board 2 is arranged in the first heat dissipation cavity 15. The external circulation fan 3, the air inlet guide seat 6, the heat exchanger 5, the air duct isolation seat 8 and the circuit board radiator 7 are arranged in the second heat dissipation cavity 16, and the circuit board radiator 7 is arranged in the circuit On the plate 2, the inner circulation fan 4 is arranged in the third heat dissipation inner cavity 17, and the heat exchanger 5 is provided with an outer heat exchange air duct 51 and an inner heat exchange air duct 52, and the outer heat exchange air duct 51 and The inner heat exchange air duct 52 is arranged adjacently, and the outer circulation fan 3, the air inlet guide seat 6, the outer heat exchange air duct 51 of the heat exchanger 5, the air duct isolation seat 8 and the circuit board radiator 7 are connected in sequence to form An external circulation cooling air duct 58 . The internal circulation fan 4 , the first heat dissipation inner cavity 15 , the air duct isolation seat 8 , the inner heat exchange air duct 52 of the heat exchanger 5 , the air inlet guide seat 6 and the third heat dissipation inner cavity 17 are connected in sequence to form an inner Circulating cooling air duct 57 .

作为本实用新型更具体的技术方案。As a more specific technical scheme of the present invention.

所述内循环风机4的排风口与第一散热内腔15连通,内换热风道52连通内循环风机4与第一散热内腔15。The air outlet of the internal circulation fan 4 communicates with the first heat dissipation cavity 15 , and the internal heat exchange air duct 52 communicates with the internal circulation fan 4 and the first heat dissipation cavity 15 .

所述底座1上对应外循环散热风道58设有进风孔13和出风孔14。The base 1 is provided with an air inlet hole 13 and an air outlet hole 14 corresponding to the external circulation cooling air duct 58 .

所述底座1的顶部对应电路板散热器7的位置设有所述出风孔14。The top of the base 1 is provided with the air outlet hole 14 at a position corresponding to the circuit board heat sink 7 .

作为本实用新型更具体的技术方案。As a more specific technical scheme of the present invention.

所述底座1内设有隔板18,所述隔板18、电路板散热器7、换热器5、风道隔离座8和进风导流座6将底座1内腔分为第一散热内腔15、第二散热内腔16和第三散热内腔17,所述外循环风机3、电路板散热器7、换热器5和进风导流座6设于第二散热内腔16内,所述电路板2设于第一散热内腔15内,所述内循环风机4设于第三散热内腔17内。The base 1 is provided with a partition 18, and the partition 18, the circuit board radiator 7, the heat exchanger 5, the air duct isolation seat 8 and the air inlet guide seat 6 divide the inner cavity of the base 1 into a first heat sink. The inner cavity 15 , the second heat dissipation inner cavity 16 and the third heat dissipation inner cavity 17 , the external circulation fan 3 , the circuit board radiator 7 , the heat exchanger 5 and the air inlet guide seat 6 are arranged in the second heat dissipation inner cavity 16 Inside, the circuit board 2 is arranged in the first heat dissipation inner cavity 15 , and the inner circulation fan 4 is arranged in the third heat dissipation inner cavity 17 .

所述隔板18上设有第一开口181,所述多条外换热风道51的第一出风口54通过第一开口181与电路板散热器7连通,所述第一散热内腔15通过第一开口181与内换热风道52的第二进风口55连通。The partition plate 18 is provided with a first opening 181 , the first air outlets 54 of the plurality of external heat exchange air ducts 51 communicate with the circuit board radiator 7 through the first opening 181 , and the first heat dissipation inner cavity 15 It communicates with the second air inlet 55 of the inner heat exchange air duct 52 through the first opening 181 .

所述隔板18上设有第二开口182,所述内循环风机4的排风口通过第二开口182与第一散热内腔15连通。The partition plate 18 is provided with a second opening 182 , and the air outlet of the internal circulation fan 4 communicates with the first heat dissipation inner cavity 15 through the second opening 182 .

所述电路板散热器7上设有多条散热通道71,所述散热通道71的前端和顶部敞开,散热通道71的底部和后端封闭,所述外换热风道51的第一进风口53和第一出风口54分别与外循环风机3、散热通道71的前端连通,所述内换热风道52的第二进风口55和第二出风口56分别与第一散热内腔15、内循环风机4连通。The circuit board heat sink 7 is provided with a plurality of heat dissipation channels 71 , the front end and the top of the heat dissipation channel 71 are open, the bottom and rear end of the heat dissipation channel 71 are closed, and the first air inlet of the external heat exchange air channel 51 is 53 and the first air outlet 54 are respectively connected with the front end of the outer circulation fan 3 and the heat dissipation channel 71, and the second air inlet 55 and the second air outlet 56 of the inner heat exchange air channel 52 are respectively connected with the first heat dissipation inner cavity 15, The internal circulation fan 4 is connected.

所述电路板散热器7呈H状,所述多条散热通道71位于电路板散热器7的顶部,所述电路板散热器7的底部设有下散热风道72,所述下散热风道位于外循环散热风道58上,下散热风道72与内换热风道52的第二进风口55连通。The circuit board heat sink 7 is H-shaped, the plurality of heat dissipation channels 71 are located at the top of the circuit board heat sink 7, and the bottom of the circuit board heat sink 7 is provided with a lower heat dissipation air duct 72, the lower heat dissipation air duct Located on the outer circulation heat dissipation air duct 58 , the lower heat dissipation air duct 72 communicates with the second air inlet 55 of the inner heat exchange air duct 52 .

所述换热器5上交错间隔设置有多条所述内换热风道52和多条所述外换热风道51,所述内换热风道52和外换热风道51相邻设置。The heat exchanger 5 is provided with a plurality of the inner heat exchange air ducts 52 and a plurality of the outer heat exchange air ducts 51 at staggered intervals, and the inner heat exchange air ducts 52 and the outer heat exchange air ducts 51 are adjacent to each other. set up.

所述外换热风道51与内换热风道52相互平行,所述外换热风道51的第一进风口53设于换热器5的前端,所述外换热风道51的第一出风口54设于换热器5的后端,所述内换热风道52的第二进风口55设于换热器5的后端,所述内换热风道52的第二出风口56设于换热器5的底部,所述内换热风道52的第二进风口55与外换热风道51的第一出风口54上下设置、且左右错开。The outer heat exchange air duct 51 and the inner heat exchange air duct 52 are parallel to each other. The first air inlet 53 of the outer heat exchange air duct 51 is arranged at the front end of the heat exchanger 5. The first air outlet 54 is arranged at the rear end of the heat exchanger 5 , the second air inlet 55 of the inner heat exchange air duct 52 is arranged at the rear end of the heat exchanger 5 , and the second air inlet 55 of the inner heat exchange air duct 52 is arranged at the rear end of the heat exchanger 5 . The air outlet 56 is arranged at the bottom of the heat exchanger 5 , and the second air inlet 55 of the inner heat exchange air duct 52 and the first air outlet 54 of the outer heat exchange air duct 51 are arranged up and down and staggered from left to right.

所述内换热风道52的前端和顶部封闭,所述内换热风道52的后端和底部敞开,以分别形成内换热风道52的第二进风口55和第二出风口56,所述外换热风道51的底部和顶部封闭,所述外换热风道51的前端和后端敞开,以分别形成外换热风道51的第一进风口53和第一出风口54,所述内换热风道52的第二进风口55和外换热风道51的第一出风口54上下设置,且左右错位。The front end and the top of the inner heat exchange air duct 52 are closed, and the rear end and bottom of the inner heat exchange air duct 52 are open to form the second air inlet 55 and the second air outlet 56 of the inner heat exchange air duct 52 respectively. , the bottom and top of the outer heat exchange air duct 51 are closed, and the front and rear ends of the outer heat exchange air duct 51 are open to form the first air inlet 53 and the first air outlet of the outer heat exchange air duct 51 respectively. 54. The second air inlet 55 of the inner heat exchange air duct 52 and the first air outlet 54 of the outer heat exchange air duct 51 are arranged up and down, and are dislocated from left to right.

所述进风导流座6设于换热器5的前端,并连通外换热风道51与外循环风机3以及封闭内换热风道52的前端,所述风道隔离座8设于换热器5的后端,所述风道隔离座8连通内换热风道52的第二进风口55与第一散热内腔15,所述风道隔离座8连通外换热风道51的第一出风口54与电路板散热器7,所述风道隔离座8分隔开内换热风道52的第二进风口55和外换热风道51的第一出风口54,以使内换热风道52的第二进风口55和外换热风道51的上下设置,且左右错位。The air inlet guide seat 6 is arranged at the front end of the heat exchanger 5, and communicates with the outer heat exchange air duct 51 and the outer circulation fan 3 and closes the front end of the inner heat exchange air duct 52. The air duct isolation seat 8 is arranged at the front end. At the rear end of the heat exchanger 5, the air duct isolation seat 8 communicates with the second air inlet 55 of the inner heat exchange air duct 52 and the first heat dissipation cavity 15, and the air duct isolation seat 8 communicates with the outer heat exchange air duct 51. The first air outlet 54 and the circuit board radiator 7, the air duct isolation seat 8 separates the second air inlet 55 of the inner heat exchange air duct 52 and the first air outlet 54 of the outer heat exchange air duct 51 to separate The second air inlet 55 of the inner heat exchange air duct 52 and the outer heat exchange air duct 51 are arranged up and down, and the left and right positions are shifted.

所述进风导流座6和风道隔离座8支撑起换热器5,以使得内换热风道52的底部与底座1相离,从而使得内换热风道52的第二出风口56与第三散热内腔连通。The air inlet guide seat 6 and the air duct isolation seat 8 support the heat exchanger 5, so that the bottom of the inner heat exchange air duct 52 is separated from the base 1, so that the second air outlet 56 of the inner heat exchange air duct 52 is separated. It communicates with the third heat dissipation inner cavity.

所述进风导流座6上间隔设置有多块前挡风板61,相邻的两块前挡风板61之间设有第一通风口62,第一通风口62与外换热风道51的第一进风口53连通,所述前挡风板61堵住内换热风道52的前端,风道隔离座8的上部间隔设置有多块第一后挡风板81,相邻的两块第一后挡风板81之间设有第二通风口82,第二通风口82与外换热风道51的第一出风口54连通,所述第一后挡风板81堵住内换热风道52的后端上部.A plurality of front air baffles 61 are arranged on the air inlet guide seat 6 at intervals, and a first ventilation port 62 is arranged between two adjacent front air baffles 61. The first ventilation port 62 communicates with the external hot air. The first air inlet 53 of the duct 51 is connected, the front air baffle 61 blocks the front end of the inner heat exchange air duct 52, and a plurality of first rear air baffles 81 are arranged on the upper part of the air duct isolation seat 8 at intervals, adjacent to each other. A second ventilation port 82 is provided between the two first rear air baffles 81, and the second ventilation port 82 communicates with the first air outlet 54 of the external heat exchange air duct 51, and the first rear air baffle 81 blocks The upper part of the rear end of the inner heat exchange air duct 52.

所述风道隔离座8的下部间隔设置有多块第二后挡风板83,第二后挡风板83与第一后挡风板81左右错位设置,所述第二后挡风板83堵住外换热风道51的后端下部,相邻的两块第二后挡风板83之间设有第三通风口84,第三通风口84与内换热风道52的第二进风口55连通。The lower part of the air duct isolation seat 8 is provided with a plurality of second rear air baffles 83 at intervals. The lower part of the rear end of the outer heat exchange air duct 51 is blocked, and a third ventilation port 84 is provided between the two adjacent second rear windshields 83 . The air inlet 55 is communicated.

所述底座1包括底板12和顶盖11,所述顶盖11盖设于底板12上,以围成所述底座1的内腔,所述顶盖11上设有所述出风孔14。The base 1 includes a bottom plate 12 and a top cover 11 , the top cover 11 is covered on the bottom plate 12 to enclose the inner cavity of the base 1 , and the top cover 11 is provided with the air outlet 14 .

所述电路板2的部分结构外露出第一散热内腔15外,所述外露于第一散热内腔15外的电路板2的部分结构设有接线插座19,因此本实用新型结构设计合理,便于接线。Part of the structure of the circuit board 2 is exposed outside the first heat dissipation cavity 15, and part of the structure of the circuit board 2 exposed outside the first heat dissipation cavity 15 is provided with a wiring socket 19, so the structure design of the present invention is reasonable, Easy wiring.

所述外循环风机3和内循环风机4是蜗壳风机。The outer circulation fan 3 and the inner circulation fan 4 are volute fans.

所述顶盖11与底板12卡扣连接。The top cover 11 and the bottom plate 12 are snap-connected.

所述底座1的底部设有进风孔13。The bottom of the base 1 is provided with an air inlet hole 13 .

所述电路板散热器7和换热器5为铝金属制成。The circuit board radiator 7 and the heat exchanger 5 are made of aluminum metal.

本实用新型的电磁炉的模块化炉芯的工作原理是:The working principle of the modular furnace core of the induction cooker of the present utility model is:

本实用新型的电磁炉在工作时,本实用新型的模块化炉芯也启动工作,电磁线圈盘9加热外壳上的被加热器皿,内循环风机4和外循环风机3同时启动,所述外循环风机3将底座1外的冷风抽进底座1内,冷风通过进风口流到外循环风机3,然后流到进风导流板,再通过换热器5的外换热通道,冷风在换热器内换热后,再流向电路板散热器7,冷风经过电路板散热器7时,将电路板散热器7上的热量带走,从而实现对底座内腔进行散热,冷风最终从底座1顶部的出风孔14排出底座1。与此同时,内循环风机4开始抽风,底座1内第一散热内腔15的热风先进入换热器5的内换热通道,内换热通道内的热风与外换热通道的冷风进行换热,此后热风的温度下降,外界的冷风的温度上升,热风经过换热后再经过第三散热内腔,然后由内循环风机4排回第一散热内腔15内,冷风和热风不断地在底座1内循环换热,从而实现对电路板2进行散热,最终保证电路板2在温度合适的环境下工作。When the induction cooker of the present invention is in operation, the modular furnace core of the present invention also starts to work, the electromagnetic coil plate 9 heats the heated vessel on the outer casing, the inner circulation fan 4 and the outer circulation fan 3 start simultaneously, and the outer circulation fan 3. The cold air outside the base 1 is drawn into the base 1, and the cold air flows to the external circulation fan 3 through the air inlet, and then flows to the air inlet guide plate, and then passes through the external heat exchange channel of the heat exchanger 5, and the cold air flows in the heat exchanger. After the internal heat exchange, it flows to the circuit board radiator 7. When the cold air passes through the circuit board radiator 7, the heat on the circuit board radiator 7 is taken away, so as to realize the heat dissipation of the inner cavity of the base. The air outlet 14 is discharged from the base 1 . At the same time, the internal circulation fan 4 starts to draw air, and the hot air in the first heat dissipation inner cavity 15 in the base 1 first enters the inner heat exchange channel of the heat exchanger 5, and the hot air in the inner heat exchange channel exchanges with the cold air in the outer heat exchange channel. After that, the temperature of the hot air drops, and the temperature of the cold air outside rises. The heat exchange is circulated in the base 1, so as to realize the heat dissipation of the circuit board 2, and finally ensure that the circuit board 2 works in an environment with a suitable temperature.

Claims (10)

1. The utility model provides a modularization wick of electromagnetism stove, includes base and solenoid dish, and the top of base is located to the solenoid dish, be equipped with extrinsic cycle heat dissipation wind channel and inner loop heat dissipation wind channel in the base, be provided with inner loop fan and circuit board on the inner loop heat dissipation wind channel, be provided with extrinsic cycle fan and circuit board radiator on the extrinsic cycle heat dissipation wind channel, the circuit board radiator is located on the circuit board, characterized by still including the heat exchanger, be provided with outer heat transfer wind channel and interior heat transfer wind channel on the heat exchanger, outer heat transfer wind channel and interior heat transfer wind channel adjacent setting, outer heat transfer wind channel intercommunication extrinsic cycle heat dissipation wind channel, interior heat transfer wind channel intercommunication inner loop heat dissipation wind channel.
2. The modular core of claim 1, wherein said base has air inlet holes and air outlet holes corresponding to the external circulation heat dissipation air duct.
3. The modular core of electromagnetic oven as claimed in claim 2, wherein said base has a first heat dissipation cavity therein, said circuit board is disposed on said first heat dissipation cavity, said first heat dissipation cavity is disposed on an internal circulation heat dissipation air duct, and said first heat dissipation cavity is communicated with an internal heat exchange air duct and an internal circulation fan.
4. The modular core of claim 3, wherein the circuit board heat sink has a heat dissipation channel, the first air inlet of the outer heat exchange air duct is connected to the outer circulation fan, the first air outlet of the outer heat exchange air duct is connected to the heat dissipation channel, the second air inlet of the inner heat exchange air duct is connected to the first heat dissipation chamber, and the second air outlet of the inner heat exchange air duct is connected to the inner circulation fan.
5. The modular core of an induction cooker as claimed in claim 1, wherein said heat exchanger is provided with a plurality of said inner heat exchange air ducts and a plurality of said outer heat exchange air ducts at staggered intervals, said outer heat exchange air ducts and said inner heat exchange air ducts being parallel to each other.
6. The modular oven core of claim 5, wherein the first air inlet of the outer heat exchanging air duct is disposed at the front end of the heat exchanger, the first air outlet of the outer heat exchanging air duct is disposed at the rear end of the heat exchanger, the second air inlet of the inner heat exchanging air duct is disposed at the rear end of the heat exchanger, the second air outlet of the inner heat exchanging air duct is disposed at the bottom of the heat exchanger, and the second air inlet of the inner heat exchanging air duct and the first air outlet of the outer heat exchanging air duct are disposed vertically and staggered from left to right.
7. The modular furnace core of the electromagnetic oven as claimed in claim 6, further comprising an air inlet guide seat and an air duct isolation seat, wherein the air inlet guide seat is arranged at the front end of the heat exchanger and communicated with the outer heat exchanging air duct and the outer circulating fan, the air duct isolation seat is arranged at the rear end of the heat exchanger and communicated with the second air inlet of the inner heat exchanging air duct and the first heat dissipation inner cavity, the air duct isolation seat is communicated with the first air outlet of the outer heat exchanging air duct and the heat dissipation channel, and the air duct isolation seat separates the second air inlet of the inner heat exchanging air duct and the first air outlet of the outer heat exchanging air duct, so that the second air inlet of the inner heat exchanging air duct and the first air outlet of the outer heat exchanging air duct are arranged vertically and staggered left and right.
8. The modular core of electromagnetic oven as claimed in claim 7, wherein the air intake guiding seat is spaced apart from and provided with a plurality of front wind deflectors, a first air vent is provided between two adjacent front wind deflectors, the first air vent is communicated with a first air inlet of the outer heat exchanging air duct, the front wind deflectors block the front end of the inner heat exchanging air duct, a plurality of first rear wind deflectors are spaced apart from and provided with an upper portion of the air duct isolating seat, a second air vent is provided between two adjacent first rear wind deflectors, the second air vent is communicated with a first air outlet of the outer heat exchanging air duct, the first rear wind deflectors block the rear end of the inner heat exchanging air duct, a plurality of second rear wind deflectors are spaced apart from and provided with a lower portion of the air duct isolating seat, a third air vent is provided between two adjacent second rear wind deflectors, and the third air vent is communicated with a second air inlet of the inner heat exchanging air duct.
9. The modular core of claim 4, wherein said air outlet is formed in a position of said base corresponding to said heat sink of said circuit board.
10. The modular core of claim 3, wherein a portion of the circuit board is exposed from the first heat dissipation cavity, and a connection socket is disposed on the portion of the circuit board exposed from the first heat dissipation cavity.
CN201922495276.2U 2019-12-31 2019-12-31 A modular furnace core for an induction cooker Active CN211260900U (en)

Priority Applications (1)

Application Number Priority Date Filing Date Title
CN201922495276.2U CN211260900U (en) 2019-12-31 2019-12-31 A modular furnace core for an induction cooker

Applications Claiming Priority (1)

Application Number Priority Date Filing Date Title
CN201922495276.2U CN211260900U (en) 2019-12-31 2019-12-31 A modular furnace core for an induction cooker

Publications (1)

Publication Number Publication Date
CN211260900U true CN211260900U (en) 2020-08-14

Family

ID=71987404

Family Applications (1)

Application Number Title Priority Date Filing Date
CN201922495276.2U Active CN211260900U (en) 2019-12-31 2019-12-31 A modular furnace core for an induction cooker

Country Status (1)

Country Link
CN (1) CN211260900U (en)

Cited By (1)

* Cited by examiner, † Cited by third party
Publication number Priority date Publication date Assignee Title
CN112833535A (en) * 2021-01-15 2021-05-25 张振斌 Efficient, environment-friendly and energy-saving non-scaling boiler based on electromagnetic technology and use method thereof

Cited By (1)

* Cited by examiner, † Cited by third party
Publication number Priority date Publication date Assignee Title
CN112833535A (en) * 2021-01-15 2021-05-25 张振斌 Efficient, environment-friendly and energy-saving non-scaling boiler based on electromagnetic technology and use method thereof

Similar Documents

Publication Publication Date Title
CN104633727B (en) Built-in microwave oven and microwave cooking system
CN203671679U (en) Built-in microwave oven and microwave cooking system
CN211260900U (en) A modular furnace core for an induction cooker
CN205029550U (en) Converter and wind generating set
CN212299209U (en) Outdoor unit radiating assembly, outdoor unit and air conditioner
CN218105648U (en) Heat radiation structure of air fryer
CN205026750U (en) microwave heating device
CN213746903U (en) Combined cooking utensil
WO2017206240A1 (en) Embedded-type cooking appliance
CN112361397B (en) Cooking equipment and cooking system
CN110062489B (en) Anti-interference heat dissipation air duct system for various devices of microwave oven
CN113932258A (en) Built-in Cooking Appliances
CN209346711U (en) A kind of cabinets cavity ventilating system
CN208398143U (en) Induction cooker with good heat dissipation effect
CN217610638U (en) Double-pot convection air fryer
CN217423709U (en) Refrigerator with new heat radiation structure
CN107990521B (en) Air guide structure and air conditioner
CN213028608U (en) Multi-head electromagnetic oven heat dissipation structure
CN213746895U (en) Electromagnetic oven
CN117135786A (en) Air duct parts and household appliances having the same
CN223399814U (en) Air duct for heat dissipation of electromagnetic oven and ultrathin electromagnetic oven with air duct
CN110812500B (en) Thermal cycle sterilizer
CN209744867U (en) Novel heated air circulation formula drying cabinet
CN217178608U (en) Novel electromagnetic oven
CN223389024U (en) A spoiler structure and gas water heater

Legal Events

Date Code Title Description
GR01 Patent grant
GR01 Patent grant